Filed Pursuant to Rule 424(b)(3)
Registration No. 333-289591
PROXY STATEMENT FOR EXTRAORDINARY GENERAL MEETING OF SHAREHOLDERS OF
RISING DRAGON ACQUISITION CORP.
AND PROSPECTUS FOR ORDINARY SHARES
OF XPAND BOOM TECHNOLOGY INC.
Proxy Statement/Prospectus dated September 26, 2025
and first mailed to the shareholders of Rising Dragon Acquisition Corp. on or about September 29, 2025
To the Shareholders of Rising Dragon Acquisition Corp.:
You are cordially invited to attend the Extraordinary General Meeting of the Shareholders of Rising Dragon Acquisition Corp. (“Rising Dragon”, “RDAC” “we”, “our”, or “us” under any paragraphs regarding Rising Dragon Acquisition Corp.), which will be held at, 10 a.m. Eastern Time, on October 20, 2025 (the “Extraordinary General Meeting”), or at such other time and on such other date to which the meeting may be postponed or adjourned. RDAC will be holding the Extraordinary General Meeting at the offices of Loeb & Loeb LLP, 345 Park Avenue, New York, NY 10154, and virtually via teleconference using the following dial-in information:
| Within the U.S. and Canada Toll Free | 1 800-450-7155 (toll-free) | |
| Outside of the U.S. and Canada | +1 857-999-9155 (standard rates apply) | |
| Participant Passcode | 8029046# |
Rising Dragon is a Cayman Islands exempted company incorporated as a blank check company for the purpose of entering into a merger, share exchange, asset acquisition, share purchase, recapitalization, reorganization or similar business combination with one or more businesses or entities, which RDAC refers to as a “target business.” The business combination will be completed through a two-step process consisting of the Reincorporation Merger (as defined below) and the Acquisition Merger (as defined below). The Reincorporation Merger and the Acquisition Merger are collectively referred to herein as the “Business Combination.”
Rising Dragon has entered into an agreement and plan of merger, dated as of January 27, 2025 (as it may be amended from time to time, the “Merger Agreement”), which provides for a Business Combination between Rising Dragon and HZJL Cayman Limited, a Cayman Islands exempted company (“HZJL”). Pursuant to the Merger Agreement, the Business Combination will be effected in two steps: (i) Rising Dragon will merge with and into Xpand Boom Technology Inc., a Cayman Islands exempted company and wholly owned subsidiary of Rising Dragon (“PubCo”), with PubCo remaining as the surviving publicly traded entity (the “Reincorporation Merger”), and PubCo as the surviving company after the Reincorporation Merger is hereinafter referred to, after the effective time of the Reincorporation Merger, as the “PubCo” or “Reincorporation Surviving Corporation”; (ii) immediately following the Reincorporation Merger, Xpand Boom Solutions Inc. (“Merger Sub”), a Cayman Islands exempted company and wholly owned subsidiary of PubCo, will be merged with and into HZJL, resulting in HZJL being a wholly owned subsidiary of PubCo (the “Acquisition Merger”). The Merger Agreement is by and among Rising Dragon, PubCo, Merger Sub, HZJL, certain shareholder of HZJL (“Principal Shareholder”) and Bin Xiong, an individual as the representative of Principal Shareholder of HZJL (“Principal Shareholder’ Representative”).
The aggregate consideration for the Acquisition Merger is $350,000,000, payable in the form of 35,000,000 newly issued PubCo Ordinary Shares (the “Closing Payment Shares”) valued at $10.00 per share to HZJL and its shareholders. At the closing of the Acquisition Merger, the issued and outstanding shares in HZJL held by the former HZJL shareholders will be cancelled and cease to exist, in exchange for the issuance of an aggregate of 22,708,000 class A ordinary shares of a par value of $0.0001 each of PubCo (the “PubCo Class A Ordinary Shares”) and 12,292,000 class B ordinary shares of a par value of $0.0001 each of PubCo (the “PubCo Class B Ordinary Shares,” together with PubCo Class A Ordinary Shares, collectively “PubCo Ordinary Shares”). At the closing of the Acquisition Merger, the one fully paid share in Merger Sub held by PubCo will become one fully paid share in the surviving company, so that HZJL will become a wholly-owned subsidiary of PubCo.
In addition to the Closing Payment Shares, Mr. Bin Xiong, the Chief Executive Officer of HZJL, will be entitled to receive earn-out shares as follows: (i) 10,000,000 PubCo Class A Ordinary Shares if the revenue of the Reincorporation Surviving Corporation and its subsidiaries, as a group, equals or exceeds RMB300,000,000 for the fiscal year containing the Closing Date (the “First Record Year”), as reflected on the audited consolidated financial statements of HZJL as of and for the First Record Year filed with the SEC; and (ii) 10,000,000 PubCo Class A Ordinary Shares if the revenue of the Reincorporation Surviving Corporation and its subsidiaries, as a group, equals or exceeds RMB600,000,000 for the fiscal year following the First Record Year (the “Second Record Year”), as reflected on the audited consolidated financial statements of HZJL as of and for the Second Record Year filed with the SEC. RMB, also known as Renminbi or Chinese yuan, means the legal currency of the PRC.
Upon the closing of the Business Combination (the “Closing”), PubCo will adopt an amended and restated memorandum and articles of association (the “Proposed PubCo Charter”), which take effects immediately prior to consummation of the Business Combination, and pursuant to the Proposed PubCo Charter, ordinary shares of PubCo will be reclassified into PubCo Class A Ordinary Shares and PubCo Class B Ordinary Shares” where each PubCo Class A Ordinary Share shall be entitled to one (1) vote on all matters subject to vote at general meetings of the post-Business Combination company and each PubCo Class B Ordinary Share shall be entitled to ten (10) votes on all matters subject to vote at all general meetings of the post-Business Combination company. At the Closing of the Business Combination, the former Rising Dragon shareholders will receive the consideration specified below and the former shareholders of HZJL will receive an aggregate of 22,708,000 PubCo Class A Ordinary Shares and 12,292,000 PubCo Class B Ordinary Shares.
At the Extraordinary General Meeting, Rising Dragon shareholders will be asked to consider and vote upon the following proposals:
| 1. | approval of the Reincorporation Merger, which RDAC refers to as the “Reincorporation Merger Proposal” or “Proposal No. 1;” | |
| 2. | approval of the Acquisition Merger, which RDAC refers to as the “Acquisition Merger Proposal” or “Proposal No. 2;” | |
| 3. | approval of the Nasdaq Proposal, which RDAC refers to as the “Nasdaq Proposal” or “Proposal No. 3,” | |
| 4. | approval of the Proposed PubCo Charter Proposal, which RDAC refers to as the “PubCo Charter Proposal” or “Proposal No. 4;” | |
| 5. | approval of the members of the directors to serve on the board of directors, each effective from the consummation of the Business Combination, which RDAC refers to as the “Director Approval Proposal” or “Proposal No.5”; | |
| 6. | approval to adjourn the Extraordinary General Meeting under certain circumstances, which is more fully described in the accompanying proxy statement/prospectus, which RDAC refers to as the “Adjournment Proposal” or “Proposal No. 6” and, together with the Reincorporation Merger Proposal, the Acquisition Merger Proposal, the Nasdaq Proposal, the PubCo Charter Proposal, and the Director Approval Proposal, the “Proposals.” |
If the Rising Dragon shareholders approve the Reincorporation Merger Proposal and the Acquisition Merger Proposal, immediately prior to the consummation of the Business Combination, all outstanding units of Rising Dragon (each of which consists of one RDAC Ordinary Share and one RDAC Right) (the “RDAC Units”) will cease separate existence and trading. Upon the consummation of the Business Combination, the current equity holdings of the Rising Dragon shareholders shall be exchanged as follows:
| (i) | Each ordinary share, par value of US$0.0001 each of Rising Dragon (“RDAC Ordinary Share”), issued and outstanding immediately prior to the effective time of the Reincorporation Merger (other than any redeemed shares), will automatically be cancelled and cease to exist and for each such RDAC Ordinary Share, PubCo shall issue to each Rising Dragon shareholder (other than the Rising Dragon shareholders who exercise their redemption rights in connection with the Business Combination) one validly issued PubCo Class A Ordinary Share, which, unless explicitly stated herein, shall be fully paid; and | |
| (ii) | The holders of rights of Rising Dragon (exchangeable into one-tenth (1/10) of one RDAC Ordinary Share) (collectively, the “RDAC Rights”) issued and outstanding immediately prior to the effective time of the Reincorporation Merger will receive one-tenth (1/10) of one PubCo Class A Ordinary Share in exchange for the cancellation of each RDAC Right; provided, however, that no fractional shares will be issued and all fractional shares will be rounded to the nearest whole share. |
Rising Dragon has not engaged in any material financing transactions since its initial public offering. Additionally, no material financing transactions are expected to occur in connection with the consummation of the de- Business Combination.
Assuming conversion of all RDAC securities held by RDAC’s initial shareholders (the “Initial Shareholders”), under (i) a no redemption scenario, (ii) a 25% redemption, (iii) a 50% redemptions, (iv) a 75% redemption, and (v) a maximum redemption scenario, immediately upon consummation of the Business Combination, as of the Closing, the Initial Shareholders will own 1,717,312 PubCo Ordinary Shares, representing approximately 3.84%, 3.96%, 4.09%, 4.24% and 4.36% of the then total issued and outstanding PubCo Ordinary Shares, respectively. The shareholders of HZJL (the “HZJL Shareholders”) will beneficially own 35,000,000 PubCo Ordinary Shares, representing approximately 78.03%, 80.62%, 83.38%, 86.34% and 88.90% of the then total issued and outstanding PubCo Ordinary Shares, respectively. You should read “Summary of the Proxy Statement/Prospectus — The Business Combination and the Merger Agreement” and “Unaudited Pro Forma Condensed Combined Financial Statements” for further information.
The following table summarizes the pro forma ownership of PubCo Ordinary Shares upon the Closing of the Business Combination, including Ordinary Shares underlying Units, and Ordinary Shares following the Business Combination under (i) a no redemption scenario, (ii) a 25% redemption, (iii) a 50% redemption scenario, (iv) a 75% redemption scenario, and (v) a maximum redemption scenario:
No Redemption Scenario(1) | 25% Redemption Scenario(2) | 50% Redemption Scenario(3) | 75% Redemption Scenario(4) | Max Redemption Scenario(5) | ||||||||||||||||||||||||||||||||||||
| Equity Capitalization Summary | # of Shares | % | # of Shares | % | # of Shares | % | # of Shares | % | # of Shares | % | ||||||||||||||||||||||||||||||
| HZJL Shareholders | 35,000,000 | 78.03 | 35,000,000 | 80.62 | 35,000,000 | 83.38 | 35,000,000 | 86.34 | 35,000,000 | 88.90 | ||||||||||||||||||||||||||||||
| RDAC Public Shareholders | 6,325,000 | 14.10 | 4,887,500 | 11.25 | 3,450,000 | 8.22 | 2,012,500 | 4.97 | 846,313 | 2.15 | ||||||||||||||||||||||||||||||
| RDAC Initial Shareholders | 1,717,312 | 3.84 | 1,717,312 | 3.96 | 1,717,312 | 4.09 | 1,717,312 | 4.24 | 1,717,312 | 4.36 | ||||||||||||||||||||||||||||||
| Others | 1,807,500 | 4.03 | 1,807,500 | 4.17 | 1,807,500 | 4.31 | 1,807,500 | 4.45 | 1,807,500 | 4.59 | ||||||||||||||||||||||||||||||
| Total Ordinary Shares | 44,849,812 | 100 | 43,412,312 | 100 | 41,974,812 | 100 | 40,537,312 | 100 | 39,371,125 | 100 | ||||||||||||||||||||||||||||||
| (1) | Under No Redemption Scenario, assumes redemptions of zero RDAC Ordinary Shares. |
| (2) | Under 25% Redemption Scenario, assumes a 25% redemption of 5,750,000 RDAC Ordinary Shares for aggregate redemption payments of approximately $14.6 million using a per-share redemption price of $10.14. |
| (3) | Under 50% Redemption Scenario, assumes a 50% redemption of 5,750,000 RDAC Ordinary Shares for aggregate redemption payments of approximately $29.2 million using a per-share redemption price of $10.14. |
| (4) | Under 75% Redemption Scenario, assumes a 75% redemption of 5,750,000 RDAC Ordinary Shares for aggregate redemption payments of approximately $43.7 million using a per-share redemption price of $10.14. |
| (5) | Under Max Redemption Scenario, assumes maximum redemption of 5,478,687 RDAC Ordinary Shares for aggregate redemption payments of approximately $55.6 million using a per-share redemption price of $10.14. |
Immediately after the consummation of the Business Combination, Bin Xiong, Chairman Designate, Director Nominee and Chief Executive Officer Designate of PubCo, through XB B Limited will hold approximately 80.0% (under the no redemption scenario) or approximately 83.1% (under the maximum redemption scenario) of PubCo’s voting power. As a result, PubCo will be a “controlled company” within the meaning of the corporate governance standards of the Nasdaq listing rules. Under these rules, a company of which more than 50% of the voting power in the election of directors is held by an individual, group or another company is a “controlled company” and may elect not to comply with certain corporate governance requirements, including the requirement that a majority of its directors be independent, as defined in the Corporate Governance Rules of the Nasdaq and the requirement that the compensation committee and nominating and corporate governance committee of Pubco consist entirely of independent directors. PubCo intends to take advantage of these exemptions. As a result, its public shareholders will not have the same protections afforded to shareholders of companies that are subject to all of Nasdaq corporate governance requirements. Bin Xiong as the controlling shareholder will have the ability to determine all matters requiring approval by shareholders. See “Risk Factors— Risks Factors Relating to an Investment in PubCo Ordinary Shares—Because PubCo will be a “controlled company” as defined in the Nasdaq Stock Market Rules, you may not have protections of certain corporate governance requirements which otherwise are required by Nasdaq’s rules.”
Compensation Received by the Sponsor
Set forth below is a summary of the terms and amount of the compensation received or to be received by RDAC’s sponsor, Aurora Beacon LLC (the “Sponsor”) and its affiliates in connection with the Business Combination or any related financing transaction, the amount of securities issued or to be issued by RDAC to the Sponsor and its affiliates and the price paid or to be paid for such securities or any related financing transaction.
| Interest in Securities | Other Compensation | |||
| Sponsor | On March 29, 2024, an aggregate of 1,437,500 founder shares, or the insider shares, were issued to the Sponsor for an aggregate purchase price of $25,000. | RDAC has agreed to reimburse the Sponsor for any out-of-pocket expenses related to identifying, investigating and completing an initial business combination. As of September 17, 2025, there were no out-of-pocket unpaid reimbursable expenses for which the Initial Shareholders, including the Sponsor and its affiliates, are awaiting reimbursement. | ||
| Simultaneously with the closing of Rising Dragon’s IPO on October 15, 2024, the Sponsor purchased 254,375 Private Units for an aggregate purchase price of $2,543,750. | ||||
| Upon the consummation of the Business Combination, among other things, each of the then issued and outstanding RDAC Ordinary Shares will convert automatically, on a one-for-one basis, into one PubCo Class A Ordinary Share. In the event the share price of PubCo Class A Ordinary Shares falls below the price paid by a shareholder of Rising Dragon at the time of purchase of the RDAC Ordinary Shares by such shareholder, a situation may arise in which the Sponsor or a director of Rising Dragon maintains a positive rate of return on its/ his/her RDAC Ordinary Shares while such shareholder of Rising Dragon experiences a negative rate of return on the shares such shareholder of Rising Dragon purchased. The securities currently owned by the Sponsor will have a significantly higher value at the time of the Business Combination than at the time of purchase. For purpose of illustration, given that as of the date of this prospectus, the Sponsor holds 1,691,875 RDAC Ordinary Shares, including 1,437,500 founder shares and 254,375 shares included in the Private Units, based on an estimated market price of $10.38 per PubCo Ordinary Share (i.e. being RDAC Ordinary Share’s closing price on September 5, 2025, the most recent practicable date prior to the date of this proxy statement/prospectus) immediately after Closing, the aggregate value of PubCo Class A Ordinary Shares owned by the Sponsor would be $17,561,663 and the Sponsor would have a potential aggregate profit of $14,992,913, representing a profit of $8.86 per PubCo Ordinary Share, whereas other public shareholders of Rising Dragon would only have a profit of $0.38 per PubCo Ordinary Share. | In order to finance transaction costs in connection with an intended initial business combination, RDAC’s Initial Shareholders, officers and directors and their affiliates may, but are not obligated to, loan RDAC funds as may be required. Such loans would be evidenced by promissory notes. In the event that RDAC is unable to consummate an initial business combination, RDAC may use a portion of the offering proceeds held outside the trust account to repay such loaned amounts but no proceeds from the trust account would be used for such repayment. If RDAC consummates an initial business combination, the notes would either be paid upon consummation of the initial business combination, without interest, or, at the lender’s discretion, up to $1,500,000 of the notes may be converted upon consummation of the business combination into additional private units at a price of $10.00 per unit (which, for example, would result in the holders being issued 150,000 units if the full amount of notes are issued and converted). |
The retention of shares by Sponsor and the reimbursements payable to Sponsor at Closing will not result in a material dilution of the equity interests of non-redeeming public shareholders of Rising Dragon. See “Notes to Unaudited Pro Forma Condensed Combined Financial Information.”
Conflicts of Interest
When considering the board of directors of Rising Dragon’s recommendation that Rising Dragon’s shareholders vote in favor of the Reincorporation Merger Proposal and the Acquisition Merger Proposal, shareholders should be aware that directors and officers of Rising Dragon may have interests in the Business Combination that are different from, or in addition to, the interests of unaffiliated shareholders of Rising Dragon. Rising Dragon’s CEO and Chairman, Mr. Lulu Xing, controls the Sponsor. On March 29, 2024, an aggregate of 1,437,500 founder shares were issued to the Sponsor for an aggregate purchase price of $25,000. Simultaneously with the closing of the IPO, Rising Dragon consummated the private placement (the “Private Placement”) with the Sponsor of 254,375 RDAC Units (the “Private Unit(s)”), generating total proceeds of $2,543,750. The following table sets forth information regarding directors and officers of Rising Dragon and the Sponsor’s beneficial interests in securities of Rising Dragon as at September 17, 2025:
| Shareholder(1) | Number of RDAC Ordinary Shares | Number of RDAC Units | ||||||
| The Sponsor(2) | 1,437,500 | 254,375 | ||||||
| Lulu Xing(2) | 1,437,500 | 254,375 | ||||||
| Wenyi Shen | 0 | 0 | ||||||
| Kei Tung Yeung | 0 | 0 | ||||||
| Kun-Lin Liu | 0 | 0 | ||||||
| Yucan Zhang | 0 | 0 | ||||||
| Chengming Dou | 0 | 0 | ||||||
| All directors and executive officers (six (6) individuals) as a group | 1,691,875 | 254,375 | ||||||
Notes:
| (1) | Unless otherwise indicated, the business address of each of the individuals or entities is c/o Rising Dragon Acquisition Corporation, No. 604, Yixing Road, Wanbolin District, Taiyuan City, Shanxi Province, People’s Republic of China. |
| (2) | The Sponsor is the record holder of the insider shares reported herein. It is controlled by Mr. Lulu Xing (the CEO and one of the directors of Rising Dragon). Mr. Lulu Xing has voting and dispositive power over the securities held of record by the Sponsor. |
If Rising Dragon does not consummate an initial business combination by January 15, 2026, or July 15, 2026 (21 months after the consummation of the IPO, if the time period is extended, as described herein), it will be required to dissolve and liquidate and the securities held by the Initial Shareholders will be worthless because the Initial Shareholders have agreed to waive their rights to any liquidation distributions. The 1,717,312 PubCo Class A Ordinary Shares that will be received by the Sponsor, if unrestricted and freely tradable, would have had an aggregate market value of approximately $17.83 million based upon the closing price of $10.38 per share on Nasdaq on September 5, 2025, the most recent practicable date prior to the date of this proxy statement/prospectus. As a result of the interests of the Sponsor and the directors and officers of Rising Dragon in securities of Rising Dragon, the Sponsor and the directors and officers of Rising Dragon have an incentive to complete an initial business combination and may have a conflict of interest in the transaction, including without limitation, in determining whether a particular business is an appropriate business with which to effect the initial business combination of Rising Dragon.
Moreover, prior to the IPO, Rising Dragon issued an aggregate of 1,437,500 founder shares, or insider shares, to the Initial Shareholders for an aggregate purchase price of $25,000. As of the date of this prospectus, the Initial Shareholders hold an aggregate of 1,437,500 founder shares, the purchase price of which was $25,000, or approximately $0.017 per share. As a result, Sponsor and the directors and officers of Rising Dragon will have rates of return on their respective investments which differ from the rate of return of shareholders of Rising Dragon who purchased RDAC Ordinary Shares at various other prices, including RDAC Ordinary Shares included in RDAC Units that were sold at $10.00 per unit in the IPO. Upon the consummation of the Business Combination, among other things, each of the then issued and outstanding RDAC Ordinary Shares will convert automatically, on a one-for-one basis, into one PubCo Ordinary Share. In the event the share price of PubCo Class A Ordinary Shares falls below the price paid by a shareholder of Rising Dragon at the time of purchase of the RDAC Ordinary Shares by such shareholder, a situation may arise in which the Sponsor, an officer or a director of Rising Dragon maintains a positive rate of return on its/ his/her RDAC Ordinary Shares while such shareholder of Rising Dragon experiences a negative rate of return on the shares such shareholder of Rising Dragon purchased. The securities currently owned by the Initial Shareholders will have a significantly higher value at the time of the Business Combination than at the time of purchase. For purpose of illustration, given that as of the date hereof, the Initial Shareholders hold 1,691,875 RDAC Ordinary Shares, including 1,437,500 founder shares and 254,375 shares included in the Private Units, based on an estimated market price of $10.38 per PubCo Ordinary Share (i.e. being the RDAC Ordinary Shares closing price on September 5, 2025, the most recent practicable date prior to the date of this proxy statement/prospectus) immediately after Closing, the aggregate value of PubCo Class A Ordinary Shares owned by the Initial Shareholders would be $17,561,663 and the Initial Shareholders would have a potential aggregate profit of $14,992,913, representing a profit of $8.86 per PubCo Ordinary Share, whereas other public shareholders of Rising Dragon would only have a profit of $0.38 per PubCo Ordinary Share.
As a result of the interests of the Initial Shareholders in securities of Rising Dragon, the Initial Shareholders will benefit from the completion of the Business Combination and therefore may be incentivized to complete the Business Combination even if it is with a less favorable target company or on terms less favorable to shareholders of Rising Dragon, rather than liquidate. They may have a conflict of interest in the transaction, including without limitation, in determining whether a particular business is an appropriate business with which to effect the initial business combination of Rising Dragon. See “Proposal No. 2. - The Acquisition Merger Proposal - Interests of Certain Persons in the Business Combination.”
In connection with the Business Combination, there may be any actual or potential material conflict of interest between: on one hand, HZJL’s officers or HZJL’s directors; and, on the other hand, unaffiliated security holders of Rising Dragon. Shareholders should also be aware that interests of HZJL, HZJL officers and directors may be inherently different from the interests of unaffiliated shareholders of Rising Dragon, which could cause them to pursue terms of Business Combination less favorable to non-redeeming shareholders, and they owe no fiduciary duty to Rising Dragon’s shareholders. After Closing, certain HZJL officers and directors will be appointed as officers and directors of PubCo. Furthermore, Rising Dragon intends to use substantially all of the funds held in the trust account to complete the Business Combination, after the payment to holders of RDAC Ordinary Shares exercising redemption rights upon Closing, and any remaining amount will be used for future working capital and other corporate purposes of the combined entity. See “Questions and Answers about the Business Combination and the Extraordinary General Meeting —Q: What happens to the funds deposited in the trust account following the Business Combination” on page 13. In addition, our largest shareholder will be able to exercise a fair amount of the voting rights of our Company immediately after the completion of the Business Combination. The largest shareholder has substantial influence over our business with respect to material matters requiring voting rights, and we cannot assure you that any of our controlling shareholders will act in the best interest of our company should any conflict arise. We may not be able to resolve any potential conflicts, and even if we do so, the resolution may be less favorable to us than if we were dealing with an unaffiliated party. See “Risk Factors - We may have conflicts of interest with our largest shareholder and may not be able to resolve such conflicts on favorable terms for us” on page 66.
The board of directors of Rising Dragon has determined (i) that the terms and conditions of the Merger Agreement and the transactions contemplated thereby, including the Business Combination, are advisable, fair to and in the best interests of, Rising Dragon and its shareholders, and (ii) to recommend that the shareholders approve the transactions contemplated by the Merger Agreement, including the Business Combination. Rising Dragon obtained a fairness opinion from CHFT Advisory and Appraisal, Ltd. in determining whether or not to proceed with the Business Combination. The board of Rising Dragon relied on the fairness opinion and also the financial skills and background of its officers and directors. Rising Dragon believed that the officers and directors of Rising Dragon have substantial experience in evaluating the operating and financial merits of companies from a wide range of industries and concluded that their experience and background enabled them to make the necessary analyses and determinations regarding the Business Combination. For details, see “Proposal No. 2 — The Acquisition Merger Proposal — Summary of the Opinion of CHFT” on page 117.
As of the date of this prospectus/proxy statement, Rising Dragon has not entered into any agreement, arrangement, or understanding, including any payments, between the Sponsor and unaffiliated security holders of Rising Dragon regarding the redemption of outstanding securities of Rising Dragon.
The RDAC Units, RDAC Ordinary Shares, and RDAC Rights are currently listed on the Nasdaq Capital Market under the symbols “RDACU,” “RDAC,” “RDACR,” respectively. PubCo intends to apply to list the PubCo Class A Ordinary Shares on the Nasdaq Stock Market under the symbol “XPD” in connection with the closing of the Business Combination. Rising Dragon cannot assure you that the PubCo Class A Ordinary Shares will be approved for listing on Nasdaq.
Investing in PubCo securities involves a high degree of risk. See “Risk Factors” beginning on page 42 for a discussion of information that should be considered in connection with an investment in PubCo securities.
HZJL Cayman Limited is not an operating company but a Cayman Islands holding company with operations primarily conducted by its subsidiaries in China.
HZJL’s PRC Operating Entities (as defined below) face various legal and operational risks and uncertainties related to doing business in China. For instance, HZJL’s PRC Operating Entities face risks associated with regulatory approvals and filings on offshore offerings, anti-monopoly regulatory actions, and oversight on cybersecurity and data privacy, as well as the ability of the Public Company Accounting Oversight Board (United States) (“PCAOB”) to inspect HZJL’s auditors, which may impact the ability of HZJL’s subsidiaries to conduct certain businesses, accept foreign investors, or list on a United States or foreign exchange after the Business Combination. These risks could result in a material adverse change in HZJL’s business operations and the value of PubCo Class A Ordinary Shares, significantly limit or hinder PubCo’s ability to offer or continue to offer securities to investors, or cause such securities to significantly decline in value or become worthless. As HZJL’s PRC Operating Entities do business in China, Chinese regulatory authorities could disallow such structure, which would likely result in a material change in our operations and/or a material change in the value of the securities we are registering for sale, including that it could cause the value of such securities to significantly decline or become worthless. For a detailed description of risks related to doing business in China, see “Risk Factors — Risks Related to Doing Business in China” in this proxy statement/prospectus.
HZJL’s corporate structure as a Cayman Islands holding company with operations primarily conducted by its subsidiaries in China involves unique risks to investors. Chinese regulatory authorities could disallow this structure, which cause the incapability to continue operation without changing the corporate structure or switching the business focus. This may in turn cause the value of the securities to significantly decline or even become worthless. According to the Foreign Investment Law in China, the State Council shall promulgate or approve a list of special administrative measures for market access of foreign investments, or the Negative List. The Foreign Investment Law grants national treatment to foreign-invested entities, except for those foreign-invested entities that operate in industries specified as either “restricted” or “prohibited” from foreign investment in the Negative List. The Foreign Investment Law provides that foreign-invested entities operating in “restricted” or “prohibited” industries will require market entry clearance and other permissions or approvals from relevant PRC government authorities. On December 27, 2021, the National Development and Reform Commission of China (“NDRC”) and the Ministry of Commerce (“MOFCOM”) jointly issued the Special Administrative Measures for Foreign Investment Access in Pilot Free Trade Zones (Negative List) (2021 Edition), effective January 1, 2022. Subsequently, on September 6, 2024, the NDRC and the MOFCOM jointly issued the Special Administrative Measures for Foreign Investment Access (Negative List) (2024 Edition), effective November 1, 2024. As a company operating its business in enterprise branding value-added service and food supply chain service, which are not included in the Negative List, HZJL believes its business is not subject to any ownership restrictions. However, since the Negative List has been adjusted and updated in the recent years, we cannot assure you that the aforementioned business segments will continuously be beyond the “prohibited” category, which would likely result in a material change in our operations or in the value of our securities. The PRC government will also establish a foreign investment information reporting system, according to which foreign investors or foreign-invested enterprises shall submit investment information to the competent department for commerce concerned through the enterprise registration system and the enterprise credit information publicity system, and a security review system under which the security review shall be conducted for foreign investment affecting or likely affecting the state security. For a detailed description of the risks associated with HZJL’s corporate structure, please refer to risks disclosed under “Risk Factors — Risks Related to Doing Business in China.” in this proxy statement/prospectus.
HZJL may encounter several limitations related to cash transfer among its PRC Operating Entities, the holding company and its investors. Any funds we transfer to the PRC Operating Entities, as an increase in registered capital, are subject to permission and approval by or registration with relevant governmental authorities in China. According to the relevant PRC regulations on foreign invested enterprises in China, capital contributions to our PRC Operating Entities are subject to the registration with the State Administration for Market Regulation or its local counterpart and registration with a local bank authorized by SAFE. In addition, (i) any foreign loan procured by our PRC Operating Entities is required to be registered with the SAFE or its local branches and (ii) any of our PRC Operating Entities may not procure loans which exceed the difference between its total investment amount and registered capital or, as an alternative, only procure loans subject to the calculation approach and limitation as provided by the People’s Bank of China. See “Risk Factors - PRC regulation of loans to and direct investment in PRC entities by offshore holding companies may delay or prevent us from using the proceeds of the IPO to make loans or additional capital contributions to our PRC subsidiaries in China, which could materially and adversely affect our liquidity and our ability to fund and expand our business.” HZJL’s or its subsidiaries’ ability to transfer cash/assets available to fund operations or for other use outside of the PRC/Hong Kong may also be limited. See “Risk Factors - To the extent cash/assets in the business are in the PRC/Hong Kong or a PRC/Hong Kong entity, the funds/assets may not be available to fund operations or for other use outside of the PRC/Hong Kong due to interventions in or the imposition of restrictions and limitations by the PRC government on our or our subsidiaries’ ability to transfer cash/assets.” As a holding company with no operations, our ability to distribute dividends largely depends on the distribution from our PRC Operating Entities. In addition, if HZJL is determined to be a PRC resident enterprise for enterprise income tax purposes, we could be subject to PRC tax at a rate of 25% on our worldwide income, which could materially reduce our net income, and we may be required to withhold a 10% withholding tax from dividends we pay to our shareholders that are non-resident enterprises, including the holders of our ordinary shares, and non-resident enterprise shareholders (including our ordinary shareholders) may be subject to PRC tax at a rate of 10% on gains realized on the sale or other disposition of ordinary shares, if such income is treated as sourced from within China. An “indirect transfer” of PRC assets, including a transfer of equity interests in an unlisted non-PRC holding company of a PRC resident enterprise, by non-PRC resident enterprises may be re-characterized and treated as a direct transfer of the underlying PRC assets, if such arrangement does not have a reasonable commercial purpose and was established for the purpose of avoiding payment of PRC enterprise income tax. As a result, gains derived from such indirect transfer may be subject to PRC enterprise income tax, and the transferee or other person who is obligated to pay for the transfer is obligated to withhold the applicable taxes, currently at a rate of 10% for the transfer of equity interests in a PRC resident enterprise. See “Risk Factors - We may be classified as a “PRC resident enterprise” for PRC enterprise income tax purposes, which could result in unfavourable tax consequences to us and our shareholders and have a material adverse effect on our results of operations and the value of your investment.”
HZJL also may face risks relating to the lack of PCAOB inspection on its auditor, which may cause PubCo Securities to be delisted from a U.S. stock exchange or prohibited from being traded over-the-counter in the future under the Holding Foreign Companies Accountable Act as amended by the Accelerating Holding Foreign Companies Accountable Act (the “AHFCAA”) that was signed into law on December 29, 2022, if the PCAOB has determined it is unable to investigate HZJL’s auditor completely for two consecutive years beginning in 2022. The delisting or the cessation of trading of PubCo Securities, or the threat of their being delisted or prohibited from being traded, may materially and adversely affect the value of your investment. On December 16, 2021, the PCAOB issued a report to notify the SEC its determinations that it is unable to inspect or investigate completely registered public accounting firms headquartered in China and Hong Kong, respectively, and identifies the registered public accounting firms in China and Hong Kong that are subject to such determinations. HZJL’s auditor is headquartered in Singapore and has been inspected by the PCAOB on a regular basis and is therefore not subject to the determinations announced by the PCAOB on December 16, 2021. However, since the audit work was carried out by HZJL’s auditor with the collaboration of its China-based office, the audit working papers of HZJL’s financial statements may not be inspected by the PCAOB without the approval of the PRC authorities. On August 26, 2022, the PCAOB announced and signed a Statement of Protocol (the “Protocol”) with the China Securities Regulatory Commission and the Ministry of Finance of the People’s Republic of China. The Protocol provides the PCAOB with: (1) sole discretion to select the firms, audit engagements and potential violations it inspects and investigates, without any involvement of Chinese authorities; (2) procedures for PCAOB inspectors and investigators to view complete audit work papers with all information included and for the PCAOB to retain information as needed; (3) direct access to interview and take testimony from all personnel associated with the audits the PCAOB inspects or investigates. On December 15, 2022, the PCAOB announced in the 2022 Determination its determination that the PCAOB was able to secure complete access to inspect and investigate accounting firms headquartered in mainland China and Hong Kong, and the PCAOB Board voted to vacate previous determinations to the contrary. Should the PCAOB again encounter impediments to inspections and investigations in mainland China or Hong Kong as a result of positions taken by any authority in either jurisdiction, including by the China Securities Regulatory Commission (“CSRC”) or the Ministry of Finance (“MOF”), the PCAOB will make determinations under the HFCAA as and when appropriate. We cannot assure you whether Nasdaq or regulatory authorities would apply additional and more stringent criteria to us after considering the effectiveness of our auditor’s audit procedures and quality control procedures, adequacy of personnel and training, or sufficiency of resources, geographic reach, or experience as it relates to the audit of our financial statements. There is a risk that the PCAOB is unable to inspect or investigate completely the Company’s auditor because of a position taken by an authority in a foreign jurisdiction or any other reasons, and that the PCAOB may re-evaluate its determinations as a result of any obstruction with the implementation of the Protocol. Such lack of inspection or re-evaluation could cause trading in the Company’s securities to be prohibited under the HFCAA ultimately result in a determination by a securities exchange to delist the Company’s securities. In addition, under the HFCAA, as amended by the AHFCAA, our securities may be prohibited from trading on the Nasdaq or other U.S. stock exchanges if our auditor is not inspected by the PCAOB for two consecutive years, and this ultimately could result in our ordinary shares being delisted by and exchange. See “Risk Factors — The continued U.S. regulatory and legislative focus, including the enactment of the HFCAA, may adversely affect the market price of our Class A Ordinary Shares and may eventually require us to delist our securities from the U.S. markets.”
The structure of cash flows within our organization and a summary of the applicable regulations are as follows:
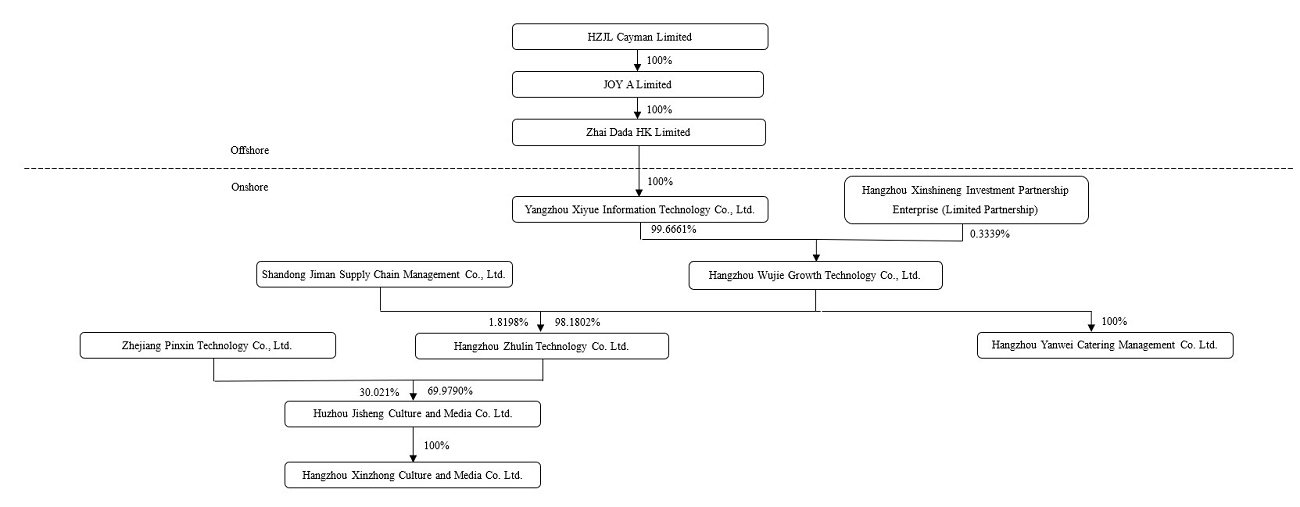
Our equity structure is a direct holding structure. HZJL, the entity to be acquired by PubCo, controls Yangzhou Xiyue Information Technology Co., Ltd. (扬州玺悦信息技术有限公司) (“Xiyue”, or the “WFOE”) and other domestic operating entities through the Hong Kong company, Zhai Dada HK Limited (“HK Subsidiary”). See “Corporate History and Structure of HZJL” for additional details.
Within our direct holding structure, the cross-border transfer of funds within our corporate group is legal and compliant with the current laws and regulations of the PRC. After any non-PRC based investors’ funds enter HZJL at HZJL’s securities offerings outside of China, the funds can be directly transferred to HK Subsidiary, and then transferred to subordinate operating entities through the WFOE in accordance with relevant laws and regulations of the PRC. To the extent cash in the business is in the PRC/Hong Kong or a PRC/Hong Kong entity, the funds may not be available to fund operations or for other use outside of the PRC/Hong Kong due to interventions in or the imposition of restrictions and limitations on the ability of HZJL or HZJL’s subsidiaries, by the PRC government to transfer cash. Please see Summary of “Risk Factor - PRC regulation of loans to and direct investment in PRC entities by offshore holding companies may delay or prevent us from using the proceeds of the IPO to make loans or additional capital contributions to our PRC subsidiaries in China, which could materially and adversely affect our liquidity and our ability to fund and expand our business.” for more details.
If we intend to distribute dividends, we will transfer the funds to HK Subsidiary from WFOE in accordance with the laws and regulations of the PRC, and then HK Subsidiary will transfer the dividends to HZJL, and the dividends will be distributed from HZJL to all shareholders respectively in proportion to the shares they hold, regardless of whether the shareholders are U.S. investors or investors in other countries or regions. In terms of the cash transfer among HZJL and its subsidiaries, subject to the amounts of cash transfer and the nature of the use of funds, requisite internal approval shall be obtained prior to each cash transfer. Specifically, all transactions require the approvals of the financial controllers of the entities involved. As for an internal cash transfer exceeds RMB10,000,000 (approximately $1.5 million), the general manager is also required to conduct review and approval. There are no other cash management policies. Please see “Cash Transfer” under “Summary” section, and “PRC regulation of loans to and direct investment in PRC entities by offshore holding companies may delay or prevent us from using the proceeds of the IPO to make loans or additional capital contributions to our PRC subsidiaries in China, which could materially and adversely affect our liquidity and our ability to fund and expand our business.” in Summary of risk factors and risk factors section for more details.
In the reporting periods presented in this proxy statement/prospectus, (1) no cash transfers have occurred between our holding company and its subsidiaries, (2) no dividends nor distributions have been made by the subsidiaries to our holding company, and (3) our holding company has not paid any dividends nor made any distributions to U.S. investors. For further details, please refer to “Selected Historical Consolidated Financial and Operating Data of HZJL”, as well as the consolidated financial statements included elsewhere in this proxy statement/prospectus. As of the date of this proxy statement/prospectus, HZJL does not have any cash management policy other than that is stated in the paragraph above. For the foreseeable future, we intend to use the earnings for research and development, to develop new products and to expand its production capacity. As a result, HZJL Cayman Limited currently does not have a plan to declare dividends to its shareholders in the foreseeable future.
HZJL’s PRC subsidiaries’ ability to distribute dividends is based upon their distributable earnings. Current PRC regulations permit our PRC subsidiaries to pay dividends to their respective shareholders only out of their accumulated profits, if any, determined in accordance with PRC accounting standards and regulations. In addition, each of our PRC subsidiaries is required to set aside at least 10% of its after-tax profits each year, if any, to fund a statutory reserve until such reserve reaches 50% of each of their registered capitals. These reserves are not distributable In addition, PRC Operating Entities cannot distribute dividends until previous years’ loss has been offset. See “Regulations Relating to Dividend Distributions” for more information.
To address persistent capital outflows and the RMB’s depreciation against the U.S. dollar in the fourth quarter of 2016, the People’s Bank of China and the State Administration of Foreign Exchange, or SAFE, have implemented a series of capital control measures in the subsequent months, including stricter vetting procedures for China-based companies to remit foreign currency for overseas acquisitions, dividend payments and shareholder loan repayments. The PRC government may continue to strengthen its capital controls and our PRC subsidiaries’ dividends and other distributions may be subject to tightened scrutiny in the future. The PRC government also imposes controls on the conversion of RMB into foreign currencies and the remittance of currencies out of the PRC. Therefore, we may experience difficulties in completing the administrative procedures necessary to obtain and remit foreign currency for the payment of dividends from our profits, if any. Furthermore, if our subsidiaries in the PRC incur debt on their own in the future, the instruments governing the debt may restrict their ability to pay dividends or make other payments.
As of September 11, 2025, there was approximately $60,025,519.67 in Rising Dragon’s trust account. On September 11, 2025, the last sale price of one RDAC Ordinary Share was $10.38.
Pursuant to Rising Dragon’s amended and restated memorandum and articles of association as adopted by special resolution dated October 10, 2024 and effective on October 10, 2024 (the “Existing Charter”), Rising Dragon is providing its public shareholders with the opportunity to redeem all or a portion of their RDAC Ordinary Shares at a per-share price, payable in cash, equal to the aggregate amount then on deposit in Rising Dragon’s trust account as of two business days prior to the consummation of the Business Combination, including interest, less taxes payable, divided by the number of then outstanding RDAC Ordinary Shares that were sold as part of the RDAC Units in Rising Dragon’s initial public offering (“IPO”), subject to the limitations described herein. Rising Dragon estimates that the per-share price at which public shares may be redeemed from cash held in the trust account will be approximately $10.44 at the time of the Extraordinary General Meeting. Rising Dragon’s public shareholders may elect to redeem their shares, regardless of whether they are voting for or against such proposed Business Combination or do not vote at all. Under Rising Dragon’s Existing Charter, RDAC will not redeem Public Shares that would cause RDAC’s net tangible assets to be less than US$5,000,001 either immediately prior to, or upon consummation of, or any greater net tangible asset or cash requirement that may be contained in the agreement relating to, such Business Combination, or otherwise RDAC is exempt from the provisions of Rule 419 promulgated under the Securities Act of 1933, as amended. Holders of outstanding RDAC Rights do not have redemption rights in connection with the Business Combination.
Rising Dragon is providing this proxy statement/prospectus and accompanying proxy card to its shareholders in connection with the solicitation of proxies to be voted at the Extraordinary General Meeting and at any adjournments or postponements of the Extraordinary General Meeting. The Initial Shareholders, which collectively own approximately 22.56% of RDAC Ordinary Shares as of the record date, have agreed to vote their RDAC Ordinary Shares in favor of the Reincorporation Merger Proposal and the Acquisition Merger Proposal, which transactions comprise the Business Combination, and intend to vote for the Nasdaq Proposal, the PubCo Charter Proposal, the Director Approval Proposal, and the Adjournment Proposal, although there is no agreement in place with respect to voting on those proposals.
Each shareholder’s vote is very important. Whether or not you plan to attend the Extraordinary General Meeting in person by virtual attendance, please submit your proxy card without delay. Rising Dragon’s shareholders may revoke proxies at any time before they are voted at the meeting. Voting by proxy will not prevent a shareholder from voting in person by virtual attendance if such shareholder subsequently chooses to attend the Extraordinary General Meeting.
The board of directors of Rising Dragon has approved the Merger Agreement, and recommends that Rising Dragon shareholders vote “FOR” approval of each of the Proposals. When you consider the recommendation of Rising Dragon board of director of these Proposals, you should keep in mind that Rising Dragon’s directors and officers have interests in the Business Combination that may conflict with or differ from your interests as a shareholder. See the section titled “The Acquisition Merger Proposal — Interests of Certain Persons in the Business Combination.”
On behalf of the Rising Dragon board of directors, I thank you for your support and RDAC looks forward to the successful consummation of the Business Combination.
| Sincerely, | |
| /s/Lulu Xing | |
Lulu Xing Chairman of the Board Rising Dragon Acquisition Corp. | |
| September 26, 2025 |
Neither the U.S. Securities and Exchange Commission nor any state securities commission has approved or disapproved of the securities to be issued in the Business Combination or otherwise, or passed upon the adequacy or accuracy of this proxy statement/prospectus. Any representation to the contrary is a criminal offense.
HOW TO OBTAIN ADDITIONAL INFORMATION
This proxy statement/prospectus incorporates important business and financial information about Rising Dragon that is not included or delivered herewith. If you would like to receive additional information or if you want additional copies of this document, agreements contained in the appendices or any other documents filed by Rising Dragon with the Securities and Exchange Commission, such information is available without charge upon written or oral request. Please contact our proxy solicitor:
ADVANTAGE
PROXY, INC.
P.O. Box 10904
Yakima, WA 98909
Toll Free: (877) 870-8565
Collect: (206) 870-8565
Email: ksmith@advantageproxy.com
If you would like to request documents, please do so no later than five business days prior to the meeting date, or no later than October 13, 2025, to receive them before the Extraordinary General Meeting. Please be sure to include your complete name and address in your request. Please see the section titled “Where You Can Find Additional Information” to find out where you can find more information about Rising Dragon and HZJL. You should rely only on the information contained in this proxy statement/prospectus in deciding how to vote on the Business Combination. Neither Rising Dragon nor HZJL has authorized anyone to give any information or to make any representations other than those contained in this proxy statement/prospectus. Do not rely upon any information or representations made outside of this proxy statement/prospectus. The information contained in this proxy statement/prospectus may change after the date of this proxy statement/prospectus. Do not assume after the date of this proxy statement/prospectus that the information contained in this proxy statement/prospectus is still correct.
USE OF CERTAIN TERMS
Unless otherwise stated in this proxy statement/prospectus, references to:
| ● | “Business Combination”, “the Transaction”, or “this Transaction” are the mergers contemplated under the Merger Agreement; |
| ● | “China” or “PRC” are to the People’s Republic of China, including Hong Kong and Macau; |
| ● | “Closing” are to the closing of the Business Combination; |
| ● | “Closing Date” are to the date on which the Business Combination is consummated; |
| ● | “Combination Period” are to the period of time to consummate an initial business combination by Rising Dragon before January 15, 2026 (or up to July 15, 2026, if further extended); |
| ● | “Exchange Act” are to the Securities Exchange Act of 1934, as amended; |
| ● | “Existing Charter” are to Rising Dragon’s amended and restated memorandum and articles of association as adopted by special resolution dated October 10, 2024 and effective on October 10, 2024; |
| ● | “Han Kun” are to Han Kun Law Offices LLP; |
| ● | “Hong Kong” or “HK” are to the Hong Kong Special Administrative Region of the PRC; |
| ● | “HZJL”, “we”, “our” or “us” under any paragraph regarding HZJL Cayman Limited are to HZJL Cayman Limited, a Cayman Islands holding company having no operations, and, when describing HZJL’s consolidated financial information, also includes HZJL’s subsidiaries; |
| ● | “Initial Shareholders” are to the Sponsor; |
| ● | “IPO” are to the initial public offering of 5,750,000 units of Rising Dragon consummated on October 15, 2024; |
| ● | “Loeb” are to Loeb & Loeb LLP; |
| ● | “LOI” are to a letter of intent; |
| ● | “Lucid” are to Lucid Capital Markets, LLC, the representative of the underwriters of the IPO; |
| ● | “Merger Agreement” are to the agreement and plan of merger dated as of January 27, 2025 (as it may be amended from time to time, among Rising Dragon, PubCo, Merger Sub, HZJL and certain other parties; |
| ● | “Plan of Merger” are respectively to the statutory plan of merger (including the memorandum and articles of association) to be filed with the Registrar of Companies in the Cayman Islands; |
| ● | “Proposed PubCo Charter” are to the amended and restated memorandum and articles of association of the PubCo to be adopted prior to consummation of the Business Combination; |
| ● | “PRC Legal Counsel” or “Han Kun PRC” are to Han Kun Law Offices; |
| ● | “PRC Operating Entities” are to Hangzhou Zhulin Technology Co., Ltd., a company with limited liabilities established in accordance with the PRC laws on January 19, 2020, Hangzhou Yanwei Supply Chain Management Co., Ltd., a company with limited liabilities established in accordance with the PRC laws on June 4, 2021, Huzhou Jisheng Culture and Media Co., Ltd., a company with limited liabilities established in accordance with the PRC laws on November 25, 2021, Hangzhou Wujie Growth Technology Co., Ltd., a company with limited liabilities established in accordance with the PRC laws on February 14, 2022, and Hangzhou Xinzhong Culture and Media Co., Ltd., a company with limited liabilities established in accordance with the PRC laws on September 6, 2024; |
| ● | “PubCo Ordinary Shares” are to the PubCo Class A Ordinary Shares and the PubCo Class B Ordinary Shares; |
| ● | “RMB” or “Renminbi” are to the legal currency of the PRC; |
| ● | “Sponsor” are to Aurora Beacon LLC, a Cayman Islands limited liability company; |
| ● | “U.S. Dollars,” “$,” or “US$” are to the legal currency of the United States; and |
| ● | “U.S. GAAP” are to accounting principles generally accepted in the United States. |
HZJL Cayman Limited is not an operating company but a Cayman Islands holding company with operations primarily conducted by its subsidiaries in China. After the closing of the Business Combination, investors will only hold equity interests in Xpand Boom Technology Inc., or PubCo, a Cayman Islands holding company and the parent company of HZJL, and will never have a direct ownership interest in HZJL or HZJL’s PRC Operating Entities.
Unless otherwise noted, all translations from Renminbi to U.S. dollars and from U.S. dollars to Renminbi in this prospectus are made at RMB7.1304 to US$1.00, representing the noon buying rate set forth in the H.10 statistical release of the U.S. Federal Reserve Board on September 2, 2025. We make no representation that any Renminbi or U.S. dollar amounts could have been, or could be, converted into U.S. dollars or Renminbi, as the case may be, at any particular rate, the rates stated below, or at all. On August 29, 2025, the noon buying rate for Renminbi was RMB7.1304 to US$1.00.
Rising Dragon Acquisition Corp.
No. 604, Yixing Road
Wanbolin District, Taiyuan City
Shanxi Province, People’s Republic of China
Tel: +86 18817777987
NOTICE OF EXTRAORDINARY GENERAL MEETING
TO BE HELD ON October 20, 2025
TO THE SHAREHOLDERS OF RISING DRAGON ACQUISITION CORP.:
NOTICE IS HEREBY GIVEN that an Extraordinary General Meeting of Rising Dragon Acquisition Corp., a Cayman Islands exempted company (“Rising Dragon”), will be held on October 20, 2025 at 10 a.m., Eastern Time at the offices of Loeb & Loeb LLP, 345 Park Avenue, New York, NY 10154, and virtually via a teleconference using the following dial-in information:
| Within the U.S. and Canada Toll Free | 1 800-450-7155 (toll-free) | |
| Outside of the U.S. and Canada | +1 857-999-9155 (standard rates apply) | |
| Participant Passcode | 8029046# |
During the Extraordinary General Meeting, Rising Dragon’s shareholders will be asked to consider and vote upon the following proposals, which RDAC refers to herein as the “Proposals”:
| ● | By special resolution, to approve (a) the merger of Rising Dragon with and into PubCo, Rising Dragon’s wholly owned Cayman Islands subsidiary, with PubCo surviving the merger (the “Reincorporation Surviving Corporation”); and (b) the Plan of Merger to be entered into between the PubCo and Rising Dragon (the “Reincorporation Plan of Merger”) and the entry into the Reincorporation Plan of Merger. RDAC refers to this merger as the Reincorporation Merger. This proposal is referred to as the Reincorporation Merger Proposal or Proposal No. 1. | |
| ● | By special resolution, to approve (a) the entry into the agreement and plan of merger among Rising Dragon, PubCo, Merger Sub, HZJL and certain other parties; and (b) the merger of Merger Sub into HZJL, resulting in HZJL becoming a wholly owned subsidiary of PubCo. RDAC refers to this merger as the Acquisition Merger. This proposal is referred to as the Acquisition Merger Proposal or Proposal No. 2. | |
| ● | By ordinary resolution, to approve the Nasdaq Proposal, which RDAC refers to as the Nasdaq Proposal or Proposal No. 3. | |
| ● | By special resolution, to approve, on a non-binding advisory basis, certain material difference between the proposed PubCo’s amended and restated memorandum and articles of association (the “Proposed PubCo Charter”), a copy of which is attached to this proxy statement/prospectus as Annex B, and the amended and restated memorandum and articles of association of Rising Dragon (the “Existing Charter”), which RDAC refers to as the PubCo Charter Proposal or Proposal No. 4. | |
| ● | By ordinary resolution, to approve the members of the directors to serve on the PubCo’s board of directors, each effective from the consummation of the Business Combination, which RDAC refers to as the Director Approval Proposal or Proposal No.5; | |
| ● | By ordinary resolution, to approve the adjournment of the Extraordinary General Meeting in the event Rising Dragon does not receive the requisite shareholder vote to approve any of the above Proposals, which RDAC refers to as the Adjournment Proposal or Proposal No. 6. |
Proposal No. 2 (the Acquisition Merger Proposal) is conditioned upon the approval of Proposal No. 1 (the Reincorporation Merger Proposal) and Proposal No. 3 (the Nasdaq Proposal). Proposal No. 1 (the Reincorporation Merger Proposal), Proposal No. 3 (the Nasdaq Proposal), and Proposal No. 4 (the PubCo Charter Proposal) are dependent upon the approval of Proposal No. 2 (the Acquisition Merger Proposal). It is important for you to note that in the event that either of Proposal No. 1 (the Reincorporation Merger Proposal) and Proposal No. 2 (the Acquisition Merger Proposal) is not approved, then Rising Dragon will not consummate the Business Combination. If Rising Dragon does not consummate the Business Combination and fails to complete an initial business combination by January 15, 2026 (or up to July 15, 2026, if further extended), Rising Dragon will be required to dissolve and liquidate, unless RDAC seeks shareholder approval to amend our Existing Charter to extend the date by which the Business Combination may be consummated.
As of September 11, 2025, the record date, there were 7,499,375 RDAC Ordinary Shares issued and outstanding and entitled to vote. Only Rising Dragon shareholders who hold shares of record as of the close of business on September 11, 2025 are entitled to vote at the Extraordinary General Meeting or any adjournment of the Extraordinary General Meeting. This proxy statement/prospectus is first being mailed to Rising Dragon shareholders on or about September 29, 2025. Approval of each of Proposal No. 1, Proposal No.2 and Proposal No.4 will require the affirmative vote of the holders of no less than two-thirds of the issued and outstanding RDAC Ordinary Shares present and entitled to vote at the Extraordinary General Meeting or any adjournment thereof. Approval of each of Proposal No.3 and Proposal No. 5 will require the affirmative vote of the holders of a simple majority of the issued and outstanding RDAC Ordinary Shares present and entitled to vote at the Extraordinary General Meeting or any adjournment thereof. Assuming that a quorum is present, attending the Extraordinary General Meeting either in person or by proxy and abstaining from voting will have the same effect as voting against the Proposals and failing to instruct your bank, brokerage firm or nominee to attend and vote your shares will have no effect on any of the Proposals.
Whether or not you plan to attend the Extraordinary General Meeting in person, please submit your proxy card without delay to Advantage Proxy not later than the time appointed for the Extraordinary General Meeting or adjourned meeting. Voting by proxy will not prevent you from voting your shares in person if you subsequently choose to attend the Extraordinary General Meeting. If you fail to return your proxy card and do not attend the Extraordinary General Meeting in person, the effect will be that your shares will not be counted for purposes of determining whether a quorum is present at the Extraordinary General Meeting. You may revoke a proxy at any time before it is voted at the Extraordinary General Meeting by executing and returning a proxy card dated later than the previous one, by attending the Extraordinary General Meeting in person and casting your vote by ballot or by submitting a written revocation to Advantage Proxy, that is received by the proxy solicitor before RDAC takes the vote at the Extraordinary General Meeting. If you hold your shares through a bank or brokerage firm, you should follow the instructions of your bank or brokerage firm regarding revocation of proxies.
The Rising Dragon board of directors recommends that you vote “FOR” approval of each of the Proposals.
| By order of the Board of Directors, | |
| /s/Lulu Xing | |
Lulu Xing Chairman of the Board of Rising Dragon Acquisition Corp. |
|
| September 26, 2025 |
TABLE OF CONTENTS
| i |
ABOUT THIS PROXY STATEMENT/PROSPECTUS
This document, which forms part of a registration statement on Form F-4 filed by PubCo (File No. 333-289591) with the SEC, constitutes a prospectus of PubCo under Section 5 of the Securities Act, with respect to the issuance of (i) PubCo Class A Ordinary Shares to Rising Dragon’s securityholders and (ii) PubCo Class A Ordinary Shares and PubCo Class B Ordinary Shares to HZJL’s shareholders, if the Business Combination is consummated. This document also constitutes a notice of meeting and a proxy statement under Section 14(a) of the Exchange Act, with respect to the Extraordinary General Meeting at which Rising Dragon’s shareholders will be asked to consider and vote upon the Proposals.
This proxy statement/prospectus does not constitute an offer to sell, or a solicitation of an offer to buy, any securities, or the solicitation of a proxy, in any jurisdiction to or from any person to whom it is not lawful to make any such offer or solicitation in such jurisdiction.
WHERE YOU CAN FIND MORE INFORMATION
Rising Dragon is subject to the informational requirements of the Exchange Act, and is required to file reports, any proxy statements and other information with the SEC. You can read Rising Dragon’s SEC filings, including this proxy statement/prospectus, over the Internet at the SEC’s website at http://www.sec.gov. If you would like additional copies of this proxy statement/prospectus or if you have questions about the Business Combination or the Proposals to be presented at the Extraordinary General Meeting, you should contact our proxy solicitation agent at the following address and telephone number:
ADVANTAGE PROXY, INC.
P.O. Box 10904
Yakima, WA 98909
Toll Free: (877) 870-8565
Collect: (206) 870-8565
Email: ksmith@advantageproxy.com
None of Rising Dragon, PubCo, Merger Sub or HZJL has authorized anyone to provide you with information that differs from that contained in this proxy statement/prospectus. You should not assume that the information contained in this proxy statement/prospectus is accurate as on any date other than the date of this proxy statement/prospectus, and neither the mailing of this proxy statement/prospectus to Rising Dragon’s shareholders nor the consummation of the Business Combination shall create any implication to the contrary.
This proxy statement/prospectus does not constitute an offer to sell, or a solicitation of an offer to buy, any securities, or the solicitation of a proxy, in any jurisdiction to or from any person to whom it is not lawful to make any such offer or solicitation in such jurisdiction.
HZJL does not have a class of equity securities registered under the Exchange Act and does not file reports or other information with the SEC.
If you are a shareholder of Rising Dragon and would like to request documents, please do so by October 7, 2025, in order to receive them before the Extraordinary General Meeting. If you request any documents from RDAC, RDAC will mail them to you by first class mail, or another equally prompt means.
All information contained in this proxy statement/prospectus relating to Rising Dragon, PubCo and Merger Sub has been supplied by Rising Dragon, and all such information relating to HZJL has been supplied by HZJL. Information provided by either of Rising Dragon or HZJL does not constitute any representation, estimate or projection of the other party.
This document is a proxy statement/prospectus of Rising Dragon for the Extraordinary General Meeting. RDAC has not authorized anyone to give any information or make any representation about the Business Combination, us or HZJL that is different from, or in addition to, that contained in this proxy statement/prospectus. Therefore, if anyone does give you information of this sort, you should not rely on it. The information contained in this proxy statement/prospectus speaks only as of the date of this proxy statement/prospectus unless the information specifically indicates that another date applies.
| 1 |
CAUTIONARY NOTE REGARDING FORWARD-LOOKING STATEMENTS
This proxy statement/prospectus contains forward-looking statements, including statements about the parties’ ability to close the Business Combination, the anticipated benefits of the Business Combination, the financial conditions, results of operations, earnings outlook and prospects of PubCo, Rising Dragon and/or HZJL and may include statements for the period following the consummation of the Business Combination. Forward-looking statements appear in a number of places in this proxy statement/prospectus including, without limitation, in the sections titled “Management’s Discussion and Analysis of Financial Condition and Results of Operations of HZJL,” and “Business of HZJL.” In addition, any statements that refer to projections, forecasts or other characterizations of future events or circumstances, including any underlying assumptions, are forward-looking statements. Forward-looking statements are typically identified by words such as “plan,” “believe,” “expect,” “anticipate,” “intend,” “outlook,” “estimate,” “forecast,” “project,” “continue,” “could,” “may,” “might,” “possible,” “potential,” “predict,” “should,” “would” and other similar words and expressions, but the absence of these words does not mean that a statement is not forward-looking.
The forward-looking statements are based on the current expectations of the management of Rising Dragon and HZJL, as applicable, and are inherently subject to uncertainties and changes in circumstances and their potential effects and speak only as of the date of such statement. There can be no assurance that future developments will be those that have been anticipated. These forward-looking statements involve a number of risks, uncertainties or other assumptions that may cause actual results or performance to be materially different from those expressed or implied by these forward-looking statements. These risks and uncertainties include, but are not limited to, those factors described in “Risk Factors,” those discussed and identified in public filings made with the SEC by Rising Dragon and the following:
| ● | expectations regarding HZJL’s strategies and future financial performance, including HZJL’s future business plans or objectives, prospective performance and opportunities and competitors, revenues, customer acquisition and retention, products and services, pricing, marketing plans, operating expenses, market trends, liquidity, cash flows and uses of cash, capital expenditures, and HZJL’s ability to invest in growth initiatives and pursue acquisition opportunities; | |
| ● | the occurrence of any event, change or other circumstances that could give rise to the termination of the Merger Agreement; | |
| ● | the outcome of any legal proceedings that may be instituted against HZJL, Rising Dragon and others following announcement of the Merger Agreement and transactions contemplated therein; | |
| ● | the inability to complete the Business Combination due to the failure to obtain Rising Dragon or HZJL’s shareholder approval; | |
| the inability of the parties to successfully or timely consummate the Business Combination, including the risk that any required regulatory approvals are not obtained, are delayed or are subject to unanticipated conditions that could adversely affect HZJL or the expected benefits of the Business Combination, if not obtained; | ||
| ● | the risk that the proposed Business Combination disrupts current plans and operations of HZJL as a result of the announcement and consummation of the Business Combination; | |
| ● | the ability to recognize the anticipated benefits of the Business Combination; | |
| ● | unexpected costs related to the proposed Business Combination; | |
| ● | the amount of any redemptions by existing holders of RDAC Ordinary Shares being greater than expected; | |
| ● | the management and board composition of PubCo following the proposed Business Combination; | |
| ● | the ability to list PubCo’s securities on Nasdaq; | |
| ● | limited liquidity and trading of Rising Dragon’s and PubCo’s securities; |
| 2 |
| ● | geopolitical risk and changes in applicable laws or regulations; | |
| ● | the possibility that HZJL, PubCo and/or Rising Dragon may be adversely affected by other economic, business, and/or competitive factors; | |
| ● | operational risk; | |
| ● | litigation and regulatory enforcement risks, including the diversion of management time and attention and the additional costs and demands on HZJL’s resources; | |
| ● | fluctuations in exchange rates between the foreign currencies in which HZJL typically does business and the United States dollar; and | |
| ● | the risks that the consummation of the Business Combination is substantially delayed or does not occur. |
Should one or more of these risks or uncertainties materialize, or should any of the assumptions made by the management of Rising Dragon, HZJL and PubCo prove incorrect, actual results may vary in material respects from those projected in these forward-looking statements.
All subsequent written and oral forward-looking statements concerning the Business Combination or other matters addressed in this proxy statement/prospectus and attributable to HZJL, Rising Dragon, PubCo or any person acting on their behalf are expressly qualified in their entirety by the cautionary statements contained or referred to in this proxy statement/prospectus. Except to the extent required by applicable law or regulation, PubCo, HZJL and Rising Dragon undertake no obligation to update these forward-looking statements to reflect events or circumstances after the date of this proxy statement/prospectus or to reflect the occurrence of unanticipated events.
| 3 |
QUESTIONS AND ANSWERS ABOUT THE BUSINESS COMBINATION AND THE EXTRAORDINARY GENERAL MEETING
| Q: | What is the purpose of this document? |
| A: | Rising Dragon is proposing to consummate the Business Combination. The Business Combination consists of the Reincorporation Merger and the Acquisition Merger, each of which are described in this proxy statement/prospectus. In addition, the Merger Agreement is attached to this proxy statement/prospectus as Annex A, and is incorporated into this proxy statement/prospectus by reference. This proxy statement/prospectus contains important information about the proposed Business Combination and the other matters to be acted upon at the Extraordinary General Meeting. You are encouraged to carefully read this proxy statement/prospectus, including “Risk Factors” and all the annexes hereto. |
| Q: | What is being voted on at the Extraordinary General Meeting? |
| A: | Below are the Proposals that the Rising Dragon’s shareholders are being asked to vote on: |
| ● | Proposal No. 1 - The Reincorporation Merger Proposal to approve the Reincorporation Merger and the Reincorporation Plan of Merger; | |
| ● | Proposal No. 2 - The Acquisition Merger Proposal to approve the Merger Agreement and the Acquisition Merger; | |
| ● | Proposal No. 3 – The Nasdaq Proposal; | |
| ● | Proposal No. 4 – The PubCo Charter Proposal; | |
| Proposal No. 5 – The Director Approval Proposal; | ||
| ● | Proposal No. 6 - The Adjournment Proposal to approve the adjournment of the Extraordinary General Meeting. |
| Q: | What vote is required to approve the Proposals? |
| A: | Approval of each of Proposal No. 1, Proposal No.2 and Proposal No.4 will require the affirmative vote of the holders of no less than two-thirds of the issued and outstanding RDAC Ordinary Shares present and entitled to vote at the Extraordinary General Meeting or any adjournment thereof. Approval of each of Proposal No.3 and Proposal No. 5 will require the affirmative vote of the holders of a simple majority of the issued and outstanding RDAC Ordinary Shares present and entitled to vote at the Extraordinary General Meeting or any adjournment thereof. Abstentions will have the same effect of a vote “AGAINST” the Proposals and failing to instruct your bank, brokerage firm or nominee to attend and vote your shares will have no effect on the vote for any of the Proposals.
The Initial Stockholders and Lucid have agreed to vote their respective shares in favor of each of the Proposals. As a result, 1,691,875 shares held by the Initial Shareholders and 57,500 shares held by the Representative, or approximately 23.33% of the outstanding RDAC Ordinary Shares, would be voted in favor of each of the Proposals. Only 2,000,313 shares held by the RDAC’s public shareholders will need to be present or by proxy to satisfy the quorum requirement for the Extraordinary General Meeting. In addition, assuming only the minimum number of shares to constitute a quorum is present, only 750,417 shares, or approximately 13.05% of the outstanding RDAC Ordinary Shares held by the RDAC’s public shareholders, must vote in favor of the Reincorporation Merger Proposal and Acquisition Merger Proposal for it to be approved. |
| 4 |
| Q: | Are any of the proposals conditioned on one another? |
| A: | Yes. Proposal No. 2 (the Acquisition Merger Proposal) is conditioned upon the approval of Proposal No. 1 (the Reincorporation Merger Proposal) and Proposal No. 3 (the Nasdaq Proposal). Proposal No. 1 (the Reincorporation Merger Proposal), Proposal No. 3 (the Nasdaq Proposal), and Proposal No. 4 (the PubCo Charter Proposal) are dependent upon the approval of Proposal No. 2 (the Acquisition Merger Proposal). It is important for you to note that in the event that either of Proposal No. 1 (the Reincorporation Merger Proposal) and Proposal No. 2 (the Acquisition Merger Proposal) is not approved, Rising Dragon will not consummate the Business Combination. If Rising Dragon does not consummate the Business Combination and fails to complete an initial business combination by January 15, 2026 (or up to July 15, 2026, if further extended), Rising Dragon will be required to dissolve and liquidate, unless RDAC seeks shareholder approval to amend our Existing Charter to extend the date by which the Business Combination may be consummated. Adoption of the Adjournment Proposal is not conditioned upon the adoption of any of the other Proposals. |
| Q: | What will happen in the Business Combination? |
| A: | At the closing of the Reincorporation Merger, Rising Dragon will merge with and into PubCo with PubCo as the surviving publicly traded entity. At the closing of the Acquisition Merger, Merger Sub, a wholly-owned subsidiary of PubCo, will be merged with and into HZJL, with HZJL surviving such merger as the surviving entity. Upon consummation of the Business Combination, HZJL will become a wholly-owned subsidiary of PubCo. In connection with the Business Combination, the cash held in the trust account after giving effect to any redemption of shares by Rising Dragon’s public shareholders will be used to pay certain fees and expenses in connection with the Business Combination, and for working capital and general corporate purposes. A copy of the Merger Agreement is attached to this proxy statement/prospectus as Annex A. |
| Q: | What is the redemption scenario accompanying with the Business Combination? |
| A: | The table below shows the potential impact of redemptions on the pro forma book value per share of the ordinary shares that will be outstanding immediately after the closing of the Business Combination in the following scenarios: (i) no redemptions of RDAC Ordinary Shares, (ii) redemptions of 25% of RDAC Ordinary Shares, (iii) redemptions of 50% of RDAC Ordinary Shares, (iv) redemptions of 75% of RDAC Ordinary Shares, and (v) maximum redemptions of RDAC Ordinary Shares, which assumes the exercise of redemption rights by holders of RDAC Ordinary Shares in respect of 5,750,000 RDAC Ordinary Shares. The values reflected below represent the book value per share immediately after the closing of the Business Combination and are not indicative of the price at which such shares will trade on Nasdaq or any other national exchange. The table also discloses the impact including the impact on the book value per share of each significant source of dilution. |
| No
Redemption Scenario(1) | 25% Redemption Scenario(1) | 50% Redemption Scenario(1) | 75% Redemption Scenario(1) | Max Redemption Scenario(1) | ||||||||||||||||||||||||||||||||||||
| Equity Capitalization Summary | # of Shares | % | # of Shares | % | # of Shares | % | # of Shares | % | # of Shares | % | ||||||||||||||||||||||||||||||
| HZJL Shareholders | 35,000,000 | 53.96 | 35,000,000 | 55.19 | 35,000,000 | 56.47 | 35,000,000 | 57.82 | 35,000,000 | 58.94 | ||||||||||||||||||||||||||||||
| RDAC Public Shareholders | 6,325,000 | 9.76 | 4,887,500 | 7.71 | 3,450,000 | 5.57 | 2,012,500 | 3.32 | 846,313 | 1.43 | ||||||||||||||||||||||||||||||
| RDAC Initial Shareholders | 1,717,312 | 2.65 | 1,717,312 | 2.71 | 1,717,312 | 2.77 | 1,717,312 | 2.83 | 1,717,312 | 2.89 | ||||||||||||||||||||||||||||||
| Others | 1,807,500 | 2.79 | 1,807,500 | 2.85 | 1,807,500 | 2.91 | 1,807,500 | 2.98 | 1,807,500 | 3.05 | ||||||||||||||||||||||||||||||
| Subtotal | 44,849,812 | 69.16 | 43,412,312 | 68.46 | 41,974,812 | 67.72 | 40,537,312 | 66.95 | 39,371,125 | 66.31 | ||||||||||||||||||||||||||||||
| Potential sources of dilution | ||||||||||||||||||||||||||||||||||||||||
| Shares issued as earn out consideration in the Business Combination | 20,000,000 | 30.84 | 20,000,000 | 31.54 | 20,000,000 | 32.28 | 20,000,000 | 33.05 | 20,000,000 | 33.69 | ||||||||||||||||||||||||||||||
| Total Ordinary Shares(1) | 64,849,812 | 100 | 63,412,312 | 100 | 61,974,812 | 100 | 60,537,312 | 100 | 59,371,125 | 100 | ||||||||||||||||||||||||||||||
| Pro forma book value immediately after the closing of the Business Combination | $ | 61,447,962 | $ | 46,865,326 | $ | 32,282,689 | $ | 17,700,053 | $ | 5,894,074 | ||||||||||||||||||||||||||||||
| pro forma book value per share | $ | 1.37 | $ | 1.08 | $ | 0.77 | $ | 0.44 | $ | 0.15 | ||||||||||||||||||||||||||||||
| (1) | The shares held by RDAC Public Shareholders, RDAC Initial Shareholders and Others were comprised of the following: |
| No Redemption Scenario | 25% Redemption Scenario | 50% Redemption Scenario | 75% Redemption Scenario(2) | Max Redemption Scenario | ||||||||||||||||
| RDAC Public Shareholders | ||||||||||||||||||||
| Public share held by RDAC Public Shareholders | 5,750,000 | 4,312,500 | 2,875,000 | 1,437,500 | 271,313 | |||||||||||||||
| Ordinary shares underlying the public rights held by RDAC Public Shareholders | 575,000 | 575,000 | 575,000 | 575,000 | 575,000 | |||||||||||||||
| 6,325,000 | 4,887,500 | 3,450,000 | 2,012,500 | 846,313 | ||||||||||||||||
| RDAC Initial Shareholders | ||||||||||||||||||||
| Shares held by the Sponsor | 1,437,500 | 1,437,500 | 1,437,500 | 1,437,500 | 1,437,500 | |||||||||||||||
| RDAC shares underlying Private Placement Units held by IPO PIPE Shareholders | 254,375 | 254,375 | 254,375 | 254,375 | 254,375 | |||||||||||||||
| RDAC shares to which IPO PIPE Shareholders will be entitled under the Private Rights underlying Private Placement Units | 25,437 | 25,437 | 25,437 | 25,437 | 25,437 | |||||||||||||||
| 1,717,312 | 1,717,312 | 1,717,312 | 1,717,312 | 1,717,312 | ||||||||||||||||
| Others | ||||||||||||||||||||
| Ordinary shares issued to Chain Stone Capital Limited (“CTM”), a financial advisor upon closing of Business Combination | 1,750,000 | 1,750,000 | 1,750,000 | 1,750,000 | 1,750,000 | |||||||||||||||
| RDAC shares held by Lucid | 57,500 | 57,500 | 57,500 | 57,500 | 57,500 | |||||||||||||||
| 1,807,500 | 1,807,500 | 1,807,500 | 1,807,500 | 1,807,500 | ||||||||||||||||
| 5 |
| Q: | What will PubCo’s share structure be following the Business Combination? |
| A: | PubCo will have a dual-class structure, separating all the ordinary shares as Class A ordinary shares and Class B ordinary shares, of which Class B ordinary shares will have super voting power. Each PubCo Class A Ordinary Share shall be entitled to one (1) vote on all matters subject to vote at general meetings of the post-Business Combination company and each PubCo Class B Ordinary Share shall be entitled to ten (10) votes on all matters subject to vote at all general meetings of the post-Business Combination company. Each PubCo Class B Ordinary Share is convertible into one PubCo Class A Ordinary Share at any time by the holder thereof. PubCo Class A Ordinary Shares are not convertible into PubCo Class B Ordinary Shares under any circumstances. Only PubCo Class A Ordinary Shares are tradable on the market immediately after the Business Combination. Immediately after the consummation of the Business Combination, Bin Xiong, Chairman Designate, Director Nominee and Chief Executive Officer Designate of PubCo, through XB B Limited will hold approximately 80.0% (under the no redemption scenario) or approximately 83.1% (under the maximum redemption scenario) of PubCo’s voting power. |
| Q: | What is the consideration being paid to HZJL security holders? |
| A: | The aggregate consideration for the Business Combination is $350,000,000, payable in the form of 35,000,000 newly issued PubCo Ordinary Shares valued at $10.00 per share to HZJL’s shareholders. Additionally, Mr. Bin Xiong, Chief Executive Officer of HZJL will be entitled to receive up to 20,000,000 earn-out shares if the Reincorporation Surviving Corporation and its Subsidiaries, as a group achieves certain revenue requirements for each of the first and second fiscal years following the Closing of the Business Combination. |
| Q: | What are the earn-out shares? |
| A: | Mr. Bin Xiong, the Chief Executive Officer of HZJL, will be entitled to receive earn-out shares as follows: (i) 10,000,000 PubCo Class A Ordinary Shares if the revenue of the Reincorporation Surviving Corporation and its subsidiaries, as a group, equals or exceeds RMB300,000,000 for the fiscal year containing the Closing Date (the “First Record Year”), as reflected on the audited consolidated financial statements of HZJL as of and for the First Record Year filed with the SEC; and (b) 10,000,000 PubCo Class A Ordinary Shares if the revenue of the Reincorporation Surviving Corporation and its subsidiaries, as a group, equals or exceeds RMB600,000,000 for the fiscal year following the First Record Year (the “Second Record Year”), as reflected on the audited consolidated financial statements of HZJL as of and for the Second Record Year filed with the SEC. The maximum number of earn-out shares issuable will be 20,000,000 PubCo Class A Ordinary Shares, valued at approximately $207.60 million, based on the closing price of RDAC Ordinary Shares of $10.38 per share on Nasdaq as of September 5, 2025. |
| Q: | Do any of Rising Dragon’s directors, officers, the Sponsor or HZJL’s officers and directors have interests that may conflict with my interests with respect to the Business Combination? |
| A: | When you consider the recommendation of the Rising Dragon board of directors in favor of adoption of the Acquisition Merger Proposal and the other Proposals, you should keep in mind that Rising Dragon’s directors and officers have interests in the Business Combination that are different from, or in addition to, those of unaffiliated shareholders generally, including the following: |
| ● | If an initial business combination is not completed by January 15, 2026 (or up to July 15, 2026, if further extended), whether with HZJL or with any other entity, Rising Dragon will be required to liquidate. In such event, 1,437,500 RDAC Ordinary Shares held by Rising Dragon’s initial shareholders, which were acquired prior to the IPO for an aggregate purchase price of $25,000, will be worthless. Such RDAC Ordinary Shares had an aggregate market value of approximately $14.92 million based on the closing price of RDAC Ordinary Shares of $10.38 per share on The Nasdaq Capital Market as of September 5, 2025. The Sponsor, Rising Dragon’s officers and directors waived their redemption rights and liquidation rights in connection with the purchase of the founder’s shares and no other consideration was paid for such agreement. | |
| ● | If an initial business combination is not completed by January 15, 2026 (or up to July 15, 2026, if further extended), whether with HZJL or with any other entity, Rising Dragon will be required to liquidate. In such event, 1,437,500 RDAC Ordinary Shares held by the Sponsor, which were acquired prior to the IPO as insider shares, and ordinary shares, and the rights included as part of the 254,375 Private Units purchased by the Sponsor for a total purchase price of $2,543,750, will be worthless. Such ordinary shares had an aggregate market value of approximately $17.83 million based on the closing price of RDAC Ordinary Shares of $10.38 per share on Nasdaq as of September 5, 2025, such rights had an aggregate market value of approximately $40,675 based on the closing price of RDAC Rights of $0.1599 per right on Nasdaq as of September 5, 2025, such private units had an aggregate market value of approximately $2.71 million based on the closing price of RDAC Units of $10.65 per unit on Nasdaq as of September 5, 2025. The Sponsor, Rising Dragon’s officers and directors and their affiliates waived their redemption rights and liquidation rights in connection with the purchase of the insider shares and the private units, and no other consideration was paid for such agreement. |
| 6 |
| The following table sets forth information regarding directors and officers of Rising Dragon and the Sponsor’s beneficial interests in securities of Rising Dragon as at September 17, 2025: |
| Shareholder(1) | Number of RDAC Ordinary Shares | Number of RDAC Units | ||||||
| The Sponsor(2) | 1,437,500 | 254,375 | ||||||
| Lulu Xing(2) | 1,437,500 | 254,375 | ||||||
| Wenyi Shen | 0 | 0 | ||||||
| Kei Tung Yeung | 0 | 0 | ||||||
| Kun-Lin Liu | 0 | 0 | ||||||
| Yucan Zhang | 0 | 0 | ||||||
| Chengming Dou | 0 | 0 | ||||||
| All directors and executive officers (six (6) individuals) as a group | 1,691,875 | 254,375 | ||||||
Notes:
| (1) | Unless otherwise indicated, the business address of each of the individuals or entities is c/o Rising Dragon Acquisition Corporation, No. 604, Yixing Road, Wanbolin District, Taiyuan City, Shanxi Province, People’s Republic of China. | |
| (2) | The Sponsor is the record holder of the insider shares reported herein. It is controlled by Mr. Lulu Xing (the CEO and one of the directors of Rising Dragon). Mr. Lulu Xing has voting and dispositive power over the securities held of record by the Sponsor. |
| ● | The exercise of Rising Dragon’s directors’ and officers’ discretion in agreeing to changes or waivers in the terms of the transaction may result in a conflict of interest when determining whether such changes or waivers are appropriate and in our shareholders’ best interest. | |
| ● | In order to extend Rising Dragon’s time to complete a business combination by up to an additional six months as provided in its Existing Charter, Rising Dragon’s Sponsor or our directors and officers or their designees must deposit $189,750 ($0.033 per share) into the trust account for each one-month extension. If the Business Combination is consummated by the extended deadlines, the amount deposited in the trust account will be repaid. However, if the Business Combination is not consummated by the extended deadline, the amount deposited will not be repaid unless there are funds available outside the trust account to do so and will be included in the liquidation distribution to Rising Dragon’s shareholders. | |
| ● | Aurora Beacon LLC, which is owned by Lulu Xing, a member of Rising Dragon board of directors, will be liable under certain circumstances described herein to ensure that the proceeds in the trust account are not reduced by the claims of target businesses or claims of vendors or other entities that are owed money by Rising Dragon for services rendered or contracted for or products sold to Rising Dragon. If Rising Dragon consummates a business combination, on the other hand, PubCo will be liable for all such claims. | |
| ● | The Sponsor and Rising Dragon’s officers and directors and their affiliates are entitled to reimbursement of reasonable out-of-pocket expenses incurred by them in connection with certain activities on Rising Dragon’s behalf, such as identifying and investigating possible business targets and business combinations. However, if the proposed Business Combination is not completed by January 15, 2026 (or up to July 15, 2026, if further extended), they will not have any claim against the trust account for reimbursement. Accordingly, Rising Dragon may not be able to reimburse these expenses, and the Sponsor and Rising Dragon’s officers and directors and their affiliates will not receive reimbursement for any out-of-pocket expenses incurred by them to the extent that such expenses exceeded the amount of its working capital if the Business Combination or another business combination is not completed within the allotted time period. As of the date of this proxy statement/prospectus, the Sponsor and Rising Dragon’s officers and directors and their affiliates have not had any unpaid reimbursable expenses. |
| 7 |
| ● | The Merger Agreement provides for the continued indemnification of Rising Dragon’s current directors and officers and the continuation of directors and officers liability insurance covering Rising Dragon’s current directors and officers. | |
| ● | Rising Dragon’s officers and directors may make loans from time to time to Rising Dragon to fund certain capital requirements. As of the date of this proxy statement/prospectus, Rising Dragon officers and directors has not made any loans to Rising Dragon. | |
| ● | The Sponsor and its affiliates will benefit from the completion of a business combination and may be incentivized to complete an acquisition of a less favorable target company or on terms less favorable to shareholders rather than liquidate. The Sponsor and its affiliates will own 1,717,312 PubCo Class A Ordinary Shares, representing 3.84% ownership interest in PubCo resulting from the completion of the Business Combination. Such PubCo Ordinary Shares had an aggregate market value of approximately $17.83 million based on the closing price of RDAC Ordinary Shares of $10.38 per share on Nasdaq as of September 5, 2025. | |
| ● | The Sponsor and its affiliates can earn a positive rate of return on their investment, even if other Rising Dragon shareholders experience a negative rate of return in the combined company following the Business Combination. For example, if the share price of the ordinary shares declined to $5.00 per share after the close of the business combination, Rising Dragon’s public shareholders that purchased shares in the initial public offering would have a loss of $5.00 per share, while Rising Dragon’s Sponsor would have a gain of $4.98 per share because it acquired the founder shares for a nominal amount. |
In connection with the Business Combination, there may be any actual or potential material conflict of interest between: on one hand, HZJL’s officers or HZJL’s directors; and, on the other hand, unaffiliated security holders of Rising Dragon. Shareholders should also be aware that interests of HZJL, HZJL officers and directors may be inherently different from the interests of unaffiliated shareholders of Rising Dragon, which could cause them to pursue terms of Business Combination less favorable to non-redeeming shareholders, and they owe no fiduciary duty to Rising Dragon’s shareholders. After Closing, certain HZJL officers and directors will be appointed as officers and directors of PubCo. Furthermore, Rising Dragon intends to use substantially all of the funds held in the trust account to complete the Business Combination, after the payment to holders of RDAC Ordinary Shares exercising redemption rights upon Closing, and any remaining amount will be used for future working capital and other corporate purposes of the combined entity. See “Questions and Answers about the Business Combination and the Extraordinary General Meeting —Q: What happens to the funds deposited in the trust account following the Business Combination” on page 13. In addition, our largest shareholder will be able to exercise a fair amount of the voting rights of our Company immediately after the completion of the Business Combination. The largest shareholder has substantial influence over our business with respect to material matters requiring voting rights, and we cannot assure you that any of our controlling shareholders will act in the best interest of our company should any conflict arise. We may not be able to resolve any potential conflicts, and even if we do so, the resolution may be less favorable to us than if we were dealing with an unaffiliated party. See “Risk Factors - We may have conflicts of interest with our largest shareholder and may not be able to resolve such conflicts on favorable terms for us” on page 66.
| Q: | Who are the Sponsor and Sponsor Affiliate? |
| A: | Aurora Beacon LLC, a Cayman Islands limited liability company, which we refer to in this proxy statement/prospectus as the “Sponsor”, was formed prior to the IPO for the purpose of acting as the sponsor of Rising Dragon. Other than its investment in Rising Dragon and its work on behalf of Rising Dragon, the Sponsor is not engaged in any business. The Sponsor made an initial investment of $25,000 on March 29, 2024 in exchange for the issuance of 1,437,500 ordinary shares of Rising Dragon, or approximately $0.017 per share, which included an aggregate of up to 187,500 ordinary shares subject to forfeiture to the extent that the underwriters’ over-allotment option was not exercised in full. In connection with the closing of the IPO, the Sponsor purchased 254,375 Private Units at a price of $10.00 per unit, for an aggregate purchase price of $2,543,750. The Sponsor is controlled by Mr. Lulu Xing, its manager. Mr. Lulu Xing has 100% economic interest in the ordinary shares and Private Units of Rising Dragon held by the Sponsor. Other than Mr. Lulu Xing, who we refer to in this proxy statement/prospectus as the “Sponsor Affiliate,” no other person has a direct or indirect material interest in the Sponsor4. The Sponsor, controlled by the Sponsor Affiliate, is responsible for funding in connection with the extensions. The Sponsor and Sponsor Affiliate also provide working capital and advance funds used for transaction expenses to Rising Dragon from time to time. The Sponsor Affiliate, Mr. Lulu Xing, serves as Chairman of the Board and his material roles and responsibilities, as provided by the amended and restated memorandum and articles of association, include, calling, adjourning, and chairing an extraordinary meeting, proposing amendments to the organization documents of Rising Dragon, and together with other directors, managing the business of Rising Dragon and delegating such management power to authorized officers. |
| Rising Dragon’s current management and directors have participated in other special purpose acquisition companies, which are summarized in the following table: |
| SPAC Name | IPO Date and Gross Proceeds |
Business Combination Target and Closing Date |
Role of the Rising Dragon Management and Directors | |||
| Hainan Manaslu Acquisition Corp. (HMAC) | IPO Date: August 10, 2022 IPO Proceeds: $69 million |
Able View Global Inc. (August 17, 2023) | RDAC’s Chief Financial Officer, Wenyi Shen served as the chief financial officer of HMAC, and one of the independent directors, Kun-Lin Liu, served as an independent director of HMAC from August 2022 to August 2023. |
| 8 |
| Q: | Did Rising Dragon obtain a fairness opinion prior to entering into the Merger Agreement? |
| A: | Yes, Rising Dragon received a fairness opinion from CHFT Advisory and Appraisal Ltd (“CHFT”), as to the fairness, from a financial point of view to Rising Dragon and Rising Dragon’s stockholders, of the consideration to be paid by Rising Dragon (in the form of PubCo Ordinary Shares) pursuant to the Merger Agreement. CHFT provides comprehensive capital market professional services in property and business valuation and market research consultancy. In selecting CHFT, the Board considered, among other things, the fact that CHFT is a holistic capital market professional services firm, providing comprehensive advice in property and business valuation and has conducted over 300 valuation reports and worked with over 100 listed companies. CHFT is regularly engaged in the valuation and financial assessment of businesses and securities in connection with mergers and acquisitions, recapitalizations, spin-offs, restructurings, securities offerings in both private and public capital markets and valuations for corporate and other purposes .For additional information, please see the section titled “Proposal No. 2 The Acquisition Merger Proposal — Basis for Rising Dragon Board of Directors’ Recommendation — Valuation Analysis and Fairness Opinion.” |
| Q: | When and where is the Extraordinary General Meeting? |
| A: | The Extraordinary General Meeting will take place on October 20, 2025, at 10 a.m., Eastern Time. Rising Dragon will be holding its Extraordinary General Meeting at the offices of Loeb & Loeb LLP, 345 Park Avenue, New York, NY 10154, and virtually via a teleconference using the following dial-in information: |
| Within the U.S. and Canada Toll Free | 1 800-450-7155 (toll-free) | |
| Outside of the U.S. and Canada | +1 857-999-9155 (standard rates apply) | |
| Participant Passcode | 8029046# |
| Q: | Who may vote at the Extraordinary General Meeting? |
| A: | Only holders of record of RDAC Ordinary Shares as of the close of business on September 11, 2025 (the record date) may vote at the Extraordinary General Meeting. As of September 11, 2025, there were 7,499,375 RDAC Ordinary Shares outstanding and entitled to vote. Please see the section titled “The Extraordinary General Meeting — Record Date; Who is Entitled to Vote” for further information. |
| Q: | What is the quorum requirement for the Extraordinary General Meeting? |
| A: | Shareholders representing a majority of the issued and outstanding RDAC Ordinary Shares as of the record date and entitled to vote at the Extraordinary General Meeting must be present in person or represented by proxy in order to hold the Extraordinary General Meeting and conduct business. This is called a quorum. RDAC Ordinary Shares will be counted for purposes of determining if there is a quorum if the shareholder (i) is present and entitled to vote at the meeting, or (ii) has properly submitted a proxy card or voting instructions through a broker, bank or custodian. If a quorum is not present within half an hour from the time appointed for the Extraordinary General Meeting to commence, the Extraordinary General Meeting will be adjourned to the same day in the next week at the same time and place or to such other time and place as the directors may determine. And if at the adjourned meeting a quorum is not present within half an hour from the time appointed for the meeting to commence, the shareholders present shall be a quorum. |
| Q: | How will the Initial Shareholders vote? |
| A: | Rising Dragon’s Initial Shareholders, who as of the record date owned 1,691,875 RDAC Ordinary Shares, or approximately 22.56% of the issued and outstanding RDAC Ordinary Shares, have agreed to vote their respective shares acquired by them prior to the IPO in favor of the Reincorporation Merger Proposal, Acquisition Merger Proposal and other related proposals. |
| Q: | What do I need to do now? |
| A: | RDAC urges you to read carefully and consider the information contained in this proxy statement/prospectus, including the annexes, and consider how the Business Combination will affect you as a Rising Dragon shareholder. You should vote as soon as possible in accordance with the instructions provided in this proxy statement/prospectus and on the enclosed proxy card. |
| 9 |
| Q: | Do I need to attend the Extraordinary General Meeting to vote my shares? |
| A: | No. You are invited to attend the Extraordinary General Meeting to vote on the Proposals described in this proxy statement/prospectus. However, you do not need to attend the Extraordinary General Meeting to vote your RDAC Ordinary Shares. Instead, you may submit your proxy by signing, dating and returning the applicable enclosed proxy card in the pre-addressed postage paid envelope. Your vote is important. Rising Dragon encourages you to vote as soon as possible after carefully reading this proxy statement/prospectus. |
| Q: | Am I required to vote against the Reincorporation Merger and the Acquisition Merger Proposal in order to have my RDAC Ordinary Share redeemed? |
| A: | No. You are not required to vote against the Reincorporation Merger Proposal and the Acquisition Merger Proposal in order to have the right to demand that Rising Dragon redeem your RDAC Ordinary Shares for cash equal to your pro rata share of the aggregate amount then on deposit in the trust account (including interest earned on your pro rata portion of the trust account, net of taxes payable) before payment of deferred underwriting commissions. These redemption rights in respect of the RDAC Ordinary Shares are sometimes referred to herein as “redemption rights.” If the Business Combination is not completed, holders of RDAC Ordinary Shares electing to exercise their redemption rights will not be entitled to receive such payments and their RDAC Ordinary Shares will be returned to them. |
| Q: | After redemptions, how many shares will be outstanding? |
| A: | The following table provides a pro forma summary of the PubCo’s ordinary share that would be outstanding under each of the redemption scenarios if the Business Combination had occurred on December 31, 2024, including the significant source of dilution. |
No Redemption Scenario(1) | 25% Redemption Scenario(1) | 50% Redemption Scenario(1) | 75% Redemption Scenario(1) |
|
|
Max Redemption Scenario(1) | ||||||||||||||||||||||||||||||||||
| Equity Capitalization Summary | # of Shares | % | # of Shares | % | # of Shares | % | # of Shares | % | # of Shares | % | ||||||||||||||||||||||||||||||
| HZJL Shareholders | 35,000,000 | 53.96 | 35,000,000 | 55.19 | 35,000,000 | 56.47 | 35,000,000 | 57.82 | 35,000,000 | 58.94 | ||||||||||||||||||||||||||||||
| RDAC Public Shareholders | 6,325,000 | 9.76 | 4,887,500 | 7.71 | 3,450,000 | 5.57 | 2,012,500 | 3.32 | 846,313 | 1.43 | ||||||||||||||||||||||||||||||
| RDAC Initial Shareholders | 1,717,312 | 2.65 | 1,717,312 | 2.71 | 1,717,312 | 2.77 | 1,717,312 | 2.83 | 1,717,312 | 2.89 | ||||||||||||||||||||||||||||||
| Others | 1,807,500 | 2.79 | 1,807,500 | 2.85 | 1,807,500 | 2.91 | 1,807,500 | 2.98 | 1,807,500 | 3.05 | ||||||||||||||||||||||||||||||
| Subtotal | 44,849,812 | 69.16 | 43,412,312 | 68.46 | 41,974,812 | 67.72 | 40,537,312 | 66.95 | 39,371,125 | 66.31 | ||||||||||||||||||||||||||||||
| Potential sources of dilution | ||||||||||||||||||||||||||||||||||||||||
| Shares issued as earn out consideration in the Business Combination | 20,000,000 | 30.84 | 20,000,000 | 31.54 | 20,000,000 | 32.28 | 20,000,000 | 33.05 | 20,000,000 | 33.69 | ||||||||||||||||||||||||||||||
| Total Ordinary Shares(1) | 64,849,812 | 100 | 63,412,312 | 100 | 61,974,812 | 100 | 60,537,312 | 100 | 59,371,125 | 100 | ||||||||||||||||||||||||||||||
| (1) | The shares held by RDAC Public Shareholders, RDAC Initial Shareholders and Others were comprised of the following: |
| No Redemption Scenario | 25% Redemption Scenario | 50% Redemption Scenario | 75% Redemption Scenario | Max Redemption Scenario | ||||||||||||||||
| RDAC Public Shareholders | ||||||||||||||||||||
| Public share held by RDAC Public Shareholders | 5,750,000 | 4,312,500 | 2,875,000 | 1,437,500 | 271,313 | |||||||||||||||
| Ordinary shares underlying the public rights held by RDAC Public Shareholders | 575,000 | 575,000 | 575,000 | 575,000 | 575,000 | |||||||||||||||
| 6,325,000 | 4,887,500 | 3,450,000 | 2,012,500 | 846,313 | ||||||||||||||||
| RDAC Initial Shareholders | ||||||||||||||||||||
| Shares held by the Sponsor | 1,437,500 | 1,437,500 | 1,437,500 | 1,437,500 | 1,437,500 | |||||||||||||||
| RDAC shares underlying Private Placement Units held by IPO PIPE Shareholders | 254,375 | 254,375 | 254,375 | 254,375 | 254,375 | |||||||||||||||
| RDAC shares to which IPO PIPE Shareholders will be entitled under the Private Rights underlying Private Placement Units | 25,437 | 25,437 | 25,437 | 25,437 | 25,437 | |||||||||||||||
| 1,717,312 | 1,717,312 | 1,717,312 | 1,717,312 | 1,717,312 | ||||||||||||||||
| Others | ||||||||||||||||||||
| Ordinary shares issued to Chain Stone Capital Limited (“CTM”), a financial advisor upon closing of Business Combination | 1,750,000 | 1,750,000 | 1,750,000 | 1,750,000 | 1,750,000 | |||||||||||||||
| RDAC shares held by Lucid | 57,500 | 57,500 | 57,500 | 57,500 | 57,500 | |||||||||||||||
| 1,807,500 | 1,807,500 | 1,807,500 | 1,807,500 | 1,807,500 | ||||||||||||||||
| Q: | How do I exercise my redemption rights? |
| A: | If you are a public shareholder and you seek to have your shares redeemed, you must (i) demand, no later than 5:00 p.m., Eastern Time on October 16, 2025 (two business days before the Extraordinary General Meeting), that Rising Dragon redeem your shares for cash, and (ii) submit your request in writing to Rising Dragon’s transfer agent, at the address listed at the end of this section and deliver your shares to Rising Dragon’s transfer agent (physically, or electronically using the DWAC (Deposit/Withdrawal At Custodian) system) at least two business days prior to the vote at the Extraordinary General Meeting. |
Any corrected or changed written demand of redemption rights must be received by Rising Dragon’s transfer agent two business days prior to the Extraordinary General Meeting. No demand for redemption will be honored unless the holder’s shares have been delivered (either physically or electronically) to the transfer agent at least two business days prior to the vote at the Extraordinary General Meeting.
| 10 |
Public shareholders may seek to have their shares redeemed regardless of whether they vote for or against the Business Combination and whether or not they are holders of RDAC Ordinary Shares as of the record date. Any public shareholder who holds RDAC Ordinary Share on or before October 16, 2025 (two (2) business days before the Extraordinary General Meeting) will have the right to demand that his, her or its shares be redeemed for a pro rata share of the aggregate amount then on deposit in the trust account, less any taxes then due but not yet paid, at the consummation of the Business Combination. If you have questions regarding the certification of your position or delivery of your shares, please contact:
Continental Stock Transfer & Trust Company, LLC
1 State Street, 30th Floor New York, NY 10004
Attn: Mark Zimkind
E-mail: mzimkind@continentalstock.com
| Q: | How can I vote? |
| A: | If you were a holder of record of RDAC Ordinary Shares on September 11, 2025, the record date for the Extraordinary General Meeting, you may vote with respect to the Proposals in person by virtual attendance at the Extraordinary General Meeting, or by submitting a proxy by mail so that it is received prior to 10 a.m. Eastern Time on October 20, 2025, in accordance with the instructions provided to you under the section titled “The Extraordinary General Meeting.” If you hold your shares in “street name,” which means your shares are held of record by a broker, bank or other nominee, your broker or bank or other nominee may provide voting instructions (including any telephone or Internet voting instructions). You should contact your broker, bank or nominee in advance to ensure that votes related to the shares you beneficially own will be properly counted. In this regard, you must provide the record holder of your shares with instructions on how to vote your shares or, if you wish to attend the Extraordinary General Meeting and vote in person by virtual attendance, obtain a proxy from your broker, bank or nominee. |
| Q: | If my shares are held in “street name” by my bank, brokerage firm or nominee, will they automatically vote my shares for me? |
| A: | No. Under Nasdaq rules, your broker, bank or nominee cannot vote your RDAC Ordinary Shares with respect to non-discretionary matters unless you provide instructions on how to vote in accordance with the information and procedures provided to you by your broker, bank or nominee. Rising Dragon believes the Proposals are non-discretionary and, therefore, your broker, bank or nominee cannot vote your RDAC Ordinary Shares without your instruction. Broker non-votes will not be considered present for the purposes of establishing a quorum and will have no effect on the Proposals. If you do not provide instructions with your proxy, your bank, broker or other nominee may submit a proxy card expressly indicating that it is NOT voting your RDAC Ordinary Shares; this indication that a bank, broker or nominee is not voting your RDAC Ordinary Shares is referred to as a “broker non-vote.” Your bank, broker or other nominee can vote your RDAC Ordinary Shares only if you provide instructions on how to vote. You should instruct your broker to vote your RDAC Ordinary Shares in accordance with directions you provide. |
| Q: | What if I abstain from voting or fail to instruct my bank, brokerage firm or nominee? |
| A: | Rising Dragon will count a properly executed proxy marked “ABSTAIN” with respect to a particular Proposal as present for the purposes of determining whether a quorum is present at the Extraordinary General Meeting of Rising Dragon shareholders. For purposes of approval, an abstention on any Proposals will have the same effect as a vote “AGAINST” such Proposal. |
| Q: | What happens if I sell my RDAC Ordinary Shares before the Extraordinary General Meeting? |
| A: | The record date for the Extraordinary General Meeting is earlier than the date of the Extraordinary General Meeting. If you transfer your RDAC Ordinary Shares after the record date, but before the Extraordinary General Meeting, unless the transferee obtains from you a proxy to vote those shares, you would retain your right to vote at the Extraordinary General Meeting, but will transfer ownership of the shares and will not hold an interest in Rising Dragon after the consummation of the Business Combination. |
| 11 |
| Q: | Will I experience dilution as a result of the Business Combination? |
| A: | Prior to the Business Combination, Rising Dragon’s public shareholders who hold shares issued in the IPO own approximately 76.00% of Rising Dragon’s issued and outstanding ordinary shares. After giving effect to the Business Combination and to (i) the issuance of 35,000,000 PubCo Ordinary Shares in the Acquisition Merger, including 22,708,000 PubCo Class A Ordinary Shares and 12,292,000 PubCo Class B Ordinary Shares issued to the current HZJL shareholders; (ii) the issuance of up to 7,499,375 PubCo Class A Ordinary Shares to the Rising Dragon shareholders in connection with the Reincorporation Merger (assuming there are no Rising Dragon shareholders who exercise their redemption rights); (iii) the issuance of 600,437 PubCo Class A Ordinary Shares upon conversion of the RDAC Rights, including private rights; (iv) the issuance of 1,750,000 Class A Ordinary Shares to CTM, a financial advisor engaged by HZJL, upon closing of business combination; and (v) without taking into account the issuance of up to 20,000,000 earn-out shares, Rising Dragon’s current public shareholders will own approximately 14.10% of the issued share capital of PubCo. You may suffer dilution as a result of the redemption after Business Combination. Please refer to page 5 for the detailed redemption table for the source of the dilution and the respective amount. |
The following table summarizes the pro forma ownership of PubCo Ordinary Shares upon Closing of the Business Combination, including PubCo Ordinary Shares underlying Units, and PubCo Ordinary Shares following the Business Combination under (i) a no redemption scenario, (ii) a 25% redemption scenario, (iii) a 50% redemption scenario, (iv) a 75% redemption scenario, and (v) a maximum redemption scenario:
No Redemption Scenario(1) | 25% Redemption Scenario(2) | 50% Redemption Scenario(3) | 75% Redemption Scenario(4) | Max Redemption Scenario(5) | ||||||||||||||||||||||||||||||||||||
| Equity Capitalization Summary | # of Shares | % | # of Shares | % | # of Shares | % | # of Shares | % | # of Shares | % | ||||||||||||||||||||||||||||||
| HZJL Shareholders | 35,000,000 | 78.03 | 35,000,000 | 80.62 | 35,000,000 | 83.38 | 35,000,000 | 86.34 | 35,000,000 | 88.90 | ||||||||||||||||||||||||||||||
| RDAC Public Shareholders | 6,325,000 | 14.10 | 4,887,500 | 11.25 | 3,450,000 | 8.22 | 2,012,500 | 4.97 | 846,313 | 2.15 | ||||||||||||||||||||||||||||||
| RDAC Initial Shareholders | 1,717,312 | 3.84 | 1,717,312 | 3.96 | 1,717,312 | 4.09 | 1,717,312 | 4.24 | 1,717,312 | 4.36 | ||||||||||||||||||||||||||||||
| Others | 1,807,500 | 4.03 | 1,807,500 | 4.17 | 1,807,500 | 4.31 | 1,807,500 | 4.45 | 1,807,500 | 4.59 | ||||||||||||||||||||||||||||||
| Total Ordinary Shares | 44,849,812 | 100 | 43,412,312 | 100 | 41,974,812 | 100 | 40,537,312 | 100 | 39,371,125 | 100 | ||||||||||||||||||||||||||||||
| (1) | Under No Redemption Scenario, assumes redemptions of zero RDAC Ordinary Shares. |
| (2) | Under 25% Redemption Scenario, assumes a 25% redemption of 5,750,000 RDAC Ordinary Shares for aggregate redemption payments of approximately $14.6 million using a per-share redemption price of $10.14. |
| (3) | Under 50% Redemption Scenario, assumes a 50% redemption of 5,750,000 RDAC Ordinary Shares for aggregate redemption payments of approximately $29.2 million using a per-share redemption price of $10.14. |
| (4) | Under 75% Redemption Scenario, assumes a 75% redemption of 5,750,000 RDAC Ordinary Shares for aggregate redemption payments of approximately $43.7 million using a per-share redemption price of $10.14. |
| (5) | Under Max Redemption Scenario, assumes maximum redemption of 5,478,687 RDAC Ordinary Shares for aggregate redemption payments of approximately $55.6 million using a per-share redemption price of $10.14. |
| Q: | Are HZJL’s shareholders required to approve the Acquisition Merger? |
| A: | Yes. The approval by the HZJL’s shareholders of the Acquisition Merger, Merger Agreement and the plan of acquisition merger is required to consummate the Business Combination. Concurrently with the execution of the Merger Agreement, certain HZJL’s shareholders entered into support agreements, pursuant to which each such holder agreed to vote in favor of the Business Combination, subject to the terms of such shareholder support agreements. HZJL’s shareholders are not required to approve the Reincorporation Merger Proposal or the other Proposals. |
| Q: | Is the consummation of the Business Combination subject to any conditions? |
| A: | Yes. The obligations of each of Rising Dragon, HZJL, Merger Sub and PubCo to consummate the Business Combination are subject to conditions, as more fully described in the section titled “Summary of the Proxy Statement/Prospectus — The Business Combination and the Merger Agreement” in this proxy statement/prospectus. |
| 12 |
| Q: | Can I change my vote after I have mailed my proxy card? |
| A: | Yes. You may change your vote at any time before your proxy is voted at the Extraordinary General Meeting. You may revoke your proxy by executing and returning a proxy card dated later than the previous one, or by attending the Extraordinary General Meeting in person by virtual attendance and casting your vote by hand or by ballot (as applicable) or by submitting a written revocation stating that you would like to revoke your proxy that our proxy solicitor receives prior to the Extraordinary General Meeting. If you hold your RDAC Ordinary Shares through a bank, brokerage firm or nominee, you should follow the instructions of your bank, brokerage firm or nominee regarding the revocation of proxies. If you are a record holder, you should send any notice of revocation or your completed new proxy card, as the case may be, to: |
ADVANTAGE
PROXY, INC.
P.O. Box 10904
Yakima, WA 98909
Toll Free: (877) 870-8565
Collect: (206) 870-8565
Email: ksmith@advantageproxy.com
| Q: | Should I send in my share certificates now? |
| A: | Yes. Rising Dragon’s shareholders who intend to have their shares redeemed should send their certificates or tender their shares electronically no later than two business days before the Extraordinary General Meeting. Please see the section titled “The Extraordinary General Meeting — Redemption Rights” for the procedures to be followed if you wish to redeem your ordinary shares for cash. |
| Q: | When is the Business Combination expected to occur? |
| A: | Assuming the requisite shareholder approvals are received, Rising Dragon expects that the Business Combination will occur as soon as practicable following the Extraordinary General Meeting, but only after the registration of the plans of merger by the Registrar of Companies of the Cayman Islands with respect to the Reincorporation Merger and the Acquisition Merger. |
| Q: | Who will manage PubCo? |
| A: | Mr. Bin Xiong, who currently serves as the Chief Executive Officer of HZJL, and Ms. Chun Hui Mao, who currently serves as Finance Director of HZJL, will serve in those respective roles at PubCo following the consummation of the Business Combination. For more information on PubCo’s current and anticipated management, see the section titled “PubCo’s Directors and Executive Officers after the Business Combination” in this proxy statement/prospectus. |
| Q: | What happens if the Business Combination is not consummated? |
| A: | If the Business Combination is not consummated, Rising Dragon may seek another suitable business combination. If Rising Dragon does not consummate a business combination by January 15, 2026 (or up to July 15, 2026, if further extended), whether with HZJL or with any other entity, Rising Dragon’s officers must take all actions necessary in accordance with Cayman Islands laws to dissolve and liquidate Rising Dragon as soon as reasonably practicable. Following dissolution, Rising Dragon will no longer exist as a company. In any liquidation, the funds held in the trust account, plus any interest earned thereon (net of taxes payable), together with any remaining out-of-trust net assets will be distributed pro-rata to holders of RDAC Ordinary Shares who acquired such shares in Rising Dragon’s IPO or in the aftermarket. The estimated consideration that each RDAC Ordinary Share would be paid at liquidation would be approximately $10.44 per share for shareholders based on amounts on deposit in the trust account as of September 11, 2025. The closing price of RDAC Ordinary Shares on Nasdaq as of September 11, 2025 was $10.38. The Sponsor, other initial shareholders and Lucid waived the right to any liquidation distribution with respect to any RDAC Ordinary Shares held by them. |
| Q: | What happens to the funds deposited in the trust account following the Business Combination? |
| A: | Following the closing of the Business Combination, holders of RDAC Ordinary Shares exercising redemption rights will receive their per share redemption price out of the funds in the trust account. The balance of the funds will be released to PubCo to pay expenses incurred in connection with the Business Combination and to fund working capital needs of PubCo. As of September 11, 2025, there was approximately $60,025,519.67 in Rising Dragon’s trust account. Rising Dragon estimates that approximately $10.44 per outstanding share issued in Rising Dragon’s IPO will be paid to the public investors exercising their redemption rights. Any funds remaining in the trust account after such uses will be used for future working capital and other corporate purposes of the combined entity. Rising Dragon intends to use substantially all of the funds held in the trust account to complete the Business Combination, after the payment to holders of RDAC Ordinary Shares exercising redemption rights upon Closing. See “Prospectus Summary - Sources and Uses of Funds for the Business Combination”on page 32. |
| 13 |
| Q: | What are the U.S. federal income tax consequences of exercising my redemption rights? |
| A: | The U.S. federal income tax consequences of exercising redemption rights with respect to our RDAC Ordinary Shares will depend on a holder’s particular facts and circumstances. See “—Material U.S. Federal Income Tax Consequences” for a discussion of material U.S. federal tax consequences of the redemption of our RDAC Ordinary Shares. We urge you to consult your tax advisors regarding the tax consequences of exercising your redemption rights with respect to your RDAC Ordinary Shares.
In the event that a U.S. Holder (as defined below) elects to redeem its RDAC Ordinary Shares for cash, the treatment of the transaction for U.S. federal income tax purposes will depend on whether the redemption qualifies as a sale or exchange of the RDAC Ordinary Shares under Section 302 of the Internal Revenue Code (the “Code”) or is treated as a distribution under Section 301 of the Code and whether RDAC would be characterized as a passive foreign investment company (“PFIC”). If the redemption qualifies as a sale or exchange of the RDAC Ordinary Shares or is treated as a distribution will depend on the facts and circumstances of each particular U.S. Holder at the time such holder exercises his, her, or its redemption rights. If the redemption qualifies as a sale or exchange of the RDAC Ordinary Shares, the U.S. Holder will be treated as recognizing capital gain or loss equal to the difference between the amount realized on the redemption and such U.S. Holder’s adjusted tax basis in the RDAC Ordinary Shares surrendered in such redemption transaction. Any such capital gain or loss generally will be long-term capital gain or loss if the U.S. Holder’s holding period for the RDAC Ordinary Shares redeemed exceeds one year. |
Subject to the PFIC rules, long-term capital gains recognized by non-corporate U.S. Holders will be eligible to be taxed at reduced rates. However, it is unclear whether the redemption rights with respect to the RDAC Ordinary Shares may prevent a U.S. Holder from satisfying the applicable holding period requirements. Long-term capital gains recognized by non-corporate U.S. Holders will be eligible to be taxed at reduced rates. The deductibility of capital losses is subject to limitations. See “Material U.S. Federal Income Tax Consequences — U.S. Federal Income Tax Considerations of Exercising Redemption Rights” and “Material U.S. Federal Income Tax Consequences — Passive Foreign Investment Company Status” for a more detailed discussion of the U.S. federal income tax consequences of a U.S. Holder electing to redeem its RDAC Ordinary Shares for cash, including with respect to RDAC’s potential PFIC status and certain tax implications thereof.
Additionally, because the Reincorporation Merger will occur prior to the redemption by U.S. Holders that exercise redemption rights with respect to RDAC Ordinary Shares, U.S. Holders exercising such redemption rights will be subject to the potential tax consequences of section 367(a) of the Code and the PFIC rules. The tax consequences of the exercise of redemption rights, including pursuant to Section 367(a) of the Code and the PFIC rules, are discussed more fully below under “Material U.S. Federal Income Tax Consequences — Certain U.S. Federal Income Tax Consequences to U.S. Holders of Exercising Redemption Rights.” All holders of RDAC Ordinary Shares considering exercising their redemption rights are urged to consult their tax advisor on the tax consequences to them of an exercise of redemption rights, including the applicability and effect of U.S. federal, state, local and non-U.S. income and other tax laws.
| Q: | Will holders of RDAC Ordinary Shares or RDAC Rights be subject to U.S. federal income tax on the PubCo Ordinary Shares received in the Reincorporation Merger? |
| A: | Subject to the limitations and qualifications described in “U.S. Federal Income Tax Considerations,” including the application of the PFIC rules, the Reincorporation Merger should qualify as a “reorganization” within the meaning of Section 368 of the Code.
The rules under Section 368 of the Code, however, are complex and qualification for such treatment could be adversely affected by events or actions that occur following the Business Combination that are out of RDAC’s control.
Moreover, Section 367(a) of the Code may apply to the Reincorporation Merger if PubCo transfers the assets it acquires from RDAC pursuant to the Reincorporation Merger to certain subsidiary corporations in connection with the Business Combination. Section 367(a) of the Code, and the applicable Treasury regulations promulgated thereunder, would only apply to U.S. Holders who would be treated as a “five-percent transferee shareholder” (within the meaning of Treasury Regulations Section 1.367(a)-3(c)(5)(ii)) of PubCo following the Business Combination (a “5 Percent Holder”) who do not enter into a five-year gain recognition agreement in the form provided in Treasury Regulations Section 1.367(a)-8 (“GRA”), and would cause the Reincorporation Merger to result in gain recognition (but not loss) by such 5 Percent Holders. The requirements under Section 367(a) are not discussed herein There are significant factual and legal uncertainties concerning the determination of whether these requirements will be satisfied and there is limited guidance as to their application, particularly with regard to indirect stock transfers in cross-border reorganizations. |
| 14 |
| If the Reincorporation Merger does not qualify as a “reorganization”, then a U.S. Holder that exchanges its RDAC Ordinary Shares or RDAC Rights for the consideration under the Reincorporation Merger will recognize gain or loss equal to the difference between (i) the fair market value of the PubCo Ordinary Shares received and (ii) the U.S. Holder’s adjusted tax basis in the RDAC Ordinary Shares and RDAC Rights exchanged. For a more detailed discussion of certain U.S. federal income tax consequences of the Reincorporation Merger, see the section titled “U.S. Federal Income Tax Considerations — U.S. Federal Income Tax Consequences of the Reincorporation Merger to U.S. Holders of RDAC Securities” in this proxy statement/prospectus. Holders should consult their own tax advisors to determine the tax consequences to them (including the application and effect of any state, local or other income and other tax laws) of the Reincorporation Merger. | |
| Q: | Will holders of shares in HZJL be subject to U.S. federal income tax on the PubCo Ordinary Shares received in the Acquisition Merger? |
| A: | HZJL does not have any U.S. holders. Given that HZJL is a non-U.S. entity with no U.S. holders, HZJL does not foresee any material U.S. federal income tax consequences of the Business Combination to its pre-merger shareholders. Accordingly, HZJL has excluded discussions on the “U.S. Federal Income Tax Consequences of the Business Combination to U.S. Holders of HZJL shares.” Such discussions are irrelevant to HZJL, as HZJL’s investors are not subject to U.S. federal income taxes. |
| Q: | Who can help answer my questions? |
| A: | If you have questions about the Proposals or if you need additional copies of this proxy statement/prospectus or the enclosed proxy card you should contact Rising Dragon’s proxy solicitor at: |
ADVANTAGE
PROXY, INC.
P.O. Box 10904
Yakima, WA 98909
Toll Free: (877) 870-8565
Collect: (206) 870-8565
Email: ksmith@advantageproxy.com
You may also obtain additional information about Rising Dragon from documents filed with the SEC by following the instructions in the section titled “Where You Can Find More Information.”
| 15 |
DELIVERY OF DOCUMENTS TO RISING DRAGON’S SHAREHOLDERS
Pursuant to the rules of the SEC, Rising Dragon and vendors that it employs to deliver communications to its shareholders are permitted to deliver to two or more shareholders sharing the same address a single copy of this proxy statement/prospectus, unless Rising Dragon has received contrary instructions from one or more of such shareholders. Upon written or oral request, Rising Dragon will deliver a separate copy of this proxy statement/prospectus to any shareholder at a shared address to which a single copy of this proxy statement/prospectus was delivered and who wishes to receive separate copies in the future. Shareholders receiving multiple copies of the proxy statement may likewise request that Rising Dragon deliver single copies of this proxy statement/prospectus in the future. Shareholders may notify Rising Dragon of their requests by calling or writing to Advantage Proxy, Inc., our proxy solicitor at:
ADVANTAGE
PROXY, INC.
P.O. Box 10904
Yakima, WA 98909
Toll Free: (877) 870-8565
Collect: (206) 870-8565
Email: ksmith@advantageproxy.com
SUMMARY OF THE PROXY STATEMENT/PROSPECTUS
This summary highlights selected information from this proxy statement/prospectus but may not contain all of the information that may be important to you. Accordingly, RDAC encourages you to read carefully this entire proxy statement/prospectus, including the Merger Agreement and the Plan of Merger attached as Annex A, and the PubCo’s Memorandum and Articles of Association attached as Annex B. Please read these documents carefully as they are the legal documents that govern the Business Combination and your rights in the Business Combination.
Unless otherwise specified, all share calculations assume no exercise of the redemption rights by Rising Dragon’s shareholders.
The Parties to the Business Combination
Rising Dragon Acquisition Corp.
Rising Dragon is a Cayman Islands exempted company incorporated as a blank check company for the purpose of entering into a merger, share exchange, asset acquisition, share purchase, recapitalization, reorganization or similar business combination with one or more businesses or entities, which RDAC refers to as a “target business.” The business combination will be completed through a two-step process consisting of the Reincorporation Merger (as defined below) and the Acquisition Merger (as defined below). The Reincorporation Merger and the Acquisition Merger are collectively referred to herein as the “Business Combination.”
Rising Dragon granted the underwriters a 45-day option to purchase up to 750,000 additional RDAC Units to cover over-allotments at IPO price, less the underwriting discounts and commissions. On October 10, 2024, the underwriters fully exercised the over-allotment option. On October 15, 2024, Rising Dragon consummated the IPO of 5,750,000 units, at $10.00 per unit, generating gross proceeds of $57,500,000. Simultaneously with the closing of the IPO, Rising Dragon consummated the sale of 254,375 units (the “Private Units”) at a price of $10.00 per unit in a private placement to the Sponsor, generating gross proceeds of $2,543,750. In addition, Rising Dragon granted 57,500 RDAC Ordinary Shares to Lucid at the closing of the IPO.
After deducting the underwriting discounts, offering expenses, and commissions from the IPO and the sale of the Private Units, a total of $57,787,500 was deposited into a trust account established for the benefit of Rising Dragon’s public shareholders, and the remaining proceeds became available to be used to provide for business, legal and accounting due diligence on prospective business combinations and continuing general and administrative expenses.
The Private Units are identical to the units sold in the IPO except with respect to certain registration rights and transfer restrictions. Additionally, the holders of the Private Units have agreed not to transfer, assign or sell any of the Private Units or underlying securities (except in limited circumstances, as described in the registration statement) until 30 days after the completion of RDAC’s initial business combination. The holders were granted certain demand and piggyback registration rights in connection with the purchase of the Private Units.
| 16 |
In accordance with Rising Dragon’s Existing Charter and Prospectus, the amounts held in the trust account may only be used by Rising Dragon upon the consummation of a business combination, except that there can be released to Rising Dragon, from time to time, any interest earned on the funds in the trust account that it may need to pay its tax obligations. The remaining interest earned on the funds in the trust account will not be released until the earlier of the completion of a business combination and Rising Dragon’s liquidation. Rising Dragon will pay the costs of liquidating the trust account from the up to $50,000 of interest earned on the funds held in the trust account that is available to it for liquidation expenses. Rising Dragon executed the Merger Agreement on January 27, 2025, and it must liquidate unless a business combination is consummated by January 15, 2026 (or up to July 15, 2026, if further extended).
If RDAC anticipates that it may not be able to consummate our initial business combination within 15 months, RDAC may extend the period of time to consummate a business combination up to six times, each by an additional one month (for a total of up to 21 months to complete a business combination). Pursuant to the terms of the Existing Charter and the trust agreement entered into between RDAC and Continental Stock Transfer & Trust Company, in order to extend the time available to consummate the initial business combination, the Sponsor or its affiliates or designees, upon five days advance notice prior to the applicable deadline, must deposit into the trust account $189,750 ($0.033 per share) on or prior to the date of the applicable deadline, for each one month extension ($1,138,500 if RDAC extends for the full six months). Any such payments would be made in the form of a loan. Any such loans will be non-interest bearing and payable upon the consummation of the initial business combination. If RDAC completes its initial business combination, RDAC would repay such loaned amounts out of the proceeds of the trust account released to RDAC. If RDAC does not complete a business combination, RDAC will not repay such loans. Furthermore, the letter agreement with RDAC’s initial shareholders contains a provision pursuant to which the Sponsor has agreed to waive its right to be repaid for such loans out of the funds held in the trust account in the event that RDAC does not complete a business combination. The Sponsor and its affiliates or designees are not obligated to fund the trust account to extend the time to complete the initial business combination. RDAC’s shareholders will not be able to vote on or redeem their shares in connection with any such extension.
As of September 11, 2025, RDAC had approximately $19,725.92 of unused net proceeds that were not deposited into the trust account to pay future general and administrative expenses. The net proceeds deposited into the trust account remain on deposit in the trust account earning interest. As of September 11, 2025, there was approximately $60,025,519.67 held in the trust account (including approximately $2,238,018.79 of accrued interest which RDAC can withdraw to pay taxes).
The RDAC Units, RDAC Ordinary Shares, and RDAC Rights are currently listed on the Nasdaq Capital Market under the symbols “RDACU,” “RDAC,” “RDACR,” respectively. Each RDAC Unit consists of one ordinary share and one right to receive one-tenth (1/10th) of one ordinary share upon the consummation of the Business Combination. Rising Dragon’s units commenced trading on Nasdaq on October 11, 2024. Rising Dragon’s ordinary shares and public rights commenced trading separately on Nasdaq on December 2, 2024.
HZJL Cayman Limited
HZJL Cayman Limited is an exempted company incorporated under the laws of the Cayman Islands on March 28, 2024. HZJL is a comprehensive solutions provider dedicated to empowering local life services businesses such as restaurants, coffee shops, beauty salons, convenience stores, and massage centers through innovative social branding, digital software solutions, and supply chain offerings. The company provides an integrated, one-stop solution designed to enhance brand visibility, optimize operational efficiency, and enable scalable growth for business owners.
Xpand Boom Technology Inc.
Xpand Boom Technology Inc., or PubCo, was incorporated under the laws of the Cayman Islands on January 7, 2025 for the purpose of effecting the Business Combination and to serve as the publicly traded parent company of HZJL following the Business Combination.
| 17 |
Xpand Boom Solutions Inc.
Xpand Boom Solutions Inc., or Merger Sub, was incorporated under the laws of the Cayman Islands on January 7, 2025, as a wholly-owned subsidiary of PubCo for the purpose of effecting the Business Combination and to serve as the vehicle for, and to be subsumed by, HZJL pursuant to the Acquisition Merger.
The Business Combination and the Merger Agreement
The Merger Agreement was entered into by and among Rising Dragon, PubCo, Merger Sub, HZJL and certain other parties on January 27, 2025. Pursuant to the terms of the Merger Agreement, the Business Combination will be completed through a two-step process consisting of the Reincorporation Merger and the Acquisition Merger.
The Reincorporation Merger
Rising Dragon will merge with and into PubCo, a Cayman Islands exempted company and wholly owned subsidiary of Rising Dragon. The separate corporate existence of Rising Dragon will cease and PubCo will continue as the surviving company. In connection with the Reincorporation Merger, RDAC’s issued and outstanding units shall separate into its individual components of one ordinary share and one right, and all outstanding RDAC Ordinary Shares and RDAC Rights will cease separate existence and trading. Upon the consummation of the Business Combination, the current equity holdings of the Rising Dragon shareholders shall be exchanged as follows:
| (i) | Each RDAC Ordinary Share, issued and outstanding immediately prior to the effective time of the Reincorporation Merger (other than any redeemed shares), will automatically be cancelled and cease to exist and for each RDAC Ordinary Share, PubCo shall issue to each RDAC shareholder (other than RDAC shareholders who exercise their redemption rights in connection with the Business Combination) one validly issued PubCo Class A Ordinary Share, which, unless explicitly stated herein, shall be fully paid; | |
|
(ii) | The holders of RDAC Rights issued and outstanding immediately prior to the effective time of the Reincorporation Merger will receive one-tenth (1/10th) of one PubCo Class A Ordinary Share in exchange for the cancellation of each RDAC Right; provided, however, that no fractional shares will be issued and all fractional shares will be rounded to the nearest whole share. |
Upon the closing of the Reincorporation Merger, PubCo Ordinary Shares will be reclassified into PubCo Class A Ordinary Shares and PubCo Class B Ordinary Shares, where each PubCo Class A Ordinary Share shall be entitled to one (1) vote on all matters subject to vote at all general meetings of the post-Business Combination company and each PubCo Class B Ordinary Share shall be entitled to ten (10) votes on all matters subject to vote at all general meetings of the post-Business Combination company.
The Acquisition Merger
Upon the closing of the transactions contemplated by the Merger Agreement, Merger Sub, a Cayman Islands exempted company and wholly-owned subsidiary of PubCo, will be merged with and into HZJL, resulting in HZJL being a wholly-owned subsidiary of PubCo.
The aggregate consideration for the Acquisition Merger is $350,000,000, payable in the form of 35,000,000 newly issued PubCo Ordinary Shares (the “Closing Payment Shares”) valued at $10.00 per share to HZJL and its shareholders. At the closing of the Acquisition Merger, the issued and outstanding shares in HZJL held by the former HZJL shareholders will be cancelled and cease to exist, in exchange for the issuance of an aggregate of 22,708,000 PubCo Class A Ordinary Shares and 12,292,000 PubCo Class B Ordinary Shares. At the closing of the Acquisition Merger, the one fully paid share in Merger Sub held by PubCo will become one fully paid share in the surviving company, so that HZJL will become a wholly-owned subsidiary of PubCo.
In addition to the Closing Payment Shares, Mr. Bin Xiong, the Chief Executive Officer of HZJL, will be entitled to receive earn-out shares as follows: (i) 10,000,000 PubCo Class A Ordinary Shares if the revenue of the Reincorporation Surviving Corporation and its subsidiaries, as a group, equals or exceeds RMB300,000,000 for the fiscal year containing the Closing Date (the “First Record Year”), as reflected on the audited consolidated financial statements of HZJL as of and for the First Record Year filed with the SEC; and (ii) 10,000,000 PubCo Class A Ordinary Shares if the revenue of the Reincorporation Surviving Corporation and its subsidiaries, as a group, equals or exceeds RMB600,000,000 for the fiscal year following the First Record Year (the “Second Record Year”), as reflected on the audited consolidated financial statements of HZJL as of and for the Second Record Year filed with the SEC.
| 18 |
Under the Merger Agreement, commencing from the closing of the transactions, certain HZJL shareholders shall be entitled to (i) make a written demand for registration under the Securities Act of all or part of their shares; and (ii) “piggy-back” registration rights with respect to registration statements filed following the consummation of the Business Combination (subject to customary exceptions).
For more information about the Business Combination, please see the sections titled “Proposal No. 1 — The Reincorporation Merger Proposal” and “Proposal No. 2 — The Acquisition Merger Proposal.” A copy of the Merger Agreement and the Plan of Merger is attached to this proxy statement/prospectus as Annex A.
Rising Dragon has not engaged in any material financing transactions since its IPO. Additionally, no material financing transactions are expected to occur in connection with the consummation of the de- Business Combination.
Post-Business Combination Structure and Impact on the Public Float
The following illustrates the ownership structure of PubCo immediately following the Business Combination. The equity interests shown below were calculated based on the assumptions that (i) no Rising Dragon shareholder exercises its redemption rights, (ii) none of the parties below purchase RDAC Ordinary Shares in the open market, and (iii) there are no other issuances of equity by Rising Dragon prior to or in connection with the consummation of the Business Combination.

| (1) | Xpand Boom Technology Inc. was incorporated in the Cayman Islands. | |
| (2) | HZJL Cayman Limited was incorporated in the Cayman Islands. | |
| (3) | JOY A Limited was incorporated in the British Virgin Islands. | |
| (4) | Zhai Dada HK Limited was incorporated in Hong Kong. | |
| (5) | Yangzhou Xiyue Information Technology Co., Ltd. was incorporated in People’s Republic of China. | |
| (6) | Hangzhou Wujie Growth Technology Co., Ltd. was incorporated in People’s Republic of China. | |
| (7) | Hangzhou Zhulin Technology Co. Ltd. was incorporated in People’s Republic of China. | |
| (8) | Hangzhou Yanwei Catering Management Co. Ltd. was incorporated in People’s Republic of China. | |
| (9) | Huzhou Jisheng Culture and Media Co. Ltd. was incorporated in People’s Republic of China. | |
| (10) | Hangzhou Xinzhong Culture and Media Co. Ltd. was incorporated in People’s Republic of China. |
Immediately following the Business Combination, PubCo will be 3.84% owned by Initial Shareholders, 14.10% owned by Rising Dragon Public Shareholders, 4.03% owned by underwriters and financial advisor, and 78.03% owned by HZJL Shareholders. These relative percentages assume that none of Rising Dragon’s existing public shareholders exercise their redemption rights, as discussed herein. If any of Rising Dragon’s existing public shareholders exercise their redemption rights, the anticipated percentage ownership of Rising Dragon’s existing shareholders will be reduced. You should read “Summary of the Proxy Statement/Prospectus — The Business Combination and the Merger Agreement” and “Unaudited Pro Forma Condensed Combined Financial Statements” for further information.
| 19 |
The following table summarizes the pro forma ownership of PubCo Ordinary Shares upon Closing of the Business Combination, including PubCo Ordinary Shares underlying Units, and PubCo Ordinary Shares following the Business Combination under (i) a no redemption scenario, (ii) a 25% redemption scenario, (iii) a 50% redemption scenario, (iv) a 75% redemption scenario, and (v) a maximum redemption scenario:
No Redemption Scenario(1) | 25% Redemption Scenario(2) | 50% Redemption Scenario(3) | 75% Redemption Scenario(4) | Max Redemption Scenario(5) | ||||||||||||||||||||||||||||||||||||
| Equity Capitalization Summary | # of Shares | % | # of Shares | % | # of Shares | % | # of Shares | % | # of Shares | % | ||||||||||||||||||||||||||||||
| HZJL Shareholders | 35,000,000 | 78.03 | 35,000,000 | 80.62 | 35,000,000 | 83.38 | 35,000,000 | 86.34 | 35,000,000 | 88.90 | ||||||||||||||||||||||||||||||
| RDAC Public Shareholders | 6,325,000 | 14.10 | 4,887,500 | 11.25 | 3,450,000 | 8.22 | 2,012,500 | 4.97 | 846,313 | 2.15 | ||||||||||||||||||||||||||||||
| RDAC Initial Shareholders | 1,717,312 | 3.84 | 1,717,312 | 3.96 | 1,717,312 | 4.09 | 1,717,312 | 4.24 | 1,717,312 | 4.36 | ||||||||||||||||||||||||||||||
| Others | 1,807,500 | 4.03 | 1,807,500 | 4.17 | 1,807,500 | 4.31 | 1,807,500 | 4.45 | 1,807,500 | 4.59 | ||||||||||||||||||||||||||||||
| Total Ordinary Shares | 44,849,812 | 100 | 43,412,312 | 100 | 41,974,812 | 100 | 40,537,312 | 100 | 39,371,125 | 100 | ||||||||||||||||||||||||||||||
| (1) | Under No Redemption Scenario, assumes redemptions of zero RDAC Ordinary Shares. |
| (2) | Under 25% Redemption Scenario, assumes a 25% redemption of 5,750,000 RDAC Ordinary Shares for aggregate redemption payments of approximately $14.6 million using a per-share redemption price of $10.14. |
| (3) | Under 50% Redemption Scenario, assumes a 50% redemption of 5,750,000 RDAC Ordinary Shares for aggregate redemption payments of approximately $29.2 million using a per-share redemption price of $10.14. |
| (4) | Under 75% Redemption Scenario, assumes a 75% redemption of 5,750,000 RDAC Ordinary Shares for aggregate redemption payments of approximately $43.7 million using a per-share redemption price of $10.14. |
| (5) | Under Max Redemption Scenario, assumes maximum redemption of 5,478,687 RDAC Ordinary Shares for aggregate redemption payments of approximately $55.6 million using a per-share redemption price of $10.14. |
Dilution
The following table presents the net tangible book value per share at various redemption levels assuming various sources of material probable dilution (but excluding the effects of the Business Combination transaction itself):
Assuming No Redemption | Assuming 25% Redemption | Assuming 50% Redemption | Assuming 75% Redemption | Assuming Maximum Contractual Redemption | ||||||||||||||||
| Estimated issuance price per share | $ | 10.00 | $ | 10.00 | $ | 10.00 | $ | 10.00 | $ | 10.00 | ||||||||||
| Net tangible book value deficit as of June 30, 2025 | $ | 57,747,823 | $ | 57,747,823 | $ | 57,747,823 | $ | 57,747,823 | $ | 57,747,823 | ||||||||||
| Decrease in net tangible book value for payment of offering costs(i) | (1,862,000 | ) | (1,862,000 | ) | (1,862,000 | ) | (1,862,000 | ) | (1,862,000 | ) | ||||||||||
| Decrease in net tangible book value for redemption of public shares | — | (14,884,037 | ) | (29,768,075 | ) | (44,652,112 | ) | (57,300,809 | ) | |||||||||||
| As adjusted net tangible book value | $ | 55,885,823 | $ | 41,001,786 | $ | 26,117,748 | $ | 13,095,711 | $ | (1,414,986 | ) | |||||||||
| Ordinary shares subject to possible redemption as of June 30, 2025 | 5,750,000 | 4,312,500 | 2,875,000 | 1,437,500 | 213,690 | |||||||||||||||
| Ordinary shares not subject to possible redemption as of June 30, 2025 | 1,749,375 | 1,749,375 | 1,749,375 | 1,749,375 | 1,749,375 | |||||||||||||||
| Issuance of ordinary shares to public shareholders for conversion of public rights(ii) | 575,000 | 575,000 | 575,000 | 575,000 | 575,000 | |||||||||||||||
| Issuance of ordinary shares to private shareholders for conversion of private rights(iii) | 25,437 | 25,437 | 25,437 | 25,437 | 25,437 | |||||||||||||||
| As adjusted ordinary shares as of June 30, 2025 | 8,099,812 | 6,662,312 | 5,224,812 | 3,787,312 | 2,563,502 | |||||||||||||||
| As adjusted net tangible book value per share | $ | 6.90 | $ | 6.15 | $ | 5.00 | $ | 2.97 | $ | (0.55 | ) | |||||||||
| Dilution per share to recipients of HZJL Merger Shares | $ | 3.10 | $ | 3.85 | $ | 5.00 | $ | 7.03 | $ | 10.55 | ||||||||||
| Future Company Valuation Necessary for the Non-redeeming Shareholders’ Interest per Common Share to Equal the Original SPAC IPO Price (a) | $ | 448,498,120 | $ | 434,123,120 | $ | 419,748,120 | $ | 405,373,120 | $ | 393,135,020 | ||||||||||
| (a) | The future company valuation necessary for the non-redeeming shareholders’ interest per common share to equal the original SPAC IPO price is calculated at the total amount of (i) as adjusted ordinary shares as of June 30, 2025 under each redemption scenario, (ii) 35,000,000 PubCo Ordinary Shares to be issued to HZJL shareholders and (iii) 1,750,000 PubCo Ordinary Shares to be issued to Chain Stone Capital Limited (“CTM”), a financial advisor upon closing of Business Combination, multiplied by per share price of $10 which equals to RDAC’s initial public offering price per ordinary share. |
| 20 |
| (i) | Represented the estimated offering cost to be paid from July 1, 2025 through the closing of business combination, including (i) estimated cash payments of professional expenses, including legal expenses, audit expenses and other consulting expenses, related to the Business Combination, among which approximately $1.5 million was deducted against additional paid-in capital, and $0.4 million was charged to income statements. |
| (ii) | Represented the issuance of 575,0000 PubCo Class A Ordinary Shares to the public shareholders in conversion of public rights upon closing of business combination. |
| (iii) | Represented the issuance of 25,437 PubCo Class A Ordinary Shares to the private shareholders in conversion of private rights upon closing of business combination. |
| (iv) | Represented the assumptions that (i) no redemption of RDAC Ordinary Shares by public shareholders upon closing of business combination, (ii) redemption of 25% of 5,750,000 RDAC Ordinary Shares by public shareholders upon closing of business combination, (iii) redemption of 50% of 5,750,000 RDAC Ordinary Shares by public shareholders upon closing of business combination, (iv) redemption of 75% of 5,750,000 RDAC Ordinary Shares by public shareholders upon closing of business combination and (v) redemption of 5,536,310 RDAC Ordinary Shares by public shareholders upon closing of business combination. The redemption of 5,536,310 RDAC Ordinary Shares is the maximum amount of RDAC Ordinary Shares which could be redeemed public shareholders so as the cash balance of our initial business is no less than zero and net tangible assets upon consummation of our initial business is no less than $5,000,001. |
Management and Board of Directors Following the Business Combination
Effective as of the closing of the Business Combination, the board of directors of PubCo will consist of five (5) members designated by HZJL, one (1) of whom will be Mr. Bin Xiong, and a majority of the directors will be considered “independent” under Nasdaq’s listing standards. See section titled “PubCo’s Directors and Executive Officers after the Business Combination” for additional information.
Other Documents Relating to the Business Combination
Shareholder Support Agreement
Concurrently with the execution of the Merger Agreement, certain shareholders of HZJL entered into a support agreement, pursuant to which each such shareholder agreed to vote in favor of the business combination, subject to the terms of such shareholder support agreement.
Lock-up Agreements
In connection with the transactions, PubCo shall enter into a lock-up agreement with certain HZJL shareholders with respect to certain lock-up arrangements, which will provide that such HZJL shareholders will not, within six (6) months from the closing of the Business Combination and subject to certain exceptions, offer, sell, contract to sell, pledge or otherwise dispose of, directly or indirectly, any of the ordinary shares issued in connection with the Acquisition Merger, enter into a transaction that would have the same effect, or enter into any swap, hedge or other arrangement that transfers, in whole or in part, any of the economic consequences of ownership of such shares, whether any of these transactions are to be settled by delivery of any such shares, in cash, or otherwise.
Amended and Restated Registration Rights Agreement
In connection with the transactions, PubCo, HZJL, RDAC, certain existing shareholders of RDAC and certain shareholders of HZJL will enter into an amended and restated registration rights agreement (the “Amended and Restated Registration Rights Agreement”) to provide for the registration rights in connection with the PubCo Ordinary Shares received by them in the Acquisition Merger and the Reincorporation Merger.
Redemption Rights
Pursuant to Rising Dragon’s Existing Charter, Rising Dragon’s public shareholders may demand to have their shares redeemed for cash at the applicable redemption price per share equal to the quotient obtained by dividing (i) the aggregate amount on deposit in the trust account as of two business days prior to the consummation of the Business Combination, including interest (net of taxes payable), by (ii) the total number of then-outstanding public shares. As of September 11, 2025, this would have amounted to approximately $10.44 per share.
| 21 |
You will be entitled to receive cash for any public shares to be redeemed only if you:
| (i) | (x) hold public RDAC Ordinary Shares or (y) hold public RDAC Ordinary Shares through RDAC Units and you elect to separate your RDAC Units into the underlying public RDAC Ordinary Shares and public RDAC Rights prior to exercising your redemption rights with respect to the public RDAC Ordinary Shares; and | |
| (ii) | prior to 5:00 p.m., Eastern Time, on October 16, 2025, which is two business days before the Extraordinary General Meeting, (a) submit a written request to the transfer agent that Rising Dragon redeem your public shares for cash; and (b) deliver your public shares to the transfer agent, physically or electronically through DTC. |
Holders of outstanding RDAC Units must separate the underlying RDAC Ordinary Shares and RDAC Rights prior to exercising redemption rights with respect to the RDAC Ordinary Shares. If RDAC Units are registered in a holder’s own name, the holder must deliver the certificate for its RDAC Units to the transfer agent with written instructions to separate the RDAC Units into their individual component parts. This must be completed far enough in advance to permit the mailing of the certificates back to the holder so that the holder may then exercise his, her or its redemption rights upon the separation of the RDAC Ordinary Shares from the RDAC Units.
If a broker, dealer, commercial bank, trust company or other nominee holds RDAC Units for an individual or entity (such individual or entity, the “beneficial owner”), the beneficial owner must instruct such nominee to separate the beneficial owner’s RDAC Units into their individual component parts. The beneficial owner’s nominee must send written instructions by facsimile to the transfer agent. Such written instructions must include the number of RDAC Units to be separated and the nominee holding such RDAC Units. The beneficial owner’s nominee must also initiate electronically, using DTC’s DWAC system, a withdrawal of the relevant RDAC Units and a deposit of an equal number of RDAC Ordinary Shares and RDAC Rights. This must be completed far enough in advance to permit the nominee to exercise the beneficial owner’s redemption rights upon the separation of the RDAC Ordinary Shares from the RDAC Units. While this is typically done electronically the same business day, beneficial owners should allow at least one full business day to accomplish the separation. If beneficial owners fail to cause their RDAC Ordinary Shares to be separated in a timely manner, they will likely not be able to exercise their redemption rights.
Any request for redemption, once made, may be withdrawn at any time up to two business days immediately preceding the Extraordinary General Meeting. Furthermore, if a shareholder delivered his certificate for redemption and subsequently decided prior to the date immediately preceding the Extraordinary General Meeting not to elect redemption, he may simply request that the transfer agent return the certificate (physically or electronically).
If a holder exercises its redemption rights for all of such holder’s public shares, then such holder will be exchanging its public shares for cash and will no longer own shares of the post-Business Combination company other than the rights (which will be converted into shares upon consummation of the Business Combination). Such a holder will be entitled to receive cash for its public shares only if it properly demands redemption and delivers its shares (either physically or electronically) to our Transfer Agent in accordance with the procedures described herein. Please see the section titled “The Extraordinary General Meeting — Redemption Rights” for the procedures to be followed if you wish to redeem your public shares for cash.
A redemption payment will only be made in the event that the proposed Business Combination is consummated. If the proposed Business Combination is not completed for any reason, then public shareholders who exercised their redemption rights would not be entitled to receive the redemption payment. In such case, Rising Dragon will promptly return the share certificates to the public shareholder.
Appraisal Rights
Appraisal rights under the Companies Act (Revised) of the Cayman Islands are not available to Rising Dragon’s shareholders in connection with the proposals to be voted on at the Extraordinary Meeting.
The Proposals
At the Extraordinary General Meeting, the Rising Dragon’s shareholders will be asked to vote on the following:
| ● | Proposal No. 1 – the Reincorporation Merger Proposal; |
| 22 |
| ● | Proposal No. 2 – the Acquisition Merger Proposal; | |
| ● | Proposal No. 3 – the Nasdaq Proposal; | |
| ● | Proposal No. 4 – the PubCo Charter Proposal; | |
| Proposal No. 5 – the Director Approval Proposal; and | ||
| ● | Proposal No. 6 – the Adjournment Proposal. |
Please see the sections titled “The Extraordinary General Meeting” on page 87 for more information on the foregoing Proposals.
Voting Securities, Record Date
As of September 11, 2025, there were 7,499,375 RDAC Ordinary Shares issued and outstanding. Only Rising Dragon’s shareholders who hold RDAC Ordinary Shares of record as of the close of business on September 11, 2025 are entitled to vote at the Extraordinary General Meeting or any adjournment of the Extraordinary General Meeting. Approval of the Proposals will require the affirmative vote of the holders of a majority of the issued and outstanding RDAC Ordinary Shares present and entitled to vote at the Extraordinary General Meeting.
As of September 11, 2025, the Sponsor owned and was entitled to vote 1,691,875 RDAC Ordinary Shares, or approximately 22.56% of Rising Dragon’s outstanding shares. With respect to the Business Combination, Lucid, which owns approximately 0.8% of Rising Dragon’s outstanding shares as of the record date, and the Sponsor and Lucid have agreed to vote its RDAC Ordinary Shares in favor of the Reincorporation Merger Proposal and the Acquisition Merger Proposal, and intends to vote for the other Proposals although there is no agreement in place with respect to voting on the other Proposals.
Anticipated Accounting Treatment
The Business Combination will be accounted for as a “reverse recapitalization” in accordance with U.S. GAAP. Under this method of accounting, RDAC will be treated as the “acquired” company for financial reporting purposes. Accordingly, for accounting purposes, the Business Combination will be treated as the equivalent of HZJL issuing shares for the net assets of RDAC, accompanied by a recapitalization. The net assets of RDAC will be stated at fair value which approximates historical costs as RDAC has only cash and short-term liabilities. No goodwill or other intangible assets relating to the Business Combination will be recorded. Operations prior to the business combination will be those of HZJL. This determination was primarily based on the holders of HZJL expecting to have a majority of the voting power of the post-combination company, HZJL designating all members of the Board of Directors of the post-combination company, HZJL senior management comprising all of the senior management of the post-combination company, the relative size of HZJL compared to RDAC, and HZJL operations comprising the ongoing operations of the post-combination company. The net assets of RDAC will be stated at historical cost, with no goodwill or other intangible assets recorded. Operations prior to the Business Combination will be those of HZJL.
Cash Transfers among HZJL and its Subsidiaries
In the reporting periods presented in this proxy statement/prospectus, (1) no cash transfers have occurred between our holding company and its subsidiaries, (2) no dividends nor distributions have been made by the subsidiaries to our holding company, and (3) our holding company has not paid any dividends nor made any distributions to U.S. investors. For further details, please refer to “Selected Historical Consolidated Financial and Operating Data of HZJL”, and the consolidated financial statements included elsewhere in this proxy statement /prospectus. In addition, HZJL currently does not have a plan to declare dividends to its shareholders in the foreseeable future.
| 23 |
Within our direct holding structure, the cross-border transfer of funds within our corporate group is legal and compliant with the current laws and regulations of the PRC. After any non-PRC based investors’ funds enter HZJL through HZJL’s securities offerings outside of China, the funds can be directly transferred to HK Subsidiary, and then transferred to subordinate operating entities through the WFOE in accordance with relevant laws and regulations of the PRC. If HZJL intends to distribute dividends, HZJL will transfer the funds to HK Subsidiary from WFOE in accordance with the laws and regulations of the PRC, and then HK Subsidiary will transfer the dividends to HZJL, and the dividends will be distributed from HZJL to all shareholders respectively in proportion to the shares they hold, regardless of whether the shareholders are U.S. investors or investors in other countries or regions. In terms of the cash transfers among HZJL and its subsidiaries, subject to the amounts of cash transfers and the nature of the use of funds, requisite internal approval shall be obtained prior to each cash transfer. Specifically, all transactions require the approvals of the financial controllers of the entities involved. As for an internal cash transfer exceeding RMB10,000,000 (approximately $1.5 million), the general manager is also required to review and approve. There are no other cash management policies.
There are limitations on our ability to transfer cash between the holding company and our subsidiaries, and there is no assurance that China’s government will not intervene or impose restrictions on the ability of us and our subsidiaries to transfer cash. Most of our cash is in RMB, and the PRC government could prevent the cash maintained from leaving the PRC, could restrict deployment of the cash into our and our subsidiaries’ business and restrict the ability to pay dividends and the funds may not be available to fund operations or for other use outside of the PRC/Hong Kong due to interventions. As a holding company, our ability to distribute dividends largely depends on our PRC Operating Entities dividend distribution. Under PRC laws and regulations, the PRC Operating Entities may pay dividends only out of their accumulated profits as determined in accordance with PRC accounting standards and regulations. The PRC Operating Entities are required to set aside at least 10% of their after-tax profits each year, if any, to fund a statutory reserve until such reserve reaches 50% of its registered capital. Each of such entity in China is also required to further set aside a portion of its after-tax profits to fund the employee welfare fund, although the amount to be set aside, if any, is determined at the discretion of its board of directors. Although the statutory reserves can be used, among other ways, to increase the registered capital and eliminate future losses in excess of retained earnings of the respective companies, the reserve funds are not distributable as cash dividends except in the event of liquidation. In addition, PRC Operating Entities cannot distribute dividends until previous years’ loss has been offset. In addition, any funds that HZJL transfers to the PRC Operating Entities, either as a shareholder loan or as an increase in registered capital, are subject to approval by or registration with relevant governmental authorities in China. According to the relevant PRC regulations on foreign invested enterprises in China, capital contributions to our PRC Operating Entities are subject to the registration with the State Administration for Market Regulation or its local counterpart and registration with a local bank authorized by SAFE. In addition, (i) any foreign loan procured by our PRC Operating Entities is required to be registered with the SAFE or its local branches and (ii) any of our PRC Operating Entities may not procure loans which exceed the difference between its total investment amount and registered capital or, as an alternative, only procure loans subject to the calculation approach and limitation as provided by the People’s Bank of China. Additionally, any medium or long-term loans to be provided by us to the PRC Operating Entities must be registered with the National Development and Reform Commission and SAFE or its local branches. HZJL may not be able to obtain these government approvals or complete such registrations in a timely manner, or at all, with respect to future capital contributions or loans by us to our PRC Operating Entities. If HZJL fails to receive such approvals or complete such registration or filing, our ability to use the proceeds of future offerings to capitalize our PRC operations may be negatively affected, which could adversely affect our liquidity and our ability to fund and expand our business.
Regulatory Approvals
The Reincorporation Merger, the Acquisition Merger and the other transactions contemplated by the Merger Agreement are not subject to any additional U.S. federal or state regulatory requirements or approvals, or any regulatory requirements or approvals under the laws of the Cayman Islands, except for the registration by the Registrar of Companies in the Cayman Islands of the plans of merger. HZJL filed the requisite documents to the CSRC in accordance with the Trial Measures in connection with the proposed business combination on April 3, 2025. Following the initial submission, HZJL engaged in multiple communications with the CSRC and submitted supplemental materials on a rolling basis as requested. In August 2025, subsequent to the public filing of the Form F-4 with the SEC, of which this proxy statement/prospectus forms a part, the CSRC publicly released its first round written comments regarding the proposed business combination transaction, consistent with its standard procedures. As of the date of this proxy statement/prospectus, HZJL has completed its responses to such comments, and the CSRC’s review of HZJL’s responses remains ongoing.
| 24 |
Recently, the General Office of the Central Committee of the Communist Party of China and the General Office of the State Council jointly issued the Opinions on Severe and Lawful Crackdown on Illegal Securities Activities, which were made available to the public on July 6, 2021. These opinions emphasized the need to strengthen the administration over illegal securities activities and the supervision on overseas listings by China-based companies. These opinions proposed to take effective measures, such as promoting the construction of relevant regulatory systems, to deal with the risks and incidents facing China-based overseas-listed companies and the demand for cybersecurity and data privacy protection. Moreover, On December 28, 2021, thirteen PRC regulatory agencies, namely, the CAC, the NDRC, the Ministry of Industry and Information Technology (“MIIT”), the Ministry of Public Security, the Ministry of State Security, the Ministry of Finance, MOFCOM, China State Administration for Market Regulation (“SAMR”), the CSRC, the People’s Bank of China, the National Radio and Television Administration, National Administration of State Secrets Protection Network Data Security, and the National Cryptography Administration, jointly adopted and published the Measures for Cybersecurity Review (2021), which became effective on February 15, 2022. The Measures for Cybersecurity Review (2021) required that, among others, in addition to “operator of critical information infrastructure” any “operator of network platform” holding personal information of more than one million users which seeks to list in a foreign stock exchange should also be subject to cybersecurity review. HZJL and its PRC Operating Entities do not expect to be subject to the cybersecurity review by the CAC for this transaction, given that: data processed in our business does not have a bearing on national security and thus may not be classified as core or important data by the authorities using our products and services through the utilization of the end users of our institution clients. We, however, may access and temporarily possess certain personal information from end users in our business operations. As these official opinions were recently issued, guidance and interpretation of the opinions remain unclear at this time. HZJL and its PRC Operating Entities cannot assure you that HZJL and its PRC Operating Entities will remain fully compliant with all new regulatory requirements of these opinions or any future implementation rules on a timely basis, or at all and any failure to comply with applicable laws and obligations could have a material and adverse effect on our business, our listing on Nasdaq, our financial condition, our results of operations, and the Business Combination.
On December 24, 2021, the CSRC published the Provisions of the State Council on the Administration of Overseas Securities Offering and Listing by Domestic Companies (Draft for Comment) (the “Draft Provisions”), and the Administrative Measures for the Filing of Overseas Securities Offering and Listing by Domestic Companies (Draft for Comment) (the “Draft Measures”, collectively with the Draft Provisions, the “Draft Rules”) for public comments. The Draft Rules lay out specific filing requirements for overseas listing and offering by PRC domestic companies and include unified regulation management and strengthening regulatory coordination.
On February 17, 2023, the CSRC promulgated the Trial Administrative Measures of Overseas Securities Offering and Listing by Domestic Companies (the “Trial Measures”), which will take effect on March 31, 2023. The Trial Measures superseded the Draft Rules and clarified and emphasized several aspects, which include but are not limited to: (1) comprehensive determination of the “indirect overseas offering and listing by PRC domestic companies” in compliance with the principle of “substance over form” and particularly, an issuer will be required to go through the filing procedures under the Trial Measures if the following criteria are met at the same time: a) 50% or more of the issuer’s operating revenue, total profit, total assets or net assets as documented in its audited consolidated financial statements for the most recent accounting year is accounted for by PRC domestic companies, and b) the main parts of the issuer’s business activities are conducted in mainland China, or its main places of business are located in mainland China, or the senior managers in charge of its business operation and management are mostly Chinese citizens or domiciled in mainland China; (2) exemptions from immediate filing requirements for issuers that a) have already been listed or registered but not yet listed in foreign securities markets, including U.S. markets, prior to the effective date of the Trial Measures, and b) are not required to re-perform the regulatory procedures with the relevant overseas regulatory authority or the overseas stock exchange, and c) whose such overseas securities offering or listing shall be completed before September 30, 2023, provided however that such issuers shall carry out filing procedures as required if they conduct refinancing or are involved in other circumstances that require filing with the CSRC; (3) a negative list (the “Trial Measures Negative List”) of types of issuers banned from listing or offering overseas, including but not limited to (a) issuers whose listing or offering overseas have been recognized by the State Council of the PRC as possible threats to national security, (b) issuers whose affiliates have been recently convicted of bribery and corruption, (c) issuers under ongoing criminal investigations, and (d) issuers under major disputes regarding equity ownership; (4) issuers’ compliance with web security, data security, and other national security laws and regulations; and (5) issuers’ filing and reporting obligations (the “Trial Measures Filing Obligations”), such as obligation to file with the CSRC after it submits an application for initial public offering to overseas regulators, and obligation after offering or listing overseas to report to the CSRC material events including change of control or voluntary or forced delisting of the issuer.
| 25 |
The Trial Measures provide the CSRC with power to warn, fine, and issue injunctions against both PRC domestic companies, their controlling shareholders, and their advisors in listing or offering securities (collectively, the “Subject Entities”), as well as individuals directly responsible for these Subject Entities (the “Subject Individuals”). For failure to comply with the Trial Measures Negative List or the Trial Measures Filing Obligations, or materially false or misleading statements in the filing and reporting required by the Trial Measures: (1) PRC domestic companies, and their controlling shareholders if the controlling shareholders induced the PRC domestic companies’ failure to comply, severally, may face warnings, injunctions to comply, and fines between RMB 1 million and 10 million (approximately $145,647 and $1,456,473); the Subject Individuals in these entities may severally, face warnings and fines between RMB 0.5 million and 5 million (approximately $72,824 and $728,237); (2) Advisors in listing or offering securities that failed to dutifully advise the PRC domestic companies and their controlling shareholders in complying with the Trial Measures and caused such failures to comply can face warnings and fines between RMB 0.5 million and 5 million (approximately $72,824 and $728,237); (3) the Subject Individuals in these advisor entities may, severally, face warnings and fines between RMB 0.2 million and 2 million (approximately $29,129 and $291,295).
As a China-based issuer, HZJL believes, as advised by its PRC Legal Counsel, that HZJL and its PRC Operating Entities will be required to comply with the filing requirements or procedures set forth in Trial Measures. There is no assurance that HZJL will be able to meet all applicable filing requirements and guidelines of the CSRC, or comply with all applicable regulations at all times. Any failure to obtain or delay in obtaining such approval, filing or completing such procedures for this listing, or a rescission of any such approval or filing obtained by HZJL, would subject HZJL, as well as HZJL’s controlling shareholders and advisors in listing and offering securities, if they caused HZJL’s failure, to sanctions by the CSRC or other PRC regulatory authorities as described above. We will not complete the transaction contemplated by the Merger Agreement until we have received clearance to list from the CSRC.
We cannot assure you that we will be able to get the clearance of filing procedures under the Trial Measures on a timely basis, or at all. Any failure of us to fully comply with new regulatory requirements may significantly limit or completely hinder our ability to continue to offer our ordinary shares, cause significant disruption to our business operations, and severely damage our reputation, which could materially and adversely affect our financial condition and results of operations. Lastly, any actions by the Chinese government to exert more oversight and control over transaction that are conducted overseas could significantly limit or completely hinder our ability to complete our Business Combination, cause our securities to be delisted from the Nasdaq Capital Market even after listing, and cause the value of such securities to significantly decline or be worthless.
On February 24, 2023, the CSRC, the Ministry of Finance, the National Administration of State Secrets Protection and the National Archives Administration jointly issued the Provisions on Strengthening Confidentiality and Archives Administration of Overseas Securities Offering and Listing by Domestic Companies (the “Confidentiality and Archives Provisions”), which took effect on March 31, 2023. The Confidentiality and Archives Provisions specify that during the overseas securities offering and listing activities of domestic companies, domestic companies and securities companies and securities service institutions that provide relevant securities business shall, by strictly abiding by the relevant laws and regulations of the PRC and the Confidentiality and Archives Provisions, institute a sound confidentiality and archives administration systems, take necessary measures to fulfill confidentiality and archives administration obligations, and shall not divulge any national secrets, work secrets of governmental agencies and harm national and public interests. The Confidentiality and Archives Provisions provide that they are applicable to initial public offerings as well as other types of securities listing of PRC domestic enterprises, including de-SPAC transactions such as HZJL’s Business Combination, and any future issuance of securities and listing activities after the initial listing. Working papers generated in the PRC by securities companies and securities service providers that provide relevant securities services for overseas issuance and listing of securities by domestic companies shall be kept in the PRC. The Confidentiality and Archives Provisions provide no explicit definition of working papers. In practice, the securities companies’ working papers usually refer to various important information and work records related to the securities business obtained and prepared by the securities companies and securities service providers and their representatives in the whole process of the securities businesses, such as due diligence work. Without the approval of relevant competent authorities, such as CSRC, MOF PRC National Administration of State Secrets Protection, and National Archives Administration of China, depending on the nature and transmission method of secrets, it shall not be transferred overseas. Where documents or materials need to be transferred outside of the PRC, it shall be subject to the approval procedures in accordance with relevant PRC regulations. The relevant competent authorities, such as, CSRC, MOF, PRC National Administration of State Secrets Protection, and National Archives Administration of China will regulate, supervise and inspect pursuant to their respective statutory mandates over matters of Confidentiality and Archives Administration concerning overseas offerings and listings by domestic companies. As the Confidentiality and Archives Provisions were recently promulgated, there is substantial uncertainty regarding their specific requirements. If we fail to comply with related laws and regulation, we may be subject to fine, confiscation, blocking transmission or criminal offense. We have taken measures to adopt management systems for the compliance of the Confidentiality and Archives Provisions. We believe that our listing does not involve national secrets, work secrets of governmental agencies that undermine national and public interests. There is no assurance that we will be able to meet all applicable regulatory requirements and guidelines, or comply with all applicable regulations at all times, or that we will not be subject to fines or other penalties in the future as a result of regulatory inspections.
| 26 |
We have been closely monitoring regulatory developments in China regarding (i) greater oversight by the CAC over cyber security, data security and data privacy, and (ii) any necessary permissions or approvals from the CSRC, the CAC, or other PRC regulatory authorities required for overseas listings, including the Business Combination. HZJL’s PRC Legal Counsel has advised HZJL that, based on its understanding of the current PRC laws and regulations, as of the date of this proxy statement/prospectus, besides the obligation to file with the CSRC after it submits an application for initial public offering to overseas regulators, and obligation after offering or listing overseas to report to the CSRC material events including change of control or voluntary or forced delisting of the issuer, none of HZJL, any of the HZJL’s subsidiaries or the PubCo received from the CAC, CSRC or other PRC governmental authorities any inquiry, notice, warning or sanctions on or requirement on obtaining any regulatory permission or approval for this Business Combination and the listing and trading of the PubCo Class A Ordinary Shares or PubCo Warrants on Nasdaq. However, HZJL’s PRC Legal Counsel has further advised HZJL that there remains significant uncertainty as to the enactment, interpretation and implementation of regulatory requirements related to overseas securities offering and other capital markets activities. If it is determined in the future that the permission or approval of the CSRC, the CAC or other PRC regulatory agencies were required for the Business Combination, HZJL may face sanctions by the CSRC, the CAC or other PRC regulatory agencies. For risks relating to the oversight of the CAC, see “Risk Factors —Risks Related to HZJL’s Business and Industry — Recent regulation by the Cyberspace Administration of China (“CAC”) over data security, particularly for companies seeking to list on a foreign exchange, could adversely impact our PRC subsidiaries’ business and our offering.” For further details and for risks related to regulatory permissions or approvals on overseas listings, see “Risk Factors — Risks Related to Doing Business in China — The approval of and filing with the CSRC or other PRC government authorities may be required in connection with this Business Combination under PRC law, and, if so required, we cannot predict whether or when we will be able to obtain such approval or complete such filing, and even if we obtain such approval, this Business Combination also needs to be completed within the validity period of such approval.”
HZJL, through its PRC Operating Entities, operates in the local life services sector in China. Our PRC Operating Entities currently have obtained all requisite business permissions and approvals applicable to every company from PRC governmental authorities, including business licenses and insurance intermediary licenses.
The following table lists the permissions and approvals obtained by the PRC Operating Entities for their business operations in mainland China as of the date of this proxy statement/prospectus:
| Company | License/Permission | Issuing Authority | Validity | |||
| Hangzhou Zhulin Technology Co., Ltd. | Food Operation Permit | Administration for Market Regulation of Linping District, Hangzhou City | From January 13, 2022 to July 6, 2026 | |||
| Hangzhou Zhulin Technology Co., Ltd. | Telecommunications Business License (Category II Value-Added Telecommunications Services: Electronic Data Interchange) | Ministry of Industry and Information Technology | From March 24, 2023 to March 23, 2028 |
As of the date of this proxy statement/prospectus, we have been advised by our PRC Legal Counsel, Han Kun Law Offices, that our PRC subsidiaries have obtained all licenses and approvals explicitly required and necessary for our operations in China. HZJL’s counsel as to Cayman Islands law has also advised that HZJL does not require any approvals from any Cayman authority. However, if any of the PRC Operating Entities were denied permissions or approvals from Chinese authorities to list on a U.S. exchange, the PRC Operating Entities will not be able to continue listing on a U.S. exchange, which could materially affect the interest of the investors. It is uncertain when and whether HZJL will be able to obtain permissions or approvals from the PRC government to list on a U.S. exchange, and even when such permission or approval is obtained, whether it will be denied or rescinded. As of the date of this prospectus, HZJL and its PRC Operating Entities have not been denied any permissions or approvals that they are required to obtain from Chinese authorities to operate their business. Our operations could be adversely affected, directly or indirectly, by existing or future laws and regulations relating to its business or industry. See “Risk Factors – Risks Related to Doing Business in China - The approval of and filing with the CSRC or other PRC government authorities may be required in connection with this Business Combination under PRC law, and, if so required, we cannot predict whether or when we will be able to obtain such approval or complete such filing, and even if we obtain such approval, this Business Combination also needs to be completed within the validity period of such approval.”
| 27 |
The Measures for Cybersecurity Review (2021), effective on February 15, 2022, authorized the relevant government authorities to conduct cybersecurity review on a range of activities that affect or may affect national security, and required that, among others, in addition to “operators of critical information infrastructure,” any “operator of network platform” holding personal information of more than one million users which seeks to list in a foreign stock exchange also be subjected to cybersecurity review. The Measures for Cybersecurity Review (2021) further elaborated the factors to be considered when assessing the national security risks of the relevant activities, including, among others, (i) the risks of core data, important data or a large amount of personal information being stolen, leaked, destroyed, and illegally used or exiting the country; (ii) the risks of critical information infrastructure, core data, important data or a large amount of personal information being affected, controlled, or maliciously used by foreign governments if such information is made public; and (iii) the risks of network information security. The cybersecurity review will also look into the potential national security risks from overseas IPOs. If the draft Regulations on Network Data Security are adopted into law and we become listed on Nasdaq, our PRC Operating Entities likely will be required to perform annual data security assessments either by themselves or retain a third-party data security service provider and submit such data security assessment reports to the local agency if we provide personal information overseas or are treated as data processors for important data as defined by the Draft Regulations on Network Data Security applying to the data processing activities by the utilization of networks, as well as the supervision and administration of cybersecurity in PRC. However, if we and our PRC Operating Entities (i) do not receive or maintain such permissions or approvals; (ii) inadvertently conclude that such permissions or approvals are not required; or (iii) applicable laws, regulations, or interpretations change and we are required to obtain such permissions or approvals, we may have to spend great efforts and expenses to obtain such clearance, otherwise it may materially and adversely affect our business, operating results, financial condition and the value of our ordinary shares, significantly limit or completely hinder our ability to offer or continue to offer securities to investors, or cause such securities to significantly decline in value or become worthless. See “Risk Factors - Recent regulation by the Cyberspace Administration of China (“CAC”) over data security, particularly for companies seeking to list on a foreign exchange, could adversely impact our PRC subsidiaries’ business and our offering.”
Auditor’s Regulation
On May 20, 2020, the U.S. Senate passed the Holding Foreign Companies Accountable Act requiring a foreign company to certify it is not owned or controlled by a foreign government if the PCAOB is unable to audit specified reports because the company uses a foreign auditor not subject to PCAOB inspection. If the PCAOB is unable to inspect the company’s auditors for two consecutive years, the issuer’s securities are prohibited from trading on a national securities exchange or in the over-the-counter trading market in the U.S. On December 2, 2020, the U.S. House of Representatives approved the Holding Foreign Companies Accountable Act. On December 18, 2020, the Holding Foreign Companies Accountable Act was signed into law. On December 29, 2022, the Accelerating Holding Foreign Companies Accountable Act was signed into law, which decreased the number of consecutive “non-inspection years” from three years to two.
On December 16, 2021, PCAOB announced the PCAOB Holding Foreign Companies Accountable Act determinations (the “2021 PCAOB Determinations”) relating to the PCAOB’s inability to inspect or investigate completely registered public accounting firms headquartered in mainland China of the PRC or Hong Kong, a Special Administrative Region and dependency of the PRC, because of a position taken by one or more authorities in the PRC or Hong Kong. The lack of access to the PCAOB inspection in China prevents the PCAOB from fully evaluating audits and quality control procedures of the auditors based in China. As a result, the investors may be deprived of the benefits of such PCAOB inspections. The inability of the PCAOB to conduct inspections of auditors in China makes it more difficult to evaluate the effectiveness of these accounting firms’ audit procedures or quality control procedures as compared to auditors outside of China that are subject to the PCAOB inspections, which could cause existing and potential investors in our stock to lose confidence in our audit procedures and reported financial information and the quality of our financial statements.
HZJL’s auditor, Enrome LLP (“Enrome”), the independent registered public accounting firm that issues the audit report included elsewhere in this prospectus, as an auditor of companies that are traded publicly in the United States and a firm registered with the PCAOB, is subject to laws in the United States pursuant to which the PCAOB conducts regular inspections to assess our auditor’s compliance with the applicable professional standards. HZJL’s auditor is headquartered in Singapore, and is subject to inspection by the PCAOB on a regular basis and PCAOB can inspect our auditor. As of the date of this prospectus, HZJL’s auditor is not among the firms listed on the PCAOB Determinations issued in December 2021. RDAC’s auditor, Adeptus Partners, LLC, is a United States accounting firm headquartered in Ocean, New Jersey and is subject to regular inspection by the PCAOB. Adeptus Partners, LLC is not headquartered in mainland China or Hong Kong and was not identified as a firm subject to the 2021 PCAOB Determinations announced on December 16, 2021. As a result, RDAC does not believe that Holding Foreign Companies Accountable Act and related regulations will affect RDAC. Nevertheless, trading in RDAC’s securities may be prohibited under the Holding Foreign Companies Accountable Act if the PCAOB determines that it cannot inspect or fully investigate RDAC’s auditor, and that as a result an exchange may determine to delist RDAC’s securities.
| 28 |
On August 26, 2022, the PCAOB announced and signed a Statement of Protocol (the “Protocol”) with the CSRC and the Ministry of Finance of the People’s Republic of China (“COF”). The Protocol provides the PCAOB with: (1) sole discretion to select the firms, audit engagements and potential violations it inspects and investigates, without any involvement of Chinese authorities; (2) procedures for PCAOB inspectors and investigators to view complete audit work papers with all information included and for the PCAOB to retain information as needed; (3) direct access to interview and take testimony from all personnel associated with the audits the PCAOB inspects or investigates.
The PCAOB reassessed the 2021 PCAOB Determinations that the positions taken by PRC authorities prevented the PCAOB from inspecting and investigating in mainland China and Hong Kong completely. The PCAOB sent its inspectors to conduct on-site inspections and investigations of firms headquartered in mainland China and Hong Kong over a nine-week period from September to November 2022.
On December 15, 2022, the PCAOB announced in the 2022 Determination its determination that the PCAOB was able to secure complete access to inspect and investigate accounting firms headquartered in mainland China and Hong Kong, and the PCAOB Board voted to vacate previous determinations to the contrary. Should the PCAOB again encounter impediments to inspections and investigations in mainland China or Hong Kong as a result of positions taken by any authority in either jurisdiction, including by the CSRC or the MOF, the PCAOB will make determinations under the HFCAA as and when appropriate. We cannot assure you whether Nasdaq or regulatory authorities would apply additional and more stringent criteria to us after considering the effectiveness of our auditor’s audit procedures and quality control procedures, adequacy of personnel and training, or sufficiency of resources, geographic reach, or experience as it relates to the audit of our financial statements. There is a risk that the PCAOB is unable to inspect or investigate completely the Company’s auditor because of a position taken by an authority in a foreign jurisdiction or any other reasons, and that the PCAOB may re-evaluate its determinations as a result of any obstruction with the implementation of the Protocol. Such lack of inspection or re-evaluation could cause trading in the Company’s securities to be prohibited under the HFCAA, ultimately resulting in a determination by a securities exchange to delist the company’s securities. In addition, under the HFCAA, as amended by the AHFCAA, our securities may be prohibited from trading on the Nasdaq or other U.S. stock exchanges if our auditor is not inspected by the PCAOB for two consecutive years, and this ultimately could result in our ordinary shares being delisted by and exchange.
Compensation Received by the Sponsor
Set forth below is a summary of the terms and amount of the compensation received or to be received by RDAC’s sponsor, Aurora Beacon LLC (the “Sponsor”) and its affiliates in connection with the Business Combination or any related financing transaction, the amount of securities issued or to be issued by RDAC to the Sponsor and its affiliates and the price paid or to be paid for such securities or any related financing transaction.
| Interest in Securities | Other Compensation | |||
| Sponsor | On March 29, 2024, an aggregate of 1,437,500 founder shares, or the insider shares, were issued to the Sponsor for an aggregate purchase price of $25,000. | RDAC has agreed to reimburse the Sponsor for any out-of-pocket expenses related to identifying, investigating and completing an initial business combination. As of September 17, 2025, there were no out-of-pocket unpaid reimbursable expenses for which the Initial Shareholders, including the Sponsor and its affiliates, are awaiting reimbursement. | ||
| Simultaneously with the closing of Rising Dragon’s IPO on October 15, 2024, the Sponsor purchased 254,375 Private Units for an aggregate purchase price of $2,543,750. | ||||
| Upon the consummation of the Business Combination, among other things, each of the then issued and outstanding RDAC Ordinary Shares will convert automatically, on a one-for-one basis, into one PubCo Ordinary Share. In the event the share price of PubCo Class A Ordinary Shares falls below the price paid by a shareholder of Rising Dragon at the time of purchase of the RDAC Ordinary Shares by such shareholder, a situation may arise in which the Sponsor or a director of Rising Dragon maintains a positive rate of return on its/ his/her RDAC Ordinary Shares while such shareholder of Rising Dragon experiences a negative rate of return on the shares such shareholder of Rising Dragon purchased. The securities currently owned by the Sponsor will have a significantly higher value at the time of the Business Combination than at the time of purchase. For purpose of illustration, given that as of the date of this prospectus, the Sponsor holds 1,691,875 RDAC Ordinary Shares, including 1,437,500 founder shares and 254,375 shares included in the Private Units, based on an estimated market price of $10.38 per PubCo Ordinary Share (i.e. being RDAC Ordinary Share’s closing price on September 5, 2025, the most recent practicable date prior to the date of this proxy statement/prospectus) immediately after Closing, the aggregate value of PubCo Class A Ordinary Shares owned by the Sponsor would be $17,561,663 and the Sponsor would have a potential aggregate profit of $14,992,913, representing a profit of $8.86 per PubCo Ordinary Share, whereas other public shareholders of Rising Dragon would only have a profit of $0.38 per PubCo Ordinary Share; | In order to finance transaction costs in connection with an intended initial business combination, RDAC’s initial shareholders, officers and directors and their affiliates may, but are not obligated to, loan RDAC funds as may be required. Such loans would be evidenced by promissory notes. In the event that RDAC is unable to consummate an initial business combination, RDAC may use a portion of the offering proceeds held outside the trust account to repay such loaned amounts but no proceeds from the trust account would be used for such repayment. If RDAC consummates an initial business combination, the notes would either be paid upon consummation of the initial business combination, without interest, or, at the lender’s discretion, up to $1,500,000 of the notes may be converted upon consummation of the business combination into additional private units at a price of $10.00 per unit (which, for example, would result in the holders being issued 150,000 units if the full amount of notes are issued and converted). |
| 29 |
Interests of Certain Persons in the Business Combination
When you consider the recommendation of the Rising Dragon board of directors in favor of adoption of the Acquisition Merger Proposal and the other Proposals, you should keep in mind that Rising Dragon’s directors and officers have interests in the Business Combination that are different from, or in addition to, your interests as a shareholder, including the following:
| ● | If an initial business combination is not completed by January 15, 2026 (or up to July 15, 2026, if further extended), whether with HZJL or with any other entity, Rising Dragon will be required to liquidate. In such event, 1,437,500 RDAC Ordinary Shares held by Rising Dragon’s initial shareholders, which were acquired prior to the IPO for an aggregate purchase price of $25,000, will be worthless. Such RDAC Ordinary Shares had an aggregate market value of approximately $14.92 million based on the closing price of RDAC Ordinary Shares of $10.38 per share on The Nasdaq Capital Market as of September 5, 2025. The Sponsor, Rising Dragon’s officers and directors waived their redemption rights and liquidation rights in connection with the purchase of the founder’s shares and no other consideration was paid for such agreement. | |
| ● | If an initial business combination is not completed by January 15, 2026 (or up to July 15, 2026, if further extended), whether with HZJL or with any other entity, Rising Dragon will be required to liquidate. In such event, 1,437,500 RDAC Ordinary Shares held by the Sponsor, which were acquired prior to the IPO as insider shares, and ordinary shares, and the rights included as part of the 254,375 Private Units purchased by the Sponsor for a total purchase price of $2,543,750, will be worthless. Such ordinary shares had an aggregate market value of approximately $17.83 million based on the closing price of RDAC Ordinary Shares of $10.38 per share on Nasdaq as of September 5, 2025, such rights had an aggregate market value of approximately $40,675 based on the closing price of RDAC Rights of $0.1599 per right on Nasdaq as of September 5, 2025, such private units had an aggregate market value of approximately $2.71 million based on the closing price of RDAC Units of $10.65 per unit on Nasdaq as of September 5, 2025. The Sponsor, Rising Dragon’s officers and directors and their affiliates waived their redemption rights and liquidation rights in connection with the purchase of the insider shares and the private units, and no other consideration was paid for such agreement. |
| 30 |
| The following table sets forth information regarding directors and officers of Rising Dragon and the Sponsor’s beneficial interests in securities of Rising Dragon as at September 17, 2025: |
| Shareholder(1) | Number of RDAC Ordinary Shares | Number of RDAC Units | ||||||
| The Sponsor(2) | 1,437,500 | 254,375 | ||||||
| Lulu Xing(2) | 1,437,500 | 254,375 | ||||||
| Wenyi Shen | 0 | 0 | ||||||
| Kei Tung Yeung | 0 | 0 | ||||||
| Kun-Lin Liu | 0 | 0 | ||||||
| Yucan Zhang | 0 | 0 | ||||||
| Chengming Dou | 0 | 0 | ||||||
| All directors and executive officers (six (6) individuals) as a group | 1,691,875 | 254,375 | ||||||
Notes:
| (1) | Unless otherwise indicated, the business address of each of the individuals or entities is c/o Rising Dragon Acquisition Corporation, No. 604, Yixing Road, Wanbolin District, Taiyuan City, Shanxi Province, People’s Republic of China. |
| (2) | The Sponsor is the record holder of the insider shares reported herein. It is controlled by Mr. Lulu Xing (the CEO and one of the directors of Rising Dragon). Mr. Lulu Xing has voting and dispositive power over the securities held of record by the Sponsor. |
| ● | The exercise of Rising Dragon’s directors’ and officers’ discretion in agreeing to changes or waivers in the terms of the transaction may result in a conflict of interest when determining whether such changes or waivers are appropriate and in our shareholders’ best interest. | |
| ● | In order to extend Rising Dragon’s time to complete a business combination by up to an additional six months as provided in its Existing Charter, Rising Dragon’s Sponsor or its designees must deposit $189,750 ($0.033 per share) into the trust account for each one-month extension. If the Business Combination is consummated by the extended deadlines, the amount deposited in the trust account will be repaid. However, if the Business Combination is not consummated by the extended deadline, the amount deposited will not be repaid unless there are funds available outside the trust account to do so and will be included in the liquidation distribution to Rising Dragon’s shareholders. | |
| ● | Aurora Beacon LLC, which is owned by Lulu Xing, a member of Rising Dragon board of directors, will be liable under certain circumstances described herein to ensure that the proceeds in the trust account are not reduced by the claims of target businesses or claims of vendors or other entities that are owed money by Rising Dragon for services rendered or contracted for or products sold to Rising Dragon. If Rising Dragon consummates a business combination, on the other hand, PubCo will be liable for all such claims. |
| ● | The Sponsor and Rising Dragon’s officers and directors and their affiliates are entitled to reimbursement of reasonable out-of-pocket expenses incurred by them in connection with certain activities on Rising Dragon’s behalf, such as identifying and investigating possible business targets and business combinations. However, if the proposed Business Combination is not completed by January 15, 2026 (or up to July 15, 2026, if further extended), they will not have any claim against the trust account for reimbursement. Accordingly, Rising Dragon may not be able to reimburse these expenses, and the Sponsor and Rising Dragon’s officers and directors and their affiliates will not receive reimbursement for any out-of-pocket expenses incurred by them to the extent that such expenses exceeded the amount of its working capital if the Business Combination or another business combination is not completed within the allotted time period. As of the date of this proxy statement/prospectus, the Sponsor and Rising Dragon’s officers and directors and their affiliates have not had any unpaid reimbursable expenses. | |
| ● | The Merger Agreement provides for the continued indemnification of Rising Dragon’s current directors and officers and the continuation of directors and officers liability insurance covering Rising Dragon’s current directors and officers. | |
| ● | Rising Dragon’s officers and directors may make loans from time to time to Rising Dragon to fund certain capital requirements. As of the date of this proxy statement/prospectus, Rising Dragon’s officers and directors has not made any loans to Rising Dragon. |
| 31 |
| ● | The Sponsor and its affiliates will benefit from the completion of a business combination and may be incentivized to complete an acquisition of a less favorable target company or on terms less favorable to shareholders rather than liquidate. The Sponsor and its affiliates will own 1,717,312 PubCo Class A Ordinary Shares, representing 3.84% ownership interest in PubCo resulting from the completion of the Business Combination. Such PubCo Class A Ordinary Shares had an aggregate market value of approximately $17.83 million based on the closing price of RDAC Ordinary Shares of $10.38 per share on Nasdaq as of September 5, 2025. | |
| ● | The Sponsor and its affiliates can earn a positive rate of return on their investment, even if other Rising Dragon shareholders experience a negative rate of return in the combined company following the Business Combination. For example, if the share price of the ordinary shares declined to $5.00 per share after the close of the business combination, Rising Dragon’s public shareholders that purchased shares in the initial public offering would have a loss of $5.00 per share, while Rising Dragon’s Sponsor would have a gain of $4.98 per share because it acquired the founder shares for a nominal amount. |
In connection with the Business Combination, there may be any actual or potential material conflict of interest between: on one hand, HZJL’s officers or HZJL’s directors; and, on the other hand, unaffiliated security holders of Rising Dragon. Shareholders should also be aware that interests of HZJL, HZJL officers and directors may be inherently different from the interests of unaffiliated shareholders of Rising Dragon, which could cause them to pursue terms of Business Combination less favorable to non-redeeming shareholders, and they owe no fiduciary duty to Rising Dragon’s shareholders. After Closing, certain HZJL officers and directors will be appointed as officers and directors of PubCo. Furthermore, Rising Dragon intends to use substantially all of the funds held in the Trust Account to complete the Business Combination, after the payment to holders of RDAC Ordinary Shares exercising redemption rights upon Closing, and any remaining amount will be used for future working capital and other corporate purposes of the combined entity. See “Questions and Answers about the Business Combination and the Extraordinary General Meeting —Q: What happens to the funds deposited in the trust account following the Business Combination” on page 13. In addition, our largest shareholder will be able to exercise a fair amount of the voting rights of our Company immediately after the completion of the Business Combination. The largest shareholder has substantial influence over our business with respect to material matters requiring voting rights, and we cannot assure you that any of our controlling shareholders will act in the best interest of our company should any conflict arise. We may not be able to resolve any potential conflicts, and even if we do so, the resolution may be less favorable to us than if we were dealing with an unaffiliated party. See “Risk Factors - We may have conflicts of interest with our largest shareholder and may not be able to resolve such conflicts on favorable terms for us” on page 66.
Sources and Uses of Funds for the Business Combination
The following tables summarize the sources and uses of cash in connection with the Business Combination, assuming (i) none of the public shares are redeemed in connection with the Business Combination (ii) 50% of the public shares are redeemed in connection with the Business Combination and (iii) all of the public shares are redeemed in connection with the Business Combination. Each of the No Redemptions, 25% Redemption, 50% Redemptions, 75% Redemption and Maximum Redemptions scenarios assume that the per-share redemption price is $10.14; the actual per-share redemption price will be equal to the pro rata portion of the trust account calculated as of two business days prior to the consummation of the Business Combination.
Estimated Sources and Uses of Cash (No Redemptions)
| Sources of Funds(1) | Uses of Funds(1) | |||||||||
| Cash balance of HZJL prior to Business Combination(2) | $ | 561,413 | Transaction fees and expenses(3) | $ | 2,362,000 | |||||
| Cash balance of Rising Dragon prior to Business Combination(2) | 392,679 | |||||||||
| Existing Cash held in Trust Account(2) | 58,330,546 | Remaining Cash on Balance Sheet | 56,922,638 | |||||||
| Total Sources | $ | 59,284,638 | Total Uses | $ | 59,284,638 | |||||
| (1) | Totals may be affected by rounding. |
| (2) | Balance as of December 31, 2024. |
| (3) | Reflects the repayment of transaction related expense of a. deferred underwriter fee and accounts payable of $1.862 million, b. an estimated of $0.5 million of legal, audit and consulting fees. |
| 32 |
Estimated Sources and Uses of Cash (25% Redemptions)
| Sources of Funds(1) | Uses of Funds(1) | |||||||||
| Cash balance of HZJL prior to Business Combination(2) | $ | 561,413 | RDAC public shares redemption(3) | $ | 14,576,250 | |||||
| Cash balance of Rising Dragon prior to Business Combination(2) | 392,679 | Transaction Fees and Expenses(4) | 2,362,000 | |||||||
| Existing Cash held in Trust Account(2) | 58,330,546 | Remaining Cash on Balance Sheet | 42,346,388 | |||||||
| Total Sources | $ | 59,284,638 | Total Uses | $ | 59,284,638 | |||||
| (1) | Totals may be affected by rounding. |
| (2) | Balance as of December 31, 2024. |
| (3) | Assumes that 25% of public shareholders, holding approximately 1.44 million ordinary shares, will exercise their redemption rights for an aggregate payment of approximately $14.6 million (based on the estimated per-share redemption price of approximately $10.14 per share) from the trust account. |
| (4) | Reflects the repayment of transaction related expense of a. deferred underwriter fee and accounts payable of $1.862 million, b. an estimated of $0.5 million of legal, audit and consulting fees. |
Estimated Sources and Uses of Cash (50% Redemptions)
| Sources of Funds(1) | Uses of Funds(1) | |||||||||
| Cash balance of HZJL prior to Business Combination(2) | $ | 561,413 | RDAC public shares redemption(3) | $ | 29,152,500 | |||||
| Cash balance of Rising Dragon prior to Business Combination(2) | 392,679 | Transaction Fees and Expenses(4) | 2,362,000 | |||||||
| Existing Cash held in Trust Account(2) | 58,330,546 | Remaining Cash on Balance Sheet | 27,770,138 | |||||||
| Total Sources | $ | 59,284,638 | Total Uses | $ | 59,284,638 | |||||
| (1) | Totals may be affected by rounding. |
| (2) | Balance as of December 31, 2024. |
| (3) | Assumes that 50% of public shareholders, holding approximately 2.87 million ordinary shares, will exercise their redemption rights for an aggregate payment of approximately $29.2 million (based on the estimated per-share redemption price of approximately $10.14 per share) from the trust account. |
| (4) | Reflects the repayment of transaction related expense of a. deferred underwriter fee and accounts payable of $1.862 million, b. an estimated of $0.5 million of legal, audit and consulting fees. |
Estimated Sources and Uses of Cash (75% Redemptions)
| Sources of Funds(1) | Uses of Funds(1) | |||||||||
| Cash balance of HZJL prior to Business Combination(2) | $ | 561,413 | RDAC public shares redemption(3) | $ | 43,728,750 | |||||
| Cash balance of Rising Dragon prior to Business Combination(2) | 392,679 | Transaction Fees and Expenses(4) | 2,362,000 | |||||||
| Existing Cash held in Trust Account(2) | 58,330,546 | Remaining Cash on Balance Sheet | 13,193,888 | |||||||
| Total Sources | $ | 59,284,638 | Total Uses | $ | 59,284,638 | |||||
| (1) | Totals may be affected by rounding. |
| (2) | Balance as of December 31, 2024. |
| (3) | Assumes that 75% of public shareholders, holding approximately 1.43 million ordinary shares, will exercise their redemption rights for an aggregate payment of approximately $43.7 million (based on the estimated per-share redemption price of approximately $10.14 per share) from the trust account. |
| (4) | Reflects the repayment of transaction related expense of a. deferred underwriter fee and accounts payable of $1.862 million, b. an estimated of $0.5 million of legal, audit and consulting fees. |
| 33 |
Estimated Sources and Uses of Cash (Maximum Redemptions)
| Sources of Funds(1) | Uses of Funds(1) | |||||||||
| Cash balance of HZJL prior to Business Combination(2) | $ | 561,413 | RDAC public shares redemption(3) | $ | 56,447,960 | |||||
| Cash balance of Rising Dragon prior to Business Combination(2) | 392,679 | Transaction Fees and Expenses(4) | 2,362,000 | |||||||
| Existing Cash held in Trust Account(2) | 58,330,546 | Remaining Cash on Balance Sheet | 474,678 | |||||||
| Total Sources | $ | 59,284,638 | Total Uses | $ | 59,284,638 | |||||
| (1) | Totals may be affected by rounding. |
| (2) | Balance as of December 31, 2024. |
| (3) | Assumes that Rising Dragon public shareholders, holding 5.56 million ordinary shares, will exercise their redemption rights for an aggregate payment of approximately $56.4million (based on the estimated per-share redemption price of approximately $10.14 per share) from the trust account. |
| (4) | Reflects the repayment of transaction related expense of a. deferred underwriter fee and accounts payable of $1.862 million, b. an estimated of $0.5 million of legal, audit and consulting fees. |
Recommendations of the Rising Dragon Board of Directors to the Rising Dragon Shareholders
After careful consideration of the terms and conditions of the Merger Agreement, the Rising Dragon board of directors has determined (i) that the terms and conditions of the Merger Agreement and the transactions contemplated thereby, including the Business Combination, are advisable, fair to and in the best interests of, Rising Dragon and its shareholders, and (ii) to recommend that the shareholders approve the transactions contemplated by the Merger Agreement, including the Business Combination. In reaching its decision with respect to the Reincorporation Merger and the Acquisition Merger, the Rising Dragon board of directors considered and evaluated several factors, including, but not limited to, the factors discussed below. In light of the complexity and variety of such factors, the Rising Dragon Board did not consider it practicable to, nor did it attempt to, quantify or otherwise assign relative weights to the specific factors that the Board considered in reaching its determination and supporting its decision. The Rising Dragon Board viewed its decision as being based on all of the information available and the factors presented to and considered by the Rising Dragon Board. The Rising Dragon board of directors obtained a fairness opinion from CHFT on which to base its assessment.
Before reaching its decision, the Rising Dragon Board discussed the results of the due diligence conducted by Rising Dragon’s management and their advisors, which included:
| ● | Review of HZJL’s draft financial statements for the fiscal years ended June 30, 2024 and 2023. | |
| ● | Review of the fairness opinion provided by CHFT, which is attached hereto as Exhibit 99.4 (for further details, see “— Summary of the Opinion of CHFT”). | |
| ● | Review of HZJL’s financial projections (for more details, refer to “— Summary of Financial Analysis”). | |
| ● | Review of HZJL’s descriptions of its business operations. | |
| ● | Review of financial data for public companies comparable to HZJL. | |
| ● | Review of a due diligence report and memorandum on key legal issues involved in the business combination, prepared by Joint-win Law Firm, Rising Dragon’s PRC counsel. | |
| ● | Review of HZJL’s corporate records, material agreements, employment agreements, tax documents, litigation matters, and other business-related materials. | |
| ● | Discussions with HZJL’s management. |
The Rising Dragon Board considered a number of factors pertaining to the Merger Agreement and the transactions contemplated thereby, including, but not limited to, the following: satisfaction of a number of Rising Dragon’s initial acquisition criteria, favorable prospects for future growth, unique position in the online branding industry, and visionary management team and board of HZJL with a proven history of innovation and execution. Please refer to “Proposal No. 2 – The Acquisition Merger Proposal - The Board’s Reasons for Approving the Business Combination” for further discussions. Based on the selection criteria for opportunities as described above, the Rising Dragon board of directors recommends that Rising Dragon’s shareholders vote:
| ● | FOR the Reincorporation Merger Proposal; | |
| ● | FOR the Acquisition Merger Proposal; | |
| ● | FOR the Nasdaq Proposal; |
| ● | FOR the PubCo Charter Proposal; | |
| ● | FOR the Director Approval Proposal; and | |
| ● | FOR the Adjournment Proposal. |
Benefits and Detriments of the Business Combination to HZJL
Benefits of the Business Combination to HZJL
The Business Combination will provide HZJL with increased access to capital markets. By becoming a publicly traded company on Nasdaq, PubCo is expected to gain access to a broader range of capital-raising opportunities, which will enhance its ability to fund growth initiatives. Additionally, the proceeds from the Business Combination, if available, are expected to be used to support PubCo’s business operations and growth strategies. These include signing and retaining new clients, completing ongoing refueling station projects, further investing in technology research and development, and funding general corporate purposes.
The Business Combination is also expected to enhance HZJL’s market visibility. Being publicly listed on Nasdaq may raise its profile, improve market perception and credibility and help attract new clients and business partners. Furthermore, the public listing could create opportunities for long-term value appreciation for HZJL’s initial shareholders, as the market may assign a higher valuation to PubCo due to its Nasdaq listing and growth prospects.
Detriments and Challenges of the Business Combination to HZJL
Despite these benefits, PubCo is expected to face higher operating costs because of becoming a publicly listed company. As an SEC-registered and NASDAQ-listed company, PubCo will incur significantly higher expenses associated with hiring additional personnel, increased audit, legal, and administrative costs, and compliance with public company regulatory requirements. These increased expenses could reduce profitability, particularly in the short term.
The transition to a public company will also add complexity to HZJL’s operations. PubCo will need to establish new processes and internal controls to meet its reporting obligations, which could divert management’s attention from core business activities. Additionally, the need for substantial capital and operating expenditures will increase. PubCo will have to invest heavily in marketing, infrastructure, technology, and human resources to support and grow its operations.
Financial Implications
Upon consummation of the Business Combination, the most significant change in PubCo’s future reported financial position and results is expected to be changes in cash. The pro forma cash balance as of December 31, 2024, assuming no redemption of stockholders, was approximately $57.4 million, while the pro forma cash balance as of December 31, 2024, assuming redemption of maximum stockholder redemptions permitted under the Business Combination, was approximately $1.0. See “Unaudited Pro Forma Condensed Combined Financial Information”. These changes are expected to affect PubCo’s ability to execute its growth strategy and manage its financial obligations effectively.
| 34 |
HZJL’s Holding Company Structure
HZJL is not a PRC operating company but a Cayman Islands holding company with a significant portion of its business operations expected to be conducted by its PRC subsidiaries. While HZJL does not use a variable interest entity structure, under this holding company structure, investors are purchasing equity interests in the Cayman Islands holding company and obtaining indirect ownership interests in the operating companies in the PRC. This holding company structure involves unique risks to investors and investors may never hold equity interests in operating companies in the PRC. While HZJL does not operate in an industry that is currently subject to foreign ownership limitations in the PRC, PRC regulatory authorities could decide to limit foreign ownership in its industry in the future, in which case there could be a risk that HZJL would be unable to do business in the PRC as it is currently structured. In such event, despite its efforts to restructure to comply with the then applicable PRC laws and regulations in order to continue its operations in the PRC, HZJL may experience material changes in its business and results of operations, its attempts may prove to be futile due to factors beyond its control, and the value of HZJL’s ordinary shares may significantly decline or become worthless. This holding company structure and our operations in the PRC may involve risks. See “Risk Factors — Risks Related to Doing Business in China — Substantial uncertainties exist with respect to the interpretation and implementation of the PRC Foreign Investment Law and how it may impact the viability of our current corporate structure, corporate governance and business operations.”
Summary of Risk Factors
In evaluating the Business Combination and the Proposals to be considered and voted on at the Extraordinary General Meeting, you should carefully review and consider the risk factors set forth under the section titled “Risk Factors” beginning on page 42 of this proxy statement/prospectus. The occurrence of one or more of the events or circumstances described in that section, alone or in combination with other events or circumstances, may have a material adverse effect on (i) Rising Dragon’s ability to complete the Business Combination, and (ii) the business, cash flows, financial condition and results of operations of PubCo following consummation of the Business Combination.
Below please find a summary of the principal risks, organized under relevant headings:
Risks Related to HZJL’s Business and Industry
| ● | HZJL is an early-stage company and we operate under a relatively innovative business model in an evolving market, which makes it difficult to evaluate our business and prospects and may increase the risks associated with your investment. See Risk Factor under such title. | |
| ● | We face intense competitive for our marketing technology solutions, and if we do not compete effectively, our business, financial condition and results of operations could be harmed. See Risk Factor under such title. | |
| ● | We rely on proper operation and maintenance of our technology solutions and internet infrastructure and telecommunications networks in China. Any malfunction, capacity constraint or operation interruption could have a material adverse effect on our reputation, business, financial condition and results of operations. See Risk Factor under such title. | |
| ● | If our algorithms and data engines for assessing and predicting potential audience behaviors are flawed or ineffective, our reputation and market share would be materially and adversely affected. See Risk Factor under such title. |
| ● | We rely on our suppliers and other business partners to provide quality products and logistic services which are critical to our business. Any changes, interruptions or disruptions of our relationships with them or any interruptions or disruptions of, or negative publicity around, their business may adversely affect our operation. See Risk Factor under such title. | |
| ● | If we fail to maintain and enhance our brand, our ability to expand our customer base will be impaired, and our business, financial condition and results of operations may suffer. See Risk Factor under such title. | |
| ● | Loss of any content distribution channel and changes in the contract terms with any content distribution channel may materially and adversely affect our business and results of operations. See Risk Factor under such title. | |
| ● | Our business depends on our ability to retain and expand our existing customer relationships and attract potential customers. See Risk Factor under such title. |
Risks Relating to HZJL’s Technology, Cybersecurity, Data Privacy, and Intellectual Property
| ● | Security breaches, improper access to or disclosure of our data or consumer data, other hacking and phishing attacks on our systems, or other cyberattacks may make our products and solutions to be perceived as not being secure, which could harm our reputation and adversely affect our business. See Risk Factor under such title. | |
| ● | A significant part of our business is conducted through WeChat, a third-party social media program and if services of WeChat are limited, restricted, curtailed or degraded in any way or become unavailable to us or our customers for any reason, our business may be materially and adversely affected. See Risk Factor under such title. | |
| ● | Our business and operating results may be harmed by any significant service disruptions. If our products and services are subject to attacks or misuse that disrupt or deny the ability of consumers to access our products and services, and we fail to develop enhancements to resolve any defect or other problems or adapt our existing technology and infrastructure, our consumers and partners may curtail or stop using our products and services, which could significantly harm our business. See Risk Factor under such title. | |
| ● | We may incur substantial costs in protecting or defending our intellectual property and any failure to protect our intellectual property could impair our competitive position and the value of our brand and other intangible assets may be diminished. See Risk Factor under such title. | |
| ● | We may be subject to intellectual property infringement claims or other allegations by third parties, which may cause substantial costs and materially and adversely affect our business operations. See Risk Factor under such title. |
| 35 |
| ● | We may from time to time become a party to litigation, other legal or administrative disputes and proceedings that may materially and adversely affect us. See Risk Factor under such title. |
Risks Related to Doing Business in China
| ● | Changes in China’s economic, political or social conditions or government policies could materially and adversely on HZJL’s, and following the Business Combination, PubCo’s business, results of operations, financial condition, and the value of PubCo’s securities. See Risk Factor under such title. |
| ● | We may be adversely affected by the complexity and evolvement in PRC regulation of internet-related businesses and companies, and any lack of requisite approvals, licenses or permits applicable to our business may have a material adverse effect on our business and results of operations. See Risk Factor under such title. | |
| ● | The approval of and filing with the CSRC or other PRC government authorities may be required in connection with this Business Combination under PRC law, and, if so required, we cannot predict whether or when we will be able to obtain such approval or complete such filing, and even if we obtain such approval, this Business Combination also needs to be completed within the validity period of such approval. See Risk Factor under such title. | |
| ● | To the extent cash/assets in the business are in the PRC/Hong Kong or a PRC/Hong Kong entity, the funds/assets may not be available to fund operations or for other use outside of the PRC/Hong Kong due to interventions in or the imposition of restrictions and limitations by the PRC government on our or our subsidiaries’ ability to transfer cash/assets. See Risk Factor under such title. | |
| ● | PRC regulatory authorities could disallow our holding company structure. See Risk Factor under such title. | |
| ● | The continued U.S. regulatory and legislative focus, including the enactment of the HFCAA, may adversely affect the market price of our Class A Ordinary Shares and may eventually require us to delist our securities from the U.S. markets. See Risk Factor under such title. | |
| ● | Complying with evolving laws and regulations regarding cybersecurity, information security, privacy and data protection and other related laws and requirements may entail significant expenses which may have an adverse effect on our business, financial conditions and results of operations. See Risk Factor under such title. | |
| ● | Recent regulation by the Cyberspace Administration of China (“CAC”) over data security, particularly for companies seeking to list on a foreign exchange, could adversely impact our PRC subsidiaries’ business and our offering. See Risk Factor under such title. | |
| ● | Laws and regulations regarding cybersecurity and information security could materially and adversely affect our business, financial conditions, and results of operations. See Risk Factor under such title. | |
| ● | Laws and regulations regarding the security assessment could materially and adversely affect our business, financial conditions, and results of operations. See Risk Factor under such title. | |
| ● | We may rely on dividends and other distributions on equity paid by our PRC subsidiaries to fund any cash and financing requirements we may have, and any limitation on the ability of our PRC subsidiaries to make payments to us could have a material and adverse effect on our ability to conduct our business. See Risk Factor under such title. | |
| ● | PRC regulations relating to offshore investment activities by PRC residents may limit our PRC subsidiaries’ ability to change their registered capital or distribute profits to us or otherwise expose us or our PRC resident beneficial owners to liabilities and penalties under PRC laws. In addition, any failure to comply with PRC regulations with respect to registration requirements for offshore financing may subject us to legal or administrative sanctions. See Risk Factor under such title. |
| 36 |
Risks Related to Ownership of PubCo’s Securities
| ● | Because there are no current plans to pay cash dividends on the PubCo Class A Ordinary Shares for the foreseeable future, you may not receive any return on investment unless you sell your PubCo Class A Ordinary Shares for a price greater than that which you paid for it. See Risk Factor under such title. | |
| ● | If HZJL or PubCo fails to implement and maintain an effective system of internal controls to remediate its material weaknesses over financial reporting, PubCo may be unable to accurately report its results of operations, meets its reporting obligations or prevent fraud, and investor confidence and the market price of PubCo’s ordinary shares may be materially and adversely affected. See Risk Factor under such title. |
| ● | Future sales or perceived sales of substantial amounts of our securities in the public market could have a material adverse effect on the prevailing market price of PubCo Class A Ordinary Shares and the ability of PubCo to raise capital in the future, and may result in dilution of your shareholdings. See Risk Factor under such title. | |
| ● | We may have conflicts of interest with our largest shareholder and may not be able to resolve such conflicts on favorable terms for us. See Risk Factor under such title. |
Risk Factors Relating to Rising Dragon’s Business
| ● | Rising Dragon will be forced to liquidate the trust account if it cannot consummate a business combination by January 15, 2026 (or up to July 15, 2026, if further extended), whether with HZJL or with any other entity, in which event Rising Dragon’s public shareholders will receive approximately $10.44 per share and the Rising Dragon rights will expire worthless. See Risk Factor under such title. | |
| ● | RDAC’s independent registered public accounting firm’s report contains an explanatory paragraph that expresses substantial doubt about RDAC’s ability to continue as a “going concern.” See Risk Factor under such title. | |
| ● | Rising Dragon is requiring shareholders who wish to redeem their shares in connection with the Business Combination to comply with specific requirements for redemption that may make it more difficult for them to exercise their redemption rights prior to the deadline for exercising their rights. See Risk Factor under such title. |
Risks Relating to Doing Business in Jurisdictions Rising Dragon Operates
| ● | The Chinese government may exercise significant oversight and discretion over the conduct of our business and may intervene in or influence our operations at any time, which could result in a material change in our operations and/or the value of our ordinary shares. Changes in the policies, regulations, rules, and the enforcement of laws of the Chinese government may also be quick with little advance notice and our assertions and beliefs of the risk imposed by the PRC legal and regulatory system cannot be certain. See Risk Factor under such title. | |
| ● | The Chinese government has exercised and continues to exercise substantial control over virtually every sector of the Chinese economy through regulation and state ownership. | |
| ● | Uncertainties in the interpretation and enforcement of PRC laws and regulations and changes in policies, rules, and regulations in China, which may be quick with little advance notice, could limit the legal protection available to you and us. |
| 37 |
Risk Factors Relating to the Business Combination
| ● | Rising Dragon and HZJL have incurred and expect to incur significant costs associated with the Business Combination. Whether or not the Business Combination is completed, the incurrence of these costs will reduce the amount of cash available to be used for other corporate purposes by the combined company if the Business Combination is completed or by Rising Dragon if the Business Combination is not completed. See Risk Factor under such title. | |
| ● | In the event that a significant number of RDAC Ordinary Shares are redeemed, the PubCo Ordinary Shares may become less liquid following the Business Combination. See Risk Factor under such title. | |
| ● | The fairness opinion obtained by the Rising Dragon board of directors will not reflect changes, circumstances, developments, or events that may have occurred or may occur after the date of the opinion. See Risk Factor under such title. |
Risk Factors Relating to PubCo
| ● | If PubCo ceases to qualify as a foreign private issuer, it would be required to comply fully with the reporting requirements of the Exchange Act applicable to U.S. domestic issuers, and it would incur significant additional legal, accounting and other expenses that it would not incur as a foreign private issuer. See Risk Factor under such title. | |
| ● | Because PubCo is a foreign private issuer and is exempt from certain Nasdaq corporate governance standards applicable to U.S. issuers, you will have less protection than you would have if it were a domestic issuer. See Risk Factor under such title. |
| 38 |
HZJL SUMMARY FINANCIAL INFORMATION
(Amounts in tables are stated in U.S. Dollar)
The following tables set forth the summary of financial information derived from HZJL’s audited consolidated financial statements as of June 30, 2024 and 2023 and for the fiscal years ended June 30, 2024 and 2023, which are included elsewhere in this proxy statement/prospectus. The historical results presented below are not necessarily indicative of the results to be expected for any future period. You should carefully read the following selected financial information in conjunction with the section entitled “HZJL Management’s Discussion and Analysis of Financial Condition and Results of Operations” and HZJL’s financial statements and the related notes appearing elsewhere in this proxy statement/prospectus.
The following tables present HZJL’s summary consolidated statements of operations data for the years ended June 30, 2024 and 2023.
For the Years Ended June 30, | ||||||||
| 2024 | 2023 | |||||||
| Income Statement Data: | ||||||||
| Revenues | $ | 12,616,504 | $ | 21,759,285 | ||||
| Gross profit | $ | 3,845,406 | $ | 1,027,649 | ||||
| Total operating expenses | $ | (2,220,149 | ) | $ | (3,980,392 | ) | ||
| Income (loss) from operations | $ | 1,625,257 | $ | (2,952,743 | ) | |||
| Net income (loss) | $ | 1,120,845 | $ | (2,738,075 | ) | |||
The following tables present HZJL’s summary consolidated balance sheet data as of June 30, 2024 and 2023
June 30, 2024 | June 30, 2023 | |||||||
| Total current assets | $ | 15,978,469 | $ | 21,173,772 | ||||
| Total assets | $ | 16,081,174 | $ | 21,808,343 | ||||
| Total liabilities | $ | 10,533,253 | $ | 26,213,353 | ||||
| Total HZJL shareholders’ equity (deficit) | $ | 5,773,945 | $ | (4,372,032 | ) | |||
| Non-controlling interest | $ | (226,024 | ) | $ | (32,978 | ) | ||
| Total liabilities and equity (deficit) | $ | 16,081,174 | $ | 21,808,343 | ||||
The following tables present HZJL’s summary consolidated cash flow data for the years ended June 30, 2024 and 2023:
For the Fiscal years Ended June 30, | ||||||||
| 2024 | 2023 | |||||||
| Net cash provided by (used in) operating activities | $ | 9,699,666 | $ | (10,233,621 | ) | |||
| Net cash used in investing activities | (3,183,244 | ) | (1,812,621 | ) | ||||
| Net cash (used in) provided by financing activities | (6,440,329 | ) | 11,914,252 | |||||
| Effect of Exchange rate on cash, cash equivalents and restricted cash | (555 | ) | (9,059 | ) | ||||
| Net change in cash, cash equivalents and restricted cash | 75,539 | (141,048 | ) | |||||
| Cash, cash equivalents and restricted cash at beginning of the year | 49,223 | 190,271 | ||||||
| Cash, cash equivalents and restricted cash at end of the year | $ | 124,762 | $ | 49,223 | ||||
| 39 |
COMPARATIVE PER SHARE INFORMATION
The following table sets forth the historical comparative share information for HZJL and Rising Dragon on a stand-alone basis as of December 31, 2024 and for the fiscal year ended June 30, 2024 and for the six months ended December 31, 2024, and the unaudited pro forma combined share information after giving effect to the business combination,
| (1) | assuming no other Rising Dragon Public Shareholders exercise redemption rights with respect to their ordinary shares upon the consummation of the business combination; and |
| (2) | assuming maximum contractual redemptions of ordinary shares of Rising Dragon upon consummation of the business combination. |
The Post-Combination weighted average shares outstanding, book value per share, and net loss per share information reflect the transactions as if they had occurred as of the beginning of the earliest period presented (namely, since July 1, 2023).
You should read the information in the following table in conjunction with the selected historical financial information summary included elsewhere in this proxy statement/prospectus, and the historical financial statements of Rising Dragon and HZJL and related notes that are included elsewhere in this proxy statement/prospectus. The unaudited pro forma combined share information is derived from, and should be read in conjunction with, the unaudited pro forma combined financial statements and related notes included elsewhere in this proxy statement/prospectus.
The unaudited pro forma combined earnings per share information below does not purport to represent the earnings per share that would have occurred had the companies been combined during the periods presented, nor earnings per share for any future date or period. The unaudited pro forma combined book value per share information below does not purport to represent what the value of Rising Dragon and HZJL would have been had the companies been combined during the periods presented.
| Rising Dragon | HZJL | Scenario 1 Pro Forma Combined Assuming No Redemptions into Cash | Scenario 2 Pro Forma Combined Assuming Maximum Contractual Redemptions into Cash | |||||||||||||
| December 31, 2024, book value per share | $ | 7.59 | $ | — | $ | 1.38 | $ | 0.14 | ||||||||
| For the year ended June 30, 2024 | ||||||||||||||||
| Weighted average shares outstanding, basic and diluted | 1,019,737 | — | — | — | ||||||||||||
| Post-Combination weighted average ordinary shares outstanding, basic and diluted | — | — | 44,849,812 | 39,390,773 | ||||||||||||
| Net (loss) income attributable to Xpand Boom Technology Inc.’s Shareholders | $ | (50,250 | ) | $ | 1,315,097 | $ | 33,116 | $ | 33,116 | |||||||
| Loss per share: | ||||||||||||||||
| Basic and diluted net loss per share | $ | (0.05 | ) | $ | — | $ | 0.00 | $ | 0.00 | |||||||
| For the six months ended December 31, 2024 | ||||||||||||||||
| Weighted average shares outstanding, basic and diluted | 4,138,988 | — | — | — | ||||||||||||
| Post-Combination weighted average ordinary shares outstanding, basic and diluted | — | — | 44,849,812 | 39,390,773 | ||||||||||||
| Net income (loss) for the six months ended December 31, 2024 | $ | 296,373 | $ | 677,731 | $ | (212,860 | ) | $ | (212,860 | ) | ||||||
| Loss per share: | ||||||||||||||||
| Basic and diluted net income (loss) per share | $ | 0.07 | $ | — | $ | (0.01 | ) | $ | (0.01 | ) | ||||||
| 40 |
SECURITIES AND DIVIDENDS
The RDAC Units, RDAC Ordinary Shares, and RDAC Rights are currently listed on the Nasdaq Capital Market under the symbols “RDACU,” “RDAC,” “RDACR,” respectively. Each RDAC Unit consists of one ordinary share and one right to receive one-tenth (1/10th) of one ordinary share upon the consummation of the Business Combination. Rising Dragon’s units commenced trading on Nasdaq on October 11, 2024. Rising Dragon’s ordinary shares and public rights commenced trading separately on Nasdaq on December 2, 2024.
Rising Dragon has not paid any cash dividends on its ordinary shares to date and does not intend to pay cash dividends prior to the completion of a business combination. The payment of cash dividends in the future will be dependent upon Rising Dragon’s revenues and earnings, if any, capital requirements and general financial condition subsequent to completion of a business combination. The payment of any dividends subsequent to the Business Combination will be within the discretion of the PubCo board of directors. It is the present intention of the Rising Dragon board of directors to retain all earnings, if any, for use in its business operations and, accordingly, Rising Dragon board does not anticipate declaring any dividends in the foreseeable future.
HZJL’s securities are not currently publicly traded. We intend to list the PubCo Class A Ordinary Shares on Nasdaq in connection with the Business Combination.
| 41 |
RISK FACTORS
Shareholders should carefully consider the following risk factors, together with all of the other information included in this proxy statement/prospectus before they decide whether to vote or instruct their vote to be cast to approve the Proposals described in this proxy statement/prospectus. These risks could have a material adverse effect on the business, financial conditioning and results of operations of PubCo, and could adversely affect the trading price of PubCo’s securities following the business combination.
Risks Related to HZJL’s Business and Industry
In this section, the words “we,” “our,” “us,” and the “Company” refer to HZJL and its subsidiaries.
HZJL is an early-stage company and we operate under a relatively innovative business model in an evolving market, which makes it difficult to evaluate our business and prospects and may increase the risks associated with your investment.
We have a limited operating history and with an innovative business model in the evolving online marketing technology solutions markets. We are also in the early stage of monetization, and we generate revenues primarily through (i) supply of food products, (ii) provision of branding services, and (iii) provision of online software services while it is uncertain that we can successfully implement the existing monetization strategies or develop new monetization channels to generate sustainable revenues.
Our limited operating history may not serve as an adequate basis for evaluating our prospects and operating results, and our past revenues and historical growth may not be indicative of our future performance. In addition, our ability to forecast our future operating results is subject to a number of uncertainties, including our ability to plan for and model future growth. We have encountered, and will continue to encounter, risks and uncertainties frequently experienced by growing companies in rapidly evolving industries, as we continue to grow our business. If our assumptions regarding these uncertainties, which we use to plan our business, are inaccurate or change in reaction to changes in our markets, or if we do not address these risks successfully, our operating and financial results could differ materially from our expectations, our business could suffer, and the trading price of our stock may decline. It is difficult to predict our future revenues and appropriately budget for our expenses, and we have limited insight into trends that may emerge and affect our business. If actual results differ from our forecasts or we adjust our estimates in future periods, our operating results and financial position could be materially affected.
We face intense competitive for our marketing technology solutions, and if we do not compete effectively, our business, financial condition and results of operations could be harmed.
The markets in which we operate are highly competitive. A significant number of companies have developed or are developing technology solutions that currently, or in the future may, compete with some or all of our individual solution suites. If we are to compete effectively in our industry, we are required to show and convince our potential customers as well as their internal stakeholders that our solution suites are superior and/or more cost-effective to our competitors’ solutions and services.
We cannot assure you that we can successfully implement our business model. As the market and our business develop, we may modify our solutions and services. These changes may not achieve expected results and may have a material and adverse impact on our results of operations and financial condition, causing significantly harm to our business, results of operations, and financial condition.
We rely on proper operation and maintenance of our technology solutions and internet infrastructure and telecommunications networks in China. Any malfunction, capacity constraint or operation interruption could have a material adverse effect on our reputation, business, financial condition and results of operations.
Currently, a substantial of our revenue are generated online through “集满满”, our mobile app and mini-programs. The success of our mobile apps and mini-programs depends upon the effective operation of certain operating systems, networks and standards that are run by operating system providers and app stores (which we collectively refer to as “Providers”). Those Providers are third-party service providers, and we do not control these Providers, resulting we are subject to risks and uncertainties related to the actions taken, or not taken, by these Providers. We largely utilize Android-based and iOS-based technology, and in some cases, these Providers include companies that we also regard as our competitors. Service interruptions prevent our potential customers from accessing our mobile platform and using our service, and frequent interruptions could frustrate customers and discourage them from placing order on our platform, causing us to lose customers and harm our operating results.
| 42 |
Additionally, access to internet in China is maintained through state-owned telecommunications carriers under administrative control, and we obtain access to end-user networks operated by such telecommunications carriers and internet service providers to give buyers access to our mobile platform. The failure of telecommunications network operators to provide us with the requisite bandwidth could also interfere with the speed and availability of our mobile platform.
If our algorithms and data engines for assessing and predicting potential audience behaviors are flawed or ineffective, our reputation and market share would be materially and adversely affected.
Our ability to attract marketers to, and build loyalty in, our platform is largely relying on our ability to effectively assess and predict audience interest in, and thus interaction with, relevant marketing content. Further, our ability to attract businesses to use our solutions is significantly dependent on our ability to effectively identify and address their needs on customer relationship management, and data analytics namely, sales data, customer data, product data, etc. We utilize our proprietary algorithms and data engines to track, process and analyze internet user data, forecast probability and nature of internet users’ potential engagement with a given marketing message, create and tailor the marketing message to specific user interest, and execute marketing campaigns based on parameters specified by our clients. To the extent our proprietary algorithms and data engines fail to accurately assess or predict a user’s interest in and interaction with, the relevant marketing content, or experience significant errors or defects, marketers may not achieve their marketing goals in a cost-effective manner or at all, which could make our platform less attractive to them, resulting in damages to our reputation and a decline in our market share and adversely affect our business and results of operations.
We rely on our suppliers and other business partners to provide quality products and logistic services which are critical to our business. Any changes, interruptions or disruptions of our relationships with them or any interruptions or disruptions of, or negative publicity around, their business may adversely affect our operation.
We source products from third-party suppliers and vendors. We had over 3711 suppliers in the last quarter of 2024. Our suppliers include local farms and regional distributors and manufacturers. Sustaining and maintaining strong relationships with these suppliers is crucial to the growth of our business. In particular, we depend significantly on our ability to procure products from suppliers on favorable pricing and payment terms and in sufficient quantities. We typically enter into framework agreements with suppliers on an annual basis, and these framework agreements do not ensure the availability of products or the continuation of particular pricing practices or payment terms beyond the end of the contractual term. We cannot assure you that our current suppliers will continue to sell products to us on commercially acceptable terms, or at all, after the term of the current agreement expires. Even if we maintain good relationships with our suppliers, their ability to supply products to us in sufficient quantity and at competitive prices may be adversely affected by economic conditions, labor actions, regulatory or legal decisions, pandemics, natural disasters or other causes. In the event that we are not able to procure products at favorable prices and at sufficient quantities, our revenues and cost of revenues may be materially and adversely affected.
In addition, we also rely on a large number of business partners, such as logistic service providers, warehouse and distributor centers to provide various services to our customers and ourselves. To the extent they are unable to provide satisfactory services, which may be attributable to events that are beyond our or their control, such as critical weather or transportation service disruptions, our business and reputation may be adversely affected.
If we fail to maintain and enhance our brand, our ability to expand our customer base will be impaired, and our business, financial condition and results of operations may suffer.
We believe that maintaining and enhancing our brand reputation is important to expand sales of our services and solution suites to new and existing customers. We also believe that the more competitive in our markets, the more importance of our brand recognition. Successfully maintaining and enhancing our brand will depend largely on the effectiveness of our marketing efforts, our ability to offer reliable products that keep meeting the needs and preferences of our customers at competitive prices, our ability to maintain our customers’ trust and loyalty, our ability to continue to develop new functionality to address a wide variety of customers’ needs and our ability to successfully differentiate our products and services from those of our competitors. Our brand promotion activities may not generate customer awareness or yield increased revenue, and even if they do, any increased revenue may not offset the expenses we incur in building our brand.
| 43 |
Loss of any content distribution channel and changes in the contract terms with any content distribution channel may materially and adversely affect our business and results of operations.
A key to our business success is to have a consistent access to attractive content distribution opportunities. We primarily rely on third-party content distribution channels to access content distribution opportunities. Those channels, including Douyin (抖音) and Toutiao (今日头条), are concentrated and primarily include online and mobile publishers and ad exchanges, including those owned or operated by ByteDance Ltd. Media costs for content distribution opportunities on Douyin and Toutiaochannels in aggregate accounted for 95% and 5% of our media costs in 2023 and 2024, respectively. The loss of access to content distribution opportunities from the company would negatively impact our ability to help marketers reach their audience.
Our business depends on our ability to retain and expand our existing customer relationships and attract potential customers.
Our future success is largely depending on our ability to retain and expand our relationships with existing customers and attract new customers. In order for us to maintain or improve our results of operations, it is important that we maintain positive relationships with our existing customers and that they are satisfied with the products and services we provide. We implement customer service strategies to identify opportunities to increase and sustain our customer base. Further, there is ongoing customer consolidation and concentration within our markets, which could impair our ability to expand the customer base of our platform.
A downturn in global economy could reduce the customers’ demand and their ability to pay for our solutions, which could materially and adversely affect our business and results of operations.
The global financial markets have been rattled by international geopolitics over a turbulent decade. Rising geopolitical tensions could have potentially important implications for global financial stability. In particular, eruptions of regional tensions, such as the ongoing military conflict involving Ukraine and Russia, and the related sanctions against Russia, the Hamas-Israel conflict have resulted in major economic shocks worldwide and substantial volatility across global financial markets. It is unclear whether these challenges and uncertainties will be contained or resolved, and what effects they may have on the global political and economic conditions in the long run.
There is considerable uncertainty over the long-term effects of the expansionary monetary and fiscal policies adopted by the central banks and financial authorities of some of the world’s leading economies, including the United States, China and Europe. The Federal Reserve raised interest rates in the United States in order to combat inflation in 2023 and it decided to lower interest rates in 2024 for the first time in four years, and further decided to keep interest rates steady as inflation remains stubborn. All these unresolved issues prolong uncertainty across the globe. Economic conditions in China are sensitive to global economic conditions. The spending, liquidity and financial conditions of our clients in China were adversely impacted. Any prolonged slowdown in the global economy may further reduce client demand and spending for our solutions, cause delays in the payment and have a negative impact on our business, results of operations and financial condition.
Fluctuations in exchange rates could have a material and adverse effect on our results of operations and the value of your investment.
The conversion of Renminbi into foreign currencies, including U.S. dollars, is based on rates set by the People’s Bank of China. The Renminbi has fluctuated against the U.S. dollar, at times significantly and unpredictably. The value of Renminbi against the U.S. dollar and other currencies is affected by, among other things, changes in China’s political and economic conditions and by China’s foreign exchange policies. We cannot assure you that Renminbi will not appreciate or depreciate significantly in value against the U.S. dollar in the future. It is difficult to predict how market forces or PRC or U.S. government policy may impact the exchange rate between Renminbi and the U.S. dollar in the future.
Very limited hedging options are available in China to mitigate our exposure to exchange rate fluctuations. To date, we have not entered into any material hedging transactions to reduce our exposure to foreign currency exchange risk. While we may decide to enter into hedging transactions in the future, the availability and effectiveness of these hedges may be limited and we may not be able to adequately hedge our exposure, or at all. Additionally, our currency exchange losses may be magnified by PRC exchange control regulations that restrict our ability to convert Renminbi into foreign currency.
| 44 |
We may be subject to claims under consumer protection laws, including health and safety claims and product liability claims, if property or people are harmed by the products and services sold through our platforms.
Mounting concerns of consumer protection have been seen amongst government authorities in the PRC, media outlets and public advocacy groups. Merchants of products or service are subject to certain provisions of consumer protection laws, e-commerce platforms are no exception. In other words, those consumer protection laws are also applicable to us. For example, under the E-commerce Law, we may be held jointly liable with the merchants if we fail to take necessary actions when we know or should have known that the products or services provided by the merchants on our platforms do not meet personal and property security requirements, or otherwise infringe upon consumers’ legitimate rights. Those applicable consumer protection laws in China, including the recently released Implementing Rules of the Consumer Rights Protection Law that came into effect on July 1, 2024, also hold that trading platforms, including livestreaming marketing platforms, will be held liable for failing to meet certain undertakings that the platforms make to consumers with regard to products listed on their websites, provide appropriate dispute resolution mechanisms for consumers or otherwise protect consumer rights.
We face risks related to natural disasters, health epidemics, acts of terrorism and other outbreaks, which could significantly disrupt our operations.
Our business could be adversely affected by the effects of epidemics. In addition to the COVID-19 outbreak, there have been other outbreaks of epidemics globally in recent years. Our operations could be disrupted if one of our employees is suspected of having COVID-19, H1N1 flu, avian flu, or other epidemics, since it could require our employees to be quarantined and/or our offices to be disinfected. This could adversely affect our results of operations.
We are also vulnerable to natural disasters and other calamities. It is possible that we may be unable to recover certain data in the event of a server failure. We cannot assure you that any backup system will be adequate to protect us from the effects of fire, floods, typhoons, earthquakes, power loss, telecommunications failures, break-ins, war, riots, terrorist attacks or similar events. Any of the foregoing events may give rise to server interruptions, breakdowns, system failures, technology platform failures or internet failures, causing the loss or corruption of data or malfunctions of software or hardware as well as adversely affect our ability to provide services on our platform, thus having a material adverse effect on our business and operating results.
The loss of key management could negatively affect our business.
We are dependent upon a number of key management and other employees, such as Bin Xiong, our chief executive officer, Houming Peng, our financial manager and Chunhui Fan, our supply chain manager. If we were to lose the services of a significant number of key employees within a short period of time, this could have a material adverse effect on our operations as we may not be able to find suitable individuals to replace them on a timely basis, if at all. In addition, any such departure could be viewed in a negative light by investors and analysts, which may cause our stock price to decline.
The defects in certain leased property interests and failure to register certain lease agreements may materially and adversely affect our business, financial condition, results of operations, and prospects.
We lease premise in China for our storage facility. With respect to our leased premise, lessor may subject to certain restrictions on his or her ownership or the usage of the property, or has not completed certain statutory registrations. Therefore, we cannot assure you that we will not be subject to any challenges, lawsuits, or other actions taken against us with respect to our leased premise.
We have limited business insurance coverage.
In line with general market practice, we have taken out and business insurances covering damages to our properties and IT infrastructures, but do not maintain any business interruption insurance or key man life insurance, maintaining which are not mandatory under the applicable laws. We cannot assure you that our insurance coverage is sufficient to cover and prevent us from any loss or that we will be able to successfully claim our losses under our current insurance policy on a timely basis, or at all. If we incur any loss that is not covered by our insurance policies, or the compensated amount is significantly less than our actual loss, our business, financial condition and results of operations could be materially and adversely affected.
| 45 |
Risks Relating to HZJL’s Technology, Cybersecurity, Data Privacy, and Intellectual Property
Security breaches, improper access to or disclosure of our data or consumer data, other hacking and phishing attacks on our systems, or other cyberattacks may make our products and solutions to be perceived as not being secure, which could harm our reputation and adversely affect our business.
Mobile malware, viruses, hacking and phishing attacks have become more prevalent and sophisticated in our industry. If our security measures are breached, or if our products and services are subject to attacks or misuse that disrupt or deny the ability of consumers to access our products and services, our products and services may be perceived as not being secure and consumers may curtail or stop using our products and services, which could have a material adverse effect on our reputation, business prospects and results of operations.
Our efforts to protect the information that our consumers have shared with us could fail due to the actions of third parties, software bugs or other technical malfunctions, employee error or malfeasance, or other factors. Third parties may attempt to fraudulently induce employees or consumers to disclose information to gain access to our data or our consumers’ data. If any of these events occurs, our or our consumers’ information could be unauthorized accessible or improperly discloseable. Internally, we have our privacy policy in place that governs how we may use and share the information that our consumers have provided us. However, if third parties such as business partners fail to implement adequate data security practices or fail to comply with our terms and policies, our consumers’ data may be improperly accessed or disclosed. Any incidents where our consumers’ information is accessed without authorization, or is improperly used, or incidents that violate our Terms of Service or policies, could damage our reputation and our brand image and diminish our competitive position.
We are subject to data privacy and protection laws and regulations adopted by governmental agencies. Data privacy laws imposes requirements on our storage, use, processing, disclosure, transfer and protection of non-public personal information provided to us by our consumers. Violating existing or future regulatory orders or consent decrees could subject us to substantial monetary fines and other penalties that could seriously harm our business. While we strive to protect our consumers’ privacy and comply with all applicable data protection laws and regulations, any failure to do so may result in proceedings or actions against us by affected consumers or government authorities, which could be time-consuming and cause us to incur significant expense and liability or result in orders or consent decrees forcing us to modify our business practices.
Additionally, spammers may attempt to use our products to send targeted and untargeted spam messages to consumers, which may embarrass or annoy consumers and make our products less consumers friendly. We cannot be certain that the technologies that we have developed to repel spamming attacks will be able to eliminate all spam messages from our solutions. Our actions to combat spam may also require diversion of significant time and focus from improving our products. As a result of spamming activities, our consumers may opt out of our solutions or stop using them altogether. Maintaining the trust of our consumers is important to sustain our growth, retention, and consumer engagement. Negative incidents or dissatisfaction in relation to our products and services regardless of all our efforts, could deter current and potential consumers from using our solutions and services, which could have material adverse effects on our reputation, growth and consumer engagement, and could seriously harm our operational cost structure.
A significant part of our business is conducted through WeChat, a third-party social media program and if services of WeChat are limited, restricted, curtailed or degraded in any way or become unavailable to us or our customers for any reason, our business may be materially and adversely affected.
Our platform work in combination with our WeChat public account and WeChat mini-programs to offer convenient shopping experiences to our customers. The operations of ours payment process also rely on the services of WeChat. Once customers scan the QR code on the unit using a mobile phone, our WeChat mini-programs “集满满商家端 and “集满满” are launched on the mobile and lead the customers to complete the purchase process. If services of WeChat are limited, restricted, curtailed or degraded in any way or become unavailable to us or our customers for any reason, the attractiveness of our products could be materially and adversely affected.
| 46 |
Our business and operating results may be harmed by any significant service disruptions. If our products and services are subject to attacks or misuse that disrupt or deny the ability of consumers to access our products and services, and we fail to develop enhancements to resolve any defect or other problems or adapt our existing technology and infrastructure, our consumers and partners may curtail or stop using our products and services, which could significantly harm our business.
The success of our broad range of AI-powered business and consumer service solutions namely, “小牛管家” is reliant on technology. Our ability to attract and retain consumers largely depends on our ability to maintain and scale our technical infrastructure. We expect to continue to make significant investments to maintain and improve the capacity, capability and reliability of our infrastructure. To the extent that we do not effectively address capacity constraints, upgrade our systems as needed or continually develop our technology and infrastructure to accommodate actual and anticipated changes in our consumers’ needs, our business, financial condition and results of operations may be harmed.
Our business and operating results, reputation and consumer engagement may be harmed by a disruption in our service due to failures in or changes to our systems, or by our failure to timely and effectively expand and adapt our technology and infrastructure.
Our systems may not be adequately designed with the necessary reliability and redundancy to avoid performance delays or outages that could seriously harm our business. We may experience service disruptions, outages and other performance problems due to a variety of factors, including infrastructure changes, human or software errors, hardware failure, capacity constraints due to an overwhelming number of people accessing our products and services simultaneously, computer viruses, denial of service or fraud or security attacks. This would negatively impact our ability to attract consumers, platform partners and advertisers and increase consumer engagement. It is possible that we may fail to effectively scale and grow our technology infrastructure to accommodate increased demands arising from increased consumer traffic. It may also become increasingly difficult to maintain and improve the performance of our products and services, especially during peak usage times, as our products and services become more complex and our consumer traffic increases. If any system failure, interruption or downtime occurs, our business, financial condition and results of operations may be materially and adversely affected.
We may incur substantial costs in protecting or defending our intellectual property and any failure to protect our intellectual property could impair our competitive position and the value of our brand and other intangible assets may be diminished.
Effective protection of intellectual property rights is expensive and difficult to maintain, both in terms of application and maintenance costs, as well as the costs of defending and enforcing our rights. Although we have taken measures to protect our proprietary rights, the efforts we have taken to protect our intellectual property rights may not be sufficient or effective, and our intellectual property rights will be sufficient to protect against others offering products or services that are substantially similar to ours and compete with our business. If we are unable to protect our proprietary rights or prevent unauthorized use or appropriation by third parties, the value of our brand and other intangible assets may be diminished, and competitors may be able to more effectively mimic our service and methods of operations. Any of these events could seriously harm our business.
We aim to protect our confidential proprietary information, in part, by entering into confidentiality agreements and invention assignment agreements with all our employees, consultants, advisors, and any third parties who access or contribute to our proprietary know-how, information, or technology. We also rely on trademark, copyright, patent, trade secret, and domain-name-protection laws to protect our proprietary rights. Our trade secrets, trademarks, copyrights, patents and other intellectual property rights are important assets for us. There can be no assurance that we will be able to protect against the unauthorized use of our brand, trademarks or other assets. There is also a risk that one or more of our trademarks could become generic, which could result in them being declared invalid or unenforceable. We rely on, and expect to continue to rely on, a combination of confidentiality and license agreements with our employees, consultants and third parties with whom we have relationships, as well as trademark, trade dress, domain name, copyright, trade secret and patent laws, to protect our brand and other intellectual property rights. Significant impairments of our intellectual property rights, and limitations on our ability to assert our intellectual property rights against others, could harm our business and our ability to compete.
We may be subject to intellectual property infringement claims or other allegations by third parties, which may cause substantial costs and materially and adversely affect our business operations.
Corporations in the internet, media, communication and other technology-related industries own large numbers of patents, copyrights, trademarks, trade secrets, and other intellectual property rights, and frequently enter into litigation based on allegations of infringement, misappropriation, or other violations of intellectual property or other rights. We may be subject to intellectual property infringement lawsuits that are expensive and time-consuming. If resolved adversely, these lawsuits and claims could result in our payment of substantial damages or license fees, disruption to our product and service offerings and reputational harm.
| 47 |
We might be subject to claims and legal proceedings from holders of patents, trademarks, copyrights, and other intellectual property rights alleging that some of our products or content infringe their rights. While we believe we have meritorious defenses to these claims, an unfavorable outcome in these lawsuits could seriously harm our business. If these or other matters continue in the future or we need to enter into licensing arrangements, which may not be available to us or on terms favorable to us, it may increase our costs and decrease the value of our products, and our business could be seriously harmed.
We may from time to time become a party to litigation, other legal or administrative disputes and proceedings that may materially and adversely affect us.
In the course of our ordinary business operations, we may become a party to litigation, legal proceedings, claims, disputes or arbitration proceedings from time to time. Were any proceedings, claims, disputes or arbitration to arise, these may distract our senior management’s attention and consume our time and other resources. In addition, even if we ultimately succeed in such proceedings, there may be negative publicity created in the course of or surrounding such proceedings, which may materially and adversely affect our reputation. In the case of an adverse verdict, we may be required to pay significant monetary damages, assume significant liabilities or suspend or terminate parts of our operations. As a result, our business, financial condition, results of operations and prospects may be materially and adversely affected.
Risks Related to Doing Business in China
Changes in China’s economic, political or social conditions or government policies could materially and adversely on HZJL’s, and following the Business Combination, PubCo’s business, results of operations, financial condition, and the value of PubCo’s securities.
All of our operations are located in China and substantially all of our assets are located in China. Accordingly, HZJL’s, and following the Business Combination, PubCo’s business, results of operations and financial condition may be influenced by the PRC political, economic and social conditions.
The economic, political and social conditions in China differ from those of the countries in other jurisdictions in many respects, including the role of the government in economic development, level of development, allocation of resources, administration of the foreign exchange and growth rate. Over the past decades, the PRC government has taken various measures to promote the market economy and encourage entities to establish sound corporate governance. The PRC government also regulates and oversees China’s economic growth by strategically allocating resources, controlling the payment of foreign currency-denominated debt, formulating monetary policy and providing preferential treatment to specific industries or companies. Economic reform measures may also be adjusted, modified or applied inconsistently from industry to industry or across different regions of the country, and there can be no assurance that the Chinese government will continue to pursue a policy of economic reform or that the direction of reform will continue to be market friendly.
We conduct our business primarily through our PRC subsidiaries. Our operations in China are governed by PRC laws and regulations. The legal system in China is a civil law system based on written statutes. Unlike common law systems, it is a system in which decided legal cases may be cited for reference but have less precedential value. Many laws, regulations and legal requirements are relatively new and may change from time to time. The PRC legal system is evolving quickly. Uncertainties may arise in the interpretation and enforcement of relevant laws and regulations. New laws and regulations may be promulgated and existing laws and regulations, as well as the interpretation and enforcement thereof, may change quickly. As a result, we may not be aware of our violation of these policies and rules until after the violation. In addition, we cannot predict the effect of future developments in the PRC legal system, particularly with regard to internet-related industries, including the promulgation of new laws, changes to existing laws or the interpretation or enforcement thereof, or the pre emption of local regulations by national laws. Such unpredictability towards our contractual, property (including intellectual property) and procedural rights could adversely affect our business and impede our ability to continue our operations. Furthermore, full litigation progress in China may be protracted and result in substantial costs and diversion of resources and management attention.
| 48 |
In addition, new laws and regulations may be enacted from time to time and substantial uncertainties exist regarding the interpretation and implementation of current and any future PRC laws and regulations applicable to our businesses. In particular, the PRC government authorities may continue to promulgate new laws, regulations, rules and guidelines governing internet companies with respect to a wide range of issues, such as intellectual property, competition and antitrust, privacy and data protection, and other matters, which may result in additional obligations imposed on us. Compliance with these laws, regulations, rules, guidelines, and implementations may be costly, and any incompliance or associated inquiries, investigations, and other governmental actions may divert significant management time and attention and our financial resources, bring negative publicity, subject us to liabilities or administrative penalties, or materially and adversely affect our business, financial condition, and results of operations.
We may be adversely affected by the complexity and evolvement in PRC regulation of internet-related businesses and companies, and any lack of requisite approvals, licenses or permits applicable to our business may have a material adverse effect on our business and results of operations.
The PRC government extensively regulates the internet industry, including foreign ownership of, and the licensing and permit requirements pertaining to, companies in the internet industry. These internet-related laws and regulations are relatively new and evolving, and their interpretation and enforcement may involve uncertainties. As a result, in certain circumstances it may be difficult to determine what actions or omissions may be deemed to be in violation of applicable laws and regulations.
The evolving PRC regulatory system for the internet industry may lead to the establishment of new regulatory agencies. For example, in May 2011, the State Council announced the establishment of the State Internet Information Office (with the involvement of the State Council Information Office, MIIT, and the Ministry of Public Security). The primary role of the State Internet Information Office is to facilitate the policy-making and legislative development in this field, to direct and coordinate with the relevant departments in connection with the relevant administration and to deal with cross-ministry regulatory matters in relation to the internet industry.
We are required to hold a number of licenses and permits for our business operation, including food operating permit and value-added telecommunications business license. Furthermore, as we offer and plan to continue to offer content in various formats, including certain video and live streaming content on our Platform, our content offerings may be considered as online transmission of audio and video programs, if the PRC regulatory authorities deem that we are not in compliance with the relevant legal requirements to hold a valid audio-visual permit or other registration or filing to cover the video and live streaming content, we may be subject to fines, penalties, and/or orders to cease offering video and live streaming content, shut down website or revoke licenses, which may materially and adversely affect our business, financial condition, and results of operations.
The interpretation and application of existing PRC laws, regulations and policies and possible new laws, regulations or policies relating to the internet industry may create uncertainties regarding the legality of existing and future foreign investments in, and the businesses and activities of, internet businesses in China, including our business. We cannot assure you that we have obtained all the permits or licenses or filings required for conducting our business in China or will be able to maintain our existing licenses or obtain new ones. If the PRC government considers that we were operating without the proper approvals, licenses or permits or filings or promulgates new laws and regulations that require additional approvals or licenses or imposes additional restrictions on the operation of any part of our business, it has the power, among other things, to levy fines, confiscate our income, revoke our business licenses, and require us to discontinue our relevant business or impose restrictions on the affected portion of our business. Any of these actions by the PRC government may have a material adverse effect on our business and results of operations.
We may be classified as a “PRC resident enterprise” for PRC enterprise income tax purposes, which could result in unfavourable tax consequences to us and our shareholders and have a material adverse effect on our results of operations and the value of your investment.
Under the People’s Republic of China Enterprise Income Tax Law, or the EIT Law, which became effective on November 22, 2024, and was most recently amended on December 29, 2018, an enterprise established outside China whose “de facto management body” is located in China is considered a “PRC resident enterprise” and will generally be subject to the uniform 25% enterprise income tax rate, or the EIT rate, on its global income. Under the implementation rules of the EIT Law, “de facto management body” is defined as the organization body that effectively exercises full management and control over such aspects as the business operations, personnel, accounting and properties of the enterprise.
| 49 |
On April 22, 2009, State Administration of Taxation, or SAT, released the Circular Regarding the Determination of Chinese-Controlled Offshore Incorporated Enterprises as People’s Republic of China Tax Resident Enterprises on the Basis of De Facto Management Bodies, or Circular 82, which was amended on December 22, 2017, that sets out the standards and procedures for determining whether the “de facto management body” of an enterprise registered outside of China and controlled by PRC enterprises or PRC enterprise groups is located within China. Further to SAT Circular 82, on July 27, 2011, SAT issued the Administrative Measures for Enterprise Income Tax of Chinese-Controlled Offshore Incorporated Resident Enterprises (Trial), or SAT Bulletin 45, to provide more guidance on the implementation of SAT Circular 82, which became effective on September 1, 2011 and latest revised on June 15, 2018. SAT Bulletin 45clarified certain issues in the areas of resident status determination, post-determination administration and competent tax authorities’ procedures.
Under Circular 82, a foreign enterprise controlled by a PRC enterprise or PRC enterprise group is considered a PRC resident enterprise if all of the following apply: (i) the senior management and core management departments in charge of daily operations are located mainly within China;(ii) financial and human resources decisions are subject to determination or approval by persons or bodies in China; (iii) major assets, accounting books, company seals, and minutes and files of board and shareholders’ meetings are located or kept within China; and (iv) at least half of the enterprise’s directors with voting rights or senior management reside within China. SAT Bulletin 45 specifies that when provided with a copy of Chinese tax resident determination certificate from a resident Chinese controlled offshore incorporated enterprise, the payer should not withhold 10% income tax when paying the Chinese-sourced dividends, interest, royalties, etc. to the PRC controlled offshore incorporated enterprise.
Although Circular 82 and SAT Bulletin 45 explicitly provide that the above standards only apply to enterprises which are registered outside of China and controlled by PRC enterprises or PRC enterprise groups, not those controlled by PRC individuals or foreign individuals, Circular 82 and SAT Bulletin 45 may reflect SAT’s criteria for how the “de facto management body” test should be applied in determining the tax residence of foreign enterprises in general, regardless of whether they are controlled by PRC enterprises or PRC enterprise groups or by PRC or foreign individuals. If the PRC tax authorities determine that we were treated as a PRC resident enterprise for PRC enterprise income tax purposes, the 25% PRC enterprise income tax on our global taxable income could materially and adversely affect our ability to satisfy any cash requirements we may have.
The approval of and filing with the CSRC or other PRC government authorities may be required in connection with this Business Combination under PRC law, and, if so required, we cannot predict whether or when we will be able to obtain such approval or complete such filing, and even if we obtain such approval, this Business Combination also needs to be completed within the validity period of such approval.
Regulations on Mergers and Acquisitions of Domestic Enterprises by Foreign Investors (the “M&A Rules”), adopted by six PRC regulatory agencies in 2006 and amended in 2009, require an overseas special purpose vehicle formed for listing purposes through acquisitions of PRC domestic companies or assets and controlled by PRC individuals or entities to obtain the approval of the CSRC prior to the listing and trading of such special purpose vehicle’s securities on an overseas stock exchange. The interpretation and application of the regulations remain unclear, and the listing of our securities after the completion of the Business Combination and our offshore offerings may ultimately require approval of the CSRC. If the CSRC approval is required, it is uncertain whether we can or how long it will take us to obtain the approval. Any failure to obtain or delay in obtaining the CSRC approval for any of our offshore offerings would subject us to sanctions imposed by the CSRC or other PRC regulatory authorities, which could include fines and penalties on our operations in China, restrictions or limitations on our ability to pay dividends outside of China, and other forms of sanctions that may materially and adversely affect our business, financial condition and results of operations.
On July 6, 2021, the General Office of the Central Committee of the Communist Party of China and the General Office of the State Council jointly issued the Opinions on Severely Cracking Down on Illegal Securities Activities (the “Opinions”), which emphasized the need to strengthen administration over illegal securities activities and supervision of overseas listings by China-based companies. The Opinions proposed promoting regulatory systems to deal with risks facing China-based overseas-listed companies, and provided that the State Council will revise provisions regarding the overseas issuance and listing of shares by companies limited by shares and will clarify the duties of domestic regulatory authorities.
On September 6, 2024, National Development and Reform Commission(“NDRC”) and the Ministry of Commerce of the People’s Republic of China (“MOFCOM”) jointly issued the Special Administrative Measures for Entry of Foreign Investment (Negative List) (2024 Version) (the “Negative List”), which became effective and replaced the previous version on November 1, 2024. According to the Negative List, domestic enterprises engaging in businesses in which foreign investment is prohibited shall obtain approval from the relevant authorities before offering and listing their shares on an overseas stock exchange. In addition, certain foreign investors shall not be involved in the operation or management of the relevant enterprise, and shareholding percentage restrictions under relevant domestic securities investment management regulations shall apply to such foreign investors.
| 50 |
Since HZJL is not engaged in businesses in which foreign investment is prohibited, Han Kun PRC believes that it is not required to obtain such approval under the Negative List. However, some of the abovementioned laws, regulations and policies were recently promulgated or issued, their interpretation, application and enforcement are subject to uncertainties, and uncertainties remain regarding the interpretation and implementation of the new rules and regulations.
To the extent cash/assets in the business are in the PRC/Hong Kong or a PRC/Hong Kong entity, the funds/assets may not be available to fund operations or for other use outside of the PRC/Hong Kong due to interventions in or the imposition of restrictions and limitations by the PRC government on our or our subsidiaries’ ability to transfer cash/assets.
Cash transfers from our PRC subsidiaries to entities outside of mainland China are subject to PRC government controls on currency conversion. As a result, cash in mainland China may not be available to fund operations or for other use outside of mainland China due to interventions in or the imposition of restrictions and limitations on our PRC subsidiaries’ ability to transfer cash. There is no assurance the PRC government will not intervene in or impose restrictions on us and our subsidiaries to transfer cash. Although currently there are no equivalent or similar restrictions or limitations in Hong Kong on cash transfers in, or out of, our subsidiaries in Hong Kong, if certain restrictions or limitations in mainland China were to become applicable to cash transfers in and out of Hong Kong entities in the future, the funds in our subsidiaries in Hong Kong, likewise, may not be available to fund operations or for other use outside of Hong Kong. To the extent cash/assets in the business are in the PRC/Hong Kong or a PRC/Hong Kong entity, the funds/assets may not be available to fund operations or for other use outside of the PRC/Hong Kong due to interventions in or the imposition of restrictions and limitations by the PRC government on our or our subsidiaries’ ability to transfer cash/assets.
PRC regulatory authorities could disallow our holding company structure.
We are not a Chinese operating company but a Cayman Islands holding company with operations primarily conducted through its subsidiaries in China, namely (i)Yangzhou Xiyue Information Technology Co., Ltd.; (ii) Hangzhou Wujie Growth Technology Co., Ltd.; (iii) Hangzhou Zhulin Technology Co., Ltd.; (iv) Hangzhou Yanwei Catering Management Co., Ltd.; and (v) Huzhou Jisheng Culture and Media Co., Ltd. Under this holding company structure, investors of the Shares are purchasing equity interests in the Cayman Islands holding company. This holding company structure involves unique risks to investors and investors may never hold equity interests in our Chinese operating companies. Chinese regulatory authorities could disallow our structure which, in turn, would likely result in a material change in our operations or the value of our Shares. In such an event, the value of our Shares that you invest in could significantly decline or become worthless.
Laws regulating foreign investment in China include the PRC Foreign Investment Law effective from January 1, 2020, and the Regulation on Implementing the PRC Foreign Investment Law (the “Implementation Regulations”), effective from January 1, 2020. The PRC Foreign Investment Law specifies that foreign investments shall be conducted in line with the Negative List to be issued or approved to be issued by the State Council. While we do not operate in an industry that is currently subject to foreign investment restrictions or prohibitions in China, it is uncertain whether our industry will be named in an updated Negative List to be issued in the future. If our industry is added to the Negative List or if the PRC regulatory authorities otherwise decide to limit foreign ownership in our industry, there could be a risk that we would be unable to do business in China as we are currently structured. If any new laws and/or regulations on foreign investments in China are promulgated and implemented, such changes could have a significant impact on our current corporate structure, which in turn could have a material adverse impact on our business and operations, our ability to raise capital and the market price of our Shares. In such event, despite our efforts to restructure to comply with the then applicable PRC laws and regulations in order to continue our operations in China, we may experience material changes in our business and results of operations, our attempts may prove to be futile due to factors beyond our control, and the value of the Shares you invest in may significantly decline or become worthless.
The continued U.S. regulatory and legislative focus, including the enactment of the HFCAA, may adversely affect the market price of our Class A Ordinary Shares and may eventually require us to delist our securities from the U.S. markets.
Under U.S. securities laws, publicly listed companies are required to have their financial statements audited by independent public accounting firms registered with the Public Company Accounting Oversight Board (the “PCAOB”). Under the Sarbanes-Oxley Act, the PCAOB is required to inspect the PCAOB-registered accounting firms to assess compliance with auditing standards and bring enforcement actions for non-compliance with such standards. If requested by the PCAOB or the SEC, PCAOB-registered accounting firms are required to provide the audit work papers and other related information for inspection. However, Article 177 of the revised PRC Securities Law prohibits, without the approval of the securities regulatory authority in China, (i) foreign securities regulators from engaging in any inspection activities within China and (ii) anyone from providing any documents or materials relating to capital markets activities to foreign parties. To seek a framework for cooperation, in May 2013, the PCAOB entered into a Memorandum of Understanding on Enforcement Cooperation (“MOU”), with the CSRC and the Ministry of Finance (“MoF”), which establishes a cooperative framework among the parties for the production and exchange of audit documents relevant to investigations undertaken by the PCAOB, the CSRC, or the MoF in the United States and the PRC, respectively. Despite the MOU, the Chairmen of each of the SEC and the PCAOB issued a joint statement in December 2018 alleging continuing, significant issues relating to the ability of the PCAOB to inspect the audit work papers and practices of PCAOB-registered accounting firms in China with respect to their audit work of U.S.-listed companies with operations in China. The SEC and the PCAOB reiterated these allegations and highlighted such risks in another joint statement in April 2020.
| 51 |
As part of the continued regulatory scrutiny in the United States on access to audit and other information currently protected by laws in China, in December 2020, the U.S. Congress passed the Holding Foreign Companies Accountable Act (the “HFCAA”), which was passed by the U.S. Senate in May 2020. The HFCAA was signed into law by the President in December 2020. The HFCAA amended the Sarbanes-Oxley Act to require the SEC to determine each company that is required to file periodic reports with the SEC that has retained an accounting firm: (i) that is located in a foreign jurisdiction; and (ii) whom the PCAOB is unable to inspect or investigate due to the position taken by an authority in the foreign jurisdiction (as determined by the PCAOB). If the SEC determines that the PCAOB has been unable to inspect or investigate such accounting firm for three consecutive years, it will prohibit such company from trading its securities on a U.S. securities exchange or in any “over-the-counter” exchange. In addition, in August 2020, the President’s Working Group on Financial Markets (the “PWG”), released a report recommending that the SEC take certain steps, including adopting enhanced listing standards on U.S. stock exchanges, to protect U.S. investors from the perceived risks of Chinese companies. This would require, as a condition to initial and continued listing on a U.S. stock exchange, PCAOB access to work papers of the principal audit firm for the audit of the listed company.
On September 22, 2021, the PCAOB adopted PCAOB Rule 6100, Board Determinations Under the HFCAA, which was approved by the SEC on November 4, 2021. The PCAOB Rule 6100 establishes a framework for the PCAOB to make determinations as to whether PCAOB is unable to inspect an audit firm in a foreign jurisdiction, or a PCAOB-Identified Firm, including the timing, factors, bases, publication and revocation or modification of such determinations, and such determinations will be made on a jurisdiction-wide basis in a consistent manner applicable to all firms headquartered in the jurisdiction. On December 16, 2021, pursuant to PCAOB Rule 6100, PCAOB issued a report setting forth the PCAOB-registered public accounting firms headquartered in Mainland China and Hong Kong that it is unable to inspect or investigate completely.
On December 2, 2021, the SEC adopted amendments to finalize the interim final rules adopted earlier on March 24, 2021 relating to the implementation of certain disclosure and documentation requirements of the HFCAA, or final amendments. Pursuant to the final amendments, promptly after filing an annual report, the SEC will evaluate whether the annual report contains an audit report signed by a PCAOB-Identified Firm. Once a registrant has been so identified, the SEC will provisionally identify such issuer as a “Commission-Identified Issuer” on its website. For a period of 15 business days after the provisional identification, a registrant may contact the SEC if it believes it has been incorrectly identified and may provide evidence supporting such claims. After reviewing the information, the registrant will be notified whether the SEC will conclusively identify the registrant as a “Commission-Identified Issuer.” The SEC will identify registrants pursuant to the HFCAA based on the PCAOB’s determination and on registrants’ annual reports for fiscal years beginning after December 18, 2020. If we are conclusively identified as a “Commission-Identified Issuer” for three consecutive years, the SEC will impose an initial trading prohibition on us as soon as practicable. If the SEC ends the initial trading prohibition and, thereafter, we are again determined to be a “Commission-Identified Issuer,” the SEC will impose a subsequent trading prohibition on us for a minimum of five years. To end an initial or subsequent trading prohibition, we must certify that we have retained or will retain a registered public accounting firm that the PCAOB has determined it is able to inspect or investigate. To make that certification, we must file financial statements that include an audit report signed by such a registered public accounting firm.
Furthermore, on December 29, 2022, the Consolidated Appropriation Act, 2023 was enacted. Among other things, it amended the HFCAA to require the SEC to prohibit an issuer’s securities from trading on any U.S. stock exchanges if its auditor is not subject to PCAOB inspections for two consecutive years instead of three.
On August 26, 2022, the PCAOB signed a Statement of Protocol with the CSRC and the MoF which contains provisions that, if abided by, would give the PCAOB access to inspect and investigate registered public accounting firms headquartered in mainland China and Hong Kong completely. On December 15, 2022, the PCAOB announced that it was able to conduct inspections and investigations completely of PCAOB registered public accounting firms headquartered in mainland China and Hong Kong in 2022. The PCAOB vacated its previous determinations accordingly.
As a result of the Consolidated Appropriations Act, 2023, the HFCAA now also applies if the PCAOB’s inability to inspect or investigate the relevant accounting firm is due to a position taken by an authority in any foreign jurisdiction. The denying jurisdiction does not need to be where the accounting firm is located. However, whether the PCAOB will continue to conduct inspections and investigations completely to its satisfaction of PCAOB-registered public accounting firms headquartered in mainland China and Hong Kong is subject to uncertainty and depends on a number of factors out of our, and our auditor’s, control, including positions taken by authorities of the PRC and the PCAOB. The PCAOB is expected to continue to demand complete access to inspections and investigations against accounting firms headquartered in mainland China and Hong Kong in the future and states that it has already made plans to resume regular inspections in early 2023 and beyond. The PCAOB is required under the HFCAA to make its determination on an annual basis with regards to its ability to inspect and investigate completely accounting firms based in mainland China and Hong Kong. The possibility of being a “Commission-Identified Issuer” and risk of delisting could continue to adversely affect the trading price of our securities.
| 52 |
If the PCAOB determines in the future that it no longer has full access to inspect and investigate accounting firms headquartered in mainland China and Hong Kong and we use such accounting firm to conduct audit work, we would be identified as a “Commission-Identified Issuer” under the HFCAA following the filing of the annual report for the relevant fiscal year, and if we were so identified for two consecutive years, trading in our securities on U.S. markets would be prohibited. Such a prohibition would substantially impair your ability to sell or purchase the shares when you wish to do so. The market price of the shares could be materially and adversely affected as a result of anticipated negative impacts of these actions upon, as well as negative investor sentiment towards, companies with significant operations in China that are listed in the United States, regardless of whether these actions are implemented and regardless of our actual operating performance. Also, such a prohibition would significantly affect our ability to raise capital on terms acceptable to us, or at all, which would have a material adverse impact on our business, financial condition and prospects.
Our auditor, Enrome LLP, the independent registered public accounting firm that issues the audit report included elsewhere in this prospectus, as an auditor of companies that are traded publicly in the United States and a firm registered with the PCAOB, is subject to laws in the United States pursuant to which the PCAOB conducts regular inspections to assess its compliance with the applicable professional standards.
Complying with evolving laws and regulations regarding cybersecurity, information security, privacy and data protection and other related laws and requirements may entail significant expenses which may have an adverse effect on our business, financial conditions and results of operations.
The PRC regulatory and enforcement regime with regard to data security and data protection is evolving. We may be required by Chinese governmental authorities to protect personal information and data that we collect to comply with PRC laws relating to cybersecurity. All these laws and regulations may result in additional expenses to us and subject us to negative publicity which could harm our reputation and negatively affect the trading price of our Ordinary Shares. There are also uncertainties with respect to how these laws will be implemented in practice. PRC regulators have been increasingly focused on regulation in the areas of data security and data protection. We expect that these areas will receive greater attention and focus from regulators, as well as attract continued or greater public scrutiny and attention going forward, which could increase our compliance costs and subject us to heightened risks and challenges associated with data security and protection. We cannot assure you that the measures we have taken are always sufficient and effective. If we are unable to manage these risks, we could become subject to penalties, fines, suspension of business and revocation of required licenses, and our reputation and results of operations could be materially and adversely affected.
Recent regulation by the Cyberspace Administration of China (“CAC”) over data security, particularly for companies seeking to list on a foreign exchange, could adversely impact our PRC subsidiaries’ business and our offering.
On December 28, 2021, 13 governmental departments of the PRC, including the CAC, jointly promulgated the Cybersecurity Review Measures, which became effective on February 15, 2022. The Cybersecurity Review Measures provide that, in addition to critical information infrastructure operators (“CIIOs”) that intend to purchase Internet products and services, online platform operators engaging in data processing activities that affect or may affect national security must be subject to cybersecurity review by the Cybersecurity Review Office of the PRC. According to the Cybersecurity Review Measures, a cybersecurity review assesses potential national security risks that may be brought about by any procurement, data processing, or overseas listing. The Cybersecurity Review Measures require that an online platform operator which possesses the personal information of more than one million users must apply for a cybersecurity review by the CAC if it intends to be listed in foreign country. The relevant governmental authorities may also initiate cybersecurity review if such governmental authorities consider relevant network products or services and data processing affect or may affect national security.
On September 24, 2024, the CAC promulgated the Regulations on the Network Data Security Management (the “Security Administration Regulations”), which became effective on January 1, 2025, and provides that data processing operators engaging in data processing activities that affect or may affect national security must be subject to cybersecurity review by the relevant Cyberspace Administration of the PRC.
| 53 |
As of the date of this prospectus, we have not received any notice from any authorities identifying our PRC subsidiaries as CIIOs or requiring us to go through cybersecurity review or network data security review by the CAC. It is the opinion of our PRC counsel, Han Kun Law Offices, that neither the operations of our PRC subsidiaries, nor our listing are expected to be affected, and that we are not subject to cybersecurity review by the CAC under the Cybersecurity Review Measures, nor will any such entity be subject to the Security Administration Regulations. We believe we are fully compliant with the regulations or policies that have been issued by the CAC to date. There remains uncertainty, however, as to how the Cybersecurity Review Measures and the Security Administration Regulations will be interpreted or implemented and whether the PRC regulatory agencies, including the CAC, may adopt new laws, regulations, rules, or detailed implementation and interpretation related to the Cybersecurity Review Measures and the Security Administration Regulations. If any such new laws, regulations, rules, or implementation and interpretation come into effect, we expect to take all reasonable measures and actions to comply and to minimize the adverse effect of such laws on us. We cannot guarantee, however, that our PRC subsidiaries will not be subject to cybersecurity review and network data security review in the future. During such reviews, our PRC subsidiaries may be required to suspend their operations or experience other disruptions to their operations. Cybersecurity review and network data security review could also result in negative publicity with respect to our Company and diversion of our managerial and financial resources, which could materially and adversely affect our business, financial conditions, and results of operations.
Laws and regulations regarding cybersecurity and information security could materially and adversely affect our business, financial conditions, and results of operations.
According to the PRC National Security Law, the State shall establish institutions and mechanisms for national security review and regulation, conduct national security review on certain matters which affect or may affect the national security, such as key technologies and IT products and services. According to the Cybersecurity Law and relevant regulations, network constructors, network operators and service providers that provide services via network are obligated to take technical and other necessary measures to ensure the security and stable operation of network, maintain the integrity, confidentiality and availability of network data, and furthermore provide technical assistance and support in accordance with the law for public security and national security authorities to protect national security or assist with criminal investigations. In addition, the Cybersecurity Law provides that personal information and important data collected and generated by operators of critical information infrastructure in the course of their operations in the PRC should be stored in the PRC, and the law imposes regulation and security obligations on operators of critical information infrastructure. On September 12, 2022, the CAC proposed a series of draft amendments to the Cybersecurity Law, which impose several legal liabilities for certain violations. Such draft amendments were released for soliciting public comments and its final form, interpretation and implementation remain substantially uncertain.
On June 10, 2021, the Standing Committee of the National People’s Congress of China (“SCNPC”) promulgated the Data Security Law, which came into effect on September 1, 2021. The Data Security Law provides for data security and privacy obligations on entities and individuals carrying out data processing activities, introduces a data classification and hierarchical protection system based on the importance of data in economic and social development, as well as the degree of harm it will cause to national security, public interests, or legitimate rights and interests of individuals or organizations when such data is tampered with, destroyed, leaked, or illegally acquired or used, provides for a national security review procedure for those data activities which may affect national security and imposes export restrictions on certain data and information. The Data Security Law provides that “data” refers to any recording of information by electronic or other means. Data processing includes the collection, storage, use, processing, transmission, availability and disclosure of data, etc. If we are found to have violated any of the laws and regulations regarding cybersecurity and information security, our business, financial conditions, and results of operations could be materially and adversely affected.
Laws and regulations governing cybersecurity, information security, privacy and data protection, the use of the internet as a commercial medium, the use of data in artificial intelligence and machine learning, and data sovereignty requirements are still rapidly evolving and subject to change.
| 54 |
Laws and regulations regarding the security assessment could materially and adversely affect our business, financial conditions, and results of operations.
On July 7, 2022, the CAC promulgated the Security Assessment Measures, which took effect on September 1, 2022. Pursuant to the Security Assessment Measures, a data processor shall apply to competent authorities for security assessment prior to transferring any data abroad if the transfer involves (i) important data; (ii) personal information transferred overseas by a CIIO and a data processor that has processed personal information of more than one million individuals; (iii) personal information transferred overseas by a data processor who has already provided personal information of 100,000 persons or sensitive personal information of 10,000 persons overseas since January 1 of the previous year; or (iv) other circumstances as requested by the CAC. Furthermore, on March 22, 2024, the CAC promulgated the Guide to Applications for Security Assessment of Outbound Data Transfers (Second Edition), which provides that any of the following circumstances is deemed as the act of outbound data transfers: (i) a data handler transfers abroad the data collected and generated from its operation within the territory of China; (ii) the data collected and generated by the data handler is stored within China for inquiry, retrieval, download and export by overseas agencies, organizations or individuals; and (iii) other data handling activities such as handling of the personal information of domestic natural persons abroad under the circumstances specified in Paragraph 2 of Article 3 of the Personal Information Protection Law. As of the date of this prospectus, we do not transfer any users’ personal information or important data outside of China.
However, we cannot assure you that we will be able to comply with new laws and regulations in all respects, and we may be ordered to rectify, suspend or terminate any actions or services that are deemed illegal by the regulatory authorities and become subject to material penalties, which may materially harm our business, financial condition, results of operations and prospects.
These promulgated laws and regulations reflect PRC government’s recent efforts to strengthen the legal protection for the national network security, the security of key information infrastructure and the security of personal information protection. Compliance with these laws and regulations will affect how we market our products, how we operate our business, how our customers process and share data, how we process and use data, and how we transfer personal data from one jurisdiction to another, which could negatively impact the demand for our products and services.
We may incur substantial costs to comply with such laws and regulations, to meet the demands of our customers relating to their own compliance with applicable laws and regulations, and to establish and maintain internal compliance policies.
Moreover, different regulatory bodies in China, including among others, the MIIT, the CAC and the Ministry of Public Security have enforced laws and regulations regarding cybersecurity, information security, privacy and data protection separately.
We have established rigorous and comprehensive policies and other documentation for the collection, processing, sharing, disclosure authorization and other aspects of data use and privacy and taken necessary measures to comply with the applicable laws and regulations regarding cybersecurity, information security, privacy and data protection. However, we cannot guarantee the effectiveness of these policies and measures undertaken by us, our employees or other business partners. We may be from time to time required to rectify or further improve our measures regarding cybersecurity, information security, privacy and data protection. Any failure or perceived failure by us to comply with all applicable laws and regulations regarding cybersecurity, information security, privacy and data protection, or any failure or perceived failure of our business partners to do so, or any failure or perceived failure of our employees to comply with our internal control measures, may result in negative publicity and legal proceedings or regulatory actions against us, and could result in fines, revocation of licenses, suspension of relevant operations or other legal or administrative penalties, which may in turn damage our reputation, discourage our current and potential consumers and subject us to fines and damages, which could have a material adverse effect on our business and results of operations. In addition, it is possible that we may become subject to additional or new laws and regulations regarding cybersecurity, information security, privacy and data protection in other jurisdictions if we extend our business outside of the PRC in the future, which may result in additional expenses to us and subject us to potential liability and negative publicity. We expect that these areas will receive greater attention and focus from regulators, and attract continued or greater public scrutiny and attention going forward, which could increase our compliance costs and subject us to heightened risks and challenges regarding cybersecurity, information security, privacy and data protection. If we are unable to manage these risks, we could become subject to penalties, fines, suspension of business and revocation of required licenses, and our reputation and results of operations could be materially and adversely affected.
| 55 |
You may experience difficulties in effecting service of legal process, enforcing foreign judgments or bringing actions in China against us or our management named in the prospectus based on foreign laws.
We are an exempted company incorporated under the laws of the Cayman Islands, while we conduct substantially all of our operations in China and substantially all of our assets are located in China. In addition, all our senior executive officers reside within China for a significant portion of time and all of them are PRC nationals. As a result, it may be difficult for our shareholders to effect service of process upon us or our management residing in China. It may also be difficult for you to enforce in U.S. courts of the judgments obtained in U.S. courts based on the civil liability provisions of the U.S. federal securities laws against us and our officers and directors as none of them currently resides in the United States or has substantial assets located in the United States. In addition, China does not have treaties providing for reciprocal recognition and the enforcement of court judgments with the Cayman Islands and some other countries and regions. Therefore, recognition and enforcement in China of court judgment in any of these non-PRC jurisdictions in relation to any matter not subject to a binding arbitration provision may be difficult or impossible.
The recognition and enforcement of foreign judgments are provided for under the PRC Civil Procedures Law. PRC courts may recognize and enforce foreign judgments in accordance with the requirements of the PRC Civil Procedures Law and other applicable laws, regulations and interpretations based either on treaties between China and the country where the judgment is made or on principles of reciprocity between jurisdictions. In addition, according to the PRC Civil Procedures Law, the PRC courts will not enforce a foreign judgment against us or our directors and officers if they decide that the judgment violates the basic principles of PRC laws or national sovereignty, security or public interest. As a result, it is uncertain whether and on what basis a PRC court would enforce a judgment rendered by a court in the United States. Furthermore, class action lawsuits, which are available in the United States for investors to seek remedies, are generally uncommon in China.
It may be difficult for overseas regulators to conduct investigation or collect evidence within China.
Shareholders’ claims or regulatory investigation that are common in the United States generally are difficult to pursue as a matter of law or practicality in China. For instance, in China, there are significant legal and other obstacles to providing information needed for regulatory investigations or litigations initiated outside of China. Although the authorities in China may establish a regulatory cooperation mechanism with the securities regulatory authorities of another country or region to implement cross-border supervision and administration, such cooperation with the securities regulatory authorities in the Unities States may not be efficient in the absence of mutual and practical cooperation mechanism. Furthermore, according to Article 177 of the PRC Securities Law, which became effective in March 2020, no overseas securities regulator is allowed to directly conduct investigation or evidence collection activities within the territory of the PRC.
In addition, entities or individuals are prohibited from providing documents and information in connection with any securities business activities to any organizations and/or persons abroad without the prior consent of the securities regulatory authority of the State Council and the competent departments of the State Council. While detailed interpretation of or implementation rules under the article have yet to be promulgated, the inability for an overseas securities regulator to directly conduct investigation or evidence collection activities within China may further increase difficulties faced by you in protecting your interests.
If we fail to maintain or renew the value-added telecommunication license, or fail to obtain other requisite license, or approvals or filings in China, the business carried out by certain consolidated entity may be materially and adversely affected.
Under the relevant PRC laws, commercial operators of value-added telecommunication services, which refer to providers of telecommunications and information services through public network infrastructures that provide information or services to internet users with a charge, shall obtain a value-added telecommunications business operation license. See “Item 4. Information on the Company—B. Business Overview—Regulations—Regulations on Value-added Telecommunication Services” and “—Regulations on Internet Content Providers.” In March 2023, Hangzhou Zhulin Technology Co., Ltd. obtained the value-added telecommunication license that has a validity term of five years from the relevant local counterpart of the MIIT. We are subject to ongoing obligations and continued regulatory review. If we fail to maintain or renew the value-added telecommunication license, or fail to obtain any additional licenses and permits or make any records or filings required by new laws, regulations or executive orders in a timely manner or at all, we could be subject to liabilities or penalties, and we may have to change our business models, and our operations could be adversely affected. In addition, new laws and regulations may be adopted from time to time to address new issues that come to the authorities’ attention, which may require us to obtain new license and permits, or take certain actions that may adversely affect our business operations. We may not timely obtain or maintain all the required licenses or approvals or make all the necessary filings. Nor can we assure you that we will be able to timely address all the change in policy, failure of which may subject us to liabilities or penalties, and our operations could be adversely affected.
| 56 |
We face uncertainties with respect to indirect transfer of equity interests in PRC resident enterprises by their non-PRC holding companies.
We face uncertainties with regards to the reporting on and consequences of previous private equity financing transactions involving the transfer and exchange of shares in our Company by non-resident investors. In February 2015, the SAT issued the Bulletin on Issues of Enterprise Income Tax on Indirect Transfers of Assets by Non-PRC Resident Enterprises (“Bulletin 7”). Pursuant to Bulletin 7, an “indirect transfer” of PRC assets, including a transfer of equity interests in an unlisted non-PRC holding company of a PRC resident enterprise, by non-PRC resident enterprises may be re-characterized and treated as a direct transfer of the underlying PRC assets, if such arrangement does not have a reasonable commercial purpose and was established for the purpose of avoiding payment of PRC enterprise income tax. As a result, gains derived from such indirect transfer may be subject to PRC enterprise income tax, and the transferee or other person who is obligated to pay for the transfer is obligated to withhold the applicable taxes, currently at a rate of 10% for the transfer of equity interests in a PRC resident enterprise. On October 17, 2017, the SAT issued the Announcement of the State Administration of Taxation on Issues Concerning the Withholding of Non-resident Enterprise Income Tax at Source (“Bulletin 37”), which came into effect on December 1, 2017. Bulletin 37 further clarifies the practice and procedures of the withholding of non-resident enterprise income tax.
We face uncertainties on the reporting and consequences of future private equity financing transactions, share exchanges or other transactions involving the transfer of shares in our Company by investors that are non-PRC resident enterprises. The PRC tax authorities may pursue such non-resident enterprises with respect to a filing or the transferees with respect to withholding obligations, and request our PRC subsidiaries to assist in the filing. As a result, we and the non-resident enterprises in such transactions may be subject to filing obligations or to be taxed under Bulletin 7 and Bulletin 37, and may be required to expend valuable resources to comply with them or to establish that we and our non-resident enterprises should not be taxed under these regulations.
The PRC tax authorities have the discretion under Bulletin 7 to make adjustments to the taxable capital gains based on the difference between the fair value of the taxable assets transferred and the cost of investment. If the PRC tax authorities make adjustments to the taxable income of the transactions under Bulletin 7, our income tax costs associated with such transactions will be increased, which may have an adverse effect on our financial condition and results of operations. We cannot assure you that the PRC tax authorities will not, at their discretion, adjust any capital gains and impose tax return filing obligations on us or require us to provide assistance to them for the investigation of any transactions which we were involved in. Heightened scrutiny over acquisition transactions by the PRC tax authorities may have a negative impact on the potential acquisitions that we may pursue in the future.
| 57 |
Failure to comply with PRC laws and regulations regarding certain of our leased properties may expose us to potential fines and negatively affect our business, financial conditions and results of operations.
Under the applicable PRC laws and regulations, the parties to a lease agreement are required to register and file such lease agreement with the relevant government authorities. As of the date of this prospectus, some of our leasehold interests in leased properties have not been registered with the relevant PRC government authorities as required by the PRC laws, which may expose us to potential fines if we fail to remediate after receiving any notice from the relevant PRC government authorities. As advised by our PRC Legal Counsel, failure to complete the lease registration will not affect the validity of the lease agreements nor our rights to use or occupy the leased properties under the current PRC laws and regulations, but the real estate administrative authorities may require us to complete the lease registration within a prescribed period of time, and the failure to do so may subject us to a fine ranging from RMB1,000 to RMB10,000 for each non-registered lease.
Certain lessors of our leased properties have not provided us with valid property ownership certificates or any other documentation proving their right to lease those properties to us. If our lessors are not the owners of the properties or they have not obtained consents from the owners or their lessors or permits from the relevant government authorities, our leases could be invalidated. As a result, we may be challenged by the legal owners of the properties or other third parties and may be forced to vacate the relevant properties and relocate our offices. Additionally, we may face administration penalties because the registered addresses of some of our PRC subsidiaries are not consistent with their actual operating offices. As of the date of this prospectus, we are not aware of any actions, claims or investigations threatened against us or our lessors with respect to the defects in our leasehold interests.
PRC regulations relating to offshore investment activities by PRC residents may limit our PRC subsidiaries’ ability to change their registered capital or distribute profits to us or otherwise expose us or our PRC resident beneficial owners to liabilities and penalties under PRC laws. In addition, any failure to comply with PRC regulations with respect to registration requirements for offshore financing may subject us to legal or administrative sanctions.
In July 2014, SAFE promulgated the Circular on Relevant Issues Concerning Foreign Exchange Control on Domestic Residents’ Offshore Investment and Financing and Roundtrip Investment Through Special Purpose Vehicles (“SAFE Circular 37”). SAFE Circular 37 requires PRC residents (including PRC individuals and PRC corporate entities as well as foreign individuals that are deemed as PRC residents for foreign exchange administration purpose) to register with SAFE or its local branches in connection with their direct or indirect offshore investment activities. SAFE Circular 37 further requires amendment to the SAFE registrations in the event of any changes with respect to the basic information of the offshore special purpose vehicle, such as the change of a PRC individual shareholder, name and operation term, or any significant changes with respect to the offshore special purpose vehicle, such as increase or decrease of capital contribution, share transfer or exchange, or mergers or divisions. SAFE Circular 37 is applicable to our shareholders who are PRC residents and may be applicable to any offshore acquisitions that we make in the future.
Under these foreign exchange regulations, PRC residents who make, or have previously made, prior to the implementation of these foreign exchange regulations, direct or indirect investments in offshore companies are required to register those investments. In addition, any PRC resident who is a direct or indirect shareholder of an offshore company is required to update its previously filed SAFE registration, to reflect any material change involving its round-trip investment. If our shareholders who are PRC residents or entities that do not complete their registration with the local SAFE branches, our PRC subsidiaries may be prohibited from distributing its profits and proceeds from any reduction in capital, share transfer or liquidation to us, and we may be restricted in our ability to inject additional capital to our PRC subsidiaries.
In February 2015, SAFE promulgated a Circular on Further Simplifying and Improving Foreign Exchange Administration Policy on Direct Investment, pursuant to which applications for foreign exchange registration of inbound foreign direct investments and outbound overseas direct investments, including those required under SAFE Circular 37, will be filed with qualified banks instead of SAFE. The qualified banks will directly examine the applications and accept registrations under the supervision of SAFE.
We have used our best efforts to notify PRC residents or entities who directly or indirectly hold shares in our Cayman Islands holding company and who are known to us as being PRC residents to complete the foreign exchange registrations. However, we may not be informed of the identities of all the PRC residents or entities holding direct or indirect interest in our Company, nor can we compel our beneficial owners to comply with SAFE registration requirements. As of the date of this prospectus, our shareholders and other PRC residents known to us that currently hold direct or indirect ownership interests in our Company have completed the initial registrations with the local SAFE branch or qualified banks as required by SAFE Circular 37. We cannot assure you that all shareholders or beneficial owners of ours who are PRC residents or entities have complied with, and will in the future make, obtain or update any applicable registrations or approvals required by SAFE regulations.
| 58 |
The failure or inability of such shareholders or beneficial owners to comply with SAFE Circular 37 or other SAFE regulations, or failure by us to amend the foreign exchange registrations of our PRC subsidiaries, could subject us to fines or legal sanctions, restrict our overseas or cross-border investment activities, limit our PRC subsidiaries’ ability to make distributions or pay dividends to us or affect our ownership structure. Moreover, failure to comply with the various foreign exchange registration requirements described above could result in liabilities under PRC law for evasion of applicable foreign exchange restrictions, including (i) the requirement by SAFE to return the foreign exchange remitted overseas or into the PRC within a period of time specified by SAFE, with a fine of up to 30% of the total amount of foreign exchange remitted overseas or into the PRC and deemed to have been evasive or illegal; and (ii) in circumstances involving serious violations, a fine of no less than 30% of and up to the total amount of remitted foreign exchange deemed evasive or illegal.
Furthermore, interpretation and implementation of these foreign exchange regulations have been constantly evolving, it is unclear how they and any future regulations concerning offshore or cross-border transactions will be amended and implemented by the relevant government authorities. For example, we may be subject to a more stringent review and approval process with respect to our foreign exchange activities, such as remittance of dividends and foreign currency-denominated borrowings, which may adversely affect our financial condition and results of operations. In addition, if we decide to acquire a PRC domestic company, we cannot assure you that we or the owners of such company, as the case may be, will be able to obtain the necessary approvals or complete the necessary filings and registrations required by the foreign exchange regulations. This may restrict our ability to implement our acquisition strategy and could adversely affect our business and prospects.
Moreover, our offshore financing activities, such as the issuance of foreign debt, are also subject to PRC laws and regulations. In accordance with such laws and regulations, we may be required to complete filing and registration with the NDRC, prior to such activities. Failure to comply with the requirements may result in administrative meetings, warnings, notifications and /or other regulatory penalties and sanctions.
We may be materially adversely affected if our shareholders and beneficial owners who are PRC entities fail to comply with the relevant PRC overseas investment regulations.
On December 26, 2017, the NDRC promulgated the Administrative Measures on Overseas Investments, which took effect as of March 1, 2018. According to this regulation, non-sensitive overseas investment projects are subject to record-filing requirements with the local branch of the NDRC. On September 6, 2014, the Ministry of Commerce promulgated the Administrative Measures on Overseas Investments, which took effect as of October 6, 2014. According to this regulation, overseas investments of PRC enterprises that involve non-sensitive countries and regions and non-sensitive industries are subject to record-filing requirements with a local branch of the Ministry of Commerce. According to the Circular of the State Administration of Foreign Exchange on Issuing the Regulations on Foreign Exchange Administration of the Overseas Direct Investment of Domestic Institutions, which was promulgated by SAFE on July 13, 2009, and took effect on August 1, 2009. PRC enterprises must register for overseas direct investment with a local SAFE branch.
We may not be fully informed of the identities of all our shareholders or beneficial owners who are PRC entities, and we cannot provide any assurance that all of our shareholders and beneficial owners who are PRC entities will comply with our request to complete the overseas direct investment procedures under the aforementioned regulations or other related rules in a timely manner, or at all. If they fail to complete the filings or registrations required by the overseas direct investment regulations, the relevant authorities may order them to suspend or cease the implementation of such investment and make corrections within a specified time, which may adversely affect our business, financial condition and results of operations.
We may rely on dividends and other distributions on equity paid by our PRC subsidiaries to fund any cash and financing requirements we may have, and any limitation on the ability of our PRC subsidiaries to make payments to us could have a material and adverse effect on our ability to conduct our business.
We are a Cayman Islands holding company and we primarily rely on dividends and other distributions on equity paid by our PRC subsidiaries for our cash and financing requirements, including the funds necessary to pay dividends and other cash distributions to our shareholders for services of any debt we may incur. If our PRC subsidiaries incur debt on its own behalf in the future, the instruments governing the debt may restrict its ability to pay dividends or make other distributions to us. Under PRC laws and regulations, our PRC subsidiaries which are foreign-owned enterprises may pay dividends only out of their respective accumulated profits as determined in accordance with PRC accounting standards and regulations. In addition, a foreign-owned enterprise is required to set aside at least 10% of its accumulated after-tax profits each year, if any, to fund a certain statutory reserve fund, until the aggregate amount of such fund reaches 50% of its registered capital. Such reserve funds cannot be distributed to us as dividends. At its discretion, a foreign-owned enterprise may allocate a portion of its after-tax profits based on PRC accounting standards to an enterprise expansion fund, or a staff welfare and bonus fund.
| 59 |
Our PRC subsidiaries generate essentially all of their revenue in Renminbi, which is not freely convertible into other currencies. As a result, any restriction on currency exchange may limit the ability of our PRC subsidiaries to use their Renminbi revenues to pay dividends to us.
The PRC government may continue to strengthen its capital controls, and more restrictions and substantial vetting process may be put forward by SAFE for cross-border transactions falling under both the current account and the capital account. Any limitation on the ability of our PRC subsidiaries to pay dividends or make other kinds of payments to us could materially and adversely limit our ability to grow, make investments or acquisitions that could be beneficial to our business, pay dividends, or otherwise fund and conduct our business.
In addition, the Enterprise Income Tax Law and its implementation rules provide that a withholding tax rate of up to 10% will be applicable to dividends payable by Chinese companies to non-PRC-resident enterprises unless otherwise exempted or reduced according to treaties or arrangements between the PRC central government and governments of other countries or regions where the non-PRC resident enterprises are incorporated. Any limitation on the ability of our PRC subsidiaries to pay dividends or make other distributions to us could materially and adversely limit our ability to grow, make investments or acquisitions that could be beneficial to our business, pay dividends, or otherwise fund and conduct our business.
PRC regulation of loans to and direct investment in PRC entities by offshore holding companies may delay or prevent us from using the proceeds of the IPO to make loans or additional capital contributions to our PRC subsidiaries in China, which could materially and adversely affect our liquidity and our ability to fund and expand our business.
HZJL is an offshore holding company conducting its operations in China through our PRC subsidiaries. HZJL may make loans to our PRC subsidiaries and may inject additional capital contributions to our PRC subsidiaries. Also, it may establish new PRC subsidiaries and make capital contributions to these new PRC subsidiaries, or it may acquire offshore entities with business operations in China in an offshore transaction.
Most of these ways are subject to PRC regulations, approvals and/or registrations. For example, loans by us to our wholly-owned PRC subsidiaries to finance their activities cannot exceed statutory limits and must be registered with the local counterpart of SAFE. If we decide to finance our wholly-owned PRC subsidiaries by means of capital contributions, these capital contributions are subject to registration with the SAMR or its local branch, reporting of foreign investment information with the PRC Ministry of Commerce, or registration with other governmental authorities in China. Due to the restrictions imposed on loans in foreign currencies extended to PRC domestic companies, we are not likely to make such loans to our PRC domestic subsidiaries. Furthermore, we are not likely to finance the activities of our PRC domestic subsidiaries by means of capital contributions due to regulatory restrictions relating to foreign investment in PRC domestic enterprises engaged in certain businesses.
SAFE promulgated the Notice of the State Administration of Foreign Exchange on Reforming the Administration of Foreign Exchange Settlement of Capital of Foreign-invested Enterprises (“SAFE Circular 19”), effective on June 2015, in replacement of the Circular on the Relevant Operating Issues Concerning the Improvement of the Administration of the Payment and Settlement of Foreign Currency Capital of Foreign-Invested Enterprises, the Notice from the State Administration of Foreign Exchange on Relevant Issues Concerning Strengthening the Administration of Foreign Exchange Businesses, and the Circular on Further Clarification and Regulation of the Issues Concerning the Administration of Certain Capital Account Foreign Exchange Businesses.
According to SAFE Circular 19, the flow and use of the RMB capital converted from foreign currency-denominated registered capital of a foreign-invested company is regulated such that RMB capital may not be used for the issuance of RMB entrusted loans, the repayment of inter-enterprise loans or the repayment of banks loans that have been transferred to a third party. Although SAFE Circular 19 allows RMB capital converted from foreign currency-denominated registered capital of a foreign-invested enterprise to be used for equity investments within China, it also reiterates the principle that RMB converted from the foreign currency-denominated capital of a foreign-invested company may not be directly or indirectly used for purposes beyond its business scope. Thus, it is unclear whether SAFE will permit such capital to be used for equity investments in China in actual practice.
| 60 |
SAFE promulgated the Notice of the State Administration of Foreign Exchange on Reforming and Standardizing the Foreign Exchange Settlement Management Policy of Capital Account (“SAFE Circular 16”), effective on June 9, 2016, which reiterates some of the rules set forth in SAFE Circular 19, but changed the prohibition against using RMB capital converted from foreign currency-denominated registered capital of a foreign-invested company to issue RMB entrusted loans to a prohibition against using such capital to issue loans to non-associated enterprises. Violations of SAFE Circular 19 and SAFE Circular 16 could result in administrative penalties. SAFE Circular 19 and SAFE Circular 16 may significantly limit our ability to transfer any foreign currency that we hold, including the net proceeds from the IPO, to our PRC subsidiaries, which may adversely affect our liquidity and our ability to fund and expand our business in China. On October 25, 2019, SAFE promulgated the Notice for Further Advancing the Facilitation of Cross-border Trade and Investment (“SAFE Circular 28”), which, among other things, allows all foreign-invested companies to use Renminbi converted from foreign currency-denominated capital for equity investments in China, as long as the equity investment is genuine, does not violate the applicable laws, and complies with the Negative List on foreign investment. However, it is still unclear how SAFE and competent banks will carry this out in practice.
In light of the various requirements imposed by the PRC regulations on loans to and direct investment in PRC entities by offshore holding companies, we cannot assure you that we will be able to complete the necessary government registrations or obtain the necessary government approvals on a timely basis, or at all, with respect to future loans to our PRC subsidiaries or future capital contributions by us to our PRC subsidiaries. As a result, uncertainties exist as to our ability to provide prompt financial support to our PRC subsidiaries when needed. If we fail to complete such registrations or obtain such approvals, our ability to use the proceeds we expect to receive from the IPO and to capitalize or otherwise fund our PRC operations may be negatively affected, which could materially and adversely affect our liquidity and our ability to fund and expand our business.
Governmental control of currency conversion may limit our ability to utilize our revenues effectively and affect the value of your investment.
The PRC government imposes controls on the convertibility of the Renminbi into foreign currencies and, in certain cases, the remittance of currency out of China. We receive all of our revenues in Renminbi. Under our current corporate structure, our Cayman Islands holding company may rely on dividend payments from our PRC subsidiaries to fund any cash and financing requirements that we may have. Under existing PRC foreign exchange regulations, payments of current account items, including profit distributions, interest payments and trade and service-related foreign exchange transactions, can be made in foreign currencies without prior approval of SAFE, by complying with certain procedural requirements. Specifically, under the existing exchange restrictions, without prior approval of SAFE, cash generated from the operations of our PRC subsidiaries in China may be used to pay dividends to our Company. However, approval from or registration with the appropriate governmental authorities is required where Renminbi is to be converted into foreign currency and remitted out of China to pay capital expenses such as the repayment of loans denominated in foreign currencies. As a result, we need to obtain SAFE approval to use cash generated from the operations of our PRC subsidiaries to pay off their respective debt in a currency other than Renminbi owed to entities outside of China, or to make other capital expenditure payments outside of China in a currency other than Renminbi.
More restrictions and substantial vetting process are put in place by SAFE to regulate cross-border transactions falling under the capital account. If any of our shareholders regulated by such policies fails to timely satisfy the applicable overseas direct investment filing or approval requirement or at all, it may be subject to penalties from the relevant PRC authorities. If the foreign exchange control system prevents us from obtaining sufficient foreign currencies to satisfy our foreign currency demands, we may not be able to pay dividends in foreign currencies to our shareholders, including holders of the securities.
| 61 |
In late 2012, this impasse led the SEC to commence administrative proceedings under Rule 102(e) of its Rules of Practice and also under the Sarbanes-Oxley Act of 2002 against the Chinese accounting firms, including our independent registered public accounting firm. A first instance trial of the proceedings in July 2013 at the SEC’s internal administrative court resulted in an adverse judgment against the firms. The administrative law judges proposed penalties on the firms including a temporary suspension of their right to practice before the SEC, although that proposed penalty did not take effect and pending review by the Commissioners of the SEC. On February 6, 2015, before a review by the Commissioner had taken place, the firms reached a settlement with the SEC. Under the settlement, the SEC accepts that future requests by the SEC for the production of documents will normally be made to the CSRC. The firms will receive matching Section 106 requests and are required to abide by a detailed set of procedures with respect to such requests, which in substance require them to facilitate production via the CSRC. If they fail to meet specified criteria, the SEC retains authority to impose a variety of additional remedial measures on the firms depending on the nature of the failure. Remedies for any future non-compliance could include, as appropriate, an automatic six-month bar on a single firm’s performance of certain audit work, commencement of a new proceeding against a firm, or, in extreme cases, the resumption of the current proceeding against all four firms. If additional remedial measures are imposed on the PRC-based “big four” accounting firms, including our independent registered public accounting firm, in the administrative proceedings brought by the SEC alleging the firms’ failure to meet specific criteria set by the SEC with respect to requests for the production of documents, we could be unable to timely file future financial statements in compliance with the requirements of the Exchange Act. In the event that the SEC restarts the administrative proceedings, depending upon the final outcome, listed companies in the United States with major PRC operations may find it difficult or impossible to retain auditors in respect of their operations in the PRC, which could result in financial statements being determined not to be in compliance with the requirements of the Exchange Act, including possible delisting. Moreover, any negative news about any such future proceedings against these audit firms may cause investors’ uncertainties towards China-based and U.S.-listed companies, and the market price of our securities may be adversely affected.
If our independent registered public accounting firm was denied, even temporarily, the ability to practice before the SEC and we were unable to timely find another registered public accounting firm to audit and issue an opinion on our financial statements, our financial statements could be determined not to be in compliance with the requirements of the Exchange Act. Such a determination could ultimately lead to the delisting of our securities or deregistration from the SEC, or both, which would substantially reduce or effectively terminate our trading of the securities in the United States.
Risks Related to Ownership of PubCo’s Securities
Payment of dividends is subject to restrictions under PRC laws. There is no assurance whether and when we will pay dividends.
Under applicable PRC laws, dividends may be paid only out of distributable profits. Distributable profits mean, as determined under PRC GAAP or U.S. GAAP, whichever is lower, our net profits for a period, plus the distributable profits or net of the accumulated losses, if any, at the beginning of such period, less appropriations to transaction risk reserve, statutory surplus reserve (determined under PRC GAAP) and discretionary surplus reserve (as approved by our shareholders’ meeting). As a result, we may not have sufficient profit to enable us to make future dividend distributions to our shareholders, even if one of our financial statements prepared in accordance with PRC GAAP or U.S. GAAP indicates that our operations have been profitable. After the completion of the Transaction, we may distribute dividends in the form of cash or by other means permitted by our Articles of Association. Any proposed distribution of dividends shall be formulated by our Board and will be subject to approval of our Shareholders. A decision to declare or to pay any dividends in the future, and the amount of any dividend, will depend upon a number of factors, including our earnings and financial condition, operating requirements, capital requirements, business prospects, statutory, regulatory and contractual restrictions on our declaration and payment of dividends, and any other factors that our Directors may consider important. Any history dividends distribution cannot be regarded as any form of indication of either the amount or the time we will distribute dividends. We cannot assure you that our dividend policies will not change in the future.
| 62 |
PubCo is a holding company, and will rely on dividends paid by our subsidiaries for our cash needs. Any limitation on the ability of our subsidiaries to make dividend payments to us, or any tax implications of making dividend payments to us, could limit our ability to pay our parent company expenses or pay dividends to holders of PubCo Class A Ordinary Shares.
PubCo is a holding company and conduct substantially all of our business in China through our PRC Operating Entities. We may rely on dividends to be paid by our PRC Operating Entities to fund our cash and financing requirements, including the funds necessary to pay dividends and other cash distributions to our shareholders, to service any debt we may incur and to pay our operating expenses. If our PRC Operating Entities incur debt on its own behalf in the future, the instruments governing the debt may restrict its ability to pay dividends or make other distributions to us, and in turn affect our ability to pay dividends to our investors.
Under PRC laws and regulations, our PRC Operating Entities may pay dividends only out of their accumulated profits as determined in accordance with PRC accounting standards and regulations. In addition, our subsidiaries in China are required to set aside at least 10% of its after-tax profits each year, if any, to fund a statutory reserve until such reserve reaches 50% of its registered capital. Each of such entity in China is also required to further set aside a portion of its after-tax profits to fund the employee welfare fund, although the amount to be set aside, if any, is determined at the discretion of its board of directors. Although the statutory reserves can be used, among other ways, to increase the registered capital and eliminate future losses in excess of retained earnings of the respective companies, the reserve funds are not distributable as cash dividends except in the event of liquidation. If our PRC Operating Entities cannot generate enough revenues in the future, their abilities to pay dividends or make other distributions to us may be restricted, and in turn affect our ability to pay dividends to our investors.
Our PRC Operating Entities generates primarily all of their revenue in Renminbi, which is not freely convertible into other currencies. As a result, any restriction on currency exchange may limit the ability of our PRC Operating Entities to use their Renminbi revenues to pay dividends to us. The PRC government may continue to strengthen its capital controls, and more restrictions and substantial vetting process may be put forward by SAFE for cross-border transactions falling under both the current account and the capital account. Any limitation on the ability of our PRC Operating Entities to pay dividends or make other kinds of payments to us could materially and adversely limit our ability to grow, make investments or acquisitions that could be beneficial to our business, pay dividends, or otherwise fund and conduct our business.
In addition, the Enterprise Income Tax Law, or EIT, and its implementation rules provide that a withholding tax rate of up to 10% will be applicable to dividends payable by Chinese companies to non-PRC-resident enterprises unless otherwise exempted or reduced according to treaties or arrangements between the PRC central government and governments of other countries or regions where the non-PRC resident enterprises are incorporated. Any limitation on the ability of our PRC Operating Entities to pay dividends or make other distributions to us could materially and adversely limit our ability to grow, make investments or acquisitions that could be beneficial to our business, pay dividends, or otherwise fund and conduct our business.
Because there are no current plans to pay cash dividends on the PubCo Class A Ordinary Share for the foreseeable future, you may not receive any return on investment unless you sell your PubCo Class A Ordinary Share for a price greater than that which you paid for it.
PubCo intends to retain future earnings, if any, for future operations, expansion and debt repayment and there are no current plans to pay any cash dividends for the foreseeable future. The declaration, amount and payment of any future dividends on shares of the Class A Ordinary Share will be at the sole discretion of PubCo board of directors. PubCo board of directors may take into account general and economic conditions, the PubCo financial condition and results of operations, PubCo available cash and current and anticipated cash needs, capital requirements, contractual, legal, tax, and regulatory restrictions, implications on the payment of dividends by PubCo to its stockholders or by its subsidiaries to it and such other factors as PubCo’s board of directors may deem relevant. In addition, PubCo ability to pay dividends is limited by covenants of PubCo’s existing and outstanding indebtedness and may be limited by covenants of any future indebtedness PubCo incurs. As a result, you may not receive any return on an investment in PubCo Class A Ordinary Share unless you sell HZJL’s Class A Ordinary Share for a price greater than that which you paid for it.
| 63 |
There has been no prior public market for PubCo Class A Ordinary Shares and their liquidity and market price may be volatile.
We have applied for the listing of, and permission to deal in, the PubCo Class A Ordinary Shares on the Nasdaq Capital Market. We cannot assure you that a public market for the PubCo Class A Ordinary Shares with adequate liquidity and trading volume will develop and be sustained, or that the market price of the PubCo Class A Ordinary Shares will not decline following completion of the Transaction. Furthermore, the price and trading volume of the PubCo Class A Ordinary Shares may be volatile. The following factors, among others, may affect the trading volume and price of the PubCo Class A Ordinary Shares:
| ● | actual or anticipated fluctuations in our revenue and results of operations; | |
| ● | loss of significant customers or material defaults by our customers; | |
| ● | major changes in our key personnel or senior management; | |
| ● | announcements of competitive developments, acquisitions or strategic alliances in our industry; | |
| ● | changes in earnings estimates or recommendations by financial analysts; | |
| ● | involvement in litigation or regulatory investigations; | |
| ● | general market conditions or other developments affecting us or our industry; | |
| ● | fluctuations in stock market price and volume and other events or factors beyond our control; | |
| ● | the release of lockup or other transfer restrictions on the issued and outstanding PubCo Class A Ordinary Shares, or sales or perceived sales of additional PubCo Class A Ordinary Shares by us or other shareholders; and | |
| ● | our inability to obtain or maintain regulatory approval for our business operations. |
In addition, stock markets and the shares of other companies listed on the Nasdaq with significant operations and assets in China have been experiencing increasing price and volume fluctuations in recent years, some of which have been unrelated or disproportionate to the operating performance of such companies. These broad market and industry fluctuations may adversely affect the market price of the PubCo Class A Ordinary Shares, and it is possible that the PubCo Class A Ordinary Shares may be subject to changes in price not directly related to our performance.
We will incur significant increased expenses and administrative burdens as a public company, which could have an adverse effect on its business, financial condition and results of operations.
Following the consummation of the Business Combination, PubCo will face increased legal, accounting, administrative and other costs and expenses as a public company that HZJL did not incur as a private company. The Sarbanes-Oxley Act of 2002 or the Sarbanes-Oxley Act, including the requirements of Section 404, to the extent applicable to PubCo, as well as rules and regulations subsequently implemented by the SEC, the Dodd-Frank Wall Street Reform and Consumer Protection Act of 2010 and the rules and regulations promulgated and to be promulgated thereunder, the PCAOB and the securities exchanges, impose additional reporting and other obligations on public companies. Compliance with public company requirements may increase costs and make certain activities more time consuming. It may also be more expensive to obtain director and officer liability insurance. Director and officer liability insurance policies are becoming increasingly expensive. If PubCo is not able to obtain director and officer insurance with adequate levels of coverage on commercially reasonable terms or in adequate amounts, it may be difficult to attract and retain qualified individuals to serve on PubCo’s management team, board or the board committees due to the lack of director and officer insurance coverage that mitigates the risk and loss of the personal assets of directors and officers. PubCo’s inability to obtain appropriate director and officer insurance policies could cause a substantial business disruption, adverse reputational impact and regulatory scrutiny and, as a result, could have a material adverse effect on PubCo’s business, financial condition and results of operations.
| 64 |
If HZJL or PubCo fails to implement and maintain an effective system of internal controls to remediate its material weaknesses over financial reporting, PubCo may be unable to accurately report its results of operations, meets its reporting obligations or prevent fraud, and investor confidence and the market price of PubCo Class A Ordinary Shares may be materially and adversely affected.
Prior to the Business Combination, HZJL has been a private company with limited accounting personnel and other resources with which to address HZJL’s internal controls and procedures. Neither HZJL nor its independent registered public accounting firm undertook a comprehensive assessment of HZJL’s internal control under the Sarbanes-Oxley Act of 2002 for purposes of identifying and reporting any material weakness in HZJL’s internal control over financial reporting. Had HZJL performed a formal assessment of HZJL’s internal control over financial reporting or had HZJL’s independent registered public accounting firm performed an audit of HZJL’s internal control over financial reporting, material weakness or control deficiencies may have been identified. Upon completion of the Business Combination, PubCo will become subject to the Sarbanes-Oxley Act of 2002. Section 404 of the Sarbanes-Oxley Act, or Section 404, will require that PubCo include a report from management on the effectiveness of PubCo’s internal control over financial reporting in PubCo’s annual report on Form 20-F beginning with PubCo’s annual report in PubCo’s second annual report on Form20-F after becoming a public company. In addition, once PubCo ceases to be an “emerging growth company” as such term is defined in the JOBS Act, PubCo’s independent registered public accounting firm must attest to and report on the effectiveness of PubCo’s internal control over financial reporting. Moreover, even if PubCo’s management concludes that PubCo’s internal control over financial reporting is effective, PubCo’s independent registered public accounting firm, after conducting its own independent testing, may issue an adverse opinion on the effectiveness of internal control over financial reporting if it is not satisfied with PubCo’s internal controls or the level at which PubCo’s controls are documented, designed, operated or reviewed, or if it interprets the relevant requirements differently from PubCo. In addition, after PubCo becomes a public company, PubCo’s reporting obligations may place a significant strain on PubCo’s management, operational and financial resources and systems for the foreseeable future. PubCo may be unable to timely complete its evaluation testing and any required remediation.
During the course of documenting and testing PubCo’s internal control procedures, in order to satisfy the requirements of Section 404, PubCo may identify other weaknesses and deficiencies in PubCo’s internal control over financial reporting. If PubCo fails to maintain the adequacy of its internal control over financial reporting, as these standards are modified, supplemented, or amended from time to time, PubCo may not be able to conclude on an ongoing basis that it has effective internal control over financial reporting in accordance with Section 404. Generally speaking, if PubCo fails to achieve and maintain an effective internal control environment, it could result in material misstatements in PubCo’s financial statements and could also impair PubCo’s ability to comply with applicable financial reporting requirements and related regulatory filings on a timely basis. As a result, PubCo’s businesses, financial condition, results of operations and prospects, as well as the trading price of the ordinary shares, may be materially and adversely affected. Additionally, ineffective internal control over financial reporting could expose PubCo to increased risk of fraud or misuse of corporate assets and subject PubCo to potential delisting from the stock exchange on which PubCo lists, regulatory investigations and civil or criminal sanctions. PubCo may also be required to restate its financial statements from prior periods. PubCo will incur increased costs as a result of being a public company.
Upon completion of the Business Combination, PubCo will become a public company and expect to incur significant legal, accounting, and other expenses. For example, as a result of becoming a public company, PubCo will need to adopt policies regarding internal controls and disclosure controls and procedures. Operating as a public company will make it more difficult and more expensive for it to obtain director and officer liability insurance, and PubCo may be required to accept reduced policy limits and coverage or incur substantially higher costs to obtain the same or similar coverage, or PubCo may not be able to obtain appropriate director and officer liability insurance at all. In addition, PubCo will incur additional costs associated with its public company reporting requirements. It may also be more difficult for PubCo to attract and retain qualified persons to serve on its Board of Directors, board committees or as executive officers due to the lack of director and officer insurance coverage that mitigates the risk and loss of the personal assets of directors and officers. PubCo’s inability to obtain appropriate director and officer insurance policies could cause a substantial business disruption, adverse reputational impact and regulatory scrutiny and, as a result, could have a material adverse effect on PubCo’s business, financial condition and results of operations.
After PubCo is no longer an “emerging growth company,” PubCo may incur significant expenses and devote substantial management effort toward ensuring compliance with the requirements of Section 404 and the other rules and regulations of the SEC.
| 65 |
We may have conflicts of interest with our largest shareholder and may not be able to resolve such conflicts on favorable terms for us.
Immediately after the consummation of the Business Combination, Bin Xiong, our largest shareholder, Chairman Designate, Director Nominee and Chief Executive Officer Designate of PubCo, through XB B Limited will hold approximately 80.0% (under the no redemption scenario) or approximately 83.1% (under the maximum redemption scenario) of PubCo’s voting power. The largest shareholder has substantial influence over our business with respect to material matters requiring voting rights, and we cannot assure you that any of our controlling shareholders will act in the best interest of our company should any conflict arise. For example, they may make strategic decisions with respect to us or that affect our business in ways that favor themselves and therefore their own shareholders, which may not coincide with the interests of our other shareholders. We may not be able to resolve any potential conflicts, and even if we do so, the resolution may be less favorable to us than if we were dealing with an unaffiliated party.
Risk Factors Relating to Rising Dragon’s Business
RDAC’s independent registered public accounting firm’s report contains an explanatory paragraph that expresses substantial doubt about RDAC’s ability to continue as a “going concern.”
As of June 30, 2025, RDAC had $83,406 in cash and a working capital of $80,423. Further, RDAC has incurred and expect to continue to incur significant costs in pursuit of its acquisition plans. Management’s plans to address this need for capital through the IPO are discussed in the section of this prospectus titled “Management’s Discussion and Analysis of Financial Condition and Results of Operations.” RDAC’s plans to raise capital and to consummate its initial business combination may not be successful. These factors, among others, raise substantial doubt about its ability to continue as a going concern. The financial statements contained elsewhere in this prospectus do not include any adjustments that might result from RDAC’s inability to consummate the IPO or our inability to continue as a going concern.
Rising Dragon will be forced to liquidate the trust account if it cannot consummate a business combination by January 15, 2026 (or up to July 15, 2026, if further extended), whether with HZJL or with any other entity, in which event Rising Dragon’s public shareholders will receive approximately $10.44 per share and the Rising Dragon rights will expire worthless.
RDAC has until January 15, 2026, 15 months from the closing of its IPO to consummate an initial business combination. If RDAC anticipates that it may not be able to consummate our initial business combination within 15 months, RDAC may extend the period of time to consummate a business combination up to six times, each by an additional one month (for a total of up to 21 months to complete a business combination). Pursuant to the terms of the Existing Charter and the trust agreement entered into between RDAC and Continental Stock Transfer & Trust Company, in order to extend the time available to consummate the initial business combination, the Sponsor or its affiliates or designees, upon five days advance notice prior to the applicable deadline, must deposit into the trust account $189,750 ($0.033 per share) on or prior to the date of the applicable deadline, for each one month extension ($1,138,500 if RDAC extends for the full six months). Any such payments would be made in the form of a loan. Any such loans will be non-interest bearing and payable upon the consummation of the initial business combination. If RDAC completes its initial business combination, RDAC would repay such loaned amounts out of the proceeds of the trust account released to RDAC. If RDAC does not complete a business combination, RDAC will not repay such loans. Furthermore, the letter agreement with RDAC’s initial shareholders contains a provision pursuant to which the Sponsor has agreed to waive its right to be repaid for such loans out of the funds held in the trust account in the event that RDAC does not complete a business combination. The Sponsor and its affiliates or designees are not obligated to fund the trust account to extend the time to complete the initial business combination. RDAC’s shareholders will not be able to vote on or redeem their shares in connection with any such extension. If Rising Dragon is unable to complete a business combination by January 15, 2026 (or up to July 15, 2026, if further extended), and it is forced to liquidate, the per-share liquidation distribution is expected to be $10.44. RDAC Rights will expire worthless as a result of RDAC’s failure to consummate the Business Combination or an initial business combination during the Combination Period.
| 66 |
You must tender your RDAC Ordinary Shares in order to validly seek redemption at the Extraordinary General Meeting.
In connection with tendering your shares for redemption, you must elect either to physically tender your share certificates to Rising Dragon’s transfer agent by two (2) business days before the Extraordinary General Meeting, or deliver your RDAC Ordinary Shares to the transfer agent electronically using The Depository Trust Company’s DWAC System, which election would likely be determined based on the manner in which you hold your ordinary shares. The requirement for physical or electronic delivery by two (2) business days before the Extraordinary General Meeting ensures that a redeeming holder’s election to redeem is irrevocable once the Business Combination is consummated. Any failure to observe these procedures will result in your loss of redemption rights in connection with the vote on the Business Combination.
If third parties bring claims against Rising Dragon, the proceeds held in trust could be reduced and the per-share liquidation price received by Rising Dragon’s shareholders may be less than $10.05.
RDAC’s placing of funds in trust may not protect those funds from third party claims against us. Although RDAC will seek to have all vendors and service providers RDAC engages and prospective target businesses RDAC negotiates with execute agreements with RDAC waiving any right, title, interest or claim of any kind in or to any monies held in the trust account for the benefit of RDAC’s public shareholders, they may not execute such agreements. If any third party refuses to execute an agreement waiving such claims to the monies held in the trust account, RDAC’s management will perform an analysis of the alternatives available to it and will only enter into an agreement with a third party that has not executed a waiver if management believes that such third party’s engagement would be significantly more beneficial to us than any alternative. Making such a request of potential target businesses may make RDAC’s acquisition proposal less attractive to them and, to the extent prospective target businesses refuse to execute such a waiver, may limit the field of potential target businesses that we might pursue. RDAC’s independent registered public accounting firm will not execute agreements with us waiving such claims to the monies held in the trust account, nor will the underwriters of the IPO.
Even if such entities execute such agreements with RDAC, they may seek recourse against the monies held in the trust account. A court may not uphold the validity of such agreements. Accordingly, the proceeds held in trust could be subject to claims which could take priority over those of RDAC’s public shareholders. If we liquidate the trust account before the completion of a business combination, the sponsor has agreed that it will be liable to ensure that the proceeds in the trust account are not reduced by the claims of target businesses or claims of vendors or other entities that are owed money by us for services rendered or contracted for or products sold to us and which have not executed a waiver agreement. However, the sponsor may not be able to meet such obligation. Therefore, the per-share distribution from the trust account in such a situation may be less than $10.05 due to such claims.
Additionally, if RDAC is forced to file a bankruptcy or winding-up petition or an involuntary bankruptcy or winding-up petition is filed against us which is not dismissed, or if RDAC otherwise enter compulsory or court supervised liquidation, the proceeds held in the trust account could be subject to applicable bankruptcy or insolvency law, and may be included in RDAC’s bankruptcy or insolvency estate and subject to the claims of third parties with priority over the claims of RDAC’s shareholders. To the extent any bankruptcy or insolvency claims deplete the trust account, RDAC may not be able to return to its public shareholders at least $10.05 per share.
RDAC’s shareholders may be held liable for claims by third parties against us to the extent of distributions received by them upon redemption of their shares.
If RDAC is forced to enter into an insolvent liquidation, any distributions received by shareholders could be viewed as an unlawful payment if it was proved that immediately following the date on which the distribution was made, RDAC was unable to pay RDAC’s debts as they fall due in the ordinary course of business. As a result, a liquidator could seek to recover some or all amounts received by RDAC’s shareholders. Furthermore, RDAC’s directors may be viewed as having breached their fiduciary duties to us or RDAC’s creditors or as having acted in bad faith, thereby exposing themselves and RDAC to claims, by paying public shareholders from the trust account prior to addressing the claims of creditors. We cannot assure you that claims will not be brought against us for these reasons. RDAC and RDAC’s directors and officers who knowingly and willfully authorized or permitted any distribution to be paid out of RDAC’s share premium account while we were unable to pay RDAC’s debts as they fall due in the ordinary course of business immediately following the date on which the distribution was proposed to be paid would be guilty of an offence and may be liable on a summary conviction to a fine and to imprisonment for five years in the Cayman Islands.
The fairness opinion obtained by the Rising Dragon board of directors will not reflect changes, circumstances, developments, or events that may have occurred or may occur after the date of the opinion.
CHFT has provided a fairness opinion to the Rising Dragon Board stating that, as of the date of such opinion, and based upon and subject to the procedures followed, assumptions made, qualifications and limitations on review undertaken, and other matters considered by CHFT in preparing such opinion, the aggregate consideration to be paid in the Merger Agreement is fair from a financial point of view to Rising Dragon.
The Rising Dragon Board has not obtained an updated fairness opinion as of the date of this proxy statement/prospectus from CHFT, and the Rising Dragon Board does not expect to receive an updated fairness opinion prior to the completion of the Business Combination.
The opinion does not reflect changes, circumstances, developments, or events that may have occurred or may occur after the date of the opinion, including changes in the operations and prospects of HZJL, regulatory or legal changes, general market and economic conditions and other factors that may be beyond the control of HZJL and on which the fairness opinion was based, and that may alter the value of HZJL prior to consummation of the Business Combination. The value of HZJL could be materially different from its value as of, the date of CHFT’s opinion, and CHFT’s does not speak as of the time the Business Combination will be completed or as of any date other than the date of such opinion. Rising Dragon does not anticipate asking CHFT to update CHFT’s opinion, and CHFT does not have an obligation or responsibility to update, revise, or reaffirm its opinion based on circumstances, developments, or events that may have occurred or may occur after the date of the opinion. The written opinion of CHFT is attached as Exhibit 99.4 to this proxy statement/prospectus and is incorporated by reference herein.
| 67 |
If Rising Dragon’s due diligence investigation of HZJL was inadequate, then Rising Dragon shareholders following the Business Combination could lose some or all of their investment.
Even though Rising Dragon conducted a due diligence investigation of HZJL, it cannot be sure that this diligence uncovered all material issues that may be present inside HZJL or its business, or that it would be possible to uncover all material issues through a customary amount of due diligence, or that factors outside of HZJL and its business and outside of its control will not later arise. The failure of Rising Dragon to have uncovered all material issues relating to HZJL and its business could materially adversely affect the stock performance and the business prospects of the combined company following the Business Combination. Even if Rising Dragon’s due diligence successfully identifies certain risks, unexpected risks may arise and previously known risks may materialize in a manner not consistent with HZJL’s preliminary risk analysis.
The shares beneficially owned by RDAC’s officers and directors may not participate in liquidation distributions and, therefore, RDAC’s officers and directors may have a conflict of interest in determining whether a particular target business is appropriate for RDAC’s initial business combination.
RDAC’s officers and directors have waived their right to redeem their founder shares or any other ordinary shares acquired in the IPO or thereafter, or to receive distributions with respect to their founder shares upon RDAC’s liquidation if RDAC is unable to consummate its initial business combination, until all of the claims of any redeeming shareholders and creditors are fully satisfied (and then only from funds held outside the trust account). Accordingly, these securities will be worthless if RDAC does not consummate an initial business combination. Any rights they hold, like those held by the public, will also be worthless if RDAC does not consummate an initial business combination. The personal and financial interests of RDAC’s directors and officers may influence their motivation in timely identifying and selecting a target business and completing a business combination. Consequently, RDAC’s directors’ and officers’ discretion in identifying and selecting a suitable target business may result in a conflict of interest when determining whether the terms, conditions and timing of a particular business combination are appropriate and in RDAC’s shareholders’ best interest.
Since the Sponsor will lose their entire investment in RDAC if RDAC’s initial business combination is not consummated and RDAC’s officers and directors have significant financial interests in RDAC, a conflict of interest may arise in determining whether a particular acquisition target is appropriate for RDAC’s initial business combination.
The Sponsor purchased an aggregate of 1,437,500 founder shares for an aggregate purchase price of $25,000, or approximately $0.017 per share. The founder shares will be worthless if RDAC does not consummate an initial business combination. In addition, RDAC’s initial shareholders have purchased an aggregate of 254,375 private units for an aggregate purchase price of $2,543,750 that will also be worthless if RDAC does not consummate RDAC’s initial business combination.
Rising Dragon is requiring shareholders who wish to redeem their shares in connection with the Business Combination to comply with specific requirements for redemption that may make it more difficult for them to exercise their redemption rights prior to the deadline for exercising their rights.
Rising Dragon is requiring public shareholders who wish to redeem their ordinary shares to either tender their certificates to Rising Dragon’s transfer agent or deliver their shares to the transfer agent electronically using the Depository Trust Company’s, or DTC, DWAC System two (2) business days before the Extraordinary General Meeting. In order to obtain a physical certificate, a shareholder’s broker and/or clearing broker, DTC and Rising Dragon’s transfer agent will need to act to facilitate this request. It is Rising Dragon’s understanding that shareholders should generally allot at least two weeks to obtain physical certificates from the transfer agent. However, because Rising Dragon does not have any control over this process or over the brokers or DTC, it may take significantly longer than two weeks to obtain a physical share certificate. While Rising Dragon has been advised that it takes a short time to deliver shares through the DWAC System, Rising Dragon cannot assure you of this fact. Accordingly, if it takes longer than Rising Dragon anticipates for shareholders to deliver their shares, shareholders who wish to redeem may be unable to meet the deadline for exercising their redemption rights and thus may be unable to redeem their ordinary shares.
| 68 |
Rising Dragon will require its public shareholders who wish to redeem their ordinary shares in connection with the Business Combination to comply with specific requirements for redemption described above, as a result of which such redeeming shareholders may not be able to sell their securities when they wish to in the event that the Business Combination is not consummated.
If Rising Dragon requires public shareholders who wish to redeem their ordinary shares in connection with the proposed Business Combination to comply with specific requirements for redemption as described above and the Business Combination is not consummated, Rising Dragon will promptly return such certificates to its public shareholders. Accordingly, investors who attempted to redeem their ordinary shares in such a circumstance will be unable to sell their securities after the failed acquisition until Rising Dragon has returned their securities to them. The market price for Rising Dragon’s ordinary shares may decline during this time and you may not be able to sell your securities when you wish to, even while other shareholders that did not seek redemption may be able to sell their securities.
The initial shareholders, including the officers and directors, control a substantial interest in Rising Dragon and thus may influence certain actions requiring a shareholder vote.
Rising Dragon’s initial shareholders, including the officers and directors, collectively own approximately 22.56% of its issued and outstanding ordinary shares. However, if a significant number of Rising Dragon shareholders vote, or indicate an intention to vote, against the Business Combination, Rising Dragon’s initial shareholders or the affiliates, could make purchases in the open market or in private transactions in order to influence the vote. Rising Dragon’s initial shareholders or the affiliates and Lucid have agreed to vote any shares they own in favor of the Business Combination.
If the current Rising Dragon security holders exercise their registration rights with respect to their securities, it may have an adverse effect on the market price of PubCo’s securities.
Rising Dragon’s initial shareholders are entitled to make a demand that it registers the resale of their insider shares (1,437,500 ordinary shares) at any time commencing after the date that RDAC consummates a business combination. Additionally, our initial shareholders, including the Sponsor, are entitled to demand that we register the resale of the 254,375 ordinary shares underlying the Private Units, and the 25,437ordinary shares underlying the private rights and any securities our initial shareholders, officers, directors or their affiliates may be issued in payment of Working Capital Loans (as defined below) made to us at any time upon or after we consummate a business combination. If such persons exercise their registration rights with respect to all of their securities, then there will be an additional 1,717,312 PubCo Class A Ordinary Shares eligible for trading in the public market. The presence of these additional ordinary shares trading in the public market may have an adverse effect on the market price of PubCo Class A Ordinary Shares after the consummation of the Business Combination. As of June 30, 2025, Rising Dragon had no borrowings under the Working Capital Loans.
Rising Dragon’s directors and officers and the Sponsor may have certain conflicts in determining to recommend the acquisition of HZJL, since certain of their interests, and certain interests of their affiliates and associates, are different from, or in addition to, your interests as a shareholder.
Rising Dragon’s management and directors, as well as the Sponsor, have interests in and arising from the Business Combination that are different from, or in addition to, your interests as a shareholder, which could result in a real or perceived conflict of interest. These interests include the fact that certain of the Rising Dragon’s securities owned by Rising Dragon’s officers, directors and the Sponsor, or their affiliates and associates, would become worthless if the Business Combination is not approved and Rising Dragon otherwise fails to consummate a Business Combination prior to its liquidation. See the section titled “The Acquisition Merger Proposal — Interests of Certain Persons in the Business Combination” in this proxy statement/prospectus for further information.
| 69 |
Rising Dragon will incur significant transaction costs in connection with transactions contemplated by the Merger Agreement, and may not have sufficient funds for operation if the Business Combination is not consummated.
Rising Dragon will incur significant transaction costs in connection with the Business Combination. If the Business Combination is not consummated, Rising Dragon may not have sufficient funds to seek an alternative business combination, or to meet its regular expenses of operation such as the pending renewal of its recently expired directors’ and officers’ liability insurance, and may be forced to voluntarily liquidate and subsequently dissolve.
Director and officer insurance policies are expensive and the lack of director and officer insurance coverage leaves Rising Dragon’s directors and officers exposed to significant uninsured liabilities.
Rising Dragon currently carry director and officer insurance, and director and officer liability insurance policies are becoming increasingly expensive. Although Rising Dragon will actively seeking to renew director and officer insurance policy or purchase a new director and officer insurance in the future, Rising Dragon does not know if it will be able to obtain or renew its director and officer insurance with adequate levels of coverage on commercially reasonable terms or in adequate amounts regardless of whether or not the Business Combination is consummated. As a result, it may be difficult to attract and retain qualified individuals to serve on Rising Dragon’s management team, board or the board committees due to the lack of director and officer insurance coverage that mitigates the risk and loss of the personal assets of directors and officers. Our inability to obtain or renew appropriate director and officer insurance policies could cause a substantial business disruption, adverse reputational impact and regulatory scrutiny and, as a result, could have a material adverse effect on Rising Dragon’s business financial condition and results of operations.
If Rising Dragon is deemed to be an investment company under the Investment Company Act, Rising Dragon may be required to institute burdensome compliance requirements and its activities may be restricted, which may make it difficult for Rising Dragon to complete the initial business combination.
If Rising Dragon is deemed to be an investment company under the Investment Company Act, its activities may be restricted, including:
| ● | restrictions on the nature of our investments; and | |
| ● | restrictions on the issuance of securities, each of which may make it difficult for us to complete our initial business combination. |
In addition, Rising Dragon may have imposed upon us burdensome requirements, including:
| ● | registration as an investment company; | |
| ● | adoption of a specific form of corporate structure; and | |
| ● | reporting, record keeping, voting, proxy and disclosure requirements and other rules and regulations. |
In order not to be regulated as an investment company under the Investment Company Act, unless Rising Dragon can qualify for an exclusion, Rising Dragon must ensure that Rising Dragon is engaged primarily in a business other than investing, reinvesting or trading of securities and that our activities do not include investing, reinvesting, owning, holding or trading “investment securities” constituting more than 40% of our assets (exclusive of U.S. government securities and cash items) on an unconsolidated basis. Rising Dragon’s business will be to identify and complete a business combination and thereafter to operate the post-transaction business or assets for the long term. Rising Dragon does not plan to buy businesses or assets with a view to resale or profit from their resale. Rising Dragon does not plan to buy unrelated businesses or assets or to be a passive investor.
RDAC does not believe that its anticipated principal activities will subject it to the Investment Company Act. To this end, the proceeds held in the trust account have be invested only in U.S. government treasury obligations with a maturity of 185 days or less or in money market funds meeting certain conditions under Rule 2a-7 under the Investment Company Act which invest only in direct U.S. government treasury obligations. To mitigate the risk that RDAC might be deemed to be an investment company for purposes of the Investment Company Act, which risk increases the longer that we hold investments in the trust account, RDAC may, at any time (and will no later than 15 months (or up to 21 months with extensions) from the closing of the IPO) instruct the trustee to liquidate the investments held in the trust account and instead to hold the funds in the trust account in cash or in an interest bearing demand deposit account.
| 70 |
Pursuant to the trust agreement, the trustee is not permitted to invest in other securities or assets. By restricting the investment of the proceeds to these instruments, and by having a business plan targeted at acquiring and growing businesses for the long term (rather than on buying and selling businesses in the manner of a merchant bank or private equity fund), we intend to avoid being deemed an “investment company” within the meaning of the Investment Company Act. The IPO is not intended for persons who are seeking a return on investments in government securities or investment securities. The trust account is intended as a holding place for funds pending the earliest to occur of: (i) the completion of our initial business combination; (ii) the redemption of any public shares properly submitted in connection with a shareholder vote to amend our second amended and restated memorandum and articles of association (A) to modify the substance or timing of our obligation to offer redemption rights in connection with any proposed initial business combination or certain amendments to our second amended and restated memorandum and articles of association prior thereto or to redeem 100% of our public shares if Rising Dragon does not complete our initial business combination within the completion window; or (B) with respect to any other material provision relating to shareholders’ rights or pre-initial business combination activity; or (iii) absent an initial business combination within the completion window, from the closing of the IPO, our return of the funds held in the trust account to our public shareholders as part of our redemption of the public shares.
Rising Dragon is aware of litigation against certain special purpose acquisition companies asserting that notwithstanding the foregoing, those special purpose acquisition companies should be considered investment companies. Although we believe that these claims are without merit, we cannot guarantee that we will not be deemed to be an unregistered investment company and thus subject to the Investment Company Act. If we were deemed to be subject to the Investment Company Act, compliance with these additional regulatory burdens would require additional expenses for which we have not allotted funds and may hinder our ability to complete an initial business combination or may result in our liquidation.
On January 24, 2024, the SEC issued final rules (the “2024 SPAC Rules”), effective as of 125 days following the publication of the 2024 SPAC Rules in the Federal Register, that formally adopted some of the SEC’s proposed rules for SPACs that were released on March 30, 2022. The 2024 SPAC Rules, among other items, could impact the extent to which SPACs could become subject to regulation under the Investment Company Act of 1940. The 2024 SPAC Rules may materially adversely affect our business, including our ability to negotiate and complete, and the costs associated with, our initial business combination, and results of operations.
If Rising Dragon was deemed to be an unregistered investment company for purposes of the Investment Company Act, compliance with these additional regulatory burdens would require additional expenses for which we have not allotted funds and could increase the costs and time needed to complete a business combination or impair our ability to complete a business combination. If we have not completed our initial business combination within the required time period, and as a result wind down our operations, investors will lose the investment opportunity in the target business and any price appreciation in the combined company, our public shareholders may receive only approximately $10.05 per share, or less in certain circumstances, on the liquidation of our trust account and our public rights will expire worthless. If our facts and circumstances change over time, Rising Dragon will update our disclosure to reflect how those changes impact the risk of being considered as operating an unregistered investment company.
Risks Relating to Doing Business in Jurisdictions Rising Dragon Operates
The Chinese government may exercise significant oversight and discretion over the conduct of our business and may intervene in or influence our operations at any time, which could result in a material change in our operations and/or the value of our ordinary shares. Changes in the policies, regulations, rules, and the enforcement of laws of the Chinese government may also be quick with little advance notice and our assertions and beliefs of the risk imposed by the PRC legal and regulatory system cannot be certain.
Since Rising Dragon is a holding company with no material operations of its own, and our principal executive offices are located in China, and all of our directors and officers have significant ties to China, the Chinese government may have significant oversight and discretion over the conduct of our directors’ and officers’ search for a target company. The Chinese government may intervene or influence our operations at any time through the directors and officers who have significant ties to China, which could result in a material change in our search for a target business and/or the value of the securities. Changes in the policies, regulations, rules, and the enforcement of laws of the PRC government may be adopted quickly with little advance notice and could have a significant impact upon our ability to operate and may limit or completely undermine our ability to search for a target company.
| 71 |
As of the date hereof, we are not materially affected by recent statements by the Chinese Government indicating an extent to exert more oversight and control over offerings that are conducted overseas and/or foreign investment in China-based issuers. However, there remains regulatory uncertainty with respect to the implementation and interpretation of laws in China. The PRC government may choose to exercise significant oversight and discretion, and the policies, regulations, rules, and the enforcement of laws of the Chinese government to which we are subject may change rapidly and with little advance notice to us or our shareholders. As a result, the application, interpretation, and enforcement of new and existing laws and regulations in the PRC and our assertions and beliefs of the risk imposed by the PRC legal and regulatory system are often uncertain. In addition, these laws and regulations may be interpreted and applied inconsistently by different agencies or authorities, and inconsistently with our current policies and practices. New laws, regulations, and other government directives in the PRC may also be costly to comply with, and such compliance or any associated inquiries or investigations or any other government actions may:
| ● | delay or impede our development; | |
| ● | result in negative publicity or increase our operating costs; | |
| ● | require significant management time and attention; and | |
| ● | subject us to remedies, administrative penalties and even criminal liabilities that may harm our business, including fines assessed for our current or historical operations, or demands or orders that we modify or even cease our business practices. |
Rising Dragon is aware that recently, the PRC government initiated a series of regulatory actions and statements to regulate business operations in certain areas in China with little advance notice, including cracking down on illegal activities in the securities market, enhancing supervision over China-based companies listed overseas using variable interest entity structure, adopting new measures to extend the scope of cybersecurity reviews, and expanding the efforts in anti-monopoly enforcement. Since these statements and regulatory actions are new, it is highly uncertain how soon legislative or administrative regulation making bodies will respond and what existing or new laws or regulations or detailed implementations and interpretations will be modified or promulgated, if any, and the potential impact such modified or new laws and regulations will have on our daily business operation, the ability to accept foreign investments and list on an U.S. or other foreign exchange.
Chinese government may intervene or influence our operations at any time or may exert more control over offerings conducted overseas and foreign investment in China-based issuers, which may result in a material change in our operations and/or the value of our ordinary shares. The promulgation of new laws or regulations, or the new interpretation of existing laws and regulations, in each case that restrict or otherwise unfavorably impact the ability or way we conduct our business and could require us to change certain aspects of our business to ensure compliance, which could increase costs, require us to obtain licenses, permits, approvals or certificates, or subject us to additional liabilities. To the extent any new or more stringent measures are required to be implemented, our business, financial condition and results of operations could be adversely affected as well as materially decrease the value of our ordinary shares, potentially rendering it worthless.
The Chinese government has exercised and continues to exercise substantial control over virtually every sector of the Chinese economy through regulation and state ownership.
If we were to undertake a business combination with a China based business, our ability to operate in China may be harmed by changes in its laws and regulations, including those relating to taxation, cyber security, environmental regulations, land use rights, property and other matters. The central or local governments of jurisdictions such as China may impose new, stricter regulations or interpretations of existing regulations that would require additional expenditures and efforts on our part to ensure our compliance with such regulations or interpretations.
There are substantial uncertainties regarding the interpretation and application of PRC laws and regulations. The laws and regulations are sometimes vague and new laws and regulations that affect existing and proposed future businesses may also be applied retroactively. We cannot predict what effect the interpretation of existing or new PRC laws or regulations may have on our business. In connection with any business combination with a China based entity, we will be required to provide additional risk disclosure related to any such possible transaction and would be expected to incur additional costs related to compliance with such laws and regulations, if such compliance can be obtained.
| 72 |
Uncertainties in the interpretation and enforcement of PRC laws and regulations and changes in policies, rules, and regulations in China, which may be quick with little advance notice, could limit the legal protection available to you and us.
The PRC legal system is based on written statutes. Unlike common law systems, it is a system in which legal cases have limited value as precedents. In the late 1970s, the PRC government began to promulgate a comprehensive system of laws and regulations governing economic matters in general. The legislation over the past three decades has significantly increased the protection afforded to various forms of foreign or private-sector investment in China. Any future PRC subsidiary would be subject to various PRC laws and regulations generally applicable to companies in China. Since these laws and regulations are relatively new and the PRC legal system continues to rapidly evolve, however, the interpretations of many laws, regulations, and rules are not always uniform and enforcement of these laws, regulations, and rules involve uncertainties.
From time to time, we may have to resort to administrative and court proceedings to enforce our legal rights. Since PRC administrative and court authorities have significant discretion in interpreting and implementing statutory and contractual terms, however, it may be more difficult to evaluate the outcome of administrative and court proceedings and the level of legal protection we enjoy in the PRC legal system than in more developed legal systems. Furthermore, the PRC legal system is based in part on government policies, internal rules, and regulations that may have retroactive effect and may change quickly with little advance notice. As a result, we may not be aware of our violation of these policies and rules until sometime after the violation. Such uncertainties, including uncertainties over the scope and effect of our contractual, property (including intellectual property), and procedural rights, and any failure to respond to changes in the regulatory environment in China could materially and adversely affect our business and impede our ability to continue our operations. In addition, the legal and regulatory risks associated with doing business in China may make us a less attractive partner in an initial business combination than other special purpose acquisition companies that do not have ties to China. As such, our ties to China — including through the sponsor, our officers and directors — may make it harder for us to complete an initial business combination with a target company without any such ties.
You may experience difficulties in effecting service of legal process, enforcing foreign judgments, or bringing actions in China against us or our management and directors named in the prospectus based on foreign laws. It may also be difficult for you or overseas regulators to conduct investigations or collect evidence within China.
Most of our directors and officers are citizens or reside in the PRC and Hong Kong. In addition, following completion of a business combination, we may remain a company incorporated under the laws of the Cayman Islands, and some of the post-combined company’s officers and directors may reside in China. As a result, it may be difficult for you to effect service of process upon us or those persons residing in China. Even with service of process, it may also be difficult to enforce judgments obtained in U.S. courts based on the civil liability provisions of the U.S. federal securities laws against these officers and directors in China.
In addition, there is uncertainty as to whether the courts of the PRC would recognize or enforce judgments of U.S. courts against us or such persons predicated upon the civil liability provisions of U.S. securities laws or those of any U.S. state. The recognition and enforcement of foreign judgments are provided for under the PRC Civil Procedures Law. PRC courts may recognize and enforce foreign judgments in accordance with the requirements of the PRC Civil Procedures Law based either on treaties between China and the country where the judgment is made or on principles of reciprocity between jurisdictions. China does not have any treaties or other forms of written arrangement with the U.S. that provide for the reciprocal recognition and enforcement of foreign judgments. In addition, according to the PRC Civil Procedures Law, the PRC courts will not enforce a foreign judgment against us or our directors and officers if they decide that the judgment violates the basic principles of PRC laws or national sovereignty, security, or public interest. As a result, it is uncertain whether and on what basis a PRC court would enforce a judgment rendered by a court in the U.S.
It may also be difficult for you or overseas regulators to conduct investigations or collect evidence within China. For example, in China, there are significant legal and other obstacles to obtaining information needed for shareholder investigations or litigation outside China or otherwise with respect to foreign entities. Although the authorities in China may establish a regulatory cooperation mechanism with its counterparts of another country or region to monitor and oversee cross-border securities activities, such regulatory cooperation with the securities regulatory authorities in the U.S. may not be efficient in the absence of a practical cooperation mechanism. Furthermore, according to Article 177 of the PRC Securities Law, or “Article 177,” which became effective in March 2020, no overseas securities regulator is allowed to directly conduct investigations or evidence collection activities within the territory of the PRC. Article 177 further provides that Chinese entities and individuals are not allowed to provide documents or materials related to securities business activities to foreign agencies without prior consent from the securities regulatory authority of the PRC State Council and the competent departments of the PRC State Council. While detailed interpretation of or implementing rules under Article 177 have yet to be promulgated, the inability for an overseas securities regulator to directly conduct investigation or evidence collection activities within China may further increase difficulties faced by you in protecting your interests.
| 73 |
Given that our principal executive offices are located in China and all of our directors and officers have significant ties to China, the Chinese government may exercise oversight and discretion over their conduct including their search for a target company, the Chinese government may intervene or influence our operations at any time, which could result in a material change in our search for a target business and/or the value of the securities we are registering.
Since some of our directors and officers have significant ties to China and Hong Kong, the Chinese government may have significant oversight and discretion over the conduct of our directors and officers including over our directors’ and officers’ search for a target company. The Chinese government may intervene or influence our operations at any time through the directors and officers who have significant ties in China, which could result in a material change in our search for a target business and/or the value of the securities we are offering. Changes in the policies, regulations, rules, and the enforcement of laws of the PRC government may be adopted quickly with little advance notice and could have a significant impact upon our ability to operate. The realization of any these risks could adversely impact our initial business combination, future business and any future offering of securities.
Any actions by the Chinese government, including any decision to intervene or influence the operations of any future PRC subsidiary or to exert control over any offering of securities conducted overseas and/or foreign investment in China-based issuers, may cause us to make material changes to the operations of any future PRC subsidiary, may limit or completely hinder our ability to offer or continue to offer securities to investors, and may cause the value of such securities to significantly decline or be worthless.
The Chinese government has exercised and continues to exercise substantial control over virtually every sector of the Chinese economy through regulation and state ownership. The ability of our subsidiary to operate in China may be impaired by changes in its laws and regulations, including those relating to taxation, environmental regulations, land use rights, foreign investment limitations, and other matters. The central or local governments of China may impose new, stricter regulations or interpretations of existing regulations that would require additional expenditures and efforts on our part to ensure our PRC subsidiary compliance with such regulations or interpretations. As such, any future PRC subsidiary may be subject to various government and regulatory interference in the provinces in which they operate. They could be subject to regulation by various political and regulatory entities, including various local and municipal agencies and government sub-divisions. They may incur increased costs necessary to comply with existing and newly adopted laws and regulations or penalties for any failure to comply.
Furthermore, it is uncertain when and whether we will be required to obtain permission from the PRC government to list on U.S. exchanges in the future, and even when such permission is obtained, whether it will be denied or rescinded. Our operations following a business combination with a PRC entity could be adversely affected, directly or indirectly, by existing or future laws and regulations relating to our business or industry, particularly in the event permission to list on U.S. exchanges may be later required, or withheld or rescinded once given.
Accordingly, government actions in the future, including any decision to intervene or influence the operations of any future PRC subsidiary at any time or to exert control over an offering of securities conducted overseas and/or foreign investment in China-based issuers, may cause us to make material changes to the operations of any future PRC subsidiary, may limit or completely hinder our ability to offer or continue to offer securities to investors, and/or may cause the value of such securities to significantly decline or be worthless.
Trading in RDAC’s securities may be prohibited under the HFCA Act if the PCAOB determines that it cannot inspect or fully investigate our auditor. In that case, Nasdaq would delist our securities. The delisting of our securities, or the threat of their being delisted, may materially and adversely affect the value of your investment. Additionally, the inability of the PCAOB to conduct inspections may deprive our investors with the benefits of such inspections.
The HFCA Act, or the HFCA Act, was enacted on December 18, 2020. The HFCA Act states if the SEC determines that we have filed audit reports issued by a registered public accounting firm that has not been subject to inspection by the PCAOB for three consecutive years, the SEC shall prohibit our shares or other securities from being traded on a national securities exchange or in the over-the-counter trading market in the U.S.
| 74 |
RDAC’s auditor, Adeptus Partners, LLC, is a United States accounting firm headquartered in Ocean, New Jersey. Adeptus Partners, LLC is a firm registered with the PCAOB and is subject to laws in the United States pursuant to which the PCAOB conducts regular inspections to assess its compliance with the applicable professional standards. However, if it is later determined that the PCAOB is unable to inspect or investigate completely our auditor because of a position taken by an authority in a foreign jurisdiction, Nasdaq would delist our securities, and the SEC shall prohibit them from being traded on a national securities exchange or in the over-the-counter trading market in the U.S. For example, if we effect our initial business combination with a business located in the PRC and if our new auditor is located in China, with operations in and which performs audit operations of registrants in China, a jurisdiction where the PCAOB has been unable to conduct inspections without the approval of the Chinese authorities, the work of our new auditor as it relates to those operations may not be inspected by the PCAOB. Although we will not conduct an initial business combination with a target company that has an auditor that PCAOB is unable to inspect for two consecutive years at the time of our business combination, and will not engage an auditor following an initial business combination that PCAOB is unable to inspect for two consecutive years, which requirements will be included as a condition to closing our initial business combination, if applicable laws, regulations or interpretations change that prevent any such auditor from being inspected by the PCAOB in the future, we may suffer adverse consequences including the delisting of our securities. If our securities are delisted and prohibited from being traded on a national securities exchange or in the over-the-counter trading market in the U.S. due to the PCAOB not being able to conduct inspections or full investigations of our auditor, it would substantially impair your ability to sell or purchase our securities when you wish to do so, and the risk and uncertainty associated with potential delisting and prohibition would have a negative impact on the price of our securities. Also, such delisting and prohibition could significantly affect the company’s ability to raise capital on acceptable terms, or at all, which would have a material adverse effect on the company’s business, financial condition and prospects.
On March 24, 2021, the SEC adopted interim final rules relating to the implementation of certain disclosure and documentation requirements under the HFCA Act. We will be required to comply with these rules if the SEC identifies us as having a “non-inspection” year under a process to be subsequently established by the SEC. On June 22, 2021, the U.S. Senate passed the Accelerating Holding Foreign Companies Accountable Act, which would amend the HFCA Act and require the SEC to prohibit an issuer’s securities from trading on any U.S. stock exchanges if its auditor is not subject to PCAOB inspections for two consecutive years instead of three consecutive years.
On November 5, 2021, the SEC approved the PCAOB’s Rule 6100, Board Determinations Under the HFCA Act. Rule 6100 provides a framework for the PCAOB to use when determining, as contemplated under the HFCA Act, whether it is unable to inspect or investigate completely registered public accounting firms located in a foreign jurisdiction because of a position taken by one or more authorities in that jurisdiction. On December 2, 2021, the SEC issued amendments to finalize rules implementing the submission and disclosure requirements of the HFCA Act. The rules apply to registrants that the SEC identifies as having filed an annual report with an audit report issued by a registered public accounting firm that is located in a foreign jurisdiction and that the PCAOB is unable to inspect or investigate completely because of a position taken by an authority in a foreign jurisdiction.
On December 16, 2021, the PCAOB issued a report in which it determined that it is unable to inspect or investigate completely registered public accounting firms headquartered in China, because of positions taken by Chinese authorities in those jurisdictions. The PCAOB made its determination pursuant to its Rule 6100, which provides the framework for how the PCAOB fulfills its responsibilities under the HFCA Act. In addition, the PCAOB’s report also that it is unable to inspect or investigate completely registered public accounting firms headquartered in China. Our auditor, Adeptus Partners, LLC, is headquartered in Ocean, New Jersey, and was not identified in the report as a firm subject to the PCAOB’s determination.
In December 2021, the SEC adopted amendments to finalize its rules under the HFCA Act that set forth submission and disclosure requirements for commission-identified issuers identified under the Act, specify the processes by which the SEC will identify and notify Commission-Identified Issuers, and implement trading prohibitions after three consecutive years of identification. On December 2022, Congress passed the omnibus spending bill and the President signed it into law. This spending bill included the enactment of provisions to accelerate the timeline for implementation of trading prohibitions from three years to two years. Separately, on December 15, 2022 the PCAOB published its determination that in 2022 the PCAOB was able to inspect and investigate completely registered public accounting firms headquartered in mainland China and Hong Kong. This determination reset the now two-year clock for compliance with the trading prohibitions for identified issuers audited by these firms. The amendment had originally been passed by the U.S. Senate in June 2021, as the Accelerating Holding Foreign Companies Accountable Act.
| 75 |
The SEC may propose additional rules or guidance that could impact us if our auditor is not subject to PCAOB inspection. For example, on August 6, 2020, the President’s Working Group (“PWG”) on Financial Markets, or the PWG, issued the Report on Protecting United States Investors from Significant Risks from Chinese Companies to the then President of the United States. This report recommended the SEC implement five recommendations to address companies from jurisdictions that do not provide the PCAOB with sufficient access to fulfill its statutory mandate. Some of the concepts of these recommendations were implemented with the enactment of the HFCA Act. However, some of the recommendations were more stringent than the HFCA Act. For example, if a company was not subject to PCAOB inspection, the report recommended that the transition period before a company would be delisted would end on January 1, 2022.
The SEC has announced that the SEC staff is preparing a consolidated proposal for the rules regarding the implementation of the HFCA Act and to address the recommendations in the PWG report. It is unclear when the SEC will complete its rulemaking and when such rules will become effective and what, if any, of the PWG recommendations will be adopted. The SEC has also announced amendments to various annual report forms to accommodate the certification and disclosure requirements of the HFCA Act. There could be additional regulatory or legislative requirements or guidance that could impact us if our auditor is not subject to PCAOB inspection. The implications of these possible regulations in addition to the requirements of the HFCA Act are uncertain, and such uncertainty could cause the market price of our securities to be materially and adversely affected. If, for whatever reason, the PCAOB is unable to conduct inspections or full investigations of our auditor, the company could be delisted or prohibited from being traded over the counter earlier than would be required by the HFCA Act. If our securities are unable to be listed on another securities exchange by then, such delisting and prohibition would substantially impair your ability to sell or purchase our securities when you wish to do so, and the risk and uncertainty associated with potential delisting and prohibition would have a negative impact on the price of our securities. Also, such delisting and prohibition could significantly affect the company’s ability to raise capital on acceptable terms, or at all, which would have a material adverse effect on the company’s business, financial condition and prospects.
Inspections of audit firms that the PCAOB has conducted have identified deficiencies in those firms’ audit procedures and quality control procedures, which may be addressed as part of the inspection process to improve future audit quality. If the PCAOB were unable to conduct inspections or full investigations of the company’s auditor, investors in our securities would be deprived of the benefits of such PCAOB inspections. In addition, the inability of the PCAOB to conduct inspections or full investigations of auditors would may make it more difficult to evaluate the effectiveness of the company’s independent registered public accounting firm’s audit procedures or quality control procedures as compared to auditors that are subject to the PCAOB inspections, which could cause investors and potential investors in our stock to lose confidence in the audit procedures of our auditor and reported financial information and the quality of our financial statements.
Risk Factors Relating to the Business Combination
Rising Dragon and HZJL have incurred and expect to incur significant costs associated with the Business Combination. Whether or not the Business Combination is completed, the incurrence of these costs will reduce the amount of cash available to be used for other corporate purposes by the combined company if the Business Combination is completed or by Rising Dragon if the Business Combination is not completed.
Rising Dragon and HZJL expect to incur significant costs associated with the Business Combination. Whether or not the Business Combination is completed, Rising Dragon expects to incur approximately $500,000 in expenses. These expenses will reduce the amount of cash available to be used for other corporate purposes by the combined company if the Business Combination is completed or by Rising Dragon if the Business Combination is not completed. If the Business Combination is not consummated, Rising Dragon may not have sufficient funds to seek an alternative business combination and may be forced to liquidate and dissolve.
In the event that a significant number of RDAC Ordinary Shares are redeemed, the PubCo Ordinary Shares may become less liquid following the Business Combination.
If a significant number of RDAC Ordinary Shares are redeemed, PubCo may be left with a significantly smaller number of shareholders. As a result, trading in the shares of PubCo following the Business Combination may be limited and your ability to sell your shares in the market could be adversely affected. PubCo intends to list its ordinary shares on Nasdaq, and Nasdaq may not list the PubCo Class A Ordinary Shares on its exchange, which could limit investors’ ability to make transactions in PubCo’s securities and subject PubCo to additional trading restrictions.
| 76 |
Rising Dragon may waive one or more of the conditions to the Business Combination without resoliciting Rising Dragon shareholder approval for the Business Combination.
Rising Dragon may agree to waive, in whole or in part, some of the conditions to its obligations to complete the Business Combination, to the extent permitted by applicable laws. The Rising Dragon board of directors will evaluate the materiality of any waiver to determine whether amendment of this proxy statement/prospectus and resolicitation of proxies is warranted.
In some instances, if the Rising Dragon board of directors determines that a waiver is not sufficiently material to warrant resolicitation of Rising Dragon shareholders, Rising Dragon has the discretion to complete the Business Combination without seeking further shareholder approval. For example, it is a condition to Rising Dragon’s obligations to close the Business Combination that there be no restraining order, injunction or other order restricting HZJL’s conduct of its business, however, if the Rising Dragon board of directors determines that any such order or injunction is not material to the business of HZJL, then the Rising Dragon board of directors may elect to waive that condition and close the Business Combination.
The grant and future exercise of registration rights may adversely affect the market price of PubCo’s securities upon consummation of the Business Combination.
Pursuant to the registration rights agreements to be entered into in connection with the Business Combination and which are described elsewhere in this proxy statement/prospectus, certain shareholders can demand that PubCo register their registrable securities under certain circumstances and will also have piggyback registration rights for these securities in connection with certain registrations of securities that PubCo undertakes. Following the consummation of the Business Combination, PubCo intends to file and maintain an effective registration statement under the Securities Act covering such securities.
The registration of these securities will permit the public resale of such securities. The registration and availability of such a significant number of securities for trading in the public market may have an adverse effect on the market price of PubCo Class A Ordinary Shares post-Business Combination.
There will be a substantial number of PubCo Class A Ordinary Shares available for sale in the future that may adversely affect the market price of PubCo Class A Ordinary Shares.
PubCo may issue such number of shares as may be approved by its shareholders and authorized by its directors, in accordance with the terms of its memorandum and articles of association. No less than 87.49% shares to be issued in the Acquisition Merger to the current HZJL shareholders will be subject to certain restrictions on sale and cannot be sold for at least six (6) months from the closing of the Business Combination. In addition, the 1,437,500 PubCo Class A Ordinary Shares owned by our initial shareholders that are currently locked up will be released and available for sale as early as six months from the date of the Business Combination provided that such shares will be released on the date on which the closing price of the shares equals or exceeds $12.00 per share (as adjusted for share splits, share dividends, reorganizations and recapitalizations) for any 20 trading days within any 30-trading day period commencing at least 150 days after the initial Business Combination. After the expiration of this restricted period, there will then be an additional 1,437,500 shares that are eligible for trading in the public market. The availability of such a significant number of securities for trading in the public market may have an adverse effect on the market price of PubCo Class A Ordinary Shares.
Rising Dragon shareholders will experience immediate dilution as a consequence of the issuance of PubCo Ordinary Shares as consideration in the Business Combination. Having a minority share position may reduce the influence that Rising Dragon’s current shareholders have on the management of PubCo.
After the Business Combination, assuming there are no redemptions of our shares, Rising Dragon’s current public shareholders will own approximately 14.10% of the issued share capital of PubCo, Rising Dragon’s current directors, officers and affiliates will own approximately 3.84% of the issued share capital of PubCo, and HZJL shareholders will own approximately 78.04% of the issued share capital of PubCo. See “Questions and Answers About the Business Combination and the Extraordinary General Meeting – After redemptions, how many shares will be outstanding?” for additional details regarding this estimation. The minority position of the former Rising Dragon’s shareholders will give them limited influence over the management and operations of the post-Business Combination company.
| 77 |
If the Adjournment Proposal is not approved, and an insufficient number of votes have been obtained to authorize the consummation of the Business Combination, the Board will not have the ability to adjourn the extraordinary general meeting to a later date in order to solicit additional votes, and, therefore, the Business Combination will not be completed.
The Rising Dragon board of directors is seeking approval to adjourn the Extraordinary General Meeting to a later date or dates if, at the Extraordinary General Meeting, Rising Dragon is unable to consummate the Business Combination due to insufficient number of votes for the Acquisition Merger Proposal. If the Adjournment Proposal is not approved, the Board will not have the ability to adjourn the meeting to a later date in order to solicit additional votes and, therefore, the Business Combination will not be completed.
Our officers and directors have pre-existing fiduciary and contractual obligations and accordingly, may have conflicts of interest in determining to which entity a particular business opportunity should be presented.
Our officers and directors have pre-existing fiduciary and contractual obligations to other companies, including other companies that are engaged in business activities similar to those intended to be conducted by us. Accordingly, they may participate in transactions and have obligations that may be in conflict or competition with our consummation of our initial business combination. As a result, a potential target business may be presented by our management team to another entity prior to its presentation to us and Rising Dragon may not be afforded the opportunity to engage in a transaction with such target business.
HZJL’s operating and financial results forecast and certain estimates of market opportunity included in this proxy statement/ prospectus rely in large part upon assumptions and analyses. If these assumptions or analyses prove to be incorrect, HZJL’s actual operating and financial results may be materially different from its forecasted results.
The projected financial and operating information and market opportunity estimates appearing elsewhere in this proxy statement/prospectus reflect current estimates of future performance, or as of the date stipulated. Whether actual operating and financial results and business developments will be consistent with HZJL’s expectations and assumptions as reflected in its forecasts depends on a number of factors, many of which are subject to significant uncertainties and contingencies that are difficult to predict and are beyond HZJL and Rising Dragon’s control, including, but not limited to:
| ● | the general addressable market for HZJL’s products and services, as well as the online branding services and other relevant market in general; | |
| ● | success and timing of HZJL’s business strategy; | |
| ● | competition, including from established and future competitors; | |
| ● | whether HZJL can obtain sufficient capital to sustain and grow its business; | |
| ● | HZJL’s ability to manage its growth; | |
| ● | HZJL’s ability to retain existing key management, integrate recent hires and attract, retain and motivate qualified personnel; and | |
| ● | the overall strength and stability of domestic and international economies. |
The financial forecasts of HZJL are based on assumptions made by the management of HZJL in preparing their respective financial forecasts, and are subject to significant uncertainties and contingencies that are difficult to predict and are beyond the control of HZJL. Furthermore, market opportunity estimates and growth forecasts, whether obtained from third-party sources or developed internally, are subject to significant uncertainty and are based on assumptions and estimates that may prove to be inaccurate. The estimated addressable market may not materialize for many years, if ever, and even if the market meets the size estimates and growth forecasted in this proxy statement/prospectus, HZJL’s business could fail to grow at similar rates. Any unfavorable changes in any of those factors listed above could materially and adversely affect its financial condition, business, results of operations and prospects of the post-Business Combination company.
| 78 |
A decline in financial forecast or the failure of actual financial results of HZJL to meet the forecasted results as disclosed elsewhere in this proxy statement/prospectus may adversely affect the future financial condition, results of operations and prospects of the post-Business Combination company.
Although the financial forecasts of HZJL are included in this proxy statement/prospectus, such forecasts are based on assumptions made by the management of HZJL in preparing their financial forecasts, and are subject to significant uncertainties and contingencies that are difficult to predict and are beyond the control of HZJL. The financial forecasts may decline or the actual financial results of HZJL may fail to meet the forecasted results, which may have an adverse impact on the stock price and prospects of the post-Business Combination company.
None of Rising Dragon, HZJL, or any of their respective affiliates, advisors, officers, directors, or representatives has made or makes any representation or can give any assurance to any Rising Dragon shareholders, or any other person, regarding the ultimate performance of HZJL compared to the information set forth in the financial projections provided in this proxy statement/prospectus.
You should be aware that uncertainties are inherent in prospective financial projections of any kind, and such uncertainties increase with the passage of time. None of Rising Dragon, HZJL, or any of their respective affiliates, advisors, officers, directors, or representatives has made or makes any representation or can give any assurance to any Rising Dragon shareholders, or any other person, regarding the ultimate performance of HZJL compared to the information set forth under “The Acquisition Merger Proposal — Summary of Financial Analysis — Certain HZJL Projected Financial Information” or that any such results will be achieved.
The inclusion of HZJL’s financial projections, including the HZJL Management Projections (as defined below), relating to its business in this proxy statement/prospectus should not be regarded as an indication that Rising Dragon, HZJL, or their respective advisors or other representatives considered or consider the projections to be necessarily predictive of actual future performance or events, and the projections set forth under “The Acquisition Merger Proposal — Summary of Financial Analysis — Certain HZJL Projected Financial Information” should not be relied upon as such. The projections were prepared by management of HZJL based, in part, on certain information furnished by HZJL and speak as of the date that such projections were made. Neither the independent registered public accounting firm of Rising Dragon or HZJL nor any other independent accounts has audited, reviewed, compiled, examined, or performed any procedures with respect to the accompanying unaudited prospective financial information for the purpose of its inclusion herein, and accordingly, neither the independent registered public accounting firm of Rising Dragon or HZJL, nor any other independent accountant expresses an opinion or provides any form of assurance with respect thereto for the purpose of this proxy statement/prospectus.
Risks Factors Relating to an Investment in PubCo Ordinary Shares
PubCo’s dual-class share structure with different voting rights may adversely affect the value and liquidity of the ordinary shares.
We cannot predict whether PubCo’s dual-class share structure with different voting rights will result in a lower or more volatile market price of the ordinary shares, in adverse publicity, or other adverse consequences. Certain index providers have announced restrictions on including companies with multiple-class share structures in certain of their indices. For example, in July 2017, FTSE Russell announced that it plans to require new constituents of its indices to have greater than 5% of the company’s voting rights in the hands of public shareholders, and S&P Dow Jones announced that it will no longer admit companies with multiple-class share structures to certain of its indices. In 2017, MSCI, a leading stock index provider, opened public consultations on their treatment of no-vote and multi-class structures and temporarily barred new multi-class listings from certain of its indices. In October 2018, MSCI announced its decision to include equity securities “with unequal voting structures” in its indices and to launch a new index that specifically includes voting rights in its eligibility criteria. Because of PubCo’s dual-class structure, HZJL will likely be excluded from these indices and other stock indices that take similar actions. Given the sustained flow of investment funds into passive strategies that seek to track certain indices, exclusion from certain stock indices would likely preclude investment by many of these funds and could make the ordinary shares less attractive to investors. In addition, several shareholder advisory firms have announced their opposition to the use of multiple class structure and PubCo’s dual-class structure may cause shareholder advisory firms to publish negative commentary about PubCo’s corporate governance, in which case the market price and liquidity of the ordinary shares could be adversely affected.
PubCo’s dual-class share structure with different voting rights will limit your ability to influence corporate matters and could discourage others from pursuing any change of control transactions that holders of PubCo’s Class A Ordinary Shares may view as beneficial.
PubCo will adopt a dual-class share structure such that PubCo’s ordinary shares will consist of PubCo Class A Ordinary Shares and PubCo Class B Ordinary Shares conditional upon and effective immediately prior to the completion of the Business Combination. In respect of matters requiring the votes of shareholders, each PubCo Class A Ordinary Share is entitled to one vote and each PubCo Class B Ordinary Share is entitled to ten (10) votes. Each PubCo Class B Ordinary Share is convertible into one PubCo Class A Ordinary Share at any time by the holder thereof. PubCo Class A Ordinary Shares are not convertible into PubCo Class B Ordinary Shares under any circumstances. Only PubCo Class A Ordinary Shares are tradable on the market immediately after the Business Combination.
Because PubCo will be a “controlled company” as defined in the Nasdaq Stock Market Rules, you may not have protections of certain corporate governance requirements which otherwise are required by Nasdaq’s rules.
Under Nasdaq’s rules, a controlled company is a company of which more than 50% of the voting power for the election of directors is held by an individual, group or another company. PubCo will be a controlled company because, immediately after the consummation of the Business Combination, Bin Xiong, Chairman Designate, Director Nominee and Chief Executive Officer Designate of PubCo, through XB B Limited will hold approximately 80.0% (under the no redemption scenario) or approximately 83.1% (under the maximum redemption scenario) of PubCo’s voting power. For so long as PubCo remains a controlled company, it is not required to comply with certain corporate governance requirements, and may rely on certain exemptions from the obligation to comply with certain corporate governance requirements, including:
| ● | PubCo’s board of directors is not required to be comprised of a majority of independent directors; | |
| ● | PubCo’s board of directors is not subject to the compensation committee requirement; and | |
| ● | PubCo is not subject to the requirements that director nominees be selected either by the independent directors or a nomination committee comprised solely of independent directors. |
PubCo intends to take advantage of these exemptions. Although Pubco is expected to have a compensation committee and nominating and corporate governance committee, such committees will not be composed entirely of “independent directors.” As a result, if PubCo takes advantage of these exemptions, you will not have the same protections afforded to shareholders of companies that are subject to all of the Nasdaq corporate governance requirements. As a result, you may not be provided with the benefits of certain corporate governance requirements of Nasdaq applicable to U.S. domestic public companies.
Certain judgments obtained against PubCo by PubCo’s shareholders may not be enforceable.
PubCo is an exempted company with limited liability incorporated under the laws of the Cayman Islands. HZJL conducts its operations in China, and substantially all of its operations outside of the United States. Most of HZJL’s assets are located in China, and substantially all of HZJL’s assets are located outside of the United States In addition, after the Business Combination, most of PubCo’s senior executive officers will reside within China for a significant portion of the time and most are PRC nationals. Substantially all of the assets of these persons are located outside the United States. As a result, it may be difficult or impossible for you to bring an action against PubCo or against these individuals in the United States in the event that you believe that your rights have been infringed under the U.S. federal securities laws or otherwise. Even if you are successful in bringing an action of this kind, the laws of the Cayman Islands and of China may render you unable to enforce a judgment against PubCo’s assets or the assets of PubCo’s directors and officers. For more information regarding the relevant laws of the Cayman Islands and China, see “Comparison of Shareholder Rights — Enforceability of Civil Liabilities under the U.S. Securities Laws.”
| 79 |
Currently, there is no public market for the ordinary shares of PubCo. Rising Dragon shareholders cannot be sure that an active trading market will develop for or of the market price of the ordinary shares of PubCo they will receive or that PubCo will successfully obtain authorization for listing on the Nasdaq.
Upon the consummation of the Business Combination, each ordinary share of Rising Dragon will be converted into the right to receive one PubCo Class A Ordinary Share. PubCo is a newly formed entity and prior to this transaction it has not issued any securities in the U.S. markets or elsewhere nor has there been extensive information about it, its businesses, or its operations publicly available. Rising Dragon, HZJL and PubCo have agreed to use their best efforts to cause the ordinary shares of PubCo to be issued in the Business Combination to be approved for listing on the Nasdaq prior to the effective time of the Business Combination. However, the listing of shares on the Nasdaq does not ensure that a market for the ordinary shares of PubCo will develop or the price at which the shares will trade. No assurance can be provided as to the demand for or trading price of the ordinary shares of PubCo following the closing of the Business Combination and the ordinary shares of PubCo may trade at a price less than the current market price of the ordinary shares of Rising Dragon.
Even if PubCo is successful in developing a public market, there may not be enough liquidity in such market to enable shareholders to sell their ordinary shares. If a public market for the combined company’s ordinary shares does not develop, investors may not be able to re-sell their ordinary shares, rendering their shares illiquid and possibly resulting in a complete loss of their investment. PubCo cannot predict the extent to which investor interest in PubCo will lead to the development of an active, liquid trading market. The trading price of and demand for the ordinary shares of PubCo following completion of the Business Combination and the development and continued existence of a market and favorable price for the ordinary shares of PubCo will depend on a number of conditions, including the development of a market following, including by analysts and other investment professionals, the businesses, operations, results and prospects of PubCo, general market and economic conditions, governmental actions, regulatory considerations, legal proceedings and developments or other factors. These and other factors may impair the development of a liquid market and the ability of investors to sell shares at an attractive price. These factors also could cause the market price and demand for the ordinary shares of PubCo to fluctuate substantially, which may limit or prevent investors from readily selling their shares and may otherwise affect negatively the price and liquidity of the ordinary shares of PubCo. Many of these factors and conditions are beyond the control of PubCo or PubCo shareholders.
PubCo’s share price may be volatile and could decline substantially.
The market price of PubCo’s ordinary shares may be volatile, both because of actual and perceived changes in the combined company’s financial results and prospects, and because of general volatility in the stock market. The factors that could cause fluctuations in PubCo’s share price may include, among other factors discussed in this prospectus, the following:
| ● | actual or anticipated variations in the financial results and prospects of the combined company or other companies in the online branding services; | |
| ● | changes in financial estimates by research analysts; | |
| ● | changes in the market valuations of other online branding services companies; | |
| ● | announcements by PubCo or its competitors of new services or products, expansions, investments, acquisitions, strategic partnerships or joint ventures; | |
| ● | mergers or other business combinations involving PubCo; |
| ● | additions and departures of key personnel and senior management; | |
| ● | changes in accounting principles; | |
| ● | the passage of legislation or other developments affecting PubCo or its industry; | |
| ● | the trading volume of PubCo’s ordinary shares in the public market; | |
| ● | the release of lockup, escrow or other transfer restrictions on PubCo’s issued and outstanding equity securities or sales of additional equity securities; | |
| ● | potential litigation or regulatory investigations; |
| 80 |
| ● | changes in economic conditions, including fluctuations in global and Chinese economies; | |
| ● | financial market conditions; | |
| ● | natural disasters, terrorist acts, acts of war or periods of civil unrest; and | |
| ● | the realization of some or all of the risks described in this section. |
In addition, the stock markets have experienced significant price and trading volume fluctuations from time to time, and the market prices of the equity securities have been extremely volatile and are sometimes subject to sharp price and trading volume changes. These broad market fluctuations may materially and adversely affect the market price of PubCo’s ordinary shares.
The sale or availability for sale of substantial amounts of PubCo Class A ordinary shares could adversely affect their market price.
Sales of substantial amounts of PubCo Class A ordinary shares in the public market after the completion of the Business Combination, or the perception that these sales could occur, could adversely affect the market price of the PubCo Class A Ordinary Shares and could materially impair PubCo’s ability to raise capital through equity offerings in the future. The PubCo Class A Ordinary Shares listed after the Business Combination will be freely tradable without restriction or further registration under the Securities Act. In connection with the Business Combination, HZJL and its directors, executive officers and existing shareholders will exchange the ordinary shares of HZJL held by them for PubCo Ordinary Shares upon the consummation of the Business Combination and have agreed, subject to certain exceptions, not to sell any PubCo Class A Ordinary Shares for six (6) months after the date of closing of the Business Combination without the prior written consent of PubCo. Shares of PubCo to be held by certain of HZJL’s existing shareholders after the Business Combination may be sold in the public market in the future subject to the restrictions in Rule 144 and Rule 701 under the Securities Act and the applicable lockup agreements.
If securities or industry analysts do not publish research or publish inaccurate or unfavorable research about PubCo or its business, its ordinary shares price and trading volume could decline.
The trading market for PubCo’s ordinary shares will depend in part on the research and reports that securities or industry analysts publish about PubCo or its business. Securities and industry analysts do not currently, and may never, publish research on PubCo. If no securities or industry analysts commence coverage of PubCo, the trading price for its ordinary shares would likely be negatively impacted. In the event securities or industry analysts initiate coverage, if one or more of the analysts who cover PubCo downgrade its securities or publish inaccurate or unfavorable research about its business, its stock price would likely decline. If one or more of these analysts cease coverage of PubCo or fail to publish reports on PubCo, demand for its ordinary shares could decrease, which might cause its ordinary share price and trading volume to decline.
The Proposed PubCo Charter that will become effective immediately prior to the completion of the Business Combination contains anti-takeover provisions that could have a material adverse effect on the rights of holders of the ordinary shares of PubCo.
In connection with the Business Combination, PubCo will adopt an amended and restated memorandum and articles of association that will become effective immediately prior to the consummation of the Business Combination. The Proposed PubCo Charter will contain provisions to limit the ability of others to acquire control of PubCo or cause PubCo to engage in change-of-control transactions. These provisions could have the effect of depriving PubCo shareholders of an opportunity to sell their shares at a premium over prevailing market prices by discouraging third parties from seeking to obtain control of PubCo in a tender offer or similar transaction. For example, PubCo’s board of directors will have the authority, subject to any resolution of the shareholders to the contrary, to issue preferred shares in one or more series and to fix their designations, powers, preferences, privileges, and relative participating, optional or special rights and the qualifications, limitations or restrictions, including dividend rights, conversion rights, voting rights, terms of redemption and liquidation preferences, any or all of which may be greater than the rights associated with PubCo Ordinary Shares. Preferred shares could be issued quickly with terms calculated to delay or prevent a change in control of PubCo or make removal of management more difficult. If PubCo’s board of directors decides to issue preferred shares, the price of the ordinary shares of PubCo may fall and the voting and other rights of the holders of the ordinary shares of PubCo may be materially and adversely affected.
| 81 |
Risk Factors Relating to PubCo
If PubCo ceases to qualify as a foreign private issuer, it would be required to comply fully with the reporting requirements of the Exchange Act applicable to U.S. domestic issuers, and it would incur significant additional legal, accounting and other expenses that it would not incur as a foreign private issuer.
As a foreign private issuer, PubCo will be exempt from the rules under the Exchange Act prescribing the furnishing and content of proxy statements, and its officers, directors and principal shareholders will be exempt from the reporting and short-swing profit recovery provisions contained in Section 16 of the Exchange Act. In addition, it will not be required under the Exchange Act to file periodic reports and financial statements with the SEC as frequently or as promptly as United States domestic issuers, and it will not be required to disclose in its periodic reports all of the information that United States domestic issuers are required to disclose. PubCo will be required to file an annual report on Form 20-F within four months of the end of each fiscal year. In addition, PubCo intends to publish its results on a semi-annual basis as press releases, distributed pursuant to the rules and regulations of the Nasdaq Stock Market. Press releases relating to financial results and material events will also be furnished to the SEC on Form 6-K. However, the information PubCo is required to file with or furnish to the SEC will be less extensive and less timely compared to that required to be filed with the SEC by U.S. domestic issuers. As a result, shareholders of PubCo may not be afforded the same protections or information that would be made available to them were they investing in a U.S. domestic issuer. If PubCo ceases to qualify as a foreign private issuer in the future, it would incur significant additional expenses that could have a material adverse effect on its results of operations.
Because PubCo is a foreign private issuer and is exempt from certain Nasdaq corporate governance standards applicable to U.S. issuers, you will have less protection than you would have if it were a domestic issuer.
PubCo’s status as a foreign private issuer exempts it from compliance with certain Nasdaq corporate governance requirements if it instead complies with the statutory requirements applicable to a Cayman Islands exempted company. The statutory requirements of PubCo’s home country of Cayman Islands, do not strictly require a majority of its board to consist of independent directors. Thus, although a director must act in the best interests of PubCo, it is possible that fewer board members will be exercising independent judgment and the level of board oversight on the management the company may decrease as a result. In addition, the Nasdaq Listing Rules also require U.S. domestic issuers to have an independent compensation committee with a minimum of two members, a nominating committee, and an independent audit committee with a minimum of three members. PubCo, as a foreign private issuer, with the exception of needing an independent audit committee composed of at least three members, is not subject to these requirements. The Nasdaq Listing Rules may also require shareholder approval for certain corporate matters that PubCo’s home country’s rules do not. Following Cayman Islands governance practices, as opposed to complying with the requirements applicable to a U.S. company listed on Nasdaq, may provide less protection to you than would otherwise be the case.
Although as a Foreign Private Issuer PubCo is exempt from certain corporate governance standards applicable to US domestic issuers, if PubCo cannot satisfy, or continue to satisfy, the initial listing requirements and other rules of Nasdaq, PubCo’s securities may not be listed or may be delisted, which could negatively impact the price of its securities and your ability to sell them.
PubCo will seek to have its securities approved for listing on Nasdaq in connection with the Business Combination. PubCo cannot assure you that it will be able to meet those initial listing requirements at that time. Even if PubCo’s securities are listed on Nasdaq, it cannot assure you that its securities will continue to be listed on Nasdaq.
In addition, following the Business Combination, in order to maintain its listing on Nasdaq, PubCo will be required to comply with certain rules of Nasdaq, including those regarding minimum shareholders’ equity, minimum share price, minimum market value of publicly held shares, and various additional requirements. Even if PubCo initially meets the listing requirements and other applicable rules of Nasdaq, PubCo may not be able to continue to satisfy these requirements and applicable rules. If PubCo is unable to satisfy Nasdaq criteria for maintaining its listing, its securities could be subject to delisting.
If Nasdaq does not list PubCo’s securities, or subsequently delists its securities from trading, PubCo could face significant consequences, including:
| ● | a limited availability for market quotations for its securities; | |
| ● | reduced liquidity with respect to its securities; |
| 82 |
| ● | a determination that its ordinary shares is a “penny stock,” which will require brokers trading in PubCo Class A Ordinary Shares Ordinary Shares to adhere to more stringent rules and possibly result in a reduced level of trading activity in the secondary trading market for PubCo Class A Ordinary Shares Ordinary Shares; |
| ● | limited amount of news and analyst coverage; and | |
| ● | a decreased ability to issue additional securities or obtain additional financing in the future. |
You may face difficulties in protecting your interests, and your ability to protect your rights through U.S. courts may be limited, because PubCo is incorporated under Cayman Islands law.
PubCo is an exempted company with limited liability incorporated under the laws of the Cayman Islands. PubCo’s corporate affairs are governed by its memorandum and articles of association, the Companies Act (Revised) of the Cayman Islands and the common law of the Cayman Islands. The rights of shareholders to take action against PubCo’s directors, actions by PubCo’s minority shareholders and the fiduciary duties of PubCo’s directors to PubCo under Cayman Islands law are to a large extent governed by the common law of the Cayman Islands. The common law of the Cayman Islands is derived in part from comparatively limited judicial precedent in the Cayman Islands as well as from the common law of England, the decisions of whose courts are of persuasive authority, but are not binding, on a court in the Cayman Islands. The rights of PubCo’s shareholders and the fiduciary duties of PubCo’s directors under Cayman Islands law are not as clearly established as they would be under statutes or judicial precedent in some jurisdictions in the United States. In particular, the Cayman Islands have a less developed body of securities laws than the United States. Some U.S. states, such as Delaware, have more fully developed and judicially interpreted bodies of corporate law than the Cayman Islands. In addition, Cayman Islands companies may not have standings to initiate a shareholder derivative action in a federal court of the United States.
Shareholders of Cayman Islands exempted companies like PubCo have no general rights under Cayman Islands law to inspect corporate records (other than the memorandum and articles of association, the register of mortgages and charges and any special resolutions passed by PubCo’s shareholders) or to obtain copies of register of members of these companies. Under Cayman Islands law, the names of our current directors can be obtained from a search conducted at the Registrar of Companies in the Cayman Islands. PubCo’s directors, under the Proposed PubCo Charter, may from time to time determine whether and to what extent and at what times and places and under what conditions or regulations the accounts and books of the Company or any of them shall be open to the inspection of shareholders not being directors, and no shareholder (not being a director) shall have any right to inspect any account or book or document of PubCo except as conferred by law or authorised by the directors or by an ordinary resolution. This may make it more difficult for you to obtain the information needed to establish any facts necessary for a shareholder motion or to solicit proxies from other shareholders in connection with a proxy contest.
As a result of all of the above, PubCo’s public shareholders may have more difficulty in protecting their interests in the face of actions taken by PubCo’s management, users of the board of directors or controlling shareholders than they would as public shareholders of a company incorporated in the United States.
You may experience difficulties in effecting service of legal process, enforcing foreign judgments or bringing actions in China against PubCo or its management named in the prospectus based on foreign laws.
PubCo is an exempted company with limited liability incorporated under the laws of the Cayman Islands, PubCo conducts substantially all of its operations in China, and substantially all of PubCo’s assets are located in China. In addition, all PubCo’s senior executive officers, namely, Bin Xiong, Wei Lin Yu, Chun Hui Mao, Jun Gang Wang, Jun Chen Sun and Ye Liu, all reside within China for a significant portion of the time and most are PRC nationals. As a result, it may be difficult for PubCo’s shareholders to effect service of process upon PubCo or those persons inside China. In addition, China does not have treaties providing for the reciprocal recognition and enforcement of judgments of courts with the Cayman Islands and many other countries and regions. Therefore, recognition and enforcement in China of judgments of a court in any of these non-PRC jurisdictions in relation to any matter not subject to a binding arbitration provision may be difficult or impossible.
Shareholder claims that are common in the United States, including securities law class actions and fraud claims, generally are difficult to pursue as a matter of law or practicality in China. For example, in China, there are significant legal and other obstacles to obtaining information needed for shareholder investigations or litigation outside China or otherwise with respect to foreign entities. Although the local authorities in China may establish a regulatory cooperation mechanism with the securities regulatory authorities of another country or region to implement cross-border supervision and administration, such regulatory cooperation with the securities regulatory authorities in the Unities States have not been efficient in the absence of mutual and practical cooperation mechanism.
| 83 |
Among PubCo’s directors and officers, Bin Xiong, Wei Lin Yu, Chun Hui Mao, Jun Gang Wang, Jun Chen Sun and Ye Liu, are residents of China and all or a substantial portion of their assets are located outside the United States. As a result, it may be difficult for a shareholder to effect service of process within the United States upon us or these persons, or to enforce against us or them judgments obtained in United States courts, including judgments predicated upon the civil liability provisions of the securities laws of the United States or any state in the United States. It may also be difficult for a shareholder to enforce judgments obtained in U.S. courts based on the civil liability provisions of the U.S. federal securities laws against us and these persons located in China.
According to Article 177 of the PRC Securities Law, which became effective in March 2020, no overseas securities regulator is allowed to directly conduct investigation or evidence collection activities within the territory of the PRC. Accordingly, without the consent of the competent PRC securities regulators and relevant authorities, no organization or individual may provide the documents and materials relating to securities business activities to overseas parties. See also “— Risks Relating to Risks Relating to PubCo — You may face difficulties in protecting your interests, and your ability to protect your rights through U.S. courts may be limited, because PubCo is incorporated under Cayman Islands law.”
Future changes to U.S. and non-U.S. tax laws could adversely affect PubCo.
The U.S. Congress and other government agencies in jurisdictions where PubCo and its affiliates will do business have had an extended focus on issues related to the taxation of multinational corporations. One example is in the area of “base erosion and profit shifting,” including situations where payments are made between affiliates from a jurisdiction with high tax rates to a jurisdiction with lower tax rates. As a result, the tax laws in the countries in which PubCo and its affiliates do business could change on a prospective or retroactive basis, and any such changes could adversely affect PubCo and its affiliates.
The Reincorporation Merger may be a taxable event for U.S. Holders of RDAC Ordinary Shares and RDAC Rights.
Subject to the limitations and qualifications described in “U.S. Federal Income Tax Considerations — U.S. Federal Income Tax Consequences of the Reincorporation Merger to U.S. Holders of RDAC Securities,” the Reincorporation Merger should qualify as a “reorganization” within the meaning of Section 368 of the Code and, as a result, a U.S. Holder should not recognize gain or loss on the exchange of RDAC Ordinary Shares or RDAC Rights for PubCo Ordinary, as applicable, pursuant to the Reincorporation Merger.
However, U.S. Holders of RDAC securities who would be treated as 5 Percent Holders, and who do not enter into a GRA under applicable Treasury Regulations, may recognize gain (but not loss) as a result of the Reincorporation Merger if Section 367(a) of the Code and the Treasury Regulations promulgated thereunder apply to the Reincorporation Merger or if otherwise required under the PFIC rules. Section 367(a) of the Code may apply to the Reincorporation Merger if PubCo transfers the assets it acquires from RDAC pursuant to the Reincorporation Merger to certain subsidiary corporations in connection with the Business Combination. The requirements under Section 367(a) are not discussed herein. If you believe that you will be a 5 Percent Holder, you are strongly urged to consult your tax advisor regarding the effect of the Reincorporation Merger to you taking into account the rules of Section 367(a) of the Code (including the possibility of entering into a GRA under applicable Treasury Regulations).
Alternatively, if the Reincorporation Merger does not qualify as a “reorganization” within the meaning of Section 368 of the Code, then a U.S. Holder that exchanges its RDAC Ordinary Shares or RDAC Rights for the consideration under the Business Combination will recognize gain or loss equal to the difference between (i) the fair market value of the PubCo Ordinary Shares received and (ii) the U.S. Holder’s adjusted tax basis in the RDAC Ordinary Shares and RDAC Rights exchanged therefor. For a more detailed discussion of certain U.S. federal income tax consequences of the Reincorporation Merger, see the section titled “U.S. Federal Income Tax Considerations — U.S. Federal Income Tax Consequences of the Reincorporation Merger to U.S. Holders of RDAC Securities” in this proxy statement/prospectus. However, the rules under Section 367(a) and Section 368 of the Code are complex and there is limited guidance as to their application, particularly with regard to indirect stock transfers in cross-border reorganizations. Holders should consult their own tax advisors to determine the tax consequences to them (including the application and effect of any state, local or other income and other tax laws) of the Reincorporation Merger.
In addition, U.S. Holders of RDAC Ordinary Shares and RDAC Rights may be subject to adverse U.S. federal income tax consequences under the PFIC regime. Please see “U.S. Federal Income Tax Considerations — Passive Foreign Investment Company Status” for a more detailed discussion with respect to RDAC’s potential PFIC status and certain tax implications thereof.
| 84 |
Further, because the Reincorporation Merger will occur immediately prior to the redemption of RDAC Ordinary Shares, U.S. Holders exercising redemption rights will be subject to the potential tax consequences of the Reincorporation Merger. All U.S. Holders considering exercising redemption rights with respect to their RDAC Ordinary Shares are urged to consult with their tax advisors with respect to the potential tax consequences to them of the Reincorporation Merger and exercise of redemption rights.
PubCo may be or become a PFIC during a U.S. Holder’s holding period, which could result in adverse U.S. federal income tax consequences to U.S. Holders.
If PubCo or any of its subsidiaries is a PFIC for any taxable year, or portion thereof, that is included in the holding period of a U.S. Holder of the PubCo Class A Ordinary Shares, such U.S. Holder may be subject to certain adverse U.S. federal income tax consequences and may be subject to additional reporting requirements. There is no assurance that PubCo or its subsidiaries are not currently PFICs for U.S. federal income tax purposes for the taxable year of the Business Combination or for foreseeable future taxable years. If PubCo determines that it (or any of its non-U.S. subsidiaries) is, or could reasonably be deemed to have been, a PFIC in a taxable year, PubCo intends to use commercially reasonable efforts to provide the statements and information necessary to enable PubCo shareholders as of immediately prior to the Effective Time and their direct and/or indirect owners that are United States persons (within the meaning of Section 7701(a)(30) of the Code) to comply with all provisions of the Code with respect to PFICs (including but not limited to making and complying with the requirements of a “Qualified Electing Fund” (“QEF”) election pursuant to Section 1295 of the Code or filing a “protective statement” pursuant to Treasury Regulation Section 1.1295-3 with respect to PubCo or any of the non-U.S. subsidiaries, as applicable) until the later of two (2) years after the end of PubCo’s current taxable year or such time as PubCo has reasonably determined that it is not a PFIC for three (3) consecutive taxable years. Please see “U.S. Federal Income Tax Considerations — Passive Foreign Investment Company Status” for a more detailed discussion with respect to PubCo’s potential PFIC status and certain tax implications thereof. U.S. Holders are urged to consult their tax advisors regarding the possible application of the PFIC rules to holders of the PubCo Class A Ordinary Shares.
| 85 |
CAPITALIZATION
The following table sets forth the capitalization on an audited, historical basis of Rising Dragon as of December 31, 2024 and information derived from the unaudited consolidated statement of financial position of HZJL as of December 31, 2024 after giving effect to the Business Combination assuming that (i) no holders of RDAC Ordinary Shares exercise their redemption rights, and (ii) the maximum number of holders of RDAC Ordinary Shares have properly exercised their redemption rights. Please see Unaudited Pro Forma Condensed Combined Financial Information for discussion of the adjustments being made to arrive at the as adjusted amounts in each scenario.
| Historical | As Adjusted | |||||||||||||||
| Rising Dragon | HZJL | Scenario 1 Assuming No Redemption | Scenario 2 Assuming Maximum Contractual Redemption | |||||||||||||
| Short-term borrowings | $ | — | $ | 4,014,084 | $ | 4,014,084 | $ | 4,014,084 | ||||||||
| Loans payable | $ | — | $ | 1,551,970 | $ | 1,551,970 | $ | 1,551,970 | ||||||||
| Due to related parties | $ | — | $ | 3,088,352 | $ | 3,088,352 | $ | 3,088,352 | ||||||||
| Total indebtedness | $ | — | $ | 8,654,406 | $ | 8,654,406 | $ | 8,654,406 | ||||||||
| Ordinary shares subject to redemption | $ | 58,330,546 | $ | — | $ | — | $ | — | ||||||||
| Preferred shares, $0.0001 par value; 2,000,000 shares authorized; none issued and outstanding | $ | — | $ | — | $ | — | $ | — | ||||||||
| Ordinary Shares, $0.0001 par value; 55,000,000 shares authorized; 1,749,375 shares issued and outstanding as of December 31, 2024, 0 and 0 shares issued and outstanding in Scenario 1 and Scenario 2, respectively | $ | 175 | $ | — | $ | — | $ | — | ||||||||
| Class A ordinary shares, $0.0001 par value, 0 shares issued and outstanding as of December 31, 2024, 32,557,812 issued and outstanding in Scenario 1, 27,079,125 issued and outstanding in Scenario 2 | $ | — | $ | — | $ | 3,256 | $ | 2,708 | ||||||||
| Class B ordinary shares, $0.0001 par value, 0 shares issued and outstanding as of December 31, 2024, 12,292,000 issued and outstanding in Scenario 1 and 2 | $ | — | $ | — | $ | 1,229 | $ | 1,229 | ||||||||
| Additional paid-in capital | $ | — | $ | 9,294,334 | $ | 64,702,824 | $ | 9,149,484 | ||||||||
| Accumulated deficits | $ | (1,435,746 | ) | $ | (3,153,268 | ) | $ | (3,533,268 | ) | $ | (3,533,268 | ) | ||||
| Accumulated other comprehensive income | $ | — | $ | 273,921 | $ | 273,921 | $ | 273,921 | ||||||||
| Total shareholders’ equity (deficit) | $ | (1,435,571 | ) | $ | 6,414,987 | $ | 61,447,962 | $ | 5,894,074 | |||||||
| Total capitalization and indebtedness | $ | 56,894,975 | $ | 15,069,393 | $ | 70,102,368 | $ | 14,548,480 | ||||||||
| 86 |
THE EXTRAORDINARY GENERAL MEETING OF RISING DRAGON SHAREHOLDERS
General
We are furnishing this proxy statement/prospectus to the Rising Dragon shareholders as part of the solicitation of proxies by the Rising Dragon board of directors for use at the Extraordinary General Meeting to be held on October 20, 2025 and at any adjournment or postponement thereof. This proxy statement/prospectus is first being furnished to our shareholders on or about September 29, 2025 in connection with the vote on the Reincorporation Merger Proposal, the Acquisition Merger Proposal, the Nasdaq Proposal, the PubCo Charter Proposal, the Director Approval Proposal, and the Adjournment Proposal. This document provides you with the information you need to know to be able to vote or instruct your vote to be cast at the Extraordinary General Meeting.
Date, Time and Place
The Extraordinary General Meeting will be held on October 20, 2025 at 10 a.m. Eastern Time, or such other date, time and place to which such meeting may be adjourned or postponed. Rising Dragon will be holding the Extraordinary General Meeting at the offices of Loeb & Loeb LLP, 345 Park Avenue, New York, NY 10154, and virtually via a teleconference using the following dial-in information:
Within the U.S. and Canada Toll Free: 1 800-450-7155 (toll-free)
Outside of the U.S. and Canada: +1 857-999-9155 (standard rates apply)
Participant Passcode: 8029046#
Purpose of the Extraordinary General Meeting
At the Extraordinary General Meeting, we are asking holders of RDAC Ordinary Shares to approve the following Proposals:
| ● | Proposal No. 1 - The Reincorporation Merger Proposal; | |
| ● | Proposal No. 2 - The Acquisition Merger Proposal; | |
| ● | Proposal No. 3 - The Nasdaq Proposal; | |
| ● | Proposal No. 4 – The PubCo Charter Proposal; | |
| Proposal No. 5 – The Director Approval Proposal | ||
| ● | Proposal No. 6 - The Adjournment Proposal to approve the adjournment of the Extraordinary General Meeting. |
Recommendation of Rising Dragon Board of Directors
Rising Dragon board of directors:
| ● | has determined that each of the Reincorporation Merger Proposal, the Acquisition Merger Proposal, the Nasdaq Proposal, the PubCo Charter Proposal, the Director Approval Proposal, and the Adjournment Proposal, are advisable, fair to, and in the best interests of, Rising Dragon and its shareholders; | |
| ● | has approved the Reincorporation Merger Proposal, the Acquisition Merger Proposal, the Nasdaq Proposal, the PubCo Charter Proposal, the Director Approval Proposal, and the Adjournment Proposal; and | |
| ● | recommends that the Rising Dragon shareholders vote “FOR” each of the Reincorporation Merger Proposal, the Acquisition Merger Proposal, the Nasdaq Proposal, the PubCo Charter Proposal, the Director Approval Proposal, and the Adjournment Proposal. |
| 87 |
Rising Dragon board of directors have interests that may be different from or in addition to your interests as a shareholder. See “The Acquisition Merger Proposal — Interests of Certain Persons in the Business Combination” in this proxy statement/prospectus for further information.
Record Date; Who is Entitled to Vote
We have fixed the close of business on September 11, 2025, as the record date for determining those Rising Dragon shareholders entitled to notice of and to vote at the Extraordinary General Meeting. As of the close of business on September 11, 2025, there were 7,499,375 RDAC Ordinary Shares outstanding and entitled to vote. Each holder of RDAC Ordinary Shares is entitled to one vote per share on each Proposal.
In connection with the IPO, we entered into certain letter agreements pursuant to which the initial shareholders agreed to vote any shares owned by them in favor of our initial business combination. As of the date of this proxy statement/prospectus, the initial shareholders hold approximately 22.56% of the outstanding ordinary shares.
Quorum and Required Vote for the Proposals
A quorum of Rising Dragon shareholders is necessary to hold a valid meeting. A quorum will be present at the Extraordinary General Meeting if a majority of the issued and outstanding ordinary shares of Rising Dragon as of the record date present in person by virtual attendance or represented by proxy and entitled to vote at the Extraordinary General Meeting. A Rising Dragon shareholder present in person by virtual attendance or represented by proxy and abstaining from voting at the Extraordinary General Meeting will count as present for the purposes of establishing a quorum but broker non-votes will not.
Approval of each of Proposal No. 1, Proposal No.2 and Proposal No.4 will require the affirmative vote of the holders of no less than two-thirds of the issued and outstanding RDAC Ordinary Shares present and entitled to vote at the Extraordinary General Meeting or any adjournment thereof. Approval of each of Proposal No.3, Proposal No. 5, and Proposal No.7 will require the affirmative vote of the holders of a simple majority of the issued and outstanding RDAC Ordinary Shares present and entitled to vote at the Extraordinary General Meeting or any adjournment thereof. Attending the Extraordinary General Meeting either in person by virtual attendance or by proxy and abstaining from voting will have the same effect as voting against all the Proposals and, assuming a quorum is present, broker non-votes will have no effect on the voting on Proposals.
Voting Your Shares
Each RDAC Ordinary Share that you own in your name entitles you to one vote for each Proposal on which such shares are entitled to vote at the Extraordinary General Meeting. Your proxy card shows the number of RDAC Ordinary Shares that you own.
There are two ways to ensure that your RDAC Ordinary Shares are voted at the Extraordinary General Meeting:
| ● | You can cause your shares to be voted by signing and returning the enclosed proxy card. If you submit your proxy card, your “proxy,” whose name is listed on the proxy card, will vote your shares as you instruct on the proxy card. If you sign and return the proxy card but do not give instructions on how to vote your shares, your shares will be voted, as recommended by the Rising Dragon board of directors, “FOR” the adoption of the Reincorporation Merger Proposal, the Acquisition Merger Proposal, the Nasdaq Proposal, the PubCo Charter Proposal, the Director Approval Proposal, and the Adjournment Proposal. Votes received after a matter has been voted upon at the Extraordinary General Meeting will not be counted. | |
| ● | You can attend the Extraordinary General Meeting by virtual attendance and vote during the meeting even if you have previously voted by submitting a proxy as described above. However, if your shares are held in the name of your broker, bank or another nominee, you must get a proxy from the broker, bank or other nominee. That is the only way we can be sure that the broker, bank or nominee has not already voted your shares. |
| 88 |
IF YOU RETURN YOUR PROXY CARD WITHOUT AN INDICATION OF HOW YOU WISH TO VOTE, YOUR SHARES WILL BE VOTED IN FAVOR OF THE REINCORPORATION MERGER PROPOSAL AND THE ACQUISITION MERGER PROPOSAL (AS WELL AS THE OTHER PROPOSALS). IN ORDER TO REDEEM YOUR SHARES, YOU MUST TENDER YOUR SHARES TO OUR TRANSFER AGENT AT LEAST TWO BUSINESS DAYS PRIOR TO THE EXTRAORDINARY GENERAL MEETING. YOU MAY TENDER YOUR SHARES FOR REDEMPTION BY EITHER DELIVERING YOUR SHARE CERTIFICATE TO THE TRANSFER AGENT OR BY DELIVERING YOUR SHARES ELECTRONICALLY USING THE DEPOSITORY TRUST COMPANY’S DWAC SYSTEM. IF THE BUSINESS COMBINATION IS NOT COMPLETED, THEN THESE TENDERED SHARES WILL NOT BE REDEEMED FOR CASH AND WILL BE RETURNED TO THE APPLICABLE SHAREHOLDER. IF YOU HOLD THE SHARES IN STREET NAME, YOU WILL NEED TO INSTRUCT THE ACCOUNT EXECUTIVE AT YOUR BROKER OR BANK TO WITHDRAW THE SHARES FROM YOUR ACCOUNT IN ORDER TO EXERCISE YOUR REDEMPTION RIGHTS.
Revoking Your Proxy
If you give a proxy, you may revoke it at any time before it is exercised by doing any one of the following:
| ● | you may send another proxy card with a later date; | |
| ● | if you are a record holder, you may notify our proxy solicitor, Advantage Proxy, Inc., in writing before the Extraordinary General Meeting that you have revoked your proxy; or | |
| ● | you may attend the Extraordinary General Meeting by virtual attendance, revoke your proxy, and vote during the meeting, as indicated above. |
Who Can Answer Your Questions About Voting Your Shares
If you have any questions about how to vote or direct a vote in respect of your ordinary shares, you may call Advantage Proxy, Inc., our proxy solicitor, with individual call toll-free at 1-877-870-8565 and banks and brokers call at 1-206-870-8565.
No Additional Matters May Be Presented at the Extraordinary General Meeting
This Extraordinary General Meeting has been called only to consider the approval of the Proposals.
Redemption Rights
Pursuant to Rising Dragon’s Existing Charter, a holder of RDAC Ordinary Shares has the right to have its public shares redeemed for cash equal to its pro rata share of the trust account (net of taxes payable) in connection with the Business Combination.
If you are a public shareholder and you seek to have your shares redeemed, you must submit your request in writing that we redeem your public shares for cash no later than 5 p.m., Eastern Time on October 16, 2025 (at least two business days before the Extraordinary General Meeting). The request must be signed by the applicable shareholder in order to validly request redemption. A shareholder is not required to submit a proxy card or vote in order to validly exercise redemption rights. The request must identify the holder of the shares to be redeemed and must be sent to Continental at the following address:
Continental Stock Transfer & Trust Company
1 State Street, 30th Floor
New York, NY 10004
Attn: Mark Zimkind
E-mail: mzimkind@continentalstock.com
You must tender the RDAC Ordinary Shares for which you are electing redemption by two (2) business days before the Extraordinary General Meeting by either:
| ● | Delivering certificates representing RDAC Ordinary Shares to Rising Dragon’s transfer agent, or | |
| ● | Delivering the RDAC Ordinary Shares electronically through the DWAC system. |
| 89 |
Any corrected or changed written demand of redemption rights must be received by Rising Dragon’s transfer agent two (2) business days prior to the Extraordinary General Meeting. No demand for redemption will be honored unless the holder’s shares have been delivered (either physically or electronically) to the transfer agent at least two (2) business days prior to the vote at the Extraordinary General Meeting.
Public shareholders may seek to have their shares redeemed regardless of whether they vote for or against the Business Combination and whether or not they are holders of RDAC Ordinary Shares as of the record date. Any public shareholder who holds RDAC Ordinary Shares on or before October 16, 2025 (two (2) business days before the Extraordinary General Meeting) will have the right to demand that his, her or its shares be redeemed for a pro rata share of the aggregate amount then on deposit in the trust account, less any taxes then due but not yet paid, at the consummation of the Business Combination.
In connection with tendering your shares for redemption, you must elect either to physically tender your share certificates to Rising Dragon’s transfer agent or deliver your shares to the transfer agent electronically using The Depository Trust Company’s DWAC (Deposit/Withdrawal At Custodian) System, in each case, two (2) business days before the Extraordinary General Meeting.
Through the DWAC system, this electronic delivery process can be accomplished by contacting your broker and requesting delivery of your shares through the DWAC system. Delivering shares physically may take significantly longer. In order to obtain a physical share certificate, a shareholder’s broker and/or clearing broker, DTC, and Rising Dragon’s transfer agent will need to act together to facilitate this request. It is Rising Dragon’s understanding that Rising Dragon shareholders should generally allot at least two weeks to obtain physical certificates from the transfer agent. Rising Dragon does not have any control over this process or over the brokers or DTC, and it may take longer than two weeks to obtain a physical share certificate. Rising Dragon shareholders who request physical share certificates and wish to redeem may be unable to meet the deadline for tendering their shares before exercising their redemption rights and thus will be unable to redeem their shares.
In the event that a shareholder tenders its shares and decides prior to the consummation of the Business Combination that it does not want to redeem its shares, the shareholder may withdraw the tender. In the event that a shareholder tenders shares and the Business Combination is not completed, these shares will not be redeemed for cash and the physical certificates representing these shares will be returned to the shareholder promptly following the determination that the Business Combination will not be consummated. Rising Dragon anticipates that a shareholder who tenders shares for redemption in connection with the vote to approve the Business Combination would receive payment of the redemption price for such shares soon after the completion of the Business Combination.
If properly demanded by Rising Dragon public shareholders, Rising Dragon will redeem each share into a pro rata portion of the funds available in the trust account, calculated as of two business days prior to the anticipated consummation of the Business Combination. As of the record date, this would amount to approximately $10.44 per share. If you exercise your redemption rights, you will be exchanging your RDAC Ordinary Shares for cash and will no longer own the RDAC Ordinary Shares. The following table demonstrates the book value of shares owned by non-redeeming shareholders at each of the following redemption levels:
Assuming No Redemption | Assuming 25% Redemption | Assuming 50% Redemption | Assuming 75% Redemption | Assuming Maximum Contractual Redemption | ||||||||||||||||
| Estimated issuance price per share | $ | 10.00 | $ | 10.00 | $ | 10.00 | $ | 10.00 | $ | 10.00 | ||||||||||
| Net tangible book value deficit as of June 30, 2025 | $ | 57,747,823 | $ | 57,747,823 | $ | 57,747,823 | $ | 57,747,823 | $ | 57,747,823 | ||||||||||
| Decrease in net tangible book value for payment of offering costs(i) | (1,862,000 | ) | (1,862,000 | ) | (1,862,000 | ) | (1,862,000 | ) | (1,862,000 | ) | ||||||||||
| Decrease in net tangible book value for redemption of public shares | — | (14,884,037 | ) | (29,768,075 | ) | (44,652,112 | ) | (57,300,809 | ) | |||||||||||
| As adjusted net tangible book value | $ | 55,885,823 | $ | 41,001,786 | $ | 26,117,748 | $ | 13,095,711 | $ | (1,414,986 | ) | |||||||||
| Ordinary shares subject to possible redemption as of June 30, 2025 | 5,750,000 | 4,312,500 | 2,875,000 | 1,437,500 | 213,690 | |||||||||||||||
| Ordinary shares not subject to possible redemption as of June 30, 2025 | 1,749,375 | 1,749,375 | 1,749,375 | 1,749,375 | 1,749,375 | |||||||||||||||
| Issuance of ordinary shares to public shareholders for conversion of public rights(ii) | 575,000 | 575,000 | 575,000 | 575,000 | 575,000 | |||||||||||||||
| Issuance of ordinary shares to private shareholders for conversion of private rights(iii) | 25,437 | 25,437 | 25,437 | 25,437 | 25,437 | |||||||||||||||
| As adjusted ordinary shares as of June 30, 2025 | 8,099,812 | 6,662,312 | 5,224,812 | 3,787,312 | 2,563,502 | |||||||||||||||
| As adjusted net tangible book value per share | $ | 6.90 | $ | 6.15 | $ | 5.00 | $ | 2.97 | $ | (0.55 | ) | |||||||||
| Dilution per share to recipients of HZJL Merger Shares | $ | 3.10 | $ | 3.85 | $ | 5.00 | $ | 7.03 | $ | 10.55 | ||||||||||
| Future Company Valuation Necessary for the Non-redeeming Shareholders’ Interest per Common Share to Equal the Original SPAC IPO Price (a) | $ | 448,498,120 | $ | 434,123,120 | $ | 419,748,120 | $ | 405,373,120 | $ | 393,135,020 | ||||||||||
| (a) | The future company valuation necessary for the non-redeeming shareholders’ interest per common share to equal the original SPAC IPO price is calculated at the total amount of (i) as adjusted ordinary shares as of June 30, 2025 under each redemption scenario, (ii) 35,000,000 PubCo Ordinary Shares to be issued to HZJL shareholders and (iii) 1,750,000 PubCo Ordinary Shares to be issued to Chain Stone Capital Limited (“CTM”), a financial advisor upon closing of Business Combination, multiplied by per share price of $10 which equals to RDAC’s initial public offering price per ordinary share. |
| (i) | Represented the estimated offering cost to be paid from July 1, 2025 through the closing of business combination, including (i) estimated cash payments of professional expenses, including legal expenses, audit expenses and other consulting expenses, related to the Business Combination, among which approximately $1.5 million was deducted against additional paid-in capital, and $0.4 million was charged to income statements. |
| (ii) | Represented the issuance of 575,0000 PubCo Ordinary Shares to the public shareholders in conversion of public rights upon closing of business combination. |
| (iii) | Represented the issuance of 25,437 PubCo Ordinary Shares to the private shareholders in conversion of private rights upon closing of business combination. |
| (iv) | Represented the assumptions that (i) no redemption of RDAC Ordinary Shares by public shareholders upon closing of business combination, (ii) redemption of 25% of 5,750,000 RDAC Ordinary Shares by public shareholders upon closing of business combination, (iii) redemption of 50% of 5,750,000 RDAC Ordinary Shares by public shareholders upon closing of business combination, (iv) redemption of 75% of 5,750,000 RDAC Ordinary Shares by public shareholders upon closing of business combination and (v) redemption of 5,536,310 RDAC Ordinary Shares by public shareholders upon closing of business combination. The redemption of 5,536,310 RDAC Ordinary Shares is the maximum amount of RDAC Ordinary Shares which could be redeemed public shareholders so as the cash balance of our initial business is no less than zero and net tangible assets upon consummation of our initial business is no less than $5,000,001. |
Notwithstanding the foregoing, a holder of the public shares, together with any affiliate of his or her or any other person with whom he or she is acting in concert or as a “group” (as defined in Section 13(d)-(3) of the Exchange Act) will be restricted from seeking redemption rights with respect to more than 20% of RDAC Ordinary Shares. If too many public shareholders exercise their redemption rights, we may not be able to meets certain closing conditions, and as a result, would not be able to proceed with the Business Combination.
Holders of outstanding RDAC Units must separate the underlying RDAC Ordinary Shares and RDAC Rights prior to exercising redemption rights with respect to the RDAC Ordinary Share. If RDAC Units are registered in a holder’s own name, the holder must deliver the certificate for its RDAC Units to the transfer agent with written instructions to separate the RDAC Units into their individual component parts. This must be completed far enough in advance to permit the mailing of the certificates back to the holder so that the holder may then exercise his, her or its redemption rights upon the separation of the RDAC Ordinary Shares from the RDAC Units.
| 90 |
If a broker, dealer, commercial bank, trust company or other nominee holds RDAC Units for an individual or entity (such individual or entity, the “beneficial owner”), the beneficial owner must instruct such nominee to separate the beneficial owner’s RDAC Units into their individual component parts. The beneficial owner’s nominee must send written instructions by facsimile to the transfer agent. Such written instructions must include the number of RDAC Units to be separated and the nominee holding such RDAC Units. The beneficial owner’s nominee must also initiate electronically, using DTC’s DWAC system, a withdrawal of the relevant RDAC Units and a deposit of an equal number of RDAC Ordinary Shares and RDAC Rights. This must be completed far enough in advance to permit the nominee to exercise the beneficial owner’s redemption rights upon the separation of the RDAC Ordinary Shares from the RDAC Units. While this is typically done electronically the same business day, beneficial owners should allow at least one full business day to accomplish the separation. If beneficial owners fail to cause their RDAC Ordinary Shares to be separated in a timely manner, they will likely not be able to exercise their redemption rights.
Tendering Ordinary Share Certificates in connection with Redemption Rights
Rising Dragon is requiring its public shareholders seeking to exercise their redemption rights, whether they are record holders or hold their shares in “street name,” to either tender their certificates to RDAC’s transfer agent, or to deliver their shares to the transfer agent electronically using Depository Trust Company’s DWAC System, at the holder’s option at least two (2) business days prior to the Extraordinary General Meeting. The need to deliver ordinary shares is a requirement of exercising redemption rights regardless of the timing of when such delivery must be effectuated.
Any request for redemption, once made, may be withdrawn at any time up to the business day immediately preceding the consummation of the proposed Business Combination. Furthermore, if a shareholder delivered his certificate for redemption and subsequently decided prior to the date immediately preceding the consummation of the proposed Business Combination not to elect redemption, he may simply request that the transfer agent return the certificate (physically or electronically).
A redemption payment will only be made in the event that the proposed Business Combination is consummated. If the proposed Business Combination is not completed for any reason, then public shareholders who exercised their redemption rights would not be entitled to receive the redemption payment. In such case, Rising Dragon will promptly return the share certificates to the public shareholder.
Proxies and Proxy Solicitation Costs
We are soliciting proxies on behalf of the RDAC’s board of directors. This solicitation is being made by mail but also may be made by telephone or in person. RDAC and its directors, officers and employees may also solicit proxies in person, by telephone or by other electronic means. Any solicitation made and information provided in such a solicitation will be consistent with the written proxy statement/prospectus and proxy card. Advantage Proxy, Inc., a proxy solicitation firm that RDAC has engaged to assist it in soliciting proxies, will be paid its customary fee and be reimbursed out-of-pocket expenses.
RDAC will ask banks, brokers and other institutions, nominees and fiduciaries to forward its proxy materials to their principals and to obtain their authority to execute proxies and voting instructions. RDAC will reimburse them for their reasonable expenses.
| 91 |
PROPOSAL
NO. 1
THE REINCORPORATION MERGER PROPOSAL
The discussion in this proxy statement/prospectus of the Business Combination and the principal terms of the Merger Agreement, is subject to, and is qualified in its entirety by reference to, the Merger Agreement. The full text of the Merger Agreement and the Plan of Merger is attached hereto as Annex A, which is incorporated by reference herein.
Purpose of the Reincorporation Merger Proposal
The purpose of the Reincorporation Merger is to establish a Cayman Islands exempted company as the parent entity of HZJL that would be a “foreign private issuer” as that term is defined under the Exchange Act. As a result of the Reincorporation Merger, the Rising Dragon shareholders will no longer be shareholders of Rising Dragon and (other than the Rising Dragon shareholders who exercise their redemption rights) will become shareholders of PubCo, a foreign private issuer. As a foreign private issuer, PubCo is exempt from compliance with certain of the rules under the Exchange Act.
As a foreign private issuer, PubCo will be exempt from the rules under the Exchange Act, prescribing the furnishing and content of proxy statements, and its officers, directors and principal shareholders will be exempt from the reporting and short-swing profit recovery provisions contained in Section 16 of the Exchange Act. In addition, PubCo will not be required under the Exchange Act to file quarterly periodic reports and financial statements with the SEC, and will not be required to disclose in its periodic reports all of the information that U.S. domestic issuers are required to disclose. PubCo will also be permitted to follow corporate governance practices in accordance with Cayman Islands law in lieu of most of the corporate governance rules set forth by Nasdaq. As a result, PubCo’s corporate governance practices will differ in some respects from those required to be followed by U.S. companies listed on a national securities exchange.
Summary of the Reincorporation Merger
The Merger Agreement was entered into by and among Rising Dragon, PubCo, Merger Sub, HZJL and certain other parties on January 27, 2025. Upon the approval of the Merger Agreement and the Plan of Merger by the Rising Dragon shareholders, PubCo and Rising Dragon will execute the Plan of Merger, which shall be filed with the Registrar of Companies in the Cayman Islands with certain other documents on or prior to the Closing Date. Immediately prior to the Acquisition Merger, Rising Dragon will merge with and into PubCo, a Cayman Islands exempted company and wholly-owned subsidiary of Rising Dragon. The separate corporate existence of Rising Dragon will cease and PubCo will continue as the surviving company. In connection with the Reincorporation Merger, all outstanding RDAC Units will separate into their individual components of RDAC Ordinary Shares and RDAC Rights and will cease separate existence and trading. Upon the consummation of the Business Combination, the current equity holdings of the Rising Dragon shareholders shall be exchanged as follows:
| (i) | Each RDAC Ordinary Share issued and outstanding immediately prior to the effective time of the Reincorporation Merger (other than any redeemed shares) will automatically be cancelled and cease to exist and, for each such RDAC Ordinary Share, PubCo shall issue to each Rising Dragon shareholder (other than Rising Dragon shareholders who exercise their redemption rights in connection with the Business Combination) one validly issued PubCo Class A Ordinary Share, which, unless explicitly stated herein, shall be fully paid; | |
| (ii) | The holders of RDAC Rights issued and outstanding immediately prior to the effective time of the Reincorporation Merger will receive one-tenth (1/10th) of one PubCo Class A Ordinary Share in exchange for the cancellation of each RDAC Right; provided, however, that no fractional shares will be issued and all fractional shares will be rounded to the nearest whole share. |
Upon the closing of the Reincorporation Merger, PubCo Ordinary Shares will be reclassified into PubCo Class A Ordinary Shares and PubCo Class B Ordinary Shares, where each PubCo Class A Ordinary Share shall be entitled to one (1) vote on all matters subject to vote at all general meetings of the post-Business Combination company and each PubCo Class B Ordinary Share shall be entitled to ten (10) votes on all matters subject to vote at all general meetings of the post-Business Combination company.
A copy of the Proposed PubCo Charter , as will be in effect upon consummation of the Business Combination, is attached to this proxy statement/prospectus as Annex B. See also the Section entitled “Comparison of Shareholder’s Rights” on page 229 of this proxy statement/prospectus. See also “Proposal No. 4 – PubCo Charter Proposal”).
| 92 |
Material U.S. Federal Income Tax Consequences
The following is a general discussion of the material U.S. federal income tax consequences (i) of the exercise of redemption rights by U.S. Holders (defined below) of RDAC Ordinary Shares, (ii) of the Reincorporation Merger to U.S. Holders of RDAC Ordinary Shares (excluding any redeemed shares) and RDAC Rights (collectively, the “RDAC securities”), and (iii) of the subsequent ownership and disposition of PubCo Ordinary Shares (the “PubCo securities”) received in the Business Combination by U.S. Holders. This discussion applies only to RDAC securities or PubCo securities that is held as a capital asset within the meaning of Section 1221 of the Code, and does not address all of the U.S. federal income tax consequences that may be relevant to a U.S. Holder or a Non-U.S. Holder in light of their personal circumstances, including any tax consequences arising under the Medicare contribution tax on net investment income or alternative minimum tax consequences, or to such holders of RDAC securities or PubCo securities that are subject to special treatment under the Code, such as:
| ● | financial institutions or financial services entities; | |
| ● | brokers or dealers in securities or currencies; | |
| ● | taxpayers that are subject to the mark-to-market accounting rules under Section 475 of the Code; | |
| ● | tax-exempt entities; | |
| ● | governments or agencies or instrumentalities thereof; | |
| ● | insurance companies; | |
| ● | real estate investment trusts and regulated investment companies; | |
| ● | expatriates or former long-term residents of the United States; | |
| ● | persons that actually or constructively own 5% or more of RDAC securities or PubCo securities; | |
| ● | persons that acquired RDAC securities or PubCo securities pursuant to an exercise of employee share options in connection with employee share incentive plans or otherwise as compensation; | |
| ● | individual retirement and other deferred accounts; | |
| ● | persons that hold RDAC securities or PubCo securities as part of a straddle, constructive sale, hedging, conversion or other integrated transaction; | |
| ● | U.S. Holders whose functional currency is not the U.S. dollar; | |
| ● | controlled foreign corporations; | |
| ● | the Initial Shareholders, Sponsor, RDAC’s officers or directors, or other holders of Private Placement Units, Private Shares, or Private Units; or | |
| ● | passive foreign investment companies. |
For purposes of this “— Material U.S. Federal Income Tax Considerations,” a “U.S. Holder” is a beneficial owner of RDAC securities or PubCo securities who or which is any of the following for U.S. federal income tax purposes:
| ● | an individual who is a citizen or resident of the United States; | |
| ● | a corporation, including any entity classified as a corporation for U.S. federal income tax purposes, created or organized in or under the laws of the United States, any state thereof or the District of Columbia; | |
| ● | an estate if its income is subject to U.S. federal income taxation regardless of its source; or |
| 93 |
| ● | a trust if (a) a U.S. court can exercise primary supervision over its administration and one or more |
U.S. persons have the authority to control all of its substantial decisions, or (b) it has in effect a valid election under applicable U.S. treasury regulations to be treated as a U.S. person.
This discussion does not address any aspect of U.S. federal non-income tax laws, such as gift or estate tax laws, state, local or non-U.S. tax laws or, except as discussed herein, any tax reporting obligations of a holder of RDAC securities or PubCo securities. Additionally, this discussion does not consider the tax treatment of partnerships or other pass-through entities or persons who hold RDAC securities or PubCo securities through such entities. If a partnership (or other entity classified as a partnership for U.S. federal income tax purposes) is the beneficial owner of RDAC securities or PubCo securities, the U.S. federal income tax treatment of a partner in the partnership generally will depend on the status of the partner and the activities of the partnership.
This discussion is based upon the Code, applicable treasury regulations thereunder, published rulings and court decisions, all of which as in effect as of the date of this proxy statement/prospectus and all of which are subject to change, possibly with retroactive effect. We have not sought, and will not seek, a ruling from the Internal Revenue Service (the “IRS”) or an opinion of counsel as to any U.S. federal income tax consequence described herein. The IRS may disagree with the descriptions herein, and its determination may be upheld by a court. Moreover, there can be no assurance that future legislation, regulations, administrative rulings or court decisions will not adversely affect the accuracy of the statements in this discussion.
THIS SUMMARY DOES NOT PURPORT TO BE A COMPREHENSIVE ANALYSIS OR DESCRIPTION OF ALL POTENTIAL U.S. FEDERAL INCOME TAX CONSEQUENCES OF THE BUSINESS COMBINATION. IN ADDITION, THE U.S. FEDERAL INCOME TAX TREATMENT OF THE BENEFICIAL OWNERS OF RDAC SECURITIES AND PUBCO SECURITIES MAY BE AFFECTED BY MATTERS NOT DISCUSSED HEREIN AND DEPENDS IN SOME INSTANCES ON DETERMINATIONS OF FACT AND INTERPRETATIONS OF COMPLEX PROVISIONS OF U.S. FEDERAL INCOME TAX LAW FOR WHICH NO CLEAR PRECEDENT OR AUTHORITY MAY BE AVAILABLE. HOLDERS OF RDAC SECURITIES OR PUBCO SECURITIES SHOULD CONSULT WITH THEIR TAX ADVISORS REGARDING THE PARTICULAR TAX CONSEQUENCES TO THEM OF THE BUSINESS COMBINATION AND OF THE OWNERSHIP AND DISPOSITION OF PUBCO SECURITIES AFTER THE BUSINESS COMBINATION, INCLUDING THE APPLICABILITY AND EFFECTS OF U.S. FEDERAL, STATE, LOCAL, AND OTHER TAX LAWS.
U.S. Federal Income Tax Considerations of Exercising Redemption Rights
Generally
Subject to the PFIC rules discussed below, in the event that a U.S. Holder elects to redeem its RDAC Ordinary Shares for cash, the treatment of the transaction for U.S. federal income tax purposes will depend on whether the redemption qualifies as a sale or exchange of the RDAC Ordinary Shares under Section 302 of the Code or is treated as a corporate distribution under Section 301 of the Code with respect to the U.S. Holder. If the redemption qualifies as a sale or exchange of the RDAC Ordinary Shares, the U.S. Holder will be treated as recognizing capital gain or loss equal to the difference between the amount realized on the redemption and such U.S. Holder’s adjusted tax basis in the RDAC Ordinary Shares surrendered in such redemption transaction. Any such capital gain or loss generally will be long-term capital gain or loss if the U.S. Holder’s holding period for the RDAC Ordinary Shares redeemed exceeds one year. It is unclear, however, whether the redemption rights with respect to the RDAC Ordinary Shares may suspend the running of the applicable holding period for this purpose. Long term capital gain realized by non-corporate U.S. Holders will be eligible to be taxed at reduced rates. The deductibility of capital losses is subject to limitations.
Taxation of Redemption Treated as a Sale
Whether redemption of RDAC Ordinary Shares qualifies for sale treatment will depend largely on the total number of shares of RDAC Ordinary Shares treated as held by such U.S. Holder. The redemption of RDAC Ordinary Shares generally will be treated as a sale or exchange of RDAC Ordinary Shares (rather than as a distribution) if the receipt of cash upon the redemption (i) is “substantially disproportionate” with respect to a U.S. Holder, (ii) results in a “complete termination” of such U.S. Holder’s interest in us or (iii) is “not essentially equivalent to a dividend” with respect to such U.S. Holder. These tests are explained more fully below.
| 94 |
In determining whether any of the foregoing tests are satisfied, a U.S. Holder must take into account not only RDAC Ordinary Shares actually owned by such U.S. Holder, but also RDAC Ordinary Shares that is constructively owned by such U.S. Holder. A U.S. Holder may constructively own, in addition to RDAC Ordinary Shares owned directly, RDAC Ordinary Shares owned by related individuals and entities in which such U.S. Holder has an interest, or which have an interest in such U.S. Holder, as well as any RDAC Ordinary Shares such U.S. Holder has a right to acquire by exercise of an option, which would generally include RDAC Ordinary Shares that could be acquired pursuant to the exercise of the RDAC Rights. In order to meet the substantially disproportionate test, the percentage of issued and outstanding RDAC Ordinary Shares actually and constructively owned by a U.S. Holder immediately following the redemption of RDAC Ordinary Shares must, among other requirements, be less than 80% of the percentage of issued and outstanding voting RDAC Ordinary Shares actually and constructively owned by such U.S. Holder immediately before the redemption. There will be a complete termination of a U.S. Holder’s interest if either (i) all of RDAC Ordinary Shares actually and constructively owned by such U.S. Holder is redeemed or (ii) all of RDAC Ordinary Shares actually owned by such U.S. Holder is redeemed and such U.S. Holder is eligible to waive, and effectively waives, in accordance with specific rules, the attribution of shares of RDAC Ordinary Shares owned by family members and such U.S. Holder does not constructively own any other shares of RDAC Ordinary Shares. The redemption of RDAC Ordinary Shares will not be essentially equivalent to a dividend if such redemption results in a “meaningful reduction” of a U.S. Holder’s proportionate interest in us. Whether the redemption will result in a “meaningful reduction” in a U.S. Holder’s proportionate interest in us will depend on the particular facts and circumstances. However, the IRS has indicated in a published ruling that even a small reduction in the proportionate interest of a small minority shareholder in a publicly held corporation who exercises no control over corporate affairs may constitute such a “meaningful reduction.” U.S. Holders should consult with their own tax advisors as to the tax consequences of any such redemption.
Taxation of Redemption Treated as a Distribution
If none of the foregoing tests are satisfied, then the redemption may be treated as a distribution to the U.S. Holder. Such a distribution generally will constitute a dividend for U.S. federal income tax purposes to the extent paid from our current or accumulated earnings and profits, as determined under U.S. federal income tax principles. Distributions in excess of such earnings and profits will constitute a return of capital that will be applied against and reduce (but not below zero) a U.S. Holder’s adjusted tax basis in such U.S. Holder’s RDAC Ordinary Shares. Any remaining excess distribution will be treated as gain from the sale or exchange of RDAC Ordinary Shares. Dividends paid to a U.S. Holder that is a taxable corporation generally will qualify for the dividends received deduction if the requisite holding period is satisfied. With certain exceptions (including, but not limited to, dividends treated as investment income for purposes of investment interest deduction limitations), and provided certain holding period requirements are met, dividends we pay to a non-corporate U.S. Holder generally will constitute “qualified dividends” that will be subject to tax at the maximum tax rate accorded to long-term capital gains. It is unclear whether the redemption rights with respect to RDAC Ordinary Shares described in this proxy statement/prospectus may prevent a U.S. Holder from satisfying the applicable holding period requirements with respect to the dividends received deduction or the preferential tax rate on qualified dividend income, as the case may be. U.S. Holders who hold different blocks of RDAC Ordinary Shares (generally, RDAC Ordinary Shares purchased or acquired on different dates or at different prices) should consult their tax advisors to determine how the above rules apply to them.
Because the Reincorporation Merger will occur prior to the redemption of U.S. Holders that exercise redemption rights with respect to RDAC Ordinary Shares, U.S. Holders exercising such redemption rights, will be subject to the potential tax consequences of Section 367(a) of the Code and the tax rules relating to PFICs as a result of the Reincorporation Merger (as discussed further below).
All U.S. Holders are urged to consult their tax advisors as to the tax consequences to them of a redemption of all or a portion of their RDAC Ordinary Shares pursuant to an exercise of redemption rights.
U.S. Federal Income Tax Consequences of the Reincorporation Merger to U.S. Holders of RDAC Securities
The following discussion, “— U.S. Federal Income Tax Consequences of the Reincorporation Merger to U.S. Holders of RDAC Securities,” constitutes the opinion of Loeb & Loeb, counsel to RDAC, as to the material U.S. federal income tax consequences of the Reincorporation Merger to U.S. Holders of RDAC securities, subject to the limitations, exceptions, beliefs, assumptions, and qualifications described in such opinion and otherwise herein.
The U.S. federal income tax consequences of the Business Combination to U.S. Holders will depend on whether the Reincorporation Merger qualifies as a “reorganization” under the provisions of Section 368 of the Code. The provisions of the Code that govern reorganizations are complex and are based on typical transaction structures effected under U.S. law. Due to the absence of direct guidance on the application of Section 368 to a reincorporation of a corporation holding only investment-type assets such as RDAC, the qualification of the Reincorporation Merger as a “reorganization” is not entirely clear. Accordingly, Loeb & Loeb is unable to provide a “will” opinion regarding the qualification of the Reincorporation Merger as a “reorganization” within the meaning of Section 368 of the Code, and is instead providing a “should” opinion. U.S. Holders should be aware that the completion of the Business Combination is not conditioned on the receipt of an opinion of counsel that the Reincorporation Merger qualifies as a “reorganization,” and that none of RDAC or PubCo has requested nor intends to request a ruling from the IRS with respect to the U.S. federal income tax treatment of the Business Combination. There can be no assurance that the IRS will not take a contrary position to views expressed herein or that a court will not agree with a contrary position of the IRS.
| 95 |
Although U.S. persons generally do not recognize gain or loss on the receipt of stock pursuant to a “reorganization” under Section 368 of the Code, Section 367(a) of the Code, and Treasury Regulations promulgated thereunder, require 5 Percent Holders who do not enter into a GRA under applicable Treasury Regulations to recognize gain (but not loss) with respect to certain cross-border reorganizations. However, Section 367(a) should not apply to the Reincorporation Merger in a manner that causes gain recognition to 5 Percent Holders who do not enter into a GRA under applicable Treasury Regulations, unless the exchange of RDAC securities for PubCo securities is considered to be an indirect stock transfer under the applicable Treasury Regulations. For this purpose, an indirect stock transfer may occur if PubCo transfers the assets it acquires from RDAC pursuant to the Reincorporation Merger to certain subsidiary corporations in connection with the Business Combination. There are significant factual and legal uncertainties concerning the determination of whether the requirements of Section 367(a) will be satisfied which are not discussed herein. The rules under Section 367(a) of the Code and Section 368 of the Code are complex and there is limited guidance as to their application, particularly with regard to indirect stock transfers in cross-border reorganizations. If you believe that you will be a 5 Percent Holder, you are strongly urged to consult your tax advisor regarding the effect of the Business Combination to you taking into account the rules of Section 367(a) of the Code (including the possibility of entering into a GRA under applicable Treasury Regulations). In addition, U.S. Holders may be subject to the PFIC rules discussed below “— Passive Foreign Investment Company Status.” Accordingly, no assurance can be given as to whether an indirect stock transfer will occur in connection with the Business Combination or that U.S. Holders will not recognize gain, if any, as a result of the exchange of RDAC securities for PubCo securities.
Because the Reincorporation Merger will occur immediately prior to the redemption of U.S. Holders that exercise redemption rights with respect to RDAC Ordinary Shares, U.S. Holders exercising such redemption rights will be subject to the potential tax consequences of the Reincorporation Merger. All holders considering exercising redemption rights with respect to their RDAC Ordinary Shares are urged to consult with their tax advisors with respect to the potential tax consequences to them of the Reincorporation Merger and exercise of redemption rights.
If the Reincorporation Merger Qualifies as a Reorganization
Subject to the PFIC rules discussed below, the Reincorporation Merger should qualify as a “reorganization” under the provisions of Section 368 of the Code, and provided that it is not treated as an indirect stock transfer, a U.S. Holder that exchanges its RDAC securities pursuant to the Reincorporation Merger should not recognize gain or loss on the exchange of RDAC securities for PubCo securities. The aggregate adjusted tax basis of a U.S. Holder in the PubCo securities received as a result of the Reincorporation Merger should equal the aggregate adjusted tax basis of the RDAC securities surrendered in the exchange. A U.S. Holder’s holding period for the PubCo securities received in the exchange should include the holding period for the RDAC securities surrendered in the exchange. If Section 367(a) of the Code applies to the Reincorporation Merger, as described above, a 5 Percent Holder who does not enter into a GRA under applicable Treasury Regulations, may be required to recognize gain (but not loss) as a result of the Reincorporation Merger.
Because the Reincorporation Merger will occur immediately prior to the redemption of holders that exercise redemption rights with respect to RDAC Ordinary Shares, U.S. Holders exercising such redemption rights will be subject to the potential tax consequences of Section 367 of the Code as a result of the Reincorporation Merger.
If the Reincorporation Merger Does Not Qualify as a Reorganization
If the Reincorporation Merger fails to qualify as a “reorganization” within the meaning of Section 368 of the Code, and subject to the PFIC rules discussed below under the heading “— Passive Foreign Investment Company Status,” a U.S. Holder that exchanges its RDAC securities for PubCo securities in the Reincorporation Merger will recognize gain or loss equal to the difference between (i) the sum of the fair market value of the PubCo securities received and (ii) the U.S. Holder’s adjusted tax basis in the RDAC securities exchanged therefor. A U.S. Holder’s aggregate tax basis in the PubCo securities received will be the fair market value of those securities on the date the U.S. Holder receives them. The U.S. Holder’s holding period for the PubCo securities received pursuant to the Reincorporation Merger will begin on the day after the date the U.S. Holder receives such PubCo securities.
Such gain or loss will be a capital gain or loss and will be a long-term capital gain or loss if the U.S. Holder’s holding period for the RDAC securities exceeds one year at the time of the Reincorporation Merger. Long-term capital gains of non-corporate U.S. Holders currently are subject to reduced rates of U.S. federal income taxation. However, it is unclear whether the redemption rights with respect to the RDAC Ordinary Shares may prevent a U.S. Holder from satisfying the applicable holding period requirement. The deductibility of capital losses is subject to limitations under the Code. Any such gain or loss recognized by a U.S. Holder will generally be treated as U.S. source gain or loss.
| 96 |
Notwithstanding the foregoing, if the Reincorporation Merger fails to qualify as a “reorganization” under the provisions of Section 368 of the Code and RDAC has been a PFIC for any taxable year during the holding period of a U.S. Holder (and a U.S. Holder of RDAC securities has not made certain elections with respect to its RDAC securities), such U.S. Holder would be subject to tax under the PFIC rules on any gain on the exchange of its RDAC securities for the consideration under the Business Combination, as discussed below, “U.S. Federal Income Tax Considerations — Passive Foreign Investment Company Status.”
U.S. Holders should consult their own tax advisors as to the particular consequences to them of the exchange of RDAC securities for PubCo securities pursuant to the Business Combination, the qualification of the Reincorporation Merger as a reorganization, and the potential application of Section 367(a) to the Reincorporation Merger.
Passive Foreign Investment Company Status
Certain adverse U.S. federal income tax consequences could apply to a U.S. Holder if RDAC, or, after the Business Combination, PubCo, or any of their subsidiaries is treated as a PFIC for any taxable year during which the U.S. Holder holds public shares, or, after the Business Combination, PubCo Class A Ordinary Shares. A non-U.S. corporation will be classified as a PFIC for any taxable year (a) if at least 75% of its gross income in a taxable year, including its pro rata share of the gross income of any entity in which it is considered to own at least 25% of the interest by value, is passive income, or (b) if at least 50% of its assets in a taxable year of the foreign corporation, ordinarily determined based on fair market value and averaged quarterly over the year, including its pro rata share of the assets of any entity in which it is considered to own at least 25% of the interest by value, are held for the production of, or produce, passive income. Passive income generally includes dividends, interest, rents and royalties (other than rents or royalties derived from the active conduct of a trade or business) and gains from the disposition of passive assets.
Because the classification of a non-U.S. corporation as a PFIC is a factual determination made annually after the close of each taxable year, RDAC has not provided assurance that it was not a PFIC for its 2024 taxable year or for any prior year. If (a) RDAC has been a PFIC for any taxable year during the holding period of a U.S. Holder (and a U.S. Holder of RDAC securities has not made certain elections with respect to its RDAC securities), and (b) PubCo is not a PFIC in the taxable year of the Business Combination and the Reincorporation Merger does not qualify as a “reorganization” under Section 368 of the Code, such U.S. Holder would likely recognize gain (but not loss if the Reincorporation Merger qualifies as a “reorganization”) upon the exchange of RDAC securities for PubCo securities pursuant to the Reincorporation Merger. The gain (or loss) would be computed as described above under “— If the Reincorporation Merger Does Not Qualify as a Reorganization.” Any such gain recognized by such U.S. Holder on the exchange of RDAC securities for PubCo securities would be allocated ratably over the U.S. Holder’s holding period for the RDAC securities. Such amounts allocated for the current taxable year and any taxable year prior to the first taxable year in which RDAC was a PFIC would be treated as ordinary income, and not as capital gain, in the U.S. Holder’s taxable year, and such amounts allocated to each other taxable year beginning with the year that RDAC became a PFIC would be taxed at the highest tax rate in effect for each year to which the gain was allocated, together with a special interest charge on the tax attributable to each such year.
Likewise, whether PubCo or any of its subsidiaries is treated as a PFIC for U.S. federal income tax purposes is a factual determination that must be made annually at the close of each taxable year and, thus, is subject to significant uncertainty. Among other factors, fluctuations in the market price of PubCo Class A Ordinary Shares and how, and how quickly, PubCo uses liquid assets and cash obtained in the Business Combination may influence whether PubCo or any of its subsidiaries is treated as PFIC. Accordingly, we are unable to determine whether PubCo or any of its subsidiaries will be treated as a PFIC for the taxable year of the Business Combination or for future taxable years, and there can be no assurance that PubCo or any of its subsidiaries will not be treated as a PFIC for any taxable year. If PubCo determines that it (or any of its non-U.S. subsidiaries) is, or could reasonably be deemed to have been, a PFIC in a taxable year, PubCo intends to use commercially reasonable efforts to provide the statements and information necessary to enable PubCo shareholders as of immediately prior to the Effective Time and their direct and/or indirect owners that are United States persons (within the meaning of Section 7701(a)(30) of the Code) to comply with all provisions of the Code with respect to PFICs (including but not limited to making and complying with the requirements of a QEF election pursuant to Section 1295 of the Code or filing a “protective statement” pursuant to Treasury Regulation Section 1.1295-3 with respect to PubCo or any of the non-U.S. subsidiaries, as applicable) until the later of two (2) years after the end of PubCo’s current taxable year or such time as PubCo has reasonably determined that it is not a PFIC for three (3) consecutive taxable years.
QEF Elections
The impact of the PFIC rules on a U.S. Holder of shares in a non-U.S. corporation that is a PFIC will depend on whether the U.S. Holder has made a timely and effective election to treat the non-U.S. corporation as a QEF under Section 1295 of the Code for the taxable year that is the first year in the U.S. Holder’s holding period for its shares during which the non-U.S. corporation qualified as a PFIC, a QEF election, or, if in a later taxable year, the U.S. Holder made a QEF election along with a purging election. A purging election creates a deemed sale of the U.S. Holder’s shares at their then fair market value and requires the U.S. Holder to recognize gain pursuant to the purging election subject to the special PFIC tax and interest charge rules. As a result of any such purging election, the U.S. Holder would increase the adjusted tax basis in its shares by the amount of the gain recognized and, solely for purposes of the PFIC rules, would have a new holding period in its shares.
U.S. Holders are urged to consult their own tax advisors regarding the application of the rules governing purging elections to their particular circumstances.
The QEF election is made on a shareholder-by-shareholder basis and, once made, can be revoked only with the consent of the IRS. A U.S. Holder generally makes a QEF election (and a purging election, if applicable) by attaching a completed IRS Form 8621 (Information Return by a Shareholder of a Passive Foreign Investment Company or Qualified Electing Fund), including the information provided in a PFIC Annual Information Statement, to a timely filed U.S. federal income tax return for the taxable year to which the election relates. Retroactive QEF elections generally may be made only by filing a protective statement with such return and if certain other conditions are met or with the consent of the IRS. A U.S. Holder’s ability to make a timely and effective QEF election (or a QEF election along with a purging election) with respect to a non-U.S. corporation is contingent upon, among other things, the provision by the non-U.S. corporation of a “PFIC Annual Information Statement” to such U.S. Holder.
A U.S. Holder that makes a timely and effective QEF election (or a QEF election with a purging election) generally will not be subject to the adverse PFIC rules with respect to their shares. As a result, such U.S. Holder generally should not recognize taxable income, gain or loss under the PFIC rules, but rather would include annually in gross income its pro rata share of the ordinary earnings and net capital gain of the non-U.S. corporation, whether or not such amounts are actually distributed.
U.S. Holders should consult their own tax advisors regarding the availability and tax consequences of a retroactive QEF election under their particular circumstances.
Mark-To-Market Elections
If RDAC, or, after the Business Combination, PubCo were determined to be a PFIC for any taxable year (or portion thereof) that is included in the holding period of a U.S. Holder of Public Shares or PubCo securities, and the U.S. Holder did not make a valid “mark-to-market” election, such U.S. Holder generally will be subject to special rules with respect to:
| ● | any gain recognized by the U.S. Holder on the sale or other disposition of public shares (including a redemption treated as a sale or exchange); and | |
| ● | any “excess distribution” made to the U.S. Holder (generally, any distributions to such U.S. Holder during a taxable year of the U.S. Holder that are greater than 125% of the average annual distributions received by such U.S. Holder in respect of the Public Shares during the three preceding taxable years of such U.S. Holder or, if shorter, such U.S. Holder’s holding period for such ordinary shares). |
| 97 |
Under these rules:
| ● | the U.S. Holder’s gain or excess distribution will be allocated rateably over the U.S. Holder’s holding period for Public Shares; | |
| ● | the amount allocated to the U.S. Holder’s taxable year in which the U.S. holder recognized gain or received the excess distribution, or to the period in the U.S. Holder’s holding period before the first day of RDAC or PubCo’s first taxable year in which RDAC or PubCo is a PFIC, will be taxed as ordinary income; | |
| ● | the
amount allocated to other taxable years (or portions thereof) of the U.S. Holder and included
in its holding period will be taxed at the highest tax rate in effect for that year and applicable
to the U.S. Holder; and | |
| ● | the interest charge generally applicable to underpayments of tax will be imposed in respect of the tax attributable to each such other taxable year of the U.S. Holder. |
Although a determination as to RDAC’s, or after the Business Combination, PubCo’s PFIC status will be made annually, an initial determination that RDAC, or, after the Business Combination, PubCo is a PFIC will generally apply for subsequent years to a U.S. Holder who held public shares, or, after the Business Combination, PubCo Class A Ordinary Shares while RDAC or PubCo was a PFIC, whether or not RDAC or PubCo meet the test for PFIC status in those subsequent years.
If a U.S. Holder, at the close of its taxable year, owns shares in a PFIC that are treated as marketable stock, the U.S. Holder may make a mark-to-market election with respect to such shares for such taxable year. If the U.S. Holder makes a valid mark-to-market election for the first taxable year of the U.S. Holder in which the U.S. Holder holds (or is deemed to hold) public shares, or, after the Business Combination, PubCo Ordinary Shares and for which RDAC, or after the Business Combination, PubCo is determined to be a PFIC, such holder generally will not be subject to the PFIC rules described above in respect to its public shares, or, after the Business Combination, PubCo Class A Ordinary Shares as long as such shares continue to be treated as marketable stock. Instead, in general, the U.S. Holder will include as ordinary income each year that RDAC or Pubco is treated as a PFIC the excess, if any, of the fair market value of its public shares, or, after the Business Combination, PubCo Class A Ordinary Shares at the end of its taxable year over the adjusted basis in its public shares, or, after the Business Combination, PubCo Class A Ordinary Shares. The U.S. Holder also will be allowed to take an ordinary loss in respect of the excess, if any, of the adjusted basis of its public shares, or, after the Business Combination, PubCo Class A Ordinary Shares over the fair market value of its public shares, or, after the Business Combination, PubCo Ordinary Shares at the end of its taxable year (but only to the extent of the net amount of previously recognized income as a result of the mark-to-market election). The U.S. Holder’s adjusted tax basis in its public shares, or, after the Business Combination, PubCo Class A Ordinary Shares will be adjusted to reflect any such income or loss amounts, and any further gain recognized on a sale or other taxable disposition of the public shares, or, after the Business Combination, PubCo Ordinary Shares in a taxable year in which RDAC or PubCo is treated as a PFIC will be treated as ordinary income. Special tax rules may also apply if a U.S. Holder makes a mark-to-market election for a taxable year after the first taxable year in which the U.S. Holder holds (or is deemed to hold) its public shares, or, after the Business Combination, PubCo Class A Ordinary Shares and for which RDAC or PubCo is treated as a PFIC.
The mark-to-market election is available only for stock that is regularly traded on a national securities exchange that is registered with the Securities and Exchange Commission, including Nasdaq (on which public shares are listed, or, after the Business Combination, PubCo intends to list the PubCo Class A Ordinary Shares), or on a foreign exchange or market that the IRS determines has rules sufficient to ensure that the market price represents a legitimate and sound fair market value. Such stock generally will be “regularly traded” for any calendar year during which such stock is traded, other than in de minims quantities, on at least 15 days during each calendar quarter, but no assurances can be given in this regard with respect to the public shares, or, after the Business Combination, PubCo Class A Ordinary Shares. U.S. Holders should consult their own tax advisors regarding the availability and tax consequences of a mark-to-market election in respect of public shares, or, after the Business Combination, PubCo Class A Ordinary Shares under their particular circumstances.
If RDAC, or, after the Business Combination, PubCo is a PFIC and, at any time, has a foreign subsidiary that is classified as a PFIC, U.S. Holders generally would be deemed to own a portion of the shares of such lower-tier PFIC, and generally could incur liability for the deferred tax and interest charge described above if RDAC, or, after the Business Combination, PubCo were to receive a distribution from, or dispose of all or part of RDAC’s, or, after the Business Combination, PubCo’s interest in, the lower-tier PFIC (even though such U.S. Holder would not receive the proceeds of those distributions or dispositions) or the U.S. Holders otherwise were deemed to have disposed of an interest in the lower-tier PFIC. A mark-to-market election generally would not be available with respect to such lower-tier PFIC. U.S. Holders are urged to consult their own tax advisors regarding the tax issues raised by lower-tier PFICs.
| 98 |
A U.S. Holder that owns (or is deemed to own) shares in a PFIC during any taxable year of the U.S. Holder, may have to file an IRS Form 8621 (whether or not a mark-to-market election is or has been made) with such U.S. Holder’s U.S. federal income tax return and provide any such other information as may be required by the U.S. Treasury Department. Failure to do so, if required, will extend the statute of limitations until such required information is furnished to the IRS.
The rules dealing with PFICs and mark-to-market elections are very complex and are affected by various factors in addition to those described above. Accordingly, U.S. Holders of public shares, or, after the Business Combination, PubCo Class A Ordinary Shares should consult their own tax advisors concerning the application of the PFIC rules to public shares, or, after the Business Combination, PubCo Class A Ordinary Shares under their particular circumstances.
U.S. Federal Income Tax Consequences of Ownership and Disposition of PubCo Securities
The following discussion is a summary of U.S. federal income tax consequences of the ownership and disposition of PubCo securities to U.S. Holders who receive such PubCo securities pursuant to the Business Combination.
Distributions on PubCo Ordinary Shares
Subject to the PFIC rules discussed above “— Passive Foreign Investment Company Status,” the gross amount of any distribution on PubCo Class A Ordinary Shares that is made out of PubCo’s current and accumulated earnings and profits (as determined for U.S. federal income tax purposes) will generally be taxable to a U.S. Holder as ordinary dividend income on the date such distribution is actually or constructively received by such U.S. Holder. Any such dividends paid to corporate U.S. Holders generally will not qualify for the dividends-received deduction that may otherwise be allowed under the Code.
Dividends received by non-corporate U.S. Holders, including individuals, from a “qualified foreign corporation” may be eligible for reduced rates of taxation, provided that certain holding period requirements and other conditions are satisfied. For these purposes, a non-U.S. corporation will be treated as a qualified foreign corporation with respect to dividends paid by that corporation on shares that are readily tradable on an established securities market in the United States. U.S. Treasury Department guidance indicates that shares listed on the NASDAQ (on which PubCo intends to apply to list the PubCo Class A Ordinary Shares) will be considered readily tradable on an established securities market in the United States. Even if the PubCo Class A Ordinary Shares are listed on NASDAQ, there can be no assurance that the PubCo Class A Ordinary Shares will be considered readily tradable on an established securities market in future years. Non-corporate U.S. Holders that do not meet a minimum holding period requirement or that elect to treat the dividend income as “investment income” pursuant to Section 163(d)(4) of the Code (dealing with the deduction for investment interest expense) will not be eligible for the reduced rates of taxation regardless of PubCo’s status as a qualified foreign corporation. In addition, the rate reduction will not apply to dividends if the recipient of a dividend is obligated to make related payments with respect to positions in substantially similar or related property. This disallowance applies even if the minimum holding period has been met. Finally, PubCo will not constitute a qualified foreign corporation for purposes of these rules if it is a PFIC for the taxable year in which it pays a dividend or for the preceding taxable year. See the discussion above under “— Passive Foreign Investment Company Status.”
The amount of any dividend paid in foreign currency will be the U.S. dollar value of the foreign currency distributed by PubCo, calculated by reference to the exchange rate in effect on the date the dividend is includible in the U.S. Holder’s income, regardless of whether the payment is in fact converted into U.S. dollars on the date of receipt. Generally, a U.S. Holder should not recognize any foreign currency gain or loss if the foreign currency is converted into U.S. dollars on the date the payment is received. However, any gain or loss resulting from currency exchange fluctuations during the period from the date the U.S. Holder includes the dividend payment in income to the date such U.S. Holder actually converts the payment into U.S. dollars will be treated as ordinary income or loss. That currency exchange income or loss (if any) generally will be income or loss from U.S. sources for foreign tax credit limitation purposes.
To the extent that the amount of any distribution made by PubCo on the PubCo Class A Ordinary Shares exceeds PubCo’s current and accumulated earnings and profits for a taxable year (as determined under U.S. federal income tax principles), the distribution will first be treated as a tax-free return of capital, causing a reduction in the adjusted basis of the U.S. Holder’s PubCo Ordinary Shares, and to the extent the amount of the distribution exceeds the U.S. Holder’s tax basis, the excess will be taxed as capital gain recognized on a sale or exchange as described below under “— Sale, Exchange, Redemption or Other Taxable Disposition of PubCo Securities.” However, PubCo may not calculate earnings and profits in accordance with U.S. federal income tax principles. In such event, a U.S. Holder should expect to generally treat distributions PubCo makes as dividends.
| 99 |
Sale, Exchange, Redemption or Other Taxable Disposition of PubCo Securities
Subject to the discussion above under “— Passive Foreign Investment Company Status,” a U.S. Holder will generally recognize gain or loss on any sale, exchange, redemption, or other taxable disposition of PubCo Class A Ordinary Shares in an amount equal to the difference between the amount realized on the disposition and such U.S. Holder’s adjusted tax basis in such PubCo Class A Ordinary Shares. Any gain or loss recognized by a U.S. Holder on a taxable disposition of PubCo Class A Ordinary Shares will generally be capital gain or loss and will be long-term capital gain or loss if the holder’s holding period in the PubCo Class A Ordinary Shares exceeds one year at the time of the disposition. Preferential tax rates may apply to long-term capital gains recognized by non-corporate U.S. Holders (including individuals). The deductibility of capital losses is subject to limitations. Any gain or loss recognized by a U.S. Holder on the sale or exchange of PubCo Class A Ordinary Shares will generally be treated as U.S. source gain or loss.
Information Reporting and Backup Withholding
In general, information reporting requirements will apply to dividends received by U.S. Holders of PubCo Class A Ordinary Shares (including constructive dividends), and the proceeds received on the disposition of PubCo Class A Ordinary Shares effected within the United States (and, in certain cases, outside the United States), in each case, other than U.S. Holders that are exempt recipients (such as corporations). Information reporting requirements will also apply to redemptions from U.S. Holders of Public Shares. Backup withholding (currently at a rate of 24%) may apply to such amounts if the U.S. Holder fails to provide an accurate taxpayer identification number (generally on an IRS Form W-9 provided to the paying agent or the U.S. Holder’s broker) or is otherwise subject to backup withholding.
Certain U.S. Holders holding specified foreign financial assets with an aggregate value in excess of the applicable dollar threshold are required to report information to the IRS relating to PubCo Class A Ordinary Shares, subject to certain exceptions (including an exception for PubCo Class A Ordinary Shares held in accounts maintained by U.S. financial institutions), by attaching a complete IRS Form 8938, Statement of Specified Foreign Financial Assets, with their tax return, for each year in which they hold PubCo Ordinary Shares. In addition to these requirements, U.S. Holders may be required to annually file FinCEN Report 114 (Report of Foreign Bank and Financial Accounts) with the U.S. Department of Treasury. U.S. Holders should consult their own tax advisors regarding information reporting requirements relating to their ownership of PubCo Class A Ordinary Shares.
Backup withholding is not an additional tax. Any amounts withheld under the backup withholding rules may be allowed as a refund or credit against a holder’s U.S. federal income tax liability, if any, provided the required information is timely furnished to the IRS.
Required Vote
Approval of the Reincorporation Merger Proposal requires the affirmative vote of the holders of a majority of the issued and outstanding RDAC Ordinary Shares as of the record date present in person by virtual attendance or represented by proxy at the Extraordinary General Meeting and entitled to vote thereon. Adoption of the Reincorporation Merger Proposal is conditioned upon the adoption of the Acquisition Merger Proposal. It is important for you to note that in the event that either of the Reincorporation Merger Proposal or the Acquisition Merger Proposal is not approved, then Rising Dragon will not consummate the Business Combination.
Recommendation of Rising Dragon Board of Directors
After careful consideration, the Rising Dragon board of directors determined that the Reincorporation Merger forming part of the Business Combination with HZJL is advisable, fair to and in the best interests of Rising Dragon and its shareholders. On the basis of the foregoing, the Rising Dragon board of directors has approved and declared advisable the Business Combination with HZJL and recommends that you vote or give instructions to vote “FOR” adoption of the Reincorporation Merger Proposal.
| 100 |
PROPOSAL NO. 2
THE ACQUISITION MERGER PROPOSAL
The discussion in this proxy statement/prospectus of the Business Combination and the principal terms of the Merger Agreement, is subject to, and is qualified in its entirety by reference to, the Merger Agreement. The full text of the Merger Agreement and the Plan of Merger is attached hereto as Annex A, which is incorporated by reference herein.
General Description of the Acquisition Merger
Acquisition Merger with HZJL; Acquisition Merger Consideration
Concurrently with the Reincorporation Merger, Merger Sub, a Cayman Islands exempted company and wholly-owned subsidiary of PubCo, will be merged with and into HZJL, resulting in HZJL being a wholly-owned subsidiary of PubCo.
The aggregate consideration for the Acquisition Merger is $350,000,000, payable in the form of 35,000,000 newly issued PubCo Ordinary Shares (the “Closing Payment Shares”) valued at $10.00 per share to HZJL and its shareholders. At the closing of the Acquisition Merger, the issued and outstanding shares in HZJL held by the former HZJL shareholders will be cancelled and cease to exist, in exchange for the issuance of an aggregate of 22,708,000 PubCo Class A Ordinary Shares and 12,292,000 PubCo Class B Ordinary Shares. In addition to the Closing Payment Shares, Mr. Bin Xiong, the Chief Executive Officer of HZJL, will be entitled to receive earn-out shares as follows: (i) 10,000,000 PubCo Class A Ordinary Shares if the revenue of the Reincorporation Surviving Corporation and its subsidiaries, as a group, equals or exceeds RMB300,000,000 for the fiscal year containing the Closing Date (the “First Record Year”), as reflected on the audited consolidated financial statements of HZJL as of and for the First Record Year filed with the SEC; and (ii) 10,000,000 PubCo Class A Ordinary Shares if the revenue of the Reincorporation Surviving Corporation and its subsidiaries, as a group, equals or exceeds RMB600,000,000 for the fiscal year following the First Record Year (the “Second Record Year”), as reflected on the audited consolidated financial statements of HZJL as of and for the Second Record Year filed with the SEC. At the closing of the Acquisition Merger, the one fully paid share in Merger Sub held by PubCo will become one fully paid share in the surviving company, so that HZJL will become a wholly owned subsidiary of PubCo.
Upon the closing of the Business Combination, PubCo board of directors will consist of five (5) directors designated by HZJL, one (1) of whom will be Mr. Bin Xiong, and a majority of whom will be “independent” under Nasdaq’s listing standards. See section titled “PubCo’s Directors and Executive Officers after the Business Combination” for additional information. Mr. Bin Xiong has entered into an employment agreement with HZJL for an indefinite period and it is expected that he will serve as Chief Executive Officer of PubCo upon the consummation of the Business Combination.
Under the Merger Agreement, commencing from the closing of the transactions, certain HZJL shareholders shall be entitled to (i) make a written demand for registration under the Securities Act of all or part of their shares; and (ii) “piggy-back” registration rights with respect to registration statements filed following the consummation of the Business Combination (subject to customary exceptions).
According to the Proposed PubCo Charter, the authorized share capital of the post-closing company is $50,000 divided into 500,000,000 ordinary shares of a par value of $0.0001 each, comprising (a) 400,000,000 PubCo Class A Ordinary Shares of a par value of US$0.0001 each and (b) 100,000,000 PubCo Class B Ordinary Shares of a par value of $0.0001 each. After the consummation of the Business Combination, PubCo will be a “foreign private issuer” under the U.S. securities laws and the rules of Nasdaq. For more information about foreign private issuer status, please see the sections titled “PubCo’s Directors and Executive Officers After the Business Combination — Foreign Private Issuer Status.”
After the Business Combination, assuming there are no redemptions of our shares, Rising Dragon’s current public shareholders will own approximately 14.10% of the issued share capital of PubCo, Rising Dragon’s sponsor, current directors, officers and affiliates will own approximately 3.84% of the issued share capital of PubCo, and HZJL shareholders will own approximately 78.04% of the issued share capital of PubCo.
Assuming the Reincorporation Merger Proposal the Acquisition Merger Proposal and the Nasdaq Proposal are approved, Rising Dragon expects to close the Business Combination by November 30, 2025.
| 101 |
Representations and Warranties
HZJL and its Principal Shareholders make certain representations and warranties (with certain exceptions set forth in the disclosure schedule to the Merger Agreement) relating to, among other things: (a) proper corporate organization of HZJL and its affiliates and subsidiaries and similar corporate matters; (b) authorization, execution, delivery and enforceability of the Agreement and other transaction documents; (c) neither the execution, delivery nor performance of the Merger Agreement need any consent, approval, license or other action of any government authority; (d) absence of conflicts; (e) capital structure; (f) accuracy of charter documents and corporate records; (g) required consents and approvals; (h) financial information; (i) absence of certain changes or events; (j) title to assets and properties; (k) material contracts; (l) ownership of real property; (m) licenses and permits; (n) compliance with laws; (o) ownership of intellectual property; (p) customers and suppliers; (q) employment and labor matters; (r) tax matters; (s) environmental matters; (t) brokers and finders; (u) that HZJL is not an investment company; (v) no action pending or threatened against HZJL; and (w) other customary representations and warranties.
Rising Dragon, PubCo and Merger Sub (collectively, the “Purchaser Parties”) make certain representations and warranties relating to, among other things: (a) proper corporate organization and similar corporate matters; (b) authorization, execution, delivery and enforceability of the Merger Agreement and other transaction documents; (c) no governmental authorization required; (d) non-contravention; (e) brokers and finders; (f) capital structure; (g) validity of share issuance; (h) minimum trust fund amount; (i) validity of Nasdaq Stock Market listing; (j) SEC filing requirements and financial statements; (k) litigation; (l) compliance with laws; (m) material contracts; (n) not an investment company; and (o) other customary representations and warranties.
Conduct Prior to Closing; Covenants
Each of HZJL and Rising Dragon has agreed to, and cause its subsidiaries to, operate the business in the ordinary course, consistent with past practices, prior to the closing of the transactions (with certain exceptions) and not to take certain specified actions without the prior written consent of the other party. HZJL and Rising Dragon have also agreed to customary “no shop” obligations.
The Merger Agreement also contains covenants providing for, among other things:
| ● | PubCo shall prepare with the assistance, cooperation and commercially reasonable efforts of HZJL, and file with the SEC the registration statement in connection with the registration under the Securities Act of PubCo Ordinary Shares to be issued in the Mergers, which registration statement will also contain a proxy statement of RDAC; and | |
| ● | all rights to exculpation, indemnification and advancement of expenses existing in favor of D&O indemnified persons shall survive the closing and continue in full force and effect in accordance with their respective terms to the extent permitted by applicable law. |
Conditions to Closing
General Conditions
Consummation of the Merger Agreement and the transactions contemplated thereby is conditioned on, among other things: (i) no provisions of any applicable law, and no order shall prohibit or prevent the consummation of the closing; (ii) there shall not be any action brought by a third party that is not an affiliate of the parties hereto to enjoin or otherwise restrict the consummation of the closing; (iii) HZJL and RDAC receiving approval from their respective shareholders to the transactions; (iv) the SEC shall have declared the registration statement effective; (v) no stop order suspending the effectiveness of the registration statement or any part thereof shall have been issued; (vi) the additional agreements shall have been entered into and the same shall be in full force and effect; (vii) the completion of the CSRC filing; and (viii) continued listing of RDAC on Nasdaq and Nasdaq approval for listing the Closing Payment Shares on Nasdaq.
| 102 |
HZJL’s Conditions to Closing
The obligations of HZJL to consummate the transactions contemplated by the Merger Agreement, in addition to the conditions described above, are conditioned upon each of the following, among other things:
| ● | Purchaser Parties complying with all of their obligations under the Merger Agreement in all material respects; | |
| ● | subject to applicable materiality qualifiers, the representations and warranties of Purchaser Parties being true on and as of the closing date of the transactions and Purchaser Parties complying with all required covenants in the Merger Agreement; | |
| ● | Purchaser Parties complying with the applicable reporting requirements under the Securities Act and Exchange Act; | |
| ● | there having been no material adverse effect to Purchaser Parties; and | |
| ● | PubCo shall remain listed on Nasdaq and the additional listing application for the Closing Payment Shares shall have been approved by Nasdaq. |
Purchaser Parties’ Conditions to Closing
The obligations of Purchaser Parties to consummate the transactions contemplated by the Merger Agreement, in addition to the conditions described above in the first paragraph of this section, are conditioned upon each of the following, among other things:
| ● | HZJL and its subsidiaries complying with all of the obligations under the Merger Agreement in all material respects; | |
| ● | subject to applicable materiality qualifiers, the representations and warranties of HZJL and its subsidiaries being true on and as of the closing date of the transactions and HZJL and its subsidiaries complying with all required covenants in the Merger Agreement; | |
| ● | all necessary governmental permission or approvals have been received in form and substance reasonably satisfactory; | |
| ● | there having been no material adverse effect on HZJL; and | |
| ● | Rising Dragon receiving legal opinions from HZJL’s PRC counsel and Cayman Islands counsel. |
Termination
The Merger Agreement may be terminated and/or abandoned at any time prior to the closing, whether before or after approval of the proposals being presented to Rising Dragon shareholders, by:
| ● | mutual written consent of RDAC and HZJL duly authorized by each of their respective boards of directors; | |
| ● | In the event a governmental authority shall have issued an order or enacted a law having the effect of permanently restraining, enjoining or otherwise prohibiting either the Reincorporation Merger or the Acquisition Merger, which order or law is final and non-appealable, a Purchaser Party or HZJL shall have the right, at its sole option, to terminate the Merger Agreement without liability to the other party; provided, however, that this right to terminate the Merger Agreement shall not be available to HZJL or a Purchaser Party if the failure by such party or its affiliates to comply with any provision of the Merger Agreement has been a substantial cause of, or substantially resulted in, such action by such governmental Authority; |
| 103 |
| ● | RDAC, if HZJL has materially breached any representations, warranties, agreements or covenants contained in the Merger Agreement or in any additional agreement to be performed on or prior to the closing date or the Merger Agreement, the plan of merger or the transactions contemplated hereby fail to be authorized or approved by the shareholders of HZJL and such breach shall not be cured within fifteen (15) days following receipt by HZJL of a notice describing in reasonable detail the nature of such breach; | |
| ● | HZJL, if RDAC has materially breached any of its covenants, agreements, representations, and warranties contained in the Merger Agreement or in any additional agreement to be performed on or prior to the closing date and such breach has not been cured within fifteen (15) days following the receipt by RDAC a notice describing such breach. |
In addition to the Merger Agreement, the following agreements have been or will be entered into in connection with the closing of the business combination.
Shareholder Support Agreement
Concurrently with the execution of the Merger Agreement, certain shareholders of HZJL entered into a support agreement, pursuant to which each such shareholder agreed to vote in favor of the Business Combination, subject to the terms of such shareholder support agreement.
Lock-up Agreements
In connection with the transactions, PubCo shall enter into a lock-up agreement with certain HZJL shareholders with respect to certain lock-up arrangements, which will provide that such HZJL shareholders will not, within six (6) months from the closing of the Business Combination and subject to certain exceptions, offer, sell, contract to sell, pledge or otherwise dispose of, directly or indirectly, any of the ordinary shares issued in connection with the Acquisition Merger, enter into a transaction that would have the same effect, or enter into any swap, hedge or other arrangement that transfers, in whole or in part, any of the economic consequences of ownership of such shares, whether any of these transactions are to be settled by delivery of any such shares, in cash, or otherwise.
Amended and Restated Registration Rights Agreement
In connection with the transactions, PubCo, HZJL, RDAC, certain existing shareholders of RDAC and certain shareholders of HZJL will enter into an Amended and Restated Registration Rights Agreement to provide for the registration rights in connection with the PubCo Ordinary Shares received by them in the Acquisition Merger and the Reincorporation Merger.
Interests of Certain Persons in the Business Combination
When you consider the recommendation of Rising Dragon board of directors in favor of adoption of the Acquisition Merger Proposal and the other Proposals, you should keep in mind that Rising Dragon’s directors and officers have interests in the Business Combination that are different from, or in addition to, your interests as a shareholder, including the following:
| ● | If an initial business combination is not completed by January 15, 2026 (or up to July 15, 2026, if further extended), whether with HZJL or with any other entity, Rising Dragon will be required to liquidate. In such event, 1,437,500 RDAC Ordinary Shares held by Rising Dragon’s Initial Shareholders, which were acquired prior to the IPO for an aggregate purchase price of $25,000, will be worthless. Such RDAC Ordinary Shares had an aggregate market value of approximately $14.92 million based on the closing price of RDAC Ordinary Shares of $10.38 per share on The Nasdaq Capital Market as of September 5, 2025. The Sponsor and Rising Dragon’s officers and directors waived their redemption rights and liquidation rights in connection with the purchase of the founder’s shares and no other consideration was paid for such agreement. |
| 104 |
| ● | If an initial business combination is not completed by January 15, 2026 (or up to July 15, 2026, if further extended), whether with HZJL or with any other entity, Rising Dragon will be required to liquidate. In such event, 1,437,500 RDAC Ordinary Shares held by the Sponsor, which were acquired prior to the IPO as insider shares, and ordinary shares, and the rights included as part of the 254,375 Private Units purchased by the Sponsor for a total purchase price of $2,543,750, will be worthless. Such ordinary shares had an aggregate market value of approximately $17.83 million based on the closing price of RDAC Ordinary Shares of $10.38 per share on Nasdaq as of September 5, 2025, such rights had an aggregate market value of approximately $40,675 based on the closing price of RDAC Rights of $0.1599 per right on Nasdaq as of September 5, 2025, and such private units had an aggregate market value of approximately $2.71 million based on the closing price of RDAC Units of $10.65 per unit on Nasdaq as of September 5, 2025. The Sponsor, Rising Dragon’s officers and directors and their affiliates waived their redemption rights and liquidation rights in connection with the purchase of the insider shares and the private units, and no other consideration was paid for such agreement.
The
following table sets forth information regarding directors and officers of Rising Dragon
and the Sponsor’s beneficial interests in securities of Rising Dragon as at September
17, 2025: |
| Shareholder(1) | Number
of RDAC Ordinary Shares | Number
of RDAC Units | ||||||
| The Sponsor(2) | 1,437,500 | 254,375 | ||||||
| Lulu Xing(2) | 1,437,500 | 254,375 | ||||||
| Wenyi Shen | 0 | 0 | ||||||
| Kei Tung Yeung | 0 | 0 | ||||||
| Kun-Lin Liu | 0 | 0 | ||||||
| Yucan Zhang | 0 | 0 | ||||||
| Chengming Dou | 0 | 0 | ||||||
| All directors and executive officers (six (6) individuals) as a group | 1,691,875 | 254,375 | ||||||
| Notes: | ||
| (1) | Unless otherwise indicated, the business address of each of the individuals or entities is c/o Rising Dragon Acquisition Corporation, No. 604, Yixing Road, Wanbolin District, Taiyuan City, Shanxi Province, People’s Republic of China. | |
| (2) | The Sponsor is the record holder of the insider shares reported herein. It is controlled by Mr. Lulu Xing (the CEO and one of the directors of Rising Dragon). Mr. Lulu Xing has voting and dispositive power over the securities held of record by the Sponsor. | |
| ● | The exercise of Rising Dragon’s directors’ and officers’ discretion in agreeing to changes or waivers in the terms of the transaction may result in a conflict of interest when determining whether such changes or waivers are appropriate and in our shareholders’ best interest. |
| ● | In order to extend Rising Dragon’s time to complete a business combination by up to an additional six months as provided in its Existing Charter, Rising Dragon’s Sponsor or our directors and officers or their designees must deposit $189,750 ($0.033 per share) into the trust account for each one-month extension. If the Business Combination is consummated by the extended deadlines, the amount deposited in the trust account will be repaid. However, if the Business Combination is not consummated by the extended deadline, the amount deposited will not be repaid unless there are funds available outside the trust account to do so and will be included in the liquidation distribution to Rising Dragon’s shareholders. | |
| ● | Aurora Beacon LLC, which is owned by Lulu Xing, a member of Rising Dragon Board of Directors, will be liable under certain circumstances described herein to ensure that the proceeds in the trust account are not reduced by the claims of target businesses or claims of vendors or other entities that are owed money by Rising Dragon for services rendered or contracted for or products sold to Rising Dragon. If Rising Dragon consummates a business combination, on the other hand, PubCo will be liable for all such claims. |
| 105 |
| ● | The Sponsor and Rising Dragon’s officers and directors and their affiliates are entitled to reimbursement of reasonable out-of-pocket expenses incurred by them in connection with certain activities on Rising Dragon’s behalf, such as identifying and investigating possible business targets and business combinations. However, if the proposed Business Combination is not completed by January 15, 2026 (or up to July 15, 2026, if further extended), they will not have any claim against the trust account for reimbursement. Accordingly, Rising Dragon may not be able to reimburse these expenses, and the Sponsor and Rising Dragon’s officers and directors and their affiliates will not receive reimbursement for any out-of-pocket expenses incurred by them to the extent that such expenses exceeded the amount of its working capital if the Business Combination or another business combination is not completed within the allotted time period. As of the date of this proxy statement/prospectus, the Sponsor and Rising Dragon’s officers and directors and their affiliates have not had any unpaid reimbursable expenses. | |
| ● | The Merger Agreement provides for the continued indemnification of Rising Dragon’s current directors and officers and the continuation of directors and officers liability insurance covering Rising Dragon’s current directors and officers. | |
| ● | Rising Dragon’s officers and directors may make loans from time to time to Rising Dragon to fund certain capital requirements. As of the date of this proxy statement/prospectus, Rising Dragon’s officers and directors has not made any loans to Rising Dragon. | |
| ● | The Sponsor and its affiliates will benefit from the completion of a business combination and may be incentivized to complete an acquisition of a less favorable target company or on terms less favorable to shareholders rather than liquidate. The Sponsor and its affiliates will own 1,717,312 PubCo Class A Ordinary Shares, representing 3.84% ownership interest in PubCo resulting from the completion of the Business Combination. Such PubCo Class A Ordinary Shares had an aggregate market value of approximately $17.83 million based on the closing price of RDAC Ordinary Shares of $10.38 per share on Nasdaq as of September 5, 2025. | |
| ● | The Sponsor and its affiliates can earn a positive rate of return on their investment, even if other Rising Dragon shareholders experience a negative rate of return in the combined company following the Business Combination. For example, if the share price of the ordinary shares declined to $5.00 per share after the close of the business combination, Rising Dragon’s public shareholders that purchased shares in the initial public offering would have a loss of $5.00 per share, while Rising Dragon’s Sponsor would have a gain of $4.98 per share because it acquired the founder shares for a nominal amount. |
In connection with the Business Combination, there may be any actual or potential material conflict of interest between: on one hand, HZJL’s officers or HZJL’s directors; and, on the other hand, unaffiliated security holders of Rising Dragon. Shareholders should also be aware that interests of HZJL, HZJL officers and directors may be inherently different from the interests of unaffiliated shareholders of Rising Dragon, which could cause them to pursue terms of Business Combination less favorable to non-redeeming shareholders, and they owe no fiduciary duty to Rising Dragon’s shareholders. After Closing, certain HZJL officers and directors will be appointed as officers and directors of PubCo. Furthermore, Rising Dragon intends to use substantially all of the funds held in the Trust Account to complete the Business Combination, after the payment to holders of RDAC Ordinary Shares exercising redemption rights upon Closing, and any remaining amount will be used for future working capital and other corporate purposes of the combined entity. See “Questions and Answers about the Business Combination and the Extraordinary General Meeting —Q: What happens to the funds deposited in the trust account following the Business Combination” on page 13. In addition, our largest shareholder will be able to exercise a fair amount of the voting rights of our Company immediately after the completion of the Business Combination. The largest shareholder has substantial influence over our business with respect to material matters requiring voting rights, and we cannot assure you that any of our controlling shareholders will act in the best interest of our company should any conflict arise. We may not be able to resolve any potential conflicts, and even if we do so, the resolution may be less favorable to us than if we were dealing with an unaffiliated party. See “Risk Factors - We may have conflicts of interest with our largest shareholder and may not be able to resolve such conflicts on favorable terms for us” on page 66.
Redemption Rights
Pursuant to Rising Dragon’s Existing Charter, Rising Dragon’s public shareholders may demand to have their shares redeemed for cash at the applicable redemption price per share equal to the quotient obtained by dividing (i) the aggregate amount on deposit in the trust account as of two business days prior to the consummation of the Business Combination, including interest (net of taxes payable), by (ii) the total number of then-outstanding public shares. As of September 11, 2025, this would have amounted to approximately $10.44 per share.
You will be entitled to receive cash for any public shares to be redeemed only if you:
| (i) | (x) hold public RDAC Ordinary Shares or (y) hold public RDAC Ordinary Shares through RDAC Units and you elect to separate your RDAC Units into the underlying public RDAC Ordinary Shares and public RDAC Rights prior to exercising your redemption rights with respect to the public RDAC Ordinary Shares; and |
| (ii) | prior to 5:00 p.m., Eastern Time, on October 16, 2025, which is two business days before Extraordinary General Meeting, (a) submit a written request to the transfer agent that Rising Dragon redeem your public shares for cash; and (b) deliver your public shares to the transfer agent, physically or electronically through DTC. |
| 106 |
Holders of outstanding RDAC Units must separate the underlying RDAC Ordinary Shares and RDAC Rights prior to exercising redemption rights with respect to the RDAC Ordinary Shares. If RDAC Units are registered in a holder’s own name, the holder must deliver the certificate for its RDAC Units to the transfer agent with written instructions to separate the RDAC Units into their individual component parts. This must be completed far enough in advance to permit the mailing of the certificates back to the holder so that the holder may then exercise his, her or its redemption rights upon the separation of the RDAC Ordinary Shares from the RDAC Units.
If a broker, dealer, commercial bank, trust company or other nominee holds RDAC Units for an individual or entity (such individual or entity, the “beneficial owner”), the beneficial owner must instruct such nominee to separate the beneficial owner’s RDAC Units into their individual component parts. The beneficial owner’s nominee must send written instructions by facsimile to the transfer agent. Such written instructions must include the number of RDAC Units to be separated and the nominee holding such RDAC Units. The beneficial owner’s nominee must also initiate electronically, using DTC’s DWAC system, a withdrawal of the relevant RDAC Units and a deposit of an equal number of RDAC Ordinary Shares and RDAC Rights. This must be completed far enough in advance to permit the nominee to exercise the beneficial owner’s redemption rights upon the separation of the RDAC Ordinary Shares from the RDAC Units. While this is typically done electronically the same business day, beneficial owners should allow at least one full business day to accomplish the separation. If beneficial owners fail to cause their RDAC Ordinary Shares to be separated in a timely manner, they will likely not be able to exercise their redemption rights.
Any request for redemption, once made, may be withdrawn at any time up to two business days immediately preceding the Extraordinary General Meeting. Furthermore, if a shareholder delivered his certificate for redemption and subsequently decided prior to the date immediately preceding the Extraordinary General Meeting not to elect redemption, he may simply request that the transfer agent return the certificate (physically or electronically).
If a holder exercises its redemption rights for all of such holder’s public shares, then such holder will be exchanging its public shares for cash and will no longer own shares of the post-Business Combination company other than the rights (which will be converted into shares upon consummation of the Business Combination). Such a holder will be entitled to receive cash for its public shares only if it properly demands redemption and delivers its shares (either physically or electronically) to our Transfer Agent in accordance with the procedures described herein. Please see the section titled “The Extraordinary General Meeting — Redemption Rights” for the procedures to be followed if you wish to redeem your public shares for cash.
A redemption payment will only be made in the event that the proposed Business Combination is consummated. If the proposed Business Combination is not completed for any reason, then public shareholders who exercised their redemption rights would not be entitled to receive the redemption payment. In such case, Rising Dragon will promptly return the share certificates to the public shareholder.
Appraisal Rights
Appraisal rights under the Companies Act (Revised) of the Cayman Islands are not available to Rising Dragon’s shareholders in connection with the proposals to be voted on at the Extraordinary Meeting.
Anticipated Accounting Treatment
The Business Combination will be accounted for as a “reverse recapitalization” in accordance with U.S. GAAP. Under this method of accounting, RDAC will be treated as the “acquired” company for financial reporting purposes. Accordingly, for accounting purposes, the Business Combination will be treated as the equivalent of HZJL issuing shares for the net assets of RDAC, accompanied by a recapitalization. The net assets of RDAC will be stated at fair value which approximates historical costs as RDAC has only cash and short-term liabilities. No goodwill or other intangible assets relating to the Business Combination will be recorded. Operations prior to the business combination will be those of HZJL. This determination was primarily based on the holders of HZJL expecting to have a majority of the voting power of the post-combination company, HZJL designating all members of the Board of Directors of the post-combination company, HZJL senior management comprising all of the senior management of the post-combination company, the relative size of HZJL compared to RDAC, and HZJL operations comprising the ongoing operations of the post-combination company. The net assets of RDAC will be stated at historical cost, with no goodwill or other intangible assets recorded. Operations prior to the Business Combination will be those of HZJL.
| 107 |
Regulatory Approvals
The Reincorporation Merger, the Acquisition Merger and the other transactions contemplated by the Merger Agreement are not subject to any additional U.S. federal or state regulatory requirements or approvals, or any regulatory requirements or approvals under the laws of the Cayman Islands, except for the registration by the Registrar of Companies in the Cayman Islands of the plans of merger.
Recently, the General Office of the Central Committee of the Communist Party of China and the General Office of the State Council jointly issued the Opinions on Severe and Lawful Crackdown on Illegal Securities Activities, which were made available to the public on July 6, 2021. These opinions emphasized the need to strengthen the administration over illegal securities activities and the supervision on overseas listings by China-based companies. These opinions proposed to take effective measures, such as promoting the construction of relevant regulatory systems, to deal with the risks and incidents facing China-based overseas-listed companies and the demand for cybersecurity and data privacy protection. Moreover, On December 28, 2021, thirteen PRC regulatory agencies, namely, the CAC, the NDRC, the MIIT, the Ministry of Public Security, the Ministry of State Security, the Ministry of Finance, MOFCOM, SAMR, the CSRC, the People’s Bank of China, the National Radio and Television Administration, National Administration of State Secrets Protection Network Data Security, and the National Cryptography Administration, jointly adopted and published the Measures for Cybersecurity Review (2021), which became effective on February 15, 2022. The Measures for Cybersecurity Review (2021) required that, among others, in addition to “operator of critical information infrastructure” any “operator of network platform” holding personal information of more than one million users which seeks to list in a foreign stock exchange should also be subject to cybersecurity review. HZJL and its PRC Operating Entities do not expect to be subject to the cybersecurity review by the CAC for this transaction, given that data processed in our business does not have a bearing on national security and thus may not be classified as core or important data by the authorities using our products and services through the utilization of the end users of our institution clients. We, however, may access and temporarily possess certain personal information from end users in our business operations. As these official opinions were recently issued, guidance and interpretation of the opinions remain unclear at this time. HZJL and its PRC Operating Entities cannot assure you that HZJL and its PRC Operating Entities will remain fully compliant with all new regulatory requirements of these opinions or any future implementation rules on a timely basis, or at all and any failure to comply with applicable laws and obligations could have a material and adverse effect on our business, our listing on Nasdaq, our financial condition, our results of operations, and the Business Combination.
On December 24, 2021, the CSRC, published the Draft Rules for public comments. The Draft Rules lay out specific filing requirements for overseas listing and offering by PRC domestic companies and include unified regulation management and strengthening regulatory coordination.
On February 17, 2023, the CSRC promulgated the Trial Measures, which will take effect on March 31, 2023. The Trial Measures superseded the Draft Rules and clarified and emphasized several aspects, which include but are not limited to: (1) comprehensive determination of the “indirect overseas offering and listing by PRC domestic companies” in compliance with the principle of “substance over form” and particularly, an issuer will be required to go through the filing procedures under the Trial Measures if the following criteria are met at the same time: a) 50% or more of the issuer’s operating revenue, total profit, total assets or net assets as documented in its audited consolidated financial statements for the most recent accounting year is accounted for by PRC domestic companies, and b) the main parts of the issuer’s business activities are conducted in mainland China, or its main places of business are located in mainland China, or the senior managers in charge of its business operation and management are mostly Chinese citizens or domiciled in mainland China; (2) exemptions from immediate filing requirements for issuers that a) have already been listed or registered but not yet listed in foreign securities markets, including U.S. markets, prior to the effective date of the Trial Measures, and b) are not required to re-perform the regulatory procedures with the relevant overseas regulatory authority or the overseas stock exchange, and c) whose such overseas securities offering or listing shall be completed before September 30, 2023, provided however that such issuers shall carry out filing procedures as required if they conduct refinancing or are involved in other circumstances that require filing with the CSRC; (3) a negative list (the “Trial Measures Negative List”) of types of issuers banned from listing or offering overseas, including but not limited to (a) issuers whose listing or offering overseas have been recognized by the State Council of the PRC as possible threats to national security, (b) issuers whose affiliates have been recently convicted of bribery and corruption, (c) issuers under ongoing criminal investigations, and (d) issuers under major disputes regarding equity ownership; (4) issuers’ compliance with web security, data security, and other national security laws and regulations; and (5) issuers’ filing and reporting obligations (the “Trial Measures Filing Obligations”), such as obligation to file with the CSRC after it submits an application for initial public offering to overseas regulators, and obligation after offering or listing overseas to report to the CSRC material events including change of control or voluntary or forced delisting of the issuer.
| 108 |
The Trial Measures provide the CSRC with power to warn, fine, and issue injunctions against both PRC domestic companies, their controlling shareholders, and their advisors in listing or offering securities (collectively, the “Subject Entities”), as well as individuals directly responsible for these Subject Entities (the “Subject Individuals”). For failure to comply with the Trial Measures Negative List or the Trial Measures Filing Obligations, or materially false or misleading statements in the filing and reporting required by the Trial Measures: (1) PRC domestic companies, and their controlling shareholders if the controlling shareholders induced the PRC domestic companies’ failure to comply, severally, may face warnings, injunctions to comply, and fines between RMB 1 million and 10 million (approximately $145,647 and $1,456,473); the Subject Individuals in these entities may severally, face warnings and fines between RMB 0.5 million and 5 million (approximately $72,824 and $728,237); (2) Advisors in listing or offering securities that failed to dutifully advise the PRC domestic companies and their controlling shareholders in complying with the Trial Measures and caused such failures to comply can face warnings and fines between RMB 0.5 million and 5 million (approximately $72,824 and $728,237); (3) the Subject Individuals in these advisor entities may, severally, face warnings and fines between RMB 0.2 million and 2 million (approximately $29,129 and $291,295).
As a China-based issuer, HZJL believes, as advised by its PRC Legal Counsel, that HZJL and its PRC Operating Entities will be required to comply with the filing requirements or procedures set forth in Trial Measures. There is no assurance that HZJL will be able to meet all applicable filing requirements and guidelines of the CSRC, or comply with all applicable regulations at all times. Any failure to obtain or delay in obtaining such approval, filing or completing such procedures for this listing, or a rescission of any such approval or filing obtained by HZJL, would subject HZJL, as well as HZJL’s controlling shareholders and advisors in listing and offering securities, if they caused HZJL’s failure, to sanctions by the CSRC or other PRC regulatory authorities as described above. We will not complete the transaction contemplated by the Merger Agreement until we have received clearance to list from the CSRC.
We cannot assure you that we will be able to get the clearance of filing procedures under the Trial Measures on a timely basis, or at all. Any failure of us to fully comply with new regulatory requirements may significantly limit or completely hinder our ability to continue to offer our ordinary shares, cause significant disruption to our business operations, and severely damage our reputation, which could materially and adversely affect our financial condition and results of operations. Lastly, any actions by the Chinese government to exert more oversight and control over transaction that are conducted overseas could significantly limit or completely hinder our ability to complete our Business Combination, cause our securities to be delisted from the Nasdaq Capital Market even after listing, and cause the value of such securities to significantly decline or be worthless.
On February 24, 2023, the CSRC, the Ministry of Finance, the National Administration of State Secrets Protection and the National Archives Administration jointly issued the Provisions on Strengthening Confidentiality and Archives Administration of Overseas Securities Offering and Listing by Domestic Companies (the “Confidentiality and Archives Provisions”), which took effect on March 31, 2023. The Confidentiality and Archives Provisions specify that during the overseas securities offering and listing activities of domestic companies, domestic companies and securities companies and securities service institutions that provide relevant securities business shall, by strictly abiding by the relevant laws and regulations of the PRC and the Confidentiality and Archives Provisions, institute a sound confidentiality and archives administration systems, take necessary measures to fulfill confidentiality and archives administration obligations, and shall not divulge any national secrets, work secrets of governmental agencies and harm national and public interests. The Confidentiality and Archives Provisions provide that they are applicable to initial public offerings as well as other types of securities listing of PRC domestic enterprises, including de-SPAC transactions such as HZJL’s Business Combination, and any future issuance of securities and listing activities after the initial listing. Working papers generated in the PRC by securities companies and securities service providers that provide relevant securities services for overseas issuance and listing of securities by domestic companies shall be kept in the PRC. The Confidentiality and Archives Provisions provide no explicit definition of working papers. In practice, the securities companies’ working papers usually refer to various important information and work records related to the securities business obtained and prepared by the securities companies and securities service providers and their representatives in the whole process of the securities businesses, such as due diligence work. Without the approval of relevant competent authorities, such as CSRC, MOF PRC National Administration of State Secrets Protection, and National Archives Administration of China, depending on the nature and transmission method of secrets, it shall not be transferred overseas. Where documents or materials need to be transferred outside of the PRC, it shall be subject to the approval procedures in accordance with relevant PRC regulations. The relevant competent authorities, such as, CSRC, MOF, PRC National Administration of State Secrets Protection, and National Archives Administration of China will regulate, supervise and inspect pursuant to their respective statutory mandates over matters of Confidentiality and Archives Administration concerning overseas offerings and listings by domestic companies. As the Confidentiality and Archives Provisions were recently promulgated, there is substantial uncertainty regarding their specific requirements. If we fail to comply with related laws and regulation, we may be subject to fine, confiscation, blocking transmission or criminal offense. We have taken measures to adopt management systems for the compliance of the Confidentiality and Archives Provisions. We believe that our listing does not involve national secrets, work secrets of governmental agencies that undermine national and public interests. There is no assurance that we will be able to meet all applicable regulatory requirements and guidelines, or comply with all applicable regulations at all times, or that we will not be subject to fines or other penalties in the future as a result of regulatory inspections.
| 109 |
We have been closely monitoring regulatory developments in China regarding (i) greater oversight by the CAC over cyber security, data security and data privacy, and (ii) any necessary permissions or approvals from the CSRC, the CAC, or other PRC regulatory authorities required for overseas listings, including the Business Combination. HZJL’s PRC Legal Counsel has advised HZJL that, based on its understanding of the current PRC laws and regulations, as of the date of this proxy statement/prospectus, besides the obligation to file with the CSRC after it submits an application for initial public offering to overseas regulators, and obligation after offering or listing overseas to report to the CSRC material events including change of control or voluntary or forced delisting of the issuer, none of HZJL, any of the HZJL’s subsidiaries or the PubCo received from the CAC, CSRC or other PRC governmental authorities any inquiry, notice, warning or sanctions on or requirement on obtaining any regulatory permission or approval for this Business Combination and the listing and trading of the PubCo Class A Ordinary Shares or PubCo Warrants on Nasdaq. However, HZJL’s PRC Legal Counsel has further advised HZJL that there remains significant uncertainty as to the enactment, interpretation and implementation of regulatory requirements related to overseas securities offering and other capital markets activities. If it is determined in the future that the permission or approval of the CSRC, the CAC or other PRC regulatory agencies were required for the Business Combination, HZJL may face sanctions by the CSRC, the CAC or other PRC regulatory agencies. For risks relating to the oversight of the CAC, see “Risk Factors —Risks Related to HZJL’s Business and Industry — Recent regulation by the Cyberspace Administration of China (“CAC”) over data security, particularly for companies seeking to list on a foreign exchange, could adversely impact our PRC subsidiaries’ business and our offering.” For further details and for risks related to regulatory permissions or approvals on overseas listings, see “Risk Factors — Risks Related to Doing Business in China — The approval of and filing with the CSRC or other PRC government authorities may be required in connection with this Business Combination under PRC law, and, if so required, we cannot predict whether or when we will be able to obtain such approval or complete such filing, and even if we obtain such approval, this Business Combination also needs to be completed within the validity period of such approval.”
HZJL, through its PRC Operating Entities, operates in the local life services sector in China. Our PRC Operating Entities currently have obtained all requisite business permissions and approvals applicable to every company from PRC governmental authorities, including business licenses and insurance intermediary licenses.
The following table lists the permissions and approvals obtained by the PRC Operating Entities for their business operations in mainland China as of the date of this proxy statement/prospectus:
| Company | License/Permission | Issuing Authority | Validity | |||
| Hangzhou Zhulin Technology Co., Ltd. | Food Operation Permit | Administration for Market Regulation of Linping District, Hangzhou City | From January 13, 2022 to July 6, 2026 | |||
| Hangzhou Zhulin Technology Co., Ltd. | Telecommunications Business License (Category II Value-Added Telecommunications Services: Electronic Data Interchange) | Ministry of Industry and Information Technology | From March 24, 2023 to March 23, 2028 |
As of the date of this proxy statement/prospectus, we have been advised by our PRC Legal Counsel, Han Kun Law Offices, that our PRC subsidiaries have obtained all licenses and approvals explicitly required and necessary for our operations in China. HZJL’s counsel as to Cayman Islands law has also advised that HZJL does not require any approvals from any Cayman authority. However, if any of the PRC Operating Entities were denied permissions or approvals from Chinese authorities to list on a U.S. exchange, the PRC Operating Entities will not be able to continue listing on a U.S. exchange, which could materially affect the interest of the investors. It is uncertain when and whether HZJL will be able to obtain permissions or approvals from the PRC government to list on a U.S. exchange, and even when such permission or approval is obtained, whether it will be denied or rescinded. As of the date of this prospectus, HZJL and its PRC Operating Entities have not been denied any permissions or approvals that they are required to obtain from Chinese authorities to operate their business. Our operations could be adversely affected, directly or indirectly, by existing or future laws and regulations relating to its business or industry. See “Risk Factors – Risks Related to Doing Business in China – The approval of and filing with the CSRC or other PRC government authorities may be required in connection with this Business Combination under PRC law, and, if so required, we cannot predict whether or when we will be able to obtain such approval or complete such filing, and even if we obtain such approval, this Business Combination also needs to be completed within the validity period of such approval.”
| 110 |
The Measures for Cybersecurity Review (2021), effective on February 15, 2022, authorized the relevant government authorities to conduct cybersecurity review on a range of activities that affect or may affect national security, and required that, among others, in addition to “operators of critical information infrastructure,” any “operator of network platform” holding personal information of more than one million users which seeks to list in a foreign stock exchange also be subjected to cybersecurity review. The Measures for Cybersecurity Review (2021) further elaborated the factors to be considered when assessing the national security risks of the relevant activities, including, among others, (i) the risks of core data, important data or a large amount of personal information being stolen, leaked, destroyed, and illegally used or exiting the country; (ii) the risks of critical information infrastructure, core data, important data or a large amount of personal information being affected, controlled, or maliciously used by foreign governments if such information is made public; and (iii) the risks of network information security. The cybersecurity review will also look into the potential national security risks from overseas IPOs. If the draft Regulations on Network Data Security are adopted into law and we become listed on Nasdaq, our PRC Operating Entities likely will be required to perform annual data security assessments either by themselves or retain a third-party data security service provider and submit such data security assessment reports to the local agency if we provide personal information overseas or are treated as data processors for important data as defined by the Draft Regulations on Network Data Security applying to the data processing activities by the utilization of networks, as well as the supervision and administration of cybersecurity in PRC. However, if we and our PRC Operating Entities i) do not receive or maintain such permissions or approvals; (ii) inadvertently conclude that such permissions or approvals are not required; or (iii) applicable laws, regulations, or interpretations change and we are required to obtain such permissions or approvals, we may have to spend great efforts and expenses to obtain such clearance, otherwise it may materially and adversely affect our business, operating results, financial condition and the value of our ordinary shares, significantly limit or completely hinder our ability to offer or continue to offer securities to investors, or cause such securities to significantly decline in value or become worthless. See “Risk Factors - Recent regulation by the Cyberspace Administration of China (“CAC”) over data security, particularly for companies seeking to list on a foreign exchange, could adversely impact our PRC subsidiaries’ business and our offering.”
Background of the Business Combination
Rising Dragon is a Cayman Islands exempted company incorporated on March 8, 2024, as a blank check company for the purpose of entering into a merger, share exchange, asset acquisition, share purchase, recapitalization, reorganization or similar business combination with one or more businesses or entities. Rising Dragon seeks to acquire small-cap businesses demonstrating substantial growth potential in emerging markets driven by innovative technologies or novel business models. The terms of the Business Combination were the result of negotiations between representatives of Rising Dragon and HZJL. The following is a detailed description of the background of these negotiations, the Business Combination, and the related transactions.
On October 15, 2024, Rising Dragon completed its IPO of 5,750,000 Units (including the overallotment of 750,000 Units), generating gross proceeds of $57,500,000. Each Unit consists of one ordinary share and one right to receive one-tenth (1/10) of an ordinary share upon the consummation of an initial business combination. Prior to the IPO, the Sponsor purchased an aggregate of 1,437,000 Founder Shares for a total price of $25,000. Simultaneously with the IPO, Rising Dragon completed a private placement to the Sponsor of 254,375 units at $10.00 per unit, resulting in additional gross proceeds of $2,543,750.
Before the consummation of the IPO on October 15, 2024, neither Rising Dragon nor anyone acting on its behalf engaged with any prospective target business or had any substantive discussions, formal or otherwise, regarding a merger, capital stock exchange, asset acquisition, stock purchase, reorganization, or similar business combination with Rising Dragon.
Following the completion of the IPO, Rising Dragon evaluated multiple potential target businesses with the goal of consummating its initial business combination. Representatives of Rising Dragon contacted and were contacted by various individuals and entities proposing business combination opportunities, including companies from a range of sectors. Rising Dragon focused on businesses that it believed had strong long-term growth potential, were well-positioned within their industry, and could benefit from the intellectual capital, operational experience, and network of Rising Dragon’s management team.
Rising Dragon reviewed and evaluated the potential targets based on the investment criteria and guidelines outlined in its IPO prospectus. While Rising Dragon plans to use these criteria and guidelines in evaluating prospective businesses, it may deviate from them as needed. These criteria include:
| ● | Rising Dragon believes there are a substantial number of potential target businesses, both domestically and internationally, with appropriate valuations that would benefit from a public listing and new capital for growth, supporting significant revenue and earnings growth or advancing clinical programs. |
| 111 |
| ● | Rising Dragon intends to seek target companies with significant and underexploited expansion opportunities within niche sectors. This can be achieved through accelerating organic growth and identifying attractive add-on acquisition opportunities. Rising Dragon’s management has considerable experience in identifying such targets and assessing the synergies and processes to integrate acquisitions. |
| ● | Rising Dragon aims to acquire companies that offer attractive risk-adjusted equity returns for its shareholders. The evaluation process will involve assessing the potential for regulatory approval and successful commercialization of the target’s products, financial returns based on risk-adjusted peak sales potential, the ability to realize cost savings, opportunities for follow-on acquisitions, and the potential for value creation through various initiatives. The upside potential, such as growth in earnings or an improved capital structure, will be weighed against identified risks. |
| ● | Rising Dragon seeks to invest in businesses with a proven track record of success. The company looks for targets with shareholder-friendly governance, low leverage, and valuations that reflect an attractive price relative to their earnings potential, offering long-term return potential. Rising Dragon believes this approach constitutes a competitive advantage and can potentially offer both meaningful upside potential and a degree of downside protection in periods of financial market turbulence. |
Rising Dragon’s strategy was to identify and complete its business combination with entities that met one or more of the following criteria:
| ● | Target Size: Companies with significant revenue growth, valued between $500 million and $2 billion. |
| ● | High-Growth Geographic Markets: Focus on companies with international operations in rapidly growing markets, leveraging regional advantages. |
| ● | High-Growth Industries: Prioritize sectors such as green and sustainable businesses, new energy, cutting-edge technologies, artificial intelligence applications, business software, and healthcare products. |
| ● | Proven Financial Performance and Growth Potential: Target businesses with recent revenue growth and strong prospects for future expansion through new products, technological advancements, unique sales strategies, cost reductions, and strategic acquisitions. |
| ● | Competitive Advantage: Focus on businesses with a strong market position, innovative technologies, deep market insights, leadership status, exclusive partnerships, strong branding, or distinct cost efficiencies. |
| ● | Benefits of Going Public: Target companies that would benefit from the capital access and visibility of being a publicly traded entity. |
| ● | Experienced and Visionary Management: Preference for companies led by skilled, forward-thinking management teams with deep industry knowledge. |
| ● | High ESG Standards: Prioritize companies with strong commitments to environmental, social, and governance standards, emphasizing sustainable and responsible business practices. |
| ● | Market Trend Alignment: Companies that are in line with or leading current market trends, which helps them adapt to changes in market conditions and consumer preferences. |
During its search process, Rising Dragon evaluated three potential business combination targets and entered into non-disclosure agreements with two companies. Ultimately, Rising Dragon decided not to proceed with any of these opportunities as the potential targets did not meet the company’s valuation expectations or were otherwise deemed less attractive or feasible than HZJL.
| 112 |
Review of Other Candidates:
Company A
In November 2024, Company A, a blockchain-related company based in Northern Europe focusing on IT energy infrastructure and high-efficiency power generation for data centers, was introduced to Rising Dragon’s management by the Company A’s financial advisor. After thorough review and three online discussions with Company A’s management team, Rising Dragon initially identified Company A as a potential business combination candidate. However, in December 2024, Rising Dragon decided to excluded Company A from consideration, as it believed Company A’s market potential was insufficient to support its status as a publicly listed company.
Company B
Company B, based in Tai Zhou City, Jiangsu Province, China, which specializes in providing industrial furnaces such as thermal storage gas furnaces and various types of resistance furnaces, was introduced to Rising Dragon’s management in October 2024 by the Company B’s financial advisor. After reviewing Company B’s business model and engaging in discussions, Rising Dragon signed a confidentiality agreement with Company B on October 24, 2024, and conducted due diligence through November 2024. In November 2024, Rising Dragon decided to exclude Company B from consideration as it believed Company B’s market potential was insufficient to support its status as a publicly listed company.
Company C
Company C, a high-end valve manufacturing company based in Zhangjiagang City, China, was introduced to Rising Dragon’s management in November 2024 by the Company C’s financial advisor. A confidentiality agreement was signed by Rising Dragon and Company C on November 8, 2024, and due diligence was conducted through early November 2024. Company C was ultimately removed from consideration as a potential business combination target because Rising Dragon believed its valuation given by Company C was significantly higher than its fair market value.
Timeline of the Business Combination with HZJL
On October 21, 2024, Mr. Luc Niu, a representative of Chain Stone Capital Limited (“CTM”), the financial advisor for HZJL, contacted the Rising Dragon’s management team through a personal referral from Rising Dragon’s CEO and Chairman, Mr. Lulu Xing, who informed Mr. Niu that Rising Dragon was seeking a business combination target. On the same day, CTM introduced HZJL to Rising Dragon. Mr. Xing, Mr. Niu and Mr. Bin Xiong, HZJL’s CEO and Chairman attended the initial meeting, conducted via conference call. During the meeting, HZJL expressed interest in exploring a potential business combination, aligning with Rising Dragon’s investment thesis given HZJL’s rapid growth, experienced management, and strong market position in local life services. After the initial meeting, Rising Dragon sent a non-disclosure agreement to CTM for HZJL to sign. On October 24, 2024, Rising Dragon and HZJL entered into a non-disclosure agreement, enabling Rising Dragon to receive and evaluate detailed information about HZJL.
CTM was engaged by HZJL as the financial consultant to HZJL, pursuant to a financial advisory engagement agreement entered into by and between CTM and HZJL on March 14, 2024, and subsequently amended on October 14, 2024. In accordance with the financial advisory agreement, the main responsibilities of CTM include coordinating and managing the transaction process, assisting HZJL in designing and structuring the transaction, assisting in analyzing HZJL’s financial reports, competitive environment, and performance projections, and providing consulting services related to financing. Under the financial advisory agreement, CTM is entitled to receive $600,000 in cash and 1,750,000 PubCo Class A Ordinary Shares upon completion of the Business Combination for its services as the compensation.
On October 28, 2024, the management teams of Rising Dragon and HZJL held an introductory conference call. During the call, Mr. Xing, and HZJL’s management, including Mr. Xiong, discussed HZJL’s business model, strategy, core capabilities, technology, and research and development propositions. HZJL management outlined its strategic objectives aiming to expand, including key growth drivers, market positioning and geography expansion.
On October 29, 2024, Rising Dragon’s CFO, Mr. Wenyi Shen, provided HZJL with a preliminary due diligence request list.
| 113 |
On November 12, 2024, Rising Dragon engaged CHFT Advisory and Appraisal Ltd (“CHFT”) to provide valuation analysis of HZJL’s equity value and a fairness opinion regarding the valuation of HZJL in connection with the Business Combination.
From November 4 to November 15, 2024, several emails and conference calls took place between the management teams of Rising Dragon and HZJL. Rising Dragon’s CEO, Lulu Xing, CFO, Mr. Wenyi Shen, and HZJL’s CEO and Chairman, Mr. Bin Xiong, engaged in discussions regarding commercial and capital-raising plans, business combination prospects, and the terms of a letter of intent (“LOI”), which addressed valuation, corporate governance, post-merger employment terms, and other essential steps for due diligence.
On November 20, 2024, Rising Dragon sent a draft LOI to HZJL for review. The LOI included a preliminary valuation of $500 million for HZJL’s enterprise value, which was determined by RDAC management based on the preliminary financials and projections provided by HZJL management, and was subject to further due diligence. It also proposed a 12-month lock-up period following the closing of the business combination for major HZJL shareholders.
On November 21, 2024, Mr. Xiong, sent Rising Dragon a revised LOI, which modified certain business terms, including increasing the valuation to $600 million, which was based on enterprise value of HZJL estimated by HZJL management, and shortening the lock-up period to 6 months post-business combination. A conference call was scheduled for November 22, 2024, to discuss the revisions. During the call held on November 22, 2024, Rising Dragon’s management proposed an earn-out term to address the valuation gap between the parties and agreed to the revised the lock-up period. Following the call, Rising Dragon sent a revised LOI, including a valuation of $350 million and an earn-out provision that would grant certain PubCo shareholders, including HZJL’s key personnel, HZJL’s CEO and Chairman, an additional 20 million shares as earn-out shares upon meeting specific revenue targets after the closing. This adjustment was determined by RDAC management following further discussions with CHFT regarding the financial projections and assumptions. These changes were also based on additional due diligence findings and a more detailed financial projections provided by HZJL, including the detailed assumption about growth indication and trends.
On November 26, 2024, HZJL presented a further revised LOI, which included a comment requesting a detailed breakdown of estimated transaction expenses, as well as clarification on the trust fund release procedure related to the transaction, including deferred underwriter fees, for discussion purposes. On the same day, Rising Dragon responded to HZJL’s comments by sending a revised LOI along with a detailed estimate of business combination expenses.
Following the delivery of the revised LOI on November 26, 2024, several emails and conference calls took place between the management teams of Rising Dragon and HZJL, culminating in the execution of the LOI on November 28, 2024. On the same day, the teams also discussed potential PIPE financing or other funding options for the combined company, agreeing that additional financing would benefit the combined entity. However, as of the date of this proxy statement/prospectus, no PIPE financing or additional financing was contemplated, initiated or finalized.
On November 29, 2024, Rising Dragon engaged Loeb & Loeb LLP (“Loeb”) as its U.S. legal counsel and Joint-win Law Firm as its PRC legal counsel in connection with the Business Combination.
On November 29, 2024, Loeb established a data room, granting Rising Dragon team, HZJL team and its counsels access to the data room. Subsequently, Rising Dragon conducted further due diligence by reviewing documents provided by HZJL. A series of internal and joint conference calls took place between Rising Dragon and HZJL to clarify HZJL’s business model, strategy, technology, and intellectual property issues.
On December 4, 2024, representatives of Rising Dragon, HZJL, Loeb, and Joint-win Law Firm held a conference call to discuss legal due diligence, potential deal structure and transaction timelines.
On December 5, 2024, CHFT sent HZJL a checklist and information request for HZJL’s valuation. From January 2 to January 4, 2025, CHFT conducted on-site due diligence for its valuation analysis and fairness opinion.
From December 6, 2024 to January 10, 2025, additional conference calls were held between Rising Dragon’s CFO, Mr. Shen, and CHFT’s team to discuss suitable comparable companies and valuation modeling.
| 114 |
On December 17, 2024, after reviewing the initial data room materials, Rising Dragon’s management sent a follow-up due diligence request list to HZJL for additional information.
On January 5, 2025, Loeb circulated an initial draft of the Merger Agreement to the parties for review.
On January 7, 2025, HZJL responded to the follow-up due diligence request list and provided additional diligence documents requested by Rising Dragon and its counsels. The parties agreed on the deal structure for the business combination. Joint-win Law Firm provided Rising Dragon with a draft of the due diligence report.
On January 7, 2025, Rising Dragon engaged Maples (Cayman) LLP as its Cayman counsel. On the same day, Xpand Boom Technology Inc. and Xpand Boom Solutions Inc. were formed in the Cayman Islands.
On January 8, 2025, Loeb circulated an initial draft of the Shareholder Support Agreement to the parties for review.
On January 18, 2025, HZJL’s U.S. legal counsel, Han Kun Law Offices LLP (“Han Kun”) sent the comments on the Merger Agreement to Loeb.
On January 21, 2025, Loeb sent a revised draft of the Merger Agreement to Han Kun.
On January 22, 2025, Han Kun sent the comments on the revised draft of the Merger Agreement to Loeb. Han Kun also circulated an initial draft of the HZJL disclosure schedules for parties to review. On the same day, Loeb sent comments on the HZJL disclosure schedules to Han Kun. Loeb also sent drafts of the RDAC disclosure schedules, the Lock-Up Agreement and Amended and Restated Registration Rights Agreement to Han Kun. Joint-win Law Firm provided Rising Dragon with the final PRC due diligence report.
On January 23, 2025, Loeb sent a revised draft of the Merger Agreement to Han Kun. From January 7 through January 23, 2025, Mr. Shen had multiple calls with CHFT’s team to discuss comparable companies and valuation modeling. On January 23, 2025, CHFT sent a draft fairness opinion and valuation analysis of HZJL’s equity value to Rising Dragon. Rising Dragon sent a copy of the current draft of the Merger Agreement and the fairness opinion to all members of the board of directors of RDAC (the “Rising Dragon Board” or the “Board”).
On January 24, 2025, Han Kun sent an updated version of the HZJL disclosure schedules and comments on the Merger Agreement, Lock-Up Agreement and Amended and Restated Registration Rights Agreement to Loeb. On the same day, Loeb sent revised drafts of the Merger Agreement, the Lock-Up Agreement and Amended and Restated Registration Rights Agreement to Han Kun.
From January 5 to January 24, 2025, representatives of Loeb, Han Kun, HZJL, RDAC, and CTM had several meetings to discuss material terms of the Merger Agreement, legal diligence, and disclosure schedules.
On January 24, 2025, the board of directors of HZJL unanimously approved HZJL’s entry into the Merger Agreement and the ancillary documents, as well as other corporate matters in connection with the Business Combination.
On January 26, 2025, the Rising Dragon Board held a virtual meeting, which was attended by all board members and Loeb, at which the management team provided the Board with an update on the potential Business Combination and HZJL. The Merger Agreement and related documents and agreements were approved by the Board, subject to final negotiations and modifications, and the Board determined to recommend the approval of the Merger Agreement to RDAC’s shareholders.
On the same day, Han Kun sent an updated version of the HZJL disclosure schedules to Loeb.
On January 27, 2025, the parties executed the Merger Agreement and the Shareholders Support Agreement. On the same day, Rising Dragon and HZJL issued a joint press release announcing the execution of the Merger Agreement and Rising Dragon filed with the SEC a Current Report on Form 8-K announcing the execution of the Merger Agreement and related matters.
| 115 |
The legal and commercial negotiations between HZJL and Rising Dragon with respect to the Merger Agreement involved several key adjustments and compromises, addressing both representations, covenants, and closing conditions. Below is a list of the negotiated points:
| 1. | Representations by HZJL: HZJL sought to remove certain representations, including the representations concerning company accounts and related party transactions and increase thresholds for material contracts. Rising Dragon chose to retain the representation on the company accounts and related party transactions but agreed to increase the disclosure thresholds for certain contracts as per HZJL’s request. |
| 2. | Representations by Rising Dragon: HZJL proposed adding more representations regarding trust accounts, a reporting company representation, and a no market manipulation representation. However, Rising Dragon rejected these proposals, noting that trust account details were already covered in the IPO prospectus, the reporting company representation was redundant, and market manipulation clauses were not typical in deals of this nature. |
| 3. | HZJL’s Covenants post signing: HZJL requested an increase in the threshold for covenants from the proposed $100,000 to $500,000. Rising Dragon agreed to this adjustment, reflecting a more flexible threshold in the context of the transaction. |
| 4. | Rising Dragon’s Covenants: HZJL requested a schedule listing expenses related to the business combination, which Dragon rejected, noting that all such estimated expenses were already outlined in the IPO prospectus. |
| 5. | D&O Tail Insurance: Rising Dragon initially proposed a six-year tail insurance provision, which was not accepted by HZJL. However, Rising Dragon compromised by agreeing to a three-year tail insurance term, balancing the needs of both parties. |
| 6. | HZJL’s Covenants: HZJL requested the removal of certain obligations related to ODI filing, CSRC filing, and SAFE registration, which were under the PRC requirements, but Rising Dragon rejected these requests, insisting that these obligations remain. However, Rising Dragon accepted the removal of provisions regarding the settlement of SPAC side’s outstanding fees and expenses. Additionally, Rising Dragon agreed to extend the deadline for certain interim financial statements delivery from March 31, 2025, to June 30, 2025. |
| 7. | All Parties’ Covenants: Both parties agreed to add an Employee Stock Ownership Plan (ESOP) proposal into the F-4 filing, reflecting a shared commitment to employee incentives and ownership. |
| 8. | Closing Condition to HZJL: HZJL proposed adding a $500,000 net tangible asset requirement for Rising Dragon at closing. Dragon rejected this condition, as it was not part of the LOI. |
| 9. | Termination Clause: HZJL requested the removal of a clause that would have classified the failure to deliver audited financial statements and interim financial statements by March 31, 2025, as a material breach. Dragon rejected the removal, instead agreeing to a partial revision that set the new deadline for the interim financial statements as of June 30, 2025. |
| 10. | Sponsor Support Agreement: HZJL proposed to have a sponsor support agreement in place. However, Rising Dragon rejected as it believed that the insider letters that were entered into at the closing of the IPO and contained similar agreements would be sufficient. |
| 11. | Lock-up Provision: Rising Dragon initially proposed a 12-month lock-up period, which was proposed by HZJL to shorten to a 6-month lock-up period. Rising Dragon compromised by agreeing to a 6-month lock-up period. |
Basis for Rising Dragon Board of Directors’ Recommendation — Valuation Analysis and Fairness Opinion
Engagement of Financial Advisor to Rising Dragon
In addition to the factors discussed below, the Board considered the fairness opinion and supporting analysis provided by an independent valuation consultancy, CHFT. CHFT performed various valuation and financial analyses, including the discounted cash flow analyses and guideline public company analyses.
| 116 |
CHFT provides comprehensive capital market professional services in property and business valuation, market research consultancy, ESG/sustainability advisory services. CHFT is regularly engaged in the valuation and financial assessment of businesses and securities in connection with mergers and acquisitions, recapitalizations, spin-offs, restructurings, securities offerings in both private and public capital markets.
Rising Dragon retained CHFT Advisory and Appraisal Ltd (“CHFT”) to provide its Board with an opinion regarding the valuation of HZJL in connection with the Business Combination. CHFT was introduced to Rising Dragon’s management team on November 8, 2024. On November 11, 2024, Rising Dragon’s CFO, Mr. Wenyi Shen, along with other directors, held an introductory conference call with CHFT to discuss the terms of the engagement letter proposed by CHFT. Pursuant to the engagement letter entered into by Rising Dragon and CHFT on November 12, 2024, Rising Dragon retained CHFT to provide a fairness opinion to the Board in connection with the proposed Business Combination with HZJL.
In selecting CHFT, the Board considered, among other things, the fact that CHFT is a holistic capital market professional services firm, providing comprehensive advice in property and business valuation, real estate consultancy, ESG/sustainability, management, and financial strategies. The CHFT team has conducted over 300 valuation reports and worked with over 100 listed companies. CHFT is regularly engaged in the valuation and financial assessment of businesses and securities in connection with mergers and acquisitions, recapitalizations, spin-offs, restructurings, securities offerings in both private and public capital markets and valuations for corporate and other purposes.
CHFT received a fee amounting to US$67,000 upon the delivery of its opinion that was not contingent upon consummation of the Business Combination. CHFT will not receive any other significant payment or compensation contingent upon the successful consummation of the Business Combination. During the two-year period prior to the date of CHFT’s opinion, no material relationship existed between CHFT or its affiliate or unaffiliated representatives and Rising Dragon or any of its affiliates pursuant to which compensation was received by CHFT. CHFT may seek to provide valuation and consultancy services to the Rising Dragon, or its respective affiliates in the future, for which CHFT would seek customary compensation. However, any such future relationship is not contemplated.
Rising Dragon determined the amount of consideration to be paid, and no outside party recommended the amount of consideration to be paid in connection with the Business Combination.
Rising Dragon instructed CHFT to provide valuation service and fairness opinion in relation to the equity interest of HZJL. There was no limitation imposed by Rising Dragon on the scope of CHFT’s investigation.
On January 23, 2025, CHFT delivered a draft of its opinion to Rising Dragon’s management for review. On January 27, 2025, CHFT delivered its opinion, dated January 27, 2025, to the Board, that, as of the date of the Opinion, the discounted cash flow analyses resulted in an overall reference range of US$ 506 million to US$570 million and guideline public company analyses resulted in an overall reference of US$ 565 million for purposes of valuing HZJL’s equity interest.
Summary of the Opinion of CHFT
Overview
On January 27, 2025, CHFT rendered its opinion to Rising Dragon to the effect that, as of such date, the aggregate consideration to be issued by Rising Dragon in the Business Combination was fair, from a financial point of view to Rising Dragon and its shareholders. The aggregate consideration consists of two parts: (1) Closing Payment Shares, referring to the number of Purchaser Ordinary Shares equal to $350,000,000 divided by $10.00 and (2) Contingent Consideration, comprising up to 20,000,000 Purchaser Class A Ordinary Shares (the “Earn-out Shares”).
Rising Dragon engaged CHFT to conduct a valuation of HZJL. As part of this engagement, Rising Dragon instructed CHFT to evaluate the facts of the proposed transaction and provide an opinion as to whether the proposed consideration is fair and reasonable, from a financial point of view to Rising Dragon. CHFT specializes in, among other things, fairness opinions, and asset valuation service. CHFT delivered a fairness opinion to Rising Dragon regarding its valuation of HZJL as of January 27, 2025, and the rationale supporting its conclusion (the “Fairness Opinion”). The Fairness Opinion was only one of key factors considered by the Rising Dragon Board in evaluating the Business Combination. The Fairness Opinion is not determinative of the views of Rising Dragon board of directors or management with respect to the Business Combination or of the aggregate consideration under the Merger Agreement. The type and amount of consideration payable in the Business Combination were determined through negotiations between Rising Dragon and HZJL, and the decision to enter into the Merger Agreement was solely that of the Rising Dragon Board.
| 117 |
Procedures
CHFT’s analyses relied upon, but were not necessarily limited to, the following procedures:
| ● | Reviewed the following documents: |
| a. | Audited financial statements of HZJL for the years ended June 30 2023 and June 30, 2024. |
| b. | Major contracts of HZJL with suppliers and clients. |
| c. | Other internal documents relating to the history, current operations, and probable future outlook of HZJL, including financial projections for the years from 2025 through 2029, prepared by the management of HZJL. |
| d. | A draft of the Merger Agreement. |
| ● | Discussed with various members of the management of HZJL, concerning historical and current operations, financial conditions and Financial Projections of HZJL. |
| ● | Discussed with senior management of the Rising Dragon concerning background and other elements of the Proposed Transaction. |
| ● | Performed certain valuation using generally accepted valuation and analytical techniques including discounted cash flow analyses and guideline public company analyses that CHFT deemed relevant. |
| ● | Conducted such other analyses and considered such other factors as CHFT considered appropriate in rendering this Opinion. |
Assumption
CHFT relied upon and assumed, without independent verification, the accuracy and completeness of all data, materials, and other information furnished, or otherwise made available, to it, discussed with or reviewed by it, or publicly available, and did not assume any responsibility with respect to such data, material, and other information.
CHFT relied upon and assumed, without independent verification, that there had been no change in the business, assets, liabilities, financial condition, results of operations, cash flows, or prospects of HZJL or Rising Dragon since the respective dates of the most recent financial statements and other information, financial or otherwise, provided to CHFT that would be material to its analyses or opinion, and that there was no information or any facts that would make any of the information reviewed by CHFT materially incomplete or materially misleading.
CHFT further relied upon the assurance of management of HZJL and Rising Dragon that they are unaware of any facts that would make the information provided to them incomplete or misleading in any respect. CHFT’s analyses were based, among other things, on the projections of HZJL furnished to them by senior management of HZJL and Rising Dragon. In addition, CHFT assumed that the financial projections had been reasonably prepared by HZJL’s management and reflect HZJL’s management’s best currently available estimates and good faith judgment of the future competitive, operating and regulatory environment and related financial performance of HZJL. CHFT also relied on existing financial, economic, market, and other conditions, as well as the information available to it as of the date of its opinion.
In its review, CHFT did not obtain or receive any independent evaluation or appraisal of the assets or liabilities of, nor did it conduct a comprehensive physical inspection of, any of the assets of, HZJL. In addition, CHFT was not furnished with any such evaluations, appraisals or reports of such physical inspections, and did not assume any responsibility to obtain any such evaluations, appraisals, or inspections.
| 118 |
In rendering its opinion, CHFT also assumed that: (i) the final versions of all documents reviewed by them in draft form conform in all material respects to the drafts reviewed; (ii) in all respects material to its analysis that the representations and warranties of each party contained in the Merger Agreement are true and correct, that each party will perform all of the covenants and agreements required to be performed by it under the Merger Agreement and that all conditions to the consummation of the Business Combination will be satisfied without waiver thereof which would affect the amount or timing of receipt of the consideration; (iii) there is currently no, and there will not be, as a result of the consummation of the transactions contemplated by the Merger Agreement, any default, or event of default, under any indenture, credit agreement, or other material agreement or instrument to which Rising Dragon or any of its subsidiaries or affiliates is a party; and (iv) all material assets and liabilities of HZJL were as set forth in the consolidated financial statements provided to CHFT as of the respective dates of such financial statements.
Valuation Analysis
In assessing the valuation of HZJL in connection with rendering its opinion, CHFT performed various valuation and financial analyses, including discounted cash flow analyses and guideline public company analyses.
Discounted Cash Flow Analyses:
CHFT performed illustrative stand-alone discounted cash flow analyses of HZJL based on projected unlevered free cash flows for HZJL and an estimate of its terminal value at the end of the projection horizon. In performing its illustrative discounted cash flow analyses:
| ● | CHFT based its discounted cash flow analyses on the five-year financial projections for HZJL as provided by HZJL’s senior management. | |
| ● | CHFT applied a discount rate ranging from 13% to 14% based on CHFT’s estimate of HZJL’s weighted average cost of capital. | |
| ● | In calculating HZJL’s terminal value for purposes of its discounted cash flow analyses, CHFT used a Gordon Growth Model and adopted a 3% perpetual growth rate. | |
| ● | CHFT’s illustrative discounted cash flow analyses resulted in an overall reference range of US$506 million to US$570 million for valuing HZJL’s 100% equity interest on a stand-alone intrinsic-value basis. | |
| ● | CHFT noted that the aggregate consideration was within the aforementioned valuation reference range based on the illustrative discounted cash flow analyses. |
Guideline Public Company Analyses
Guideline public company method is a method within the market approach whereby market multiples are derived from market prices of stocks of companies that are engaged in the same or similar lines of business and that are actively traded on a free and open market.
CHFT reviewed and analyzed HZJL’s trading valuation metrics and projected financial performance for the year ending June 30, 2027, compared to such information for certain publicly traded companies in the food distribution, online software, and online marketing industries that CHFT deemed relevant for purposes of its valuation analysis. CHFT selected publicly traded comparable companies based on its views as to the comparability of the financial and operating characteristics of these companies to HZJL. CHFT selected a group of comparable companies listed on stock exchanges to provide a reasonable reference. The selection criteria for these comparable companies were as follows:
| 1) | Each comparable company should primarily engage in a similar business or sector as HZJL. Each service segment contains comparable companies with operating characteristics resembling certain elements of HZJL business. Three categories of comparable companies are involved in this valuation: (i) For Supply of Food Products, CHFT mainly selected companies that engage in food distribution services; (ii) For Online Software Services, CHFT mainly selected SaaS companies, especially those providing software solutions related to the CRM or promotions; and (iii) For Branding Services, CHFT mainly selected online marketing or advertising companies. |
| 2) | The comparable companies should be listed in the United States. Given that HZJL is expected to be listed in the United States, CHFT mainly selected comparable companies that are listed on the NYSE or Nasdaq to reflect the pricing level of the same listed venue as required by investors. |
| 119 |
| 3) | The comparable companies should have financial information that is both available and publicly disclosed. In order to calculate the implied multiples of enterprise value or “EV” to 2027 estimated revenue (“EV /2027E Revenue”), the market price of these comparable companies should be publicly available, and applicable equity research and consensus estimates should be available for their estimated 2027 revenue. |
The following companies were used by CHFT for purposes of its valuation analysis and were selected:
Selected Comparable Companies:
| Supply of Food Products | Online Software Services | Branding Services | ||
| ● Chefs’ Warehouse, Inc. | ● Salesforce, Inc. | ● Cardlytics, Inc. | ||
| ● Sysco Corporation. | ● HubSpot, Inc. | ● Interpublic Group of Companies, Inc. | ||
| ● United Natural Foods, Inc. | ● Braze, Inc. | ● Omnicom Group Inc. | ||
| ● US Foods Holding Corp. | ● Klaviyo, Inc. | ● Stagwell, Inc. | ||
| ● ZoomInfo Technologies Inc. | ● Criteo S.A. |
CHFT calculated the following trading multiples for the selected comparable companies as of December 31, 2024, based on consensus estimates that were derived from average data collected by research analysts, sourced from FactSet, and publicly available financial filings:
Supply of Food Products
| Ticker | Company Name | Enterprise Value/2027E Revenue | ||
| CHEF-US | Chefs’ Warehouse, Inc. | 0.59x | ||
| SYY-US | Sysco Corporation | 0.56x | ||
| UNFI-US | United Natural Foods, Inc. | 0.17x | ||
| USFD-US | US Foods Holding Corp. | 0.44x | ||
| 25th Percentile | 0.37x | |||
| Mean | 0.44x | |||
| Median | 0.50x | |||
| 75th Percentile | 0.57x |
Online Software Services
| Ticker | Company Name | Enterprise Value/2027E Revenue | ||
| CRM-US | Salesforce, Inc. | 6.6x | ||
| HUBS-US | HubSpot, Inc. | 8.5x | ||
| BRZE-US | Braze, Inc. | 5.4x | ||
| KVYO-US | Klaviyo, Inc. | 6.3x | ||
| ZI-US | ZoomInfo Technologies Inc | 3.7x | ||
| 25th Percentile | 5.4x | |||
| Mean | 6.1x | |||
| Median | 6.3x | |||
| 75th Percentile | 6.6x |
| 120 |
Branding Services
| Ticker | Company Name | Enterprise Value/2027E Revenue | ||
| CDLX-US | Cardlytics, Inc. | 1.1x | ||
| IPG-US | Interpublic Group of Companies, Inc. | 1.3x | ||
| OMC-US | Omnicom Group Inc | 1.1x | ||
| STGW-US | Stagwell, Inc. | 0.8x | ||
| CRTO-US | Criteo S.A. | 1.3x | ||
| 25th Percentile | 1.1x | |||
| Mean | 1.1x | |||
| Median | 1.1x | |||
| 75th Percentile | 1.3x |
| ● | When screening comparable companies, early-stage peers typically lack research analyst coverage, do not publicly disclose long-term growth plans, and have no published forecasts for metrics as far out as 2027 (including revenue). Without those projections, an implied EV/2027E Revenue multiple cannot be calculated, and this absence of forward guidance makes such companies unsuitable as meaningful comparable companies, so they were excluded. Given that most of the comparable companies exhibit more mature operations and command larger market capitalizations than HZJL, CHFT believes that employing a more conservative valuation metric is warranted. Specifically, CHFT has adopted the 25th percentile EV/2027E Revenue multiple from these comparable companies for estimating HZJL’s equity value. | |
| ● | For valuation on a stand-alone public market trading basis, the following trading multiples were applied: (i) a 0.37x EV/2027E Revenue multiple for the Supply of Food Products business; (ii) a 5.4x EV/2027E Revenue multiple for the Online Software Services business; and (iii) a 1.1x EV/2027E Revenue multiple for the Branding Services business. | |
| ● | Based on the analysis of the selected comparable companies, CHFT established a valuation reference of approximately US$565 million for HZJL’s 100% equity interest using these trading multiples. | |
| ● | It is further noted that the aggregate consideration was below this valuation reference as derived from the comparable trading analysis. |
Disclosure of Fee and Prior Relationships
As compensation for CHFT’s services in connection with the rendering of its opinion to the Rising Dragon Board, Rising Dragon agreed to pay CHFT a fee of $67,000. Rising Dragon has agreed to indemnify CHFT against certain liabilities arising out of or in connection with the services rendered and to be rendered by CHFT. Except for the aforementioned compensation, CHFT has not received, and will not receive, any other payment or compensation, including any compensation contingent upon the successful consummation of the business combination.
During the two-year period prior to the date of CHFT’s opinion, no material relationship existed between CHFT or its affiliates or unaffiliated representatives and Rising Dragon or any of its affiliates pursuant to which compensation was received by CHFT. CHFT may seek to provide valuation and consultancy services to the Rising Dragon, or its respective affiliates in the future, for which CHFT would seek customary compensation. However, any such future relationship is not currently contemplated.
Conclusion
The preparation of CHFT’s opinion was a complex, analytical process involving various determinations as to the most appropriate and relevant methods of analysis and the application of those methods to the particular circumstances and is not necessarily susceptible to partial analysis or summary description.
CHFT’s draft fairness opinion, which was reviewed by the Rising Dragon Board prior to approving the final terms of the Business Combination, indicates that based upon the investigation, analysis, and assumptions described therein, the aggregate consideration to be paid for HZJL is fair to the shareholders of Rising Dragon from a financial point of view.
The full text of the Opinion is attached here to as Exhibit 99.4 to this proxy statement/prospectus and is incorporated into this document by reference. The summary of the Opinion set forth herein is qualified in its entirety by reference to the full text of the Opinion. Rising Dragon shareholders are urged to read the Opinion carefully and in its entirety for a discussion of the procedures followed, assumptions made, other matters considered, and limits of the review undertaken by CHFT in connection with such Opinion.
| 121 |
Rising Dragon Board’s Consideration of CHFT Valuation Opinion
Rising Dragon management has substantial experience in evaluating the operating and financial merits of companies from a wide range of industries and concluded that their experience and backgrounds, enabled them to make the necessary analyses and determinations regarding the Business Combination. Rising Dragon Board also obtained the Opinion in connection with their evaluation of HZJL. The Opinion was provided for the information of, and directed to, the Board for its information and assistance in connection with its consideration of the financial terms of the Business Combination. Rising Dragon Board has considered, among other factors, the information and opinions that were included in the Opinion and believe that the Opinion supports the Rising Dragon Board’s determination relating to the consideration being paid in the Business Combination.
Rising Dragon Board reviewed the qualifications and experiences of CHFT team to assess the competency of CHFT. Rising Dragon Board also reviewed the scope of services provided under the engagement of CHFT by the Rising Dragon and noted that the scope of work is appropriate to the opinions given in the fairness opinion and there were no limitations on the scope of work. Thus. Rising Dragon Board considered CHFT is qualified and possesses sufficient relevant experience in performing the valuation and delivering fairness opinion regarding the valuation of HZJL.
In addition, Rising Dragon Board reviewed the suitability of the valuation method, the principal assumptions adopted by CHFT, including but not limited to discussion with CHFT to understand the steps and due diligence measures taken by the CHFT for conducting the valuation report.
Rising Dragon Board believes that the methodology and assumptions adopted by CHFT were arrived at after due and careful consideration and the basis of the valuation and the fairness opinion is fair and reasonable.
Rising Dragon Board of Director’s Reasons for Approving the Business Combination
On January 26, 2025, Rising Dragon Board determined that the form, terms and conditions of the Merger Agreement, including all exhibits and schedules attached thereto and the transactions contemplated therein (including the Business Combination), are advisable, fair to and in the best interests of Rising Dragon and its shareholders, adopted and approved the Merger Agreement and the transactions contemplated therein, determined to recommend to RDAC’s shareholders that they approve and adopt the Merger Agreement and approve the Business Combination and the other proposals contemplated by the Board resolutions and determined that the foregoing be submitted for consideration by RDAC’s shareholders at the meeting. When you consider the Board’s recommendation, you should be aware that the Board may have interests in the Business Combination that may be different from, or in addition to, the interests of RDAC’s shareholders generally. See “Proposal No. 2. - The Acquisition Merger Proposal - Interests of Certain Persons in the Business Combination” for additional information.
Rising Dragon was formed with the goal of completing a merger, share exchange, asset acquisition, share purchase, reorganization, or similar business combination with one or more business entities. As outlined above, the Rising Dragon Board sought to achieve this objective by leveraging the networks and industry experience of the Sponsor, the Rising Dragon Board, and Rising Dragon’s management to identify and acquire one or more businesses.
The Business Combination was approved by the Rising Dragon Board. A majority of Rising Dragon’s non-employee directors approved the Business Combination. Mr. Robert Wilson Garner, who resigned from the Rising Dragon Board on March 2, 2025, abstained from voting on the Business Combination. Effective on March 2, 2025, Mr. Garner resigned from his roles as an independent director and as a member of the audit committee, nominating committee, and compensation committee, where he also served as chairman, of Rising Dragon. Mr. Garner’s resignation was due to personal reasons and was not the result of any disagreement with Rising Dragon on any matter relating to Rising Dragon’s operations, policies or practices. On the same date, Mr. Yucan Zhang was appointed as an independent director and a member of the audit committee, nominating committee, and compensation committee of the Company, as well as the chairman of the compensation committee.
There are no agreements, arrangements or understandings of any nature among our Sponsor and Rising Dragon, or Rising Dragon’s officers, directors, or affiliates with respect to determining whether to proceed with a deSPAC transaction. Such determination is solely within the discretion of Rising Dragon Board.
The Business Combination is not structured to require the approval of at least a majority of unaffiliated shareholders of Rising Dragon. No unaffiliated representative has been retained by a majority of the directors who are not employees of Rising Dragon to act solely on behalf of the unaffiliated shareholders of Rising Dragon for purposes of negotiating the terms of the Business Combination on their behalf and/or preparing a report concerning the approval of the Business Combination.
| 122 |
In approving the Business Combination, the Rising Dragon Board discussed the valuation of HZJL. The Board reviewed HZJL’s financial performance, future projections, industry and market trends, and the valuation of comparable companies. Additionally, the Board evaluated the valuation analysis and comparison presented in the fairness opinion provided by CHFT. The Board also considered the potential dilution of non-redeeming shareholders, including the dilution resulting from HZJL shareholders and other dilution, as detailed in this proxy statement/prospectus (see “Dilution to the Shareholders of Rising Dragon”). With respect to the transaction terms, the combined company will issue 35 million PubCo Ordinary Shares to HZJL shareholders as part of the current consideration in the business combination, as well as 20 million PubCo Ordinary Shares as earn-out shares to certain HZJL shareholder. This consideration was based on the financial projections provided by HZJL’s management and supported by the fairness opinion from CHFT.
In reaching its decision regarding the Business Combination, the Rising Dragon Board considered the views of Rising Dragon’s management regarding the opportunity represented by the proposed transaction and assessed the investor presentation provided by HZJL. Rising Dragon’s management presented its due diligence to the Board, which included, but was not limited to:
| ● | Review of HZJL’s draft financial statements for the fiscal years ended June 30, 2024 and 2023. |
| ● | Review of the fairness opinion provided by CHFT, which is attached hereto as Exhibit 99.4 (for further details, see “— Summary of the Opinion of CHFT”). |
| ● | Review of HZJL’s financial projections (for more details, refer to “— Summary of Financial Analysis”). |
| ● | Review of HZJL’s descriptions of its business operations. |
| ● | Review of financial data for public companies comparable to HZJL. |
| ● | Review of a due diligence report and memorandum on key legal issues involved in the business combination, prepared by Joint-win Law Firm, Rising Dragon’s PRC counsel. |
| ● | Review of HZJL’s corporate records, material agreements, employment agreements, tax documents, litigation matters, and other business-related materials. |
| ● | Discussions with HZJL’s management. |
In evaluating the transaction with HZJL, the Rising Dragon Board consulted with its legal counsel, accounting advisors, and other consultants. In determining that the terms and conditions of the Merger Agreement and the transactions contemplated therein are in Rising Dragon’s best interests, the Board considered and evaluated a range of factors, including, but not limited to, the factors discussed below. The draft financial statements, financial projections, and fairness opinion provided by CHFT offered the Rising Dragon Board a quantitative analysis of HZJL’s valuation. The Board members engaged in detailed discussions regarding the financial stability, profitability, and growth potential of HZJL, including the benefits of transitioning HZJL to a public company. The Board also assessed the risks related to financing, industry market dynamics, and broader economic conditions that could affect HZJL’s performance and trends. The Board members sought clarification from Rising Dragon management about the assumptions and methodologies underlying the fairness opinions before making their final determination. The financial projections of HZJL, the fairness opinion, business operation descriptions, due diligence reports, and other relevant materials gave the Board insights into potential risks from financial, business, legal, and market perspectives. Given the number and breadth of factors considered, the Rising Dragon Board did not consider it practicable to, and did not attempt to, quantify or assign relative weights to the specific factors in reaching its decision. Instead, the Board’s decision was based on all of the information available and the factors presented to and considered by the Board. Additionally, individual directors may have assigned different weights to different factors. The Rising Dragon Board understood that future results may vary, including those disclosed or expected as discussed herein. This explanation of the Board’s reasons for the Business Combination and all other information in this section is forward-looking and should be considered in light of the factors discussed under “Cautionary Note Regarding Forward-Looking Statements.”
| 123 |
The members of the Rising Dragon Board are well qualified to evaluate the Business Combination with HZJL. The Board and management collectively possess extensive transactional experience. In addition to reviewing HZJL’s equity value and the consideration to be paid in connection with the proposed Business Combination, the Rising Dragon Board considered the following reasons or made the following determinations, as applicable:
| ● | HZJL satisfies a number of acquisition criteria established by Rising Dragon to evaluate prospective business combination targets. The Rising Dragon Board reviewed HZJL’s business, history, prospects, credibility, and valuation, determining that HZJL meets several of the criteria and guidelines set forth during the IPO, including: (i) high growth markets and high growth industries; (ii) experienced management teams with a history of success; and (iii) significant and underexploited expansion opportunities in a niche sector, attractive risk-adjusted equity returns , and experienced and visionary management. |
| ● | Favorable prospects for future growth. The information provided by both Rising Dragon and HZJL’s management regarding (i) HZJL’s business, prospects, financial condition, operations, technology, services, management, competitive position, and strategic goals; (ii) general economic, industry, regulatory, and financial market conditions; and (iii) opportunities and competitive factors within HZJL’s industry. |
| ● | Visionary management team with a proven history of innovation and execution. HZJL’s management team has extensive experience in online branding industry. The Rising Dragon Board also considered Mr. Xiong’s holdings in PubCo securities post-transaction, his ability to sell a substantial portion of those holdings while retaining control of the company, as a result of his holdings of PubCo Class B Ordinary Shares, which carry ten (10) votes per share compared to one vote per share for Class A Ordinary Shares. Despite this, the Rising Dragon Board did not alter its decision because (i) it recognized that similar dual-class share structures have been adopted by other public companies for the benefit of their founders; (ii) Mr. Xiong will be subject to a lock-up period; (iii) upon closing, Mr. Xiong will remain subject to his fiduciary duties under Cayman Islands law and the Amended PubCo Articles (included as Annex B to this proxy statement/prospectus) in his role as Chairman, Director, and Chief Executive Officer of PubCo; and (iv) the board reviewed Mr. Xiong’s extensive professional and industry experience, as well as his long tenure with HZJL. |
| ● | Best available opportunity. After a thorough review of other available business combination opportunities, the Rising Dragon Board determined that the proposed Business Combination represents the best opportunity for Rising Dragon. The Board believed that the process used to evaluate and assess other potential acquisition targets had not identified a better alternative. |
| ● | Continued significant ownership by HZJL. The Board considered that HZJL’s current equity holders would receive a significant amount of PubCo Ordinary Shares in the proposed Business Combination, and that key shareholders and executives of HZJL are rolling over their existing equity interests into equity interests in PubCo. |
| ● | Likelihood of closing the business combination. The Board believes the transaction has a reasonable likelihood of closing without issues under applicable antitrust and competition laws or regulatory challenges. |
Specifically, the Board also considered certain of HZJL’s business related factors discussed below as supporting its decision to enter into the Merger Agreement and the related agreements and the transactions contemplated thereby:
| ● | Comprehensive and scalable business model. The Board noted HZJL’s ability to offer local lifestyle businesses a one-stop platform, combining branding, digital solutions, and supply of food products. This integrated model appeared both scalable and adaptable to a broad range of local merchants, presenting diverse revenue streams and sustainable growth potential. | |
| ● | Rapidly growing market opportunity. The Board assessed China’s expanding local services industry characterized by rising consumer demand, evolving digital preferences, and increased adoption of new media channels, and believed that HZJL is well-positioned to capture significant market share as the sector matures. | |
| ● | Strong operational track record. The Board reviewed HZJL’s historical performance, including its revenue growth, stable operating income, and the company’s resilience over the past two fiscal years. The Board believed these indicators of HZJL’s financial stability to be consistent with the profile of a company ready for public-market integration. |
| 124 |
| ● | Robust client base and geographic reach. With operations spanning a vast provincial-level administrative regions, HZJL demonstrated an extensive presence across diverse local markets. The Board viewed HZJL’s ability to serve a big merchants pool as validation of its operational depth and strong customer engagement strategy. | |
| ● | Synergy with SPAC’s investment thesis. HZJL’s focus on innovative branding, digital transformation, and supply chain optimization was aligned with RDAC’s investment priorities. The Board concluded that merging with HZJL would provide an opportunity to capitalize on technological advancements and rapidly shifting consumer trends in the local lifestyle sector. | |
| ● | High-impact management team. The Board recognized HZJL’s leadership for its proven expertise and industry knowledge. The founders’ track record in branding, digital marketing, and supply chain management combined with a skilled operational team which enhanced the Board’s confidence in HZJL’s capacity to execute its strategic growth plans post-merger. |
The Rising Dragon Board also considered various uncertainties, risks and other potentially negative reasons associated with the Business Combination, including but not limited to:
| ● | Business risk: The potential that HZJL’s future financial performance may not meet expectations due to factors both within and outside of HZJL’s control, such as failure to innovate, attract and retain customers, secure adequate capital, or maintain a competitive edge in business of local life services solutions. |
| ● | Industry risk: The possibility that adverse regulatory changes could significantly impact the online branding service industry in which HZJL operates. |
| ● | Completion risk: The potential for the Business Combination not to occur, which could divert management’s focus and resources, potentially forcing Rising Dragon to liquidate the trust account. |
| ● | Redemption risk: The risk that public shareholders of Rising Dragon may exercise their redemption rights, reducing the amount of cash available in the trust account. |
| ● | Closing conditions: The fact that the closing of the Business Combination is conditioned on satisfying certain closing conditions, many of which are beyond Rising Dragon’s control. |
| ● | Post-closing corporate governance: The fact that post-Closing, Mr. Bin Xiong will control the voting power of all outstanding PubCo Class B Ordinary Shares. Given Mr. Xiong’s voting power over the PubCo Ordinary Shares as described in this paragraph, he will effectively be able to nominate, appoint, and remove the entirety of PubCo’s board of directors. Mr. Xiong will therefore have decisive influence over matters requiring shareholder approval by ordinary resolution and significant influence over matters requiring shareholder approval by special resolution, including significant corporate transactions, such as a merger or sale of PubCo or its assets. |
| ● | Litigation risk: The risk of potential litigation challenging the Business Combination. |
| ● | No Survival of Remedies for Breach of Representations, Warranties, or Covenants of HZJL: The Merger Agreement provides that Rising Dragon will not have any surviving remedies against Rising Dragon or its equity holders after the Closing to recover for losses as a result of any inaccuracies or breaches of the representations, warranties or covenants of HZJL set forth in the Merger Agreement. As a result, Rising Dragon shareholders could be adversely affected by, among other things, a decrease in the financial performance or worsening of financial condition of HZJL prior to the Closing, whether determined before or after the Closing, without any ability to recover for the amount of any damages. The Rising Dragon Board determined that this structure was appropriate and customary in light of the fact that several similar transactions include similar terms and the current equity holders of HZJL will be, collectively, the majority equity holders in PubCo and therefore would bear a majority of any such losses. |
| ● | Transaction Fees and Expenses Incurred by Rising Dragon: The substantial transaction fees and expenses to be incurred in connection with the Business Combination and the negative impact of such expenses on Rising Dragon’s cash reserves and operating results if the Business Combination is not completed. |
| 125 |
| ● | Negative Impact Resulting from the Announcement of the Business Combination: The possible negative effect of the Business Combination and public announcement of the Business Combination of Rising Dragon’s financial performance, operating results, and share price. |
| ● | Other Risks: Other factors that the Rising Dragon Board deemed relevant, including various other risks associated with the Business Combination, Rising Dragon’s business, and HZJL’s business as described under “Risk Factors.” |
While the Rising Dragon Board considered potentially positive and potentially negative factors, the Board concluded that, overall, the potentially positive factors outweighed the potentially negative factors. The foregoing discussion is not intended to be an exhaustive list of the information and factors considered by the Board in its consideration of the Business Combination but includes the material positive factors and material negative factors considered by the Board in that regard. Based on the totality of the information presented, the Board collectively reached the decision to reach the determinations described above in light of the foregoing factors and other factors that the members of the Board felt were appropriate.
Summary of HZJL Financial Analysis
Certain HZJL Projected Financial Information
To assess HZJL’s financial condition and whether to proceed with the Business Combination, Rising Dragon received various documents from HZJL, including financial projections for the years ending June 30, 2025, through June 30, 2029 (the “HZJL Management Projections”), copies of material contracts, and summaries of various industry analysis and trends. The Rising Dragon Board reviewed and discussed with its financial advisor, CHFT, regarding the latter’s analysis in rendering the fairness opinion described in the proxy statement/prospectus. In rendering its opinion on the fairness of the transaction, CHFT reviewed the HZJL Management Projections provided by HZJL.
Neither Rising Dragon nor HZJL as a matter of course discloses public projections as to future sales, earnings, or other results. However, HZJL management specifically prepared the HZJL Management Projections to assist the Rising Dragon Board in its consideration of the proposed Business Combination. The HZJL Management Projections were initially provided to Rising Dragon on or about November 15, 2024, and finalized on or about January 20, 2025.
HZJL management prepared such financial information based on their judgment and assumptions regarding the future financial performance of HZJL. Rising Dragon is including the following summary of certain HZJL internal, unaudited prospective financial information from HZJL Management Projections solely because that information was made available to Rising Dragon Board and financial advisor in connection with the evaluation of the Business Combination. The HZJL Management Projections are being provided for information purposes only and are not and should not be viewed as public guidance regarding the future performance of HZJL. The inclusion of the below information should not be regarded as an indication that Rising Dragon or any other recipient of this information considered — or now considers — it to be necessarily predictive of actual future results. Furthermore, no HZJL Management Projections take into account any circumstances or events occurring after the date they were prepared. You should review the financial statements of HZJL included in this proxy statement/prospectus, as well as the financial information in this proxy statement/prospectus and not rely on any single financial measure.
There undoubtedly will be differences between actual and projected results, and the differences may be material. The risk that these uncertainties and contingencies could cause the assumptions to fail to be reflective of actual results is further increased by the length of time over which these assumptions apply. The failure to achieve assumptions and projections in early periods could have a compounding effect on the projections shown for the later periods. Thus, any such failure of an assumption or projection to be reflective of actual results in an early period could have a greater effect on the projected results failing to be reflective of actual events in later periods.
| 126 |
While presented in this proxy statement/prospectus with numeric specificity, the HZJL Management Projections are forward-looking statements that are inherently subject to significant uncertainties, reflect estimates and assumptions with respect to general business, economic, industry, regulatory, market and financial conditions and trends and other future events, as well as matters specific to HZJL’s business, all of which are difficult to predict and many of which are beyond HZJL’s control. The various risks and uncertainties include risks set forth in the sections entitled “Risk Factors,” “HZJL Management’s Discussion and Analysis of Financial Condition and Results of Operations” and “Cautionary Note Regarding Forward-Looking Statements.” As a result, there can be no assurance that the projected results will be realized or that actual results will not be significantly higher or lower than projected. These HZJL Management Projections are subjective in many respects and thus are susceptible to multiple interpretations and periodic revisions based on actual experience and business developments. HZJL believes the assumptions in the prospective financial information were reasonable at the time the financial information was prepared, given the information HZJL had at the time. However, key factors that may affect actual results and cause the results reflected in the prospective financial information not to be achieved include, among other things, risks and uncertainties relating to HZJL’s business, industry performance, the regulatory environment, and general business and economic conditions.
The HZJL Management Projections were not prepared with a view towards public disclosure or compliance with the published guidelines of the SEC or the guidelines established by the American Institute of Certified Public Accountants for preparation and presentation of prospective financial information. The HZJL Management Projections were prepared solely for internal use, and capital budgeting and other management purposes, and are subjective in many respects and therefore susceptible to varying interpretations and the need for periodic revision based on actual experience and business developments, and were not intended for third-party use, including by investors or equity or debt holders. The HZJL Management Projections are being provided here solely to disclose information that was provided to Rising Dragon in the course of its evaluation of HZJL. In the view of HZJL’s management, the prospective financial information was prepared on a reasonable basis, reflected the best available estimates and judgments at the time, and presented, to the best of management’s knowledge and belief at the time, the expected course of action and the expected future financial performance of HZJL. However, projections are inherently uncertain and accordingly, actual results may differ materially from the projections.
The HZJL Management Projections were requested by, and disclosed to, Rising Dragon for use as a component in its overall evaluation of HZJL. The Rising Dragon Board considered and relied upon the HZJL Management Projections in determining the valuation for HZJL in the Business Combination. Neither HZJL’s management nor any of its representatives has made or makes any representation to any person regarding the ultimate performance of HZJL compared to the information contained in the HZJL Management Projections, and none of them intends to or undertakes any obligation to update or otherwise revise the HZJL Management Projections to reflect circumstances existing after the HZJL Management Projections were finalized to reflect the occurrence of future events in the event that any or all of the assumptions underlying the HZJL Management Projections are shown to be in error. Accordingly, they should not be looked upon as “guidance” of any sort. HZJL will not refer to these projections in its future periodic reports filed under the Exchange Act. The financial projections are included in this proxy statement/prospectus solely for informational purposes and not to induce any Rising Dragon shareholders to vote in favor of any of the proposals at the Meeting.
Further, the inclusion of financial projections in this proxy statement/prospectus should not be regarded as an indication that Rising Dragon, HZJL, their respective boards of directors, or their respective affiliates, advisors or other representatives considered, or now consider, such financial projections necessarily to be predictive of actual future results or to support or fail to support your decision whether to vote for or against the Business Combination Proposal. You are cautioned that the projections solely represent HZJL’s best efforts in predicting future operating results and must be considered in that light. As a result, in deciding regarding the Business Combination, please understand that the projections may be materially different than actual results. Rising Dragon does not intend to reference these financial projections in its future periodic reports filed with the SEC under the Exchange Act.
Neither HZJL’s independent auditors, nor any other independent accountants, have compiled, examined or performed any procedures with respect to the prospective financial information contained herein, nor have they expressed any opinion or any other form of assurance on such information or its achievability, and assume no responsibility for, and disclaim any association with, the prospective financial information. The audit reports included in this proxy statement/prospectus relate to historical financial information. They do not extend to the prospective financial information and should not be read to do so.
| 127 |
EXCEPT AS REQUIRED BY APPLICABLE SECURITIES LAWS, HZJL DOES NOT INTEND TO MAKE PUBLICLY AVAILABLE ANY UPDATE OR OTHER REVISION TO THE HZJL MANAGEMENT PROJECTIONS. THE HZJL MANAGEMENT PROJECTIONS DO NOT TAKE INTO ACCOUNT ANY CIRCUMSTANCES OR EVENTS OCCURRING AFTER THE DATE THAT INFORMATION WAS PREPARED. NONE OF HZJL, RISING DRAGON OR ANY OF THEIR RESPECTIVE AFFILIATES, OFFICERS, DIRECTORS, ADVISORS OR OTHER REPRESENTATIVES HAS MADE OR MAKES ANY REPRESENTATION TO ANY HZJL SHAREHOLDER, RISING DRAGON SHAREHOLDER OR ANY OTHER PERSON REGARDING ULTIMATE PERFORMANCE COMPARED TO THE INFORMATION CONTAINED IN THE HZJL MANAGEMENT PROJECTIONS OR THAT FINANCIAL AND OPERATING RESULTS WILL BE ACHIEVED. PUBCO DOES NOT INTEND TO REFERENCE THE HZJL MANAGEMENT PROJECTIONS IN ITS FUTURE PERIODIC REPORTS FILED UNDER THE EXCHANGE ACT.
HZJL Management Projections
The HZJL Management Projections are unaudited, based upon estimated results of HZJL management and do not include the impact of the accounting for the Business Combination or other impacts from the consummation of the Business Combination. HZJL has affirmed to Rising Dragon that its projections reflect the view of the HZJL’s management about its future performance as of the most recent practicable date prior to the date of the disclosure document required to be disseminated to security holders. The key elements of the Financial Projections are summarized below:
| For the years ended June 30, | ||||||||||||||||||||
| ($ in millions) | 2025E | 2026E | 2027E | 2028E | 2029E | |||||||||||||||
| Total Revenue | 50.0 | 120.3 | 244.6 | 439.7 | 670.4 | |||||||||||||||
| Year-on-Year Growth % | 296.3 | % | 140.5 | % | 103.4 | % | 79.8 | % | 52.5 | % | ||||||||||
| Gross Profit | 10.2 | 29.8 | 65.3 | 128.8 | 199.0 | |||||||||||||||
| Gross Margin % | 20.4 | % | 24.8 | % | 26.7 | % | 29.3 | % | 29.7 | % | ||||||||||
| EBIT | 1.2 | 11.8 | 29.5 | 61.6 | 96.0 | |||||||||||||||
| EBIT Margin % | 2.3 | % | 9.8 | % | 12.1 | % | 14.0 | % | 14.3 | % | ||||||||||
| Pretax Income | 1.07 | 11.5 | 29.0 | 60.6 | 94.5 | |||||||||||||||
| Income Tax | -0.04 | -2.0 | -4.3 | -9.3 | -14.5 | |||||||||||||||
| Net Profit | 1.03 | 9.5 | 24.7 | 51.3 | 80.0 | |||||||||||||||
| Net Profit Margin % | 2.1 | % | 7.9 | % | 10.1 | % | 11.7 | % | 11.9 | % | ||||||||||
The Financial Projections was prepared using several assumptions, including the following assumptions that HZJL’s management believed to be material:
| 1. | Supply of Food Products Business |
| ● | Revenues are projected to increase from $12.5 million in 2025 (with each fiscal year ending on June 30) to $88.7 million in 2029 (“Forecast Period”). | |
| ● | The revenue estimates comprise two primary components: revenue from store sales, which is expected to grow from $4.1 million in 2025 to $21.9 million in 2029, and revenue from key account sales, anticipated to increase from $8.4 million in 2025 to $66.8 million in 2029. | |
| ● | Store sales revenue is derived by multiplying the number of stores by the average sales per store. It is assumed that the number of stores will grow from 200 in 2025 to 800 by 2029. This growth in the number of stores and key accounts during the Forecast Period is primarily driven by the expansion of HZJL’s customer base and the synergistic growth generated by other business segments, such as the Online Software Services and Corporate Client Franchise under the Branding Services Business. | |
| Future growth in food product revenues driven by synergies from Online Software Services and Branding Services Businesses, such synergies typically involve a time lag. Many newly acquired clients from these segments require longer lead times before beginning regular food product procurement. As a result, the increase in branding and software service revenues had not yet translated into a corresponding increase in food product sales during the reporting period for the six months ended December 31,2024, but HZJL Management expect this effect to become more visible in future periods. | ||
| ● | Key account sales revenue is determined by multiplying the number of key accounts by the average sales per key account. It is assumed that the number of key accounts will increase from 12 in 2025 to 75 in 2029. | |
| ● | The average sales per store and per key account are based on historical performance figures after suitable adjustments. |
| 2. | Online Software Services Business |
| ● | Revenues are forecast to grow from $13.5 million in 2025 to $294.3 million in 2029. | |
| ● | The forecast includes income derived from agency fees, which are projected to grow from $4.3 million in 2025 to $48.7 million in 2029, as well as software sales or subscription revenues, expected to grow from $9.2 million in 2025 to $245.6 million in 2029. | |
| ● | Agency fee income is calculated based on the number of agents or distribution channels and the average annual agency fee per agent. It is assumed that the number of agents will increase from 580 in 2025 to 4,743 by 2029, with the average fee derived from historical data after suitable adjustments. As of December 31, 2024, HZJL had established the user base for its online software service business, supported by a distribution network of over 500 dealers (or agents) across China. HZJL’s management believes that expanding this network to 580 agents in 2025 is not unachievable. | |
| ● | Software income is estimated by multiplying the average annual revenue per software license by the number of merchants. The number of merchants is, in turn, determined by the number of agents and the average number of merchants each agent develops. |
| 128 |
| 3. | Branding Services Business |
| ● | Revenues are expected to grow from $24.0 million in 2025 to $287.3 million in 2029. | |
| ● | The revenue forecast for this segment comprises: |
a. Marketing Agency Service Income:
| ■ | Derived from the provision of advertising agency services to merchants. Revenue is projected to increase from $3.9 million in 2025 to $239.4 million in 2029. |
| ■ | Calculated by estimating the number of promotional units based on the anticipated number of merchants engaged in advertising, multiplied by the average unit price per promotion. |
| ■ | It is assumed that the volume of promotional units will expand from 260,000 in 2025 to approximately 11.65 million by 2029, with the average unit price adjusted based on historical pricing and an appropriate growth rate. | |
| The number of promotional or advertising units is primarily determined by the number of merchants served and the average number of promotions per merchant. Growth in promotional units is driven mainly by the increase in merchants served - from 23 in 2025 to 850 in 2029 - benefiting from the synergies of HZJL’s holistic, integrated business model (e.g., supply-segment merchants, SaaS users, and Corporate Client Franchise clients all potentially using HZJL’s marketing agency service). HZJL plans to expand into high-growth, second- and third-tier markets as well as international markets, where demand for branding and digital tools is rising. |
b. Business TV Program Income:
| ■ | Estimated based on the number of television programs produced and aired annually, the number of clients per program, and the average client fee. Revenue is projected to remain stable at approximately $5.3 million during the period from 2025 to 2029. |
| ■ | It is assumed that 48 episodes will be aired each year, with each episode involving 4 clients, a figure that is expected to remain stable over the forecast period. |
c. Corporate Client Franchise Income:
| ■ | Generated through HZJL’s assistance in recruiting franchisees for corporate clients, with fees earned on a commission basis. Revenue is projected to grow from $14.8 million in 2025 to $42.6 million in 2029. |
| ■ | This income is calculated by multiplying the number of corporate clients served by the number of franchisees each client recruits, the average franchise fee, and the applicable commission rate. |
| ■ | It is assumed that the number of corporate clients will grow from 10 per annum in 2025 to 15 per annum by 2029, and that the average number of franchisees recruited per corporate client will increase from 200 in 2025 to 380 by 2029. |
| 4. | HZJL will be able to retain key executives and attract, retain and motivate qualified personnel to maintain and grow its business. | |
| 5. | HZJL will continually execute its business growth strategy, including but not limited to expanding market coverage and customer base, enhancing digital and AI-driven solutions, strengthening supply chain and product offerings, scaling branding and marketing services, and exploring international expansion opportunities. | |
| 6. | HZJL will continue to develop and maintain cordial relationships with its existing supply chain partners, distribution channels, and KOLs. | |
| 7. | HZJL will be able to generate adequate cash inflows from its operating activities or maintain adequate external financing to support its operations. | |
| 8. | Future legislative or regulatory changes would not have a material adverse effect on HZJL’s business, results of operations, and financial condition. |
These assumptions and estimates depend on several critical factors and contingencies, including but not limited to:
| ● | Operational Execution: The achievement of projected revenues is contingent upon HZJL’s successful execution of expansion strategies—such as increasing the number of stores, agents, and corporate clients—and the effective management of operational risks. Delays or inefficiencies in execution could lead to material deviations from HZJL’s forecasts. | |
| ● | Competitive Landscape: The Financial Projections assume that the competitive environment will remain relatively stable. Changes in the competitive dynamics or the entry of new market players could affect pricing, market share, and overall profitability. |
| 129 |
| ● | Technological Advancements: Particularly for HZJL’s Online Software Services Business, maintaining a competitive edge is dependent on continuous technological innovation and integration. The failure to adapt to evolving technological trends or to implement necessary upgrades could materially affect HZJL’s revenue projections. | |
| ● | Market and Economic Conditions: The forecasts assume a stable macroeconomic environment that supports growth in consumer demand and business investment. Significant adverse shifts in economic conditions or market sentiment may materially affect the underlying assumptions. |
Material Effects of the Business Combination
The following material benefits and detriments from the Business Combination are expected to affect (i) Rising Dragon and its affiliates, (ii) the Sponsor and its affiliates, (iii) HZJL and its affiliates, and (iv) the unaffiliated security holders. This information is provided pursuant to Item 1605(c) of Regulation S-K, as promulgated under the Securities Act.
Benefits and Detriments of the Business Combination to Rising Dragon
Rising Dragon and its affiliates. For Rising Dragon, the Business Combination represents the opportunity to complete the purpose for which it was formed. The only potential detriment to Rising Dragon of the Business Combination is the opportunity cost-that by consummating the Business Combination, Rising Dragon is foregoing the opportunity to consummate a business combination transaction with another entity that theoretically could be of greater value to Rising Dragon than HZJL. However, Rising Dragon’s board considered the benefits of the transaction with HZJL and determined such transaction was the best transaction available to it at such time.
Sponsor and their affiliates. For the Sponsor, the principal material benefit represented by the Business Combination is that unless the Business Combination (or another initial business combination transaction) is consummated by Rising Dragon prior to the completion window, the Sponsor will lose their entire $2,568,750 investment in Rising Dragon, which such investment is described in greater detail in the section of this proxy statement/prospectus entitled “Proposal No. 2. - The Acquisition Merger Proposal - Interests of Certain Persons in the Business Combination” and “Summary of the Proxy Statement/Prospectus - Conflicts of Interest.” The detriment is that Rising Dragon could potentially have found a target that may have a more optimal risk/return profile than HZJL. In this case, Rising Dragon, its shareholders and affiliates would stand to benefit more than in the business combination with HZJL.
Unaffiliated security holders. For the public shareholders of Rising Dragon, the Business Combination represents the opportunity to share in the growth of a company such as HZJL that was chosen by the management of Rising Dragon as an acquisition target in an initial business combination (which was Rising Dragon’s original purpose). If the market was to recognize the valuation and potential of HZJL, the stock price may be expected to increase from the trust level of approximately $10.44 per share which will benefit the shareholders. For non-redeeming shareholders the risk is that the market will not support the valuation of HZJL either as a result of the general market downturn or risks specific to HZJL. In this case, the stock price may be reasonably expected to trade below the trust value of approximately $10.44. If this scenario were to materialize, the public shareholders would have been better off redeeming rather than holding the stock post Business Combination.
Benefits and Detriments of the Business Combination to HZJL
Benefits of the Business Combination to HZJL
The Business Combination will provide HZJL with increased access to capital markets. By becoming a publicly traded company on Nasdaq, PubCo is expected to gain access to a broader range of capital-raising opportunities, which will enhance its ability to fund growth initiatives. Additionally, the proceeds from the Business Combination, if available, are expected to be used to support PubCo’s business operations and growth strategies. These include signing and retaining new clients, completing ongoing refueling station projects, further investing in technology research and development, and funding general corporate purposes.
The Business Combination is also expected to enhance HZJL’s market visibility. Being publicly listed on Nasdaq may raise its profile, improve market perception and credibility and help attract new clients and business partners. Furthermore, the public listing could create opportunities for long-term value appreciation for HZJL’s initial shareholders, as the market may assign a higher valuation to PubCo due to its Nasdaq listing and growth prospects.
Detriments and Challenges of the Business Combination to HZJL
Despite these benefits, PubCo is expected to face higher operating costs because of becoming a publicly listed company. As an SEC-registered and NASDAQ-listed company, PubCo will incur significantly higher expenses associated with hiring additional personnel, increased audit, legal, and administrative costs, and compliance with public company regulatory requirements. These increased expenses could reduce profitability, particularly in the short term.
The transition to a public company will also add complexity to HZJL’s operations. PubCo will need to establish new processes and internal controls to meet its reporting obligations, which could divert management’s attention from core business activities. Additionally, the need for substantial capital and operating expenditures will increase. PubCo will have to invest heavily in marketing, infrastructure, technology, and human resources to support and grow its operations.
Financial Implications
Upon consummation of the Business Combination, the most significant change in PubCo’s future reported financial position and results is expected to be changes in cash. The pro forma cash balance as of June 30, 2024, assuming no redemption of stockholders, was approximately $54.86 million, while the pro forma cash balance as of June 30, 2024, assuming redemption of maximum stockholder redemptions permitted under the Business Combination, was approximately $0. See “Unaudited Pro Forma Condensed Combined Financial Information”. These changes are expected to affect PubCo’s ability to execute its growth strategy and manage its financial obligations effectively.
Required Vote
Approval of the Acquisition Merger Proposal requires the affirmative vote of the holders of a majority of the RDAC Ordinary Shares as of the record date present in person by virtual attendance or represented by proxy at the Extraordinary General Meeting and entitled to vote thereon. Adoption of the Acquisition Merger Proposal is conditioned upon the adoption of the Reincorporation Merger Proposal and the Nasdaq Proposal. It is important for you to note that in the event that none of the Reincorporation Merger Proposal, the Acquisition Merger Proposal and the Nasdaq Proposal is not approved, then Rising Dragon will not consummate the Business Combination.
Recommendation of Rising Dragon Board of Directors
After careful consideration, Rising Dragon board of directors determined that the Acquisition Merger forming part of the Business Combination with HZJL is advisable, fair to and in the best interests of Rising Dragon and its shareholders. On the basis of the foregoing, Rising Dragon board of directors has approved and declared advisable the Business Combination with HZJL and recommends that you vote or give instructions to vote “FOR” the Acquisition Merger Proposal. Rising Dragon’s directors have interests that may be different from, or in addition to your interests as a shareholder. See the section titled “The Acquisition Merger Proposal — Interests of Certain Persons in the Business Combination” in this proxy statement/prospectus for further information.
| 130 |
PROPOSAL NO. 3
THE NASDAQ PROPOSAL
Overview
We are proposing the Nasdaq Proposal in order to comply with Nasdaq Listing Rules 5635(a) and (b). Under Nasdaq Listing Rule 5635(a), shareholder approval is required prior to the issuance of securities in connection with the acquisition of another company if such securities are not issued in a public offering and (A) have, or will have upon issuance, voting power equal to or in excess of 20% of the voting power outstanding before the issuance of ordinary shares (or securities convertible into or exercisable for ordinary shares); or (B) the number of ordinary shares to be issued is or will be equal to or in excess of 20% of the number of ordinary shares outstanding before the issuance of the shares or securities. Under Nasdaq Listing Rule 5635(b), shareholder approval is required prior to the issuance of securities when the issuance or potential issuance will result in a change of control.
Pursuant to the Merger Agreement, we will issue to the HZJL shareholders as consideration in the Business Combination 35,000,000 PubCo Ordinary Shares. See the section entitled “Proposal No. 2 — The Acquisition Merger Proposal.” Because the number of PubCo Ordinary Shares we anticipate issuing as consideration in the Business Combination (i) will constitute more than 20% of our outstanding ordinary shares and more than 20% of outstanding voting power prior to such issuance, and (ii) will result in a change of control of Rising Dragon, we are required to obtain shareholder approval of such issuance pursuant to Nasdaq Listing Rules 5635(a) and (b).
Effect of Proposal on Current Shareholders
If the Nasdaq Proposal is adopted, Rising Dragon would issue shares representing more than 20% of outstanding ordinary shares in connection with the Business Combination. The issuance of such shares would result in significant dilution to the Rising Dragon shareholders and would afford such shareholders a smaller percentage interest in the voting power, liquidation value and aggregate book value of Rising Dragon. If the Nasdaq Proposal is adopted, assuming that 35,000,000 PubCo Ordinary Shares are issued to the shareholders of HZJL as consideration in the Business Combination, we anticipate that the shareholders of HZJL will hold 78.04% of our issued and outstanding ordinary shares, and the current Rising Dragon shareholders will hold 3.84% of our issued and outstanding ordinary shares immediately following completion of the Business Combination. This percentage assumes that no Rising Dragon ordinary shares are redeemed in connection with the Business Combination, and does not take into account any warrants or options to purchase our ordinary shares that will be outstanding following the Business Combination.
If the Nasdaq Proposal is not approved and we consummate the Business Combination on its current terms, Rising Dragon would be in violation of Nasdaq Listing Rule 5635(a) and (b), which could result in the delisting of our securities from the Nasdaq Capital Market. If Nasdaq delists our securities from trading on its exchange, we could face significant material adverse consequences, including:
| ● | a limited availability of market quotations for our securities; | |
| ● | reduced liquidity with respect to our securities; | |
| ● | a determination that our shares are a “penny stock,” which will require brokers trading in our securities to adhere to more stringent rules, possibly resulting in a reduced level of trading activity in the secondary trading market for our securities; | |
| ● | a limited amount of news and analyst coverage for the post-transaction company; and | |
| ● | a decreased ability to issue additional securities or obtain additional financing in the future. |
It is a condition to the obligations of Rising Dragon and HZJL to close the Business Combination that our ordinary shares remain listed on the Nasdaq Capital Market. As a result, if the Nasdaq Proposal is not adopted, the Business Combination may not be completed unless this condition is waived.
| 131 |
Required Vote
This Proposal No. 3 will be approved and adopted only if holders of at least a majority of the issued and outstanding shares present in person by virtual attendance or represented by proxy and entitled to vote at the Meeting vote “FOR” the Nasdaq Proposal.
This Proposal is conditioned on the approval of the Reincorporation Merger Proposal and Acquisition Merger Proposal. If the Reincorporation Merger Proposal and the Acquisition Merger Proposal are not approved, Proposal No. 3 will have no effect even if approved by our shareholders. Because shareholder approval of this Proposal No. 3 is a condition to completion of the Business Combination under the Merger Agreement, if this Proposal No. 3 is not approved by our shareholders, the Business Combination will not occur unless we and HZJL waive the applicable closing condition.
Recommendation of Rising Dragon Board of Directors
The Rising Dragon board of directors recommends a vote “FOR” adoption of the Nasdaq Proposal.
| 132 |
PROPOSAL NO. 4
THE PUBCO CHARTER PROPOSAL
We are asking our shareholders to vote upon, on a non-binding advisory basis, a proposal to approve certain governance provisions contained in the Proposed PubCo Charter, which will be adopted by PubCo upon the effective time of the Reincorporation Merger. The PubCo Charter Proposal is being presented in accordance with SEC guidance and will be voted upon on an advisory basis. The vote on the PubCo Charter Proposal not binding. The PubCo Charter Proposal, if approved, will approve the following material differences between the Existing Charter and the Proposed PubCo Charter to be in effect following the Business Combination:
| ● | the name of the new public entity will be “Xpand Boom Technology Inc.” as opposed to “Rising Dragon Acquisition Corp.”; |
| ● | the Existing Charter provides that the authorized share capital consists of $5,550 divided into 55,000,000 ordinary shares of a par value of $0.0001 each and 500,000 preference shares of a par value of $0.0001 each. The Proposed PubCo Charter will authorize share capital of US$50,000 divided into 500,000,000 ordinary shares of a par value of US$0.0001 each, comprising (a) 400,000,000 PubCo Class A Ordinary Shares of a par value of US$0.0001 each and (b) 100,000,000 PubCo Class B Ordinary Shares of a par value of $0.0001 each. Each PubCo Class A Ordinary Share is entitled to one vote and each PubCo Class B Ordinary Share is entitled to ten (10) votes. Each PubCo Class B Ordinary Share is convertible into one PubCo Class A Ordinary Share at any time by the holder thereof. PubCo Class A Ordinary Shares are not convertible into PubCo Class B Ordinary Shares under any circumstances. Only PubCo Class A Ordinary Shares are tradable on the market immediately after the Business Combination.; |
| ● | PubCo’s corporate existence is perpetual as opposed to RDAC’s corporate existence terminating pursuant to a voluntary liquidation procedure if a business combination is not consummated within a specified period of time; and |
| ● | the Proposed PubCo Charter does not include the various provisions applicable only to special purpose acquisition corporations that the Existing Charter contains. |
In the judgment of RDAC’s board of directors, the PubCo Charter Proposal is desirable for the following reasons:
| ● | The name of the new public entity is desirable to reflect the Business Combination with HZJL and the combined business going forward. | |
| ● | The authorized increased share capital is in compliance with the Cayman Islands laws and desirable for PubCo to have adequate authorized capital to facilitate the transactions contemplated by the Business Combination, to provide support for PubCo’s growth and to provide flexibility for future corporate needs (including, if needed, as part of financing for future growth acquisitions); and | |
| ● | the provisions that relate to the operation of RDAC as a blank check company prior to the consummation of its initial business combination would not be applicable after the Business Combination (such as the obligation to dissolve and liquidate if a business combination is not consummated in a certain period of time). |
For a comparison of the Existing Charter and the Proposed PubCo Charter, see “Comparison of Shareholders’ Rights.”
The approval of the PubCo Charter Proposal is a condition to the adoption of the Reincorporation Merger Proposal and vice versa. Accordingly, if the Reincorporation Merger Proposal is not approved, the PubCo Charter Proposal will not be presented at the Extraordinary General Meeting.
A copy of the Proposed PubCo Charter, as will be in effect assuming approval of the PubCo Charter Proposal and upon consummation of the Transactions, is attached to this proxy statement/prospectus as Annex B.
| 133 |
Required Vote
The approval of the PubCo Charter Proposal will require a special resolution under Cayman Islands law, being the affirmative vote of the holders of no less than two-thirds of the ordinary shares who, being present and entitled to vote at the extraordinary general meeting, vote at the extraordinary general meeting. Abstentions and broker non-votes, while considered present for the purposes of establishing a quorum, will not count as a vote cast at the general meeting.
Recommendation of Rising Dragon Board of Directors
The Rising Dragon board of directors recommends a vote “FOR” adoption of the PubCo Charter Proposal.
| 134 |
PROPOSAL NO. 5:
THE DIRECTOR APPROVAL PROPOSAL
Summary of the Proposal
In connection with the Business Combination, Rising Dragon and HZJL have agreed that PubCo shall approve the number of members of the Board of Directors of PubCo to be five (5), three (3) of whom shall be independent directors under the Securities Act and the Nasdaq rules.
The Board is proposing the approval of the following five (5) individuals, each effective from the consummation of the Business Combination and who will constitute all the members of the board of directors of the PubCo: Mr. Bin Xiong, Mr. Wei Lin Yu, Mr. Jun Gang Wang, Mr. Jun Chen Sun and Ms. Ye Liu. Each of Mr. Jun Gang Wang, Mr. Jun Chen Sun and Ms. Ye Liu is expected to qualify as an independent director under the Securities Act and the Nasdaq rules.
The nominees have consented to being named herein and have indicated their intention to serve as directors, if approved. The Board has no reason to believe that the nominees would be unable or unwilling to serve if approved.
Biographical information for the nominees is provided below in the section entitled “PubCo’s Directors and Executive Officers after the Business Combination.”
Required Vote
The approval of the Director Approval Proposal will require an ordinary resolution under Cayman Islands law, being the affirmative vote of the holders of a majority of the ordinary shares who, being present and entitled to vote at the extraordinary general meeting, vote at the extraordinary general meeting. Abstentions and broker non-votes, while considered present for the purposes of establishing a quorum, will not count as a vote cast at the general meeting. Adoption of the Director Approval Proposal is conditioned upon the adoption of the Reincorporation Merger Proposal the Acquisition Merger Proposal.
The Initial Shareholders have agreed to vote any RDAC Ordinary Shares owned by them in favor of the Director Approval Proposal.
Recommendation of Rising Dragon Board of Directors
The Board recommends a vote “FOR” adoption of the Director Approval Proposal.
The existence of financial and personal interests of one or more of RDAC’s directors may result in a conflict of interest on the part of such director(s) between what he, she or they may believe is advisable, fair to and in the best interests of RDAC and its shareholders and what he, she or they may believe is best for himself, herself or themselves in determining to recommend that shareholders vote for the Proposals. In addition, RDAC’s directors and officers have interests in the Business Combination that may conflict with or be in addition to your interests as a shareholder. See “The Business Combination — Interests of Certain Persons in the Business Combination” in this proxy statement/prospectus for further information.
| 135 |
PROPOSAL NO. 6
THE ADJOURNMENT PROPOSAL
The Adjournment Proposal, if adopted, will approve the chairman’s adjournment of the Extraordinary General Meeting to a later date to permit further solicitation of proxies. The Adjournment Proposal will only be presented to our shareholders in the event, based on the tabulated votes, there are not sufficient votes received at the time of the Extraordinary General Meeting to approve the other Proposals.
Consequences if the Adjournment Proposal is Not Approved
If the Adjournment Proposal is not approved by our shareholders, the chairman will not adjourn the Extraordinary General Meeting to a later date in the event, based on the tabulated votes, there are not sufficient votes received at the time of the Extraordinary General Meeting to approve the Reincorporation Merger Proposal or the Acquisition Merger Proposal.
Required Vote
Approval of the Adjournment Proposal requires the affirmative vote of the holders of a majority of the RDAC Ordinary Shares as of the record date present in person by virtual attendance or represented by proxy at the Extraordinary General Meeting and entitled to thereon. Adoption of the Adjournment Proposal is not conditioned upon the adoption of any of the other Proposals.
Recommendation of Rising Dragon Board of Directors
The Rising Dragon board of directors recommends a vote “FOR” adoption of the Adjournment Proposal.
| 136 |
INDUSTRY OVERVIEW OF HZJL
China’s local life services sector is a fundamental pillar of its modern consumer economy, encompassing daily essential services such as food and beverage, transportation, healthcare, home services, retail, and entertainment. These services operate under an online-to-offline (“O2O”) business model, where digital platforms facilitate the interaction between consumers and businesses, driving seamless transactions, improved service accessibility, and enhanced consumer experiences.
The rapid digitization of services has transformed consumer habits, leading to a proliferation of app-based service ecosystems. Super-platforms such as Meituan, Ele.me, Didi Chuxing, JD Daojia, and Xiaohongshu have become the backbone of this industry, serving hundreds of millions of users daily. The integration of artificial intelligence (AI), digital payments, and real-time data analytics has further accelerated the industry’s growth through the provision of more efficient and personalized services.
The local life services sector is a key driver of China’s transition from an export-led economy to a consumption-driven one, with the services industries contributing over 56% of China’s GDP in 20241. As disposable income rises and consumer expectations evolve, businesses are increasingly focusing on technology-driven solutions, hyper-personalized experiences, and localized service offerings to meet the demands of a diverse and dynamic customer base.
Economic and Employment Impact
The sector is not only a critical driver of economic growth but also a major employment generator. Many small and medium-sized enterprises (SMEs) rely on local service platforms to digitize operations, expand customer reach, and streamline service delivery.
Furthermore, as the Chinese government emphasizes domestic consumption and digital transformation, the local life services sector is expected to see sustained long-term growth, with new opportunities emerging in lower-tier cities, healthcare services, and AI-driven automation.
Key Growth Drivers
Urbanization & Expanding Middle Class
Over 65% of China’s population now resides in urban areas, fueling demand for convenience-oriented lifestyle services2. The middle class is expected to grow, increasing spending on premium and personalized services.
Digital Infrastructure & AI Integration
By June 2024, the number of mobile Internet users in China had reached 1.096 billion3. The near-universal adoption of WeChat Pay and Alipay drives seamless transactions. AI-driven recommendations and predictive analytics optimize service delivery and enhance customer engagement.
1 National Bureau of Statistics of China, Statistical Report on Economic and Social Development of China (Feb. 28, 2025), https://www.stats.gov.cn/sj/zxfb/202502/t20250228_1958817.html
2 Government of China, 2023 Report on the Work of the PRC Government (Mar. 15, 2023), https://english.www.gov.cn/news/topnews/202303/15/content_WS64110ba2c6d0f528699db479.html
3 China Internet Network Information Center, The 54th Statistical Report on China’s Internet Development (Aug., 2024), https://www.cnnic.com.cn/IDR/ReportDownloads/202411/P020241101318428715781.pdf
| 137 |
Post-Pandemic Consumer Behavior Shift
COVID-19 accelerated adoption of food delivery, grocery e-commerce, and telemedicine services. Consumers now expect contactless, instant, and personalized service experiences.
Government Policies Supporting Digital Consumption
The 14th Five-Year Plan (2021-2025) encourages digital service expansion, regulatory improvements, and SME digital transformation4.
Key Industry Segments
China’s local life services sector is composed of several industries that have undergone rapid transformation due to digital innovation, evolving consumer preferences, and heightened competition. These industries are reshaping how consumers access services, from ordering meals online to booking transportation and healthcare services through mobile platforms.
One of the most rapidly expanding segments is food and beverage services, which include food delivery, restaurant booking, and takeout services. The rise of super-app platforms such as Meituan and Ele.me has redefined the way people dine, with the food delivery industry reaching a total market size of RMB 1.6 trillion (USD 230 billion) in 20245. The industry has grown substantially as consumers, especially young professionals and urban dwellers, increasingly choose the convenience of app-based ordering over home-cooked meals. This shift has been accelerated by AI-powered services that recommend meals, offer dynamic pricing, and optimize delivery routes. As competition intensifies, these platforms are expanding into grocery and convenience store deliveries, further integrating their services into everyday consumer life.
Beyond food services, retail and local commerce have also seen rapid growth. With the rise of on-demand shopping, consumers are now able to purchase fresh produce, daily necessities, and personal care products via platforms such as JD Daojia, Hema (Freshippo), and Meituan Maicai, which offer one-hour delivery in major cities. Additionally, community group-buying models, spearheaded by Pinduoduo and Meituan Select, have gained traction in lower-tier cities, allowing consumers to pool purchases for bulk discounts.
Another critical growth area in the industry is healthcare and wellness services, which are being transformed by telemedicine, AI diagnostics, and pharmaceutical e-commerce. The online healthcare market in China is projected to expand steadily, reflecting the increasing demand for remote consultations, digital prescription services, and at-home medical deliveries. Platforms such as AliHealth, Ping An Good Doctor, and JD Health provide a range of services that allow consumers to consult doctors online, receive health reports through AI analysis, and have medications delivered within hours. The rise of digital healthcare is largely being driven by China’s rapidly aging population. This demographic shift is leading to new business models focusing on elderly care, AI-driven health monitoring, and smart medical wearables.
The home services sector, which includes housekeeping, home repairs, moving services, and beauty care, has also been significantly digitized. Previously, consumers relied on traditional word-of-mouth referrals to find service providers, but now, platforms such as 58 Daojia and Alibaba’s Jiajia enable users to book verified professionals for home maintenance, appliance repairs, and salon services with a single app. As dual-income families and busy professionals seek convenient solutions for household management, demand for on-demand home services is projected to grow.
4 Government of China, 14th Five-Year Plan for Economic and Social Development and Long-range Objectives Through the Year 2035 of the People’s Republic of China (Mar. 11, 2021), https://www.ndrc.gov.cn/xxgk/zcfb/ghwb/202103/P020210313315693279320.pdf
5 iiMedia Research, iiMedia Market Monitoring Report on China’s Local Life Service Industry from 2023 to 2024 (Apr. 7, 2023), https://www.iimedia.cn/c400/92616.html
| 138 |
Transportation and travel services are also a major component of the local life services market, with ride-hailing, bike-sharing, and digital travel booking services shaping urban mobility. Didi Chuxing dominates the ride-hailing market. Meanwhile, Meituan and HelloBike continue to expand their bike-sharing services, particularly in high-density urban areas. Online travel services such as Trip.com and Qunar facilitate millions of bookings annually, as Chinese consumers increasingly rely on digital tools to plan trips and purchase tickets.
In the entertainment and lifestyle sector, consumers can now book movie tickets, concert reservations, and recreational activities through digital platforms, driving the growth of integrated entertainment ecosystems. Platforms such as Maoyan, Damai, and Xiaohongshu have seen increased user engagement, with short-video apps like Douyin (TikTok China) leveraging AI to promote local businesses.
Future Outlook
Over the next decade, China’s local life services sector will be shaped by four major industry transformations: AI-driven automation, expansion into lower-tier cities, elderly-focused service models, and sustainability-driven innovation.
AI and automation will optimize service efficiency, improve cost management, and enhance customer experiences. AI-powered logistics, predictive order placement, and self-driving delivery vehicles will enable businesses to reduce operational expenses while improving service speed. Autonomous food deliveries, AI-driven chatbot assistance, and smart home service scheduling are expected to become standard features in the industry by 2030
As major cities become increasingly saturated, companies will expand into lower-tier cities where digital adoption is growing. The Chinese government’s investment in rural 5G infrastructure will accelerate O2O adoption in smaller markets
With China’s elderly population exceeding 400 million by 2050, demand for senior-friendly transportation, healthcare, and wellness services will skyrocket. Smart health monitoring wearables, AI-driven elderly care assistants, and ride-hailing services tailored for seniors will bring new business opportunities in the aging economy.
Finally, sustainability and environmental impact will be central to government policies regulating local service platforms. The adoption of green logistics, carbon-neutral delivery fleets, and AI-powered waste reduction systems will be crucial for long-term business growth.
| 139 |
BUSINESS OF HZJL
Unless otherwise indicated or the context otherwise requires, all references in this section to “HZJL,” “we,” “us,” “our,” “the company” and other similar terms refer to HZJL prior to the consummation of the business combination, which will be the business of PubCo and its consolidated subsidiaries after giving effect to the business combination.
Overview
HZJL is a comprehensive solutions provider dedicated to empowering local life services businesses such as restaurants, coffee shops, beauty salons, convenience stores, and massage centers through innovative social branding, digital software solutions, and supply procurement. The company provides an integrated, one-stop solution designed to enhance brand visibility, optimize operational efficiency, and enable scalable growth for business owners.
As a pioneer in the local life services sector, HZJL generates revenue through three primary business segments: (i) supply of food products, (ii) provision of branding services, and (iii) provision of online software services. With a mission to fuel sustainable business growth, HZJL integrates branding, software, and supply procurement to drive operational excellence, customer engagement, and supply chain efficiency. The company’s holistic approach is designed to solve critical pain points, enabling businesses to scale effectively and strengthen their market position.
The local services industry in China is experiencing rapid expansion, driven by evolving consumer preferences and a dynamic market landscape. This growth has introduced increasing complexity, with businesses focusing more on operational optimization and ecosystem development. First of all, data analytics and digital technologies enable service platforms to deliver more tailored and personalized customer experiences, thereby increasing demand for digital management and specialized software. In addition, new media platforms, especially short-form video and social media, have become critical marketing channels for local service businesses due to their broad customer reach and strong consumer adhesion. As a result, an increasing number of businesses are leveraging these platforms to enhance their brand presence and attract customers.
HZJL strategically addresses the challenges faced by early-stage and growing local service businesses in China. These businesses often struggle with weak brand recognition, inefficient operations and customer management, limited product selection, and underdeveloped supply chain capabilities. These challenges hinder their ability to scale effectively, reducing their competitiveness in the market. Leveraging its industry expertise, advanced digital tools, and experience serving diverse local business segments, provides holistic solutions that address both branding and operational challenges, which serve as robust growth engine for its clients. As of December 31, 2024, HZJL’s business operations span 187 cities across 27 provincial-level administrative regions in China, serving over 12,000 merchants.
At the core of HZJL’s offerings is its innovative branding service, which utilizes the power of social media and TV shows to craft compelling narratives for businesses and their founders. This service enhances brand recognition and credibility, and strengthens customer engagement. HZJL has participated in two of China’s popular reality TV shows, “Founder’s Glory” and “OrionStar,” to showcase the entrepreneurial journeys and innovative business models of local service merchants. The company also maintains a strong digital presence through an extensive Key Opinion Leader (“KOL”) network, leveraging a vast portfolio of video content to promote brands, products, and business success stories. By the end of December 31, 2024, HZJL had engaged over 370 KOLs with a combined following exceeding 560 million followers.
In addition to branding services, HZJL provides an advanced online application software called “JiManMan,” designed to streamline business operations and optimize customer relationship management. The platform offers digital marketing tools that help businesses attract new customers and enhance retention through effective engagement strategies. As of December 31, 2024, HZJL had acquired over 12,000 software business users, with distribution supported by a sales network of over 500 dealers across China.
HZJL also delivers a comprehensive supply of food products, with a particular focus on the restaurant segment. HZJL collaborates with upstream supply chain partners to procure fresh food products, pre-packaged foods, and essential seasonings with favorable prices for its clients. HZJL collaborates with warehouse and logistics providers, including cold chain supplier to ensure timely delivery. As of December 31, 2024, HZJL had established food products offerings of over 110,000 product categories.
The local services sector continues to evolve, shaped by emerging technologies such as AI, big data, and digital commerce. HZJL is committed to continuous investment in technological innovation, focusing on developing software solutions, social media-driven customer acquisition, and expanding supply chain capabilities to serve a broader range of business segments.
HZJL acquires new clients primarily through inbound channels such as word-of-mouth referrals, distribution partnerships, and online inquiries. For branding services, inbound sales teams manage lead generation and client engagement. The online software business is distributed via an extensive dealer network, often requiring minimal sales intervention. Additionally, the company maintains a dedicated sales force to manage large-scale branding projects and supply procurement engagements.
The company generates revenue through three primary business segments: branding services, online software services, and supply of food product. For the twelve months ended June 30, 2023 and 2024, HZJL recorded total revenues of $21,759,285 and $12,616,504, respectively, with operating loss of $2,952,743 and operation income of $1,625,257, respectively. The company strategically adjusted its revenue structure, increased sales of branding services and online software services, reduced revenue from supply of food products, and significantly increased the company’s operation income. The adjustment of revenue structure reflects the effectiveness of its business strategies to significantly improve profitability.
| 140 |
HZJL remains dedicated to empowering local businesses, driving digital transformation, and fostering long-term growth for its clients. With a strategic focus on branding, technology, and supply chain efficiency, HZJL is well-positioned to capitalize on the rapidly evolving local services market in China.
HZJL’s Competitive Strengths
Integrated Business Model of Comprehensive Solutions
HZJL operates a holistic and integrated business model, offering local service enterprises a one-stop solution that spans branding, digital tools, and various supply chain products. By combining these services into one solution, HZJL aims to simultaneously enhance a client’s brand presence, management efficiency, and procurement capabilities, addressing critical pain points that often hinder small businesses’ growth. This unified approach not only streamlines operations but also enables faster, scalable expansion for HZJL’s clients, effectively making the company a growth engine for local businesses. Through its comprehensive model, HZJL helps previously unscaled, less efficient local businesses strengthen their operations and expand more rapidly and cost-effectively.
Innovative Branding Solution and Rich Online Traffic Resource
HZJL has developed innovative branding strategies that significantly elevate its clients’ market presence. At the heart of this strategy is a powerful content-driven social media approach: HZJL works with a broad network of industry KOLs who have outstanding reputation in the fields of economics and investment with significant numbers of followers. Under the management of company’s content team, these KOLs produce extensive online contents to promote clients’ brands, sharing their start-up stories and client’s product or service features. As of December 31, 2024, the company had engaged over 370 KOLs with an aggregate follower base exceeding 560 million, amplifying the reach of local businesses across major social platforms. In addition, HZJL has participated in two popular business-themed reality TV shows, namely “Founder’s Glory” and “OrionStar,” to showcase its clients’ entrepreneurial stories and business models on a national stage. These initiatives have strengthened clients’ brands by creating compelling success narratives and driving significant consumer and franchisee interest, resulting in greater brand awareness and customer loyalty for HZJL’s local services business clients.
Advanced Online Digital Solution
HZJL’s advanced digital solutions serve as a catalyst for client’s customer relationship management, centered on its proprietary software platform called “JiManMan.” JiManMan is a proprietary online application that provides merchants with an integrated suite of CRM and digital marketing tools to streamline operations and customer management. Using JiManMan, local businesses can efficiently capture and organize customer information, run targeted promotions (such as digital coupons, group-buy deals, and flash sales), and implement loyalty reward programs that drive repeat purchases. These capabilities help merchants acquire customers more effectively and boost engagement, leading to higher customer stickiness and repurchase rates among JiManMan users. To maximize adoption, HZJL distributes its software through an extensive sales network of over 500 regional dealers across China, ensuring on-the-ground training and support for clients in 27 provinces and 187 cities. This broad distribution capability enables JiManMan to reach a large user base. As of December 31, 2024, more than 12,000 local businesses were actively using HZJL’s digital tools to improve their operations and marketing, underscoring the platform’s wide market acceptance.
| 141 |
Robust and Efficient Supply Chain Capabilities
HZJL adopts robust supply chain capabilities tailored for local service industries, especially food & beverage businesses. Through years of industry experience, the company has built an extensive product procurement network, integrating over 3700 food and ingredient suppliers and manufacturers, covering everything from fresh produce to pre-packaged. HZJL has also partnered with established cold-chain logistics providers and warehouse operators to create an efficient fulfilment infrastructure, including cloud-based warehousing and third-party delivery services for perishable goods. This optimized supply chain gives HZJL’s clients, particularly independent restaurants and eateries, access to a wide variety of quality ingredients and products at competitive costs and with reliable, timely delivery, even if they themselves lack large-scale purchasing power. As a result, small local businesses working with HZJL can enjoy a supply chain advantage in product choice and cost efficiency that greatly improves their day-to-day operations. As of December 31, 2024, HZJL’s supply of food products offering included over 110,000 distinct food products to meet diverse client needs, reflecting the depth and breadth of its sourcing capabilities.
Extensive Consumer Reach and Customer Success
Due to its integrated approach and dedicated execution, HZJL has rapidly expanded its market footprint and delivered tangible success for its clients. The company’s services now extend across 27 provinces and 187 cities in China, reaching local businesses in most major regions. To date, HZJL has served over 15,000 merchant clients nationwide, helping many of them achieve significant growth milestones. We believe that we have assisted our clients to achieve scalable growth targets and validated the effectiveness of HZJL’s model in driving customer success. HZJL’s promotional efforts have also yielded substantial results: the company has deployed more than 460 marketing video content pieces, translating increased exposure into real business growth for its clients. This extensive consumer reach and impact underscores HZJL’s ability to replicate success across a broad swath of local service markets and build long-term value for its customers.
Deep Understanding of Customer Needs
HZJL has been deeply involved in the local life services field for many years, and has gained profound insight into customers from different business segments and the problems they may face in their different life cycles. The company’s understanding of customer needs comes from continuous communication between business and operations teams and merchants, summarizing similar needs among clustered customer groups, and gaining experience from feedback on different measures taken to solve customer problems. Due to the continuous development and changes in the local lifestyle industry, HZJL is also deepening its understanding of customer demands, constantly updating its solutions and forming a competitive industry know-how.
Visionary Leadership and Experienced Management Team
HZJL’s growth and success are driven by a visionary leadership team with extensive expertise in branding, digital transformation, and supply chain management. The company’s management team consists of seasoned professionals with years of experience in e-commerce, digital marketing, and business operations. Their strategic vision has shaped HZJL into a market pioneer by capitalizing on emerging digital trends, data-driven decision-making, and a customer-centric approach. Under the leadership of Mr. Bin Xiong with experience in supply chain solution, information technology and marketing, HZJL has rapidly scaled its business and built strong industry partnerships. The company’s management team actively fosters innovation, ensuring that HZJL remains at the forefront of technology and service advancements in the local service industry. Additionally, the leadership team has successfully navigated regulatory and market challenges, demonstrating its ability to adapt and sustain growth in a rapidly evolving business environment. HZJL’s commitment to professional development and continuous innovation ensures that the company remains a trusted partner for local businesses, enabling sustainable long-term success.
HZJL’s Business Strategies
Expanding Market Coverage and Customer Base
HZJL aims to continue its rapid expansion across China by increasing its market presence in more cities and regions. Currently operating in 187 cities across 27 provinces , the company plans to leverage its established success to penetrate new local markets. The strategy involves targeting high-growth areas with an increasing demand for branding, digitalization, and supply chain efficiency, particularly in second and third-tier cities where small businesses are seeking scalable solutions.
| 142 |
To achieve this, HZJL will continue to strengthen its regional distribution networks and strategic partnerships to enhance customer acquisition and provide localized business support. Additionally, the company will expand its direct and channel sales force, ensuring deeper market penetration and enhanced customer engagement.
Enhancing Digital and AI-Driven Solutions
As technology continues to reshape local service industries, HZJL is committed to advancing its digital offerings, particularly through the development of AI-powered customer engagement and management tools. The company’s proprietary software platform, JiManMan, will be upgraded with enhanced automation, predictive analytics, and data-driven marketing recommendations to provide merchants with more intuitive and effective business tools. Besides JiManMan, HZJL also plans to launch several other digital applications to empower the local merchants streamline their delivery, customer service and payment process.
Additionally, HZJL will increase R&D investment to integrate emerging technologies such as machine learning, chatbot automation, and big data analytics into its existing software suite. These enhancements will enable local merchants to improve customer retention, optimize marketing campaigns, and boost overall operational efficiency.
Strengthening Supply Chain and Product Offerings
To further improve service efficiency, HZJL will expand and optimize its supply chain ecosystem. The company will increase the number of direct supplier partnerships, allowing merchants to access a broader range of quality products at competitive prices with time efficiency. A key focus will be on expanding the catalogue of pre-packaged food products, fresh produce, and essential business supplies, particularly for restaurant and retail customers.
To enhance logistics efficiency, HZJL will also invest in smart warehousing and cold chain logistics partnerships to ensure timely, cost-effective, and high-quality product distribution. This will allow merchants to streamline procurement processes and reduce supply chain-related operational challenges.
Scaling Branding and Marketing Services
HZJL recognizes that local businesses often struggle with brand differentiation and digital visibility. To address this, the company will expand its branding services through social media, collaborations with KOLs, and content-driven marketing strategies. By scaling partnerships with top-tier influencers in commercial topics, multi-channel network (“MCN”) agencies, social media platforms, and popular business-themed TV shows, HZJL aims to help local businesses build stronger brand identities and customer trust.
Furthermore, HZJL will introduce more customized branding packages to cater to businesses at different growth stages, ensuring that merchants receive tailored marketing solutions aligned with their unique needs and industry dynamics.
Driving Sustainable Growth
Sustainability is at the core of HZJL’s business strategies. The company will focus on long-term growth by prioritizing customer success, operational efficiency, and financial stability. HZJL plans to maintain a balanced revenue model across its three core business segments of branding services, online software services, and supply of food products, ensuring diversified income streams and reduced dependency on any single revenue source. The company believes that the three businesses complement each other and can share customer pools. The development of each business segment can also promote the growth of others, driving the business to grow steadily and sustainably.
Investing in Human Capital and Leadership Development
HZJL attributes its success to its strong leadership team and skilled workforce. Moving forward, the company will continue investing in talent acquisition, training programs, and leadership development initiatives to support its ambitious growth plans.
Additionally, HZJL will establish strategic advisory boards and mentorship programs to foster a culture of innovation and industry expertise. This will ensure that the company remains adaptable and forward-thinking in addressing market challenges and opportunities.
| 143 |
Exploring International Expansion Opportunities
While HZJL is currently focused on China’s domestic market, the company is actively evaluating opportunities for international expansion, particularly in other high-growth Asian markets. By leveraging its proven branding, digitalization, and supply chain expertise, HZJL aims to establish a presence in regions where local businesses face similar challenges in scaling and digital transformation.
The company plans to begin by forming cross-border strategic alliances and pilot programs to assess market demand, gradually rolling out its solutions in selecting international markets based on feasibility and growth potential.
Through these well-defined business strategies, HZJL is positioning itself for sustained growth and competitiveness in the local service industry. By continuously innovating, expanding its market reach, and investing in technology and human capital, the company aims to solidify its role as a robust comprehensive service provider for local businesses.
Competitive Landscape
HZJL competes in the market on four main fronts:
Branding and KOL marketing agents. Full-service digital-marketing agencies, multi-channel networks and even merchants’ own in-house teams all vie for the same influencers and advertising budgets on platforms like Douyin and Xiaohongshu.
Small-business SaaS tools. Including specialist software vendors, particularly those that focus on restaurant POS systems, and the cloud divisions of China’s big internet companies offer low-cost, off-the-shelf apps that cover many of the functions JiManMan provides.
Local-life super-apps. Meituan, Ele.me, Alipay and similar “super-apps” bundle traffic, payments and merchant dashboards in one place. Their sheer scale lets them dictate commission rates and service standards, putting margin pressure on all third-party service providers.
Supply-chain aggregators. Traditional wholesalers, regional food-service distributors and new B2B e-commerce platforms compete on price, product range and delivery speed. Large distributors in particular can use bulk-buying power and extensive cold-chain networks to undercut smaller rivals.
Key Challenges
In a competitive, robust and ever-change life service market, HZJL face the following key challenges:
Platform Dominance & Traffic Costs. Super-apps and short-video platforms can raise commission rates or alter traffic-allocation algorithms, squeezing merchant margins and increasing HZJL’s customer-acquisition costs.
Technology Upgrading & Product Differentiation. Rapid iteration in AI-driven SaaS and marketing automation means HZJL must invest continually in R&D to avoid feature parity and price-led competition.
Supply-Chain Resilience. Fresh-food logistics depend on cold-chain integrity and stable upstream sourcing. Epidemic controls, climate events, or transport bottlenecks could raise fulfilment costs or create stock-outs that damage merchant trust.
KOL Saturation & Audience Fatigue. Influencer marketing effectiveness can dilute as audiences become more selective. Securing premium KOL partnerships at reasonable rates and maintaining high engagement will remain a constant challenge.
Talent Retention & Organizational Scalability. Sustaining growth across 187 cities requires experienced local-market teams. Competition for digital-marketing, logistics, and technical talent is intense, and high staff turnover could impede service quality.
HZJL’s Business Model
HZJL has developed a comprehensive and integrated business model that provides local service businesses with a one-stop solution for branding, digital transformation, and supply chain optimization. This model is designed to address critical development issues faced by small and medium-sized enterprises in the local services sector, enabling them to scale efficiently and achieve sustainable growth.
HZJL’s approach is unique because it does not simply offer individual services; instead, it integrates branding, digital tools, and procurement operation management into a seamless, all-in-one growth engine. This integration allows local merchants to strengthen their market presence, improve operational efficiency, and optimize supply chain costs—all within a single ecosystem.
Core Business Segments
Branding and Market Positioning: Local service businesses often struggle with visibility and differentiation in a crowded marketplace. HZJL solves this problem by offering social media and content-driven branding, leveraging an extensive network of online influencers to create compelling brand narratives. The company has also participated in two business TV Shows, “Founder’s Glory” and “OrionStar,” to build credibility and attract investment. Through the branding and marketing initiatives, the company help local service businesses craft a unique identity that resonates with consumers and franchise partners by increasing brand awareness, attracting customers, and establishing trust in their respective markets.
Nanjing Jisheng Culture and Media Co., Ltd. and Beijing Dianqier Creative Interactive Media & Culture Co., Ltd. (“Beijing Dianqier”), which are affiliate companies of HZJL and not part of the HZJL group, entered into agreements with Shenzhen Xiaolu Zhixuan Technology Co., Ltd. and Shanghai China Business News Media Co., Ltd. (“Shanghai China Business News Media”) in relation to the production of “OrionStar” and “Founder’s Glory,” respectively. “OrionStar” is no longer being aired. Under the agreement between Beijing Dianqier and Shanghai China Business News Media, effective from July 1, 2024 to December 30, 2025, Beijing Dianqier will procure guests for “Founder’s Glory” and pay Shanghai China Business News Media the relevant production fees in exchange for the advertising revenues generated from “Founder’s Glory.”
Digital Transformation & Operational Efficiency: Many local businesses lack the technical expertise to leverage digital tools effectively. HZJL bridges this gap with its proprietary “JiManMan” online software, which offers automated customer relationship management and customer engagement to enhance customer retention and loyalty. The software also helps customers to implement targeted campaigns, loyalty programs, and various online promotions to optimize customer acquisition. This technology-driven approach allows businesses to modernize their operations, increase efficiency, and continually update seamlessly without heavy investment in in-house IT development.
Supply Chain Offering & Cost Efficiency: One of the biggest challenges for small businesses is accessing quality products at competitive prices. HZJL’s supply chain model directly addresses this by providing direct sourcing from over 3,700 suppliers, and offering a wide range of fresh produce, pre-packaged food, and essential business products. With strong cooperation with cold chain logistics and warehousing providers, the company ensures timely delivery of perishable goods. Leveraging bulk purchasing power, HZJL allows smaller businesses to benefit from cost savings typically reserved for larger enterprises.
The true value of HZJL’s business model lies in its ability to drive scalable and sustainable growth for its clients. Businesses that partner with HZJL benefit from improved brand equity with stronger market positioning and customer engagement, enhanced digital competitiveness with the ability to leverage data and digital tools for business growth, and supply chain cost efficiency for lower procurement costs and improved inventory management.
| 144 |
Also, HZJL operates a diversified revenue model across its core service areas by generating revenue through customized marketing and promotional packages, monetizing digital tools via annual fees and earning margins on bulk procurement. This multi-stream revenue structure ensures financial resilience and long-term stability, reducing reliance on any single business segment while supporting continuous reinvestment in innovation and service expansion.
HZJL’s comprehensive and one-stop business model is designed to help local service enterprises overcome operational barriers, enhance brand presence, and achieve scalable growth. By seamlessly integrating branding, digitalization, and supply chain optimization, HZJL offers a unique value proposition that is difficult to replicate, solidifying its position as the leading growth partner for local businesses in China.
HZJL’s Solutions
HZJL provides a suite of integrated, one-stop solutions tailored to the needs of local service businesses. These solutions span branding, digital tools, and supply chain support. The company’s offerings are structured to provide a seamless experience for businesses at every stage of their development, from startup to full-scale expansion.
Branding Services
A strong brand presence is essential for local businesses to differentiate themselves and attract customers. HZJL offers a range of branding and market expansion services that help clients build compelling identities and establish credibility. HZJL charges services fees based on single or packaged solutions including TV Show advertising, social media services or fulfillment services. Upon engaging a customer, HZJL generally first conduct overall evaluation and planning to provide tailored branding solution to such customer. HZJL typically provides 3 types of services:
TV shows advertising services: Businesses gain exposure through two entrepreneurial TV shows engaged by HZJL, positioning them as market leaders.
Social media management services: The company collaborates with over 370 KOLs to promote businesses through engaging content across platforms like Douyin, Xiaohongshu, and WeChat Video Account. HZJL also helps the clients to establish new social media accounts for their brand or founder, as well as offers daily operation services to their existing accounts.
Fulfillment services: HZJL’s fulfillment services provide corporate and franchise branding support, assisting in the sales leading transformation and development of brand identity, storytelling, and visual consistency to attract franchisees as well as investors.
Engaged TV Shows and KOLs
HZJL entered into cooperation agreements with the producers of TV Shows to showcase the clients’ entrepreneurial stories and brands on the TV programs, and HZJL charges the clients advertising service fees providing exposure of corporate brands, founder’s startup stories and merchants’ products. The company also collaborates with KOLs and MCN agents that have engaged with targeted KOLs to agree on advertising content, production methods, and advertising time periods, and pays corresponding service fees to KOLs.
TV Show - Founder’s Glory: The program is broadcasted on Jiangsu TV, a local TV channel in Jiangsu Province, China, and in each episode, multiple entrepreneurs share their entrepreneurial stories. The TV show provides exposure for the clients and builds a bridge of cooperation among entrepreneurs, investors, and other audiences, thus promoting the spirit of business mentoring.
TV Show - OrionStar: Broadcasted on Shanghai Dragon TV and Jiangxi TV, local TV channels of Shanghai and Jiangxi Province, China, respectively, this program focuses on the growth-oriented brand founders and their entrepreneurial journey, telling their entrepreneurial stories of persisting in their dreams and daring to pioneer the times. The program provides resources and support for entrepreneurs through comments from industry experts and well-known investors.
KOLs: The company collaborates with KOLs in the fields of finance, entrepreneurship, and investment, or collaborates with MCN institutions that allow the company access to more KOLs resources. The number of followers of these KOLs ranges from tens of thousands to millions, and most of them are precise customers who are interested in and follow the fields of finance and entrepreneurship. Most of the KOLs the company has worked with are active on Douyin, the social media platform, and the contents released are mainly in the form of short videos. The company is also actively expanding KOLs who are active on platforms such as Xiaohongshu, Bilibili, and WeChat Video.
| 145 |
The branding service process begins with an initial consultation, where HZJL assesses the client’s brand presence and business goals. A customized strategy is then developed, followed by content production and promotional campaigns launched across digital and television platforms. Clients can choose to enhance the company’s brand image or increase the personal influence of the clients’ founders. HZJL can set up and manage corresponding social media accounts for the clients, and carry out content creation and increase social media engagement.
HZJL established a content creation team that includes members of planning, script writing, directing, and content production to create video clips as well as graphic and textual content. These contents will be used directly by engaged KOLs or serve as case studies for other KOLs as reference templates to freely create their own parts.
After that, the independent operation team of the company will conduct various operation management on relevant social media platforms to increase the clients’ social media engagement. The increased social media engagement is usually evaluated based on multiple dimensions such as the match between client’s brand or founder and KOLs, advertising time, relevance to popular topics, amount of interactions (such as likes, comments and followers increase), and other branding targets. The company will adjust the strategy in real time according to the evaluation.
When certain content generates sales leads for investment and franchise, the company’s customer service team will collect the leads, make preliminary contacts, and provide screened sales leads to customers.
HZJL’s branding services generally provide clients with a customized packaged solution, and clients can also sign a single contract for one of the branding services provided by the company. In the TV show advertising services, the company charges advertising service fees. In the social media management services, the company charges corresponding service fees according to the service content. In the fulfilment services, the company charges corresponding service fees according to the actual number of sales leads and final sales results. For the twelve months ended June 30, 2023, and June 30, 2024, the revenue of branding services was $1,453,843 and $4,812,897.
Online Software Services
Technology is a key driver of efficiency and scalability. HZJL’s JiManMan online software provides local businesses with essential digital tools to streamline operations and enhance customer interactions. The platform offers two major functional modules:
CRM tools: a data-driven CRM software to automate customer management, marketing online campaign for targeted promotions and loyalty programs. The CRM tool is featured of the integration of “points redemption mall,” which can significantly enhance customer stickiness and loyalty. The “points redemption mall” module is a collaboration between the company and ShengPay, which provides corresponding points redemptions mall operation services.
Store establishment: a system that empowers businesses with quick establishment of digital storefronts and integrated payment solutions.
Additionally, JiManMan provides data analytics and performance tracking to generate actionable insights into customer behavior and revenue trends.
![]() |
![]() |
![]() |
The graphs above illustrate the user interface and some key functions of JiManMan:
| (1) | The first graph is the “points redemption mall” which allow the user to pick and get the gifts using their collected points from previous purchasing award. The “points redemption mall” of JiManMan help to add user stickiness and increase re-purchasing. |
| (2) | The second graph shows the entrance of various online stores established by JiManMan store establishment tools. |
| (3) | The third graph represents a management center interface where various data of the previous orders, redeemed points, coupons and other information can be found and tracked. |
JiManMan online software is independently developed and continuously iterated with new features by the internal technical team. The software is cloud-based and the client can access and manage the application anytime, anywhere. The software adopts a user-friendly interface and in the form of a WeChat mini program application, which is widely accepted by China online users.
HZJL distribute software services through more than 500 engaged distribution channels covering major cities in China . JiManMan’s software is divided into two different pricing options based on the number of functions: the basic version and the professional version, usually paid annually. After signing a cooperation agreement with distribution channels, our software service team provides training to distributors on software features, marketing techniques and successful cases. When the distributor completes the software sales, HZJL receives software sales revenue, and the corresponding distributor receives sales commission. To boost sales, the company sometimes has corresponding free trial promotional activities for customers to use within a certain period of time. In addition to software sales revenue, the software’s “points redemption mall” function also earns transaction commissions from the partner ShengPay after generating product exchanges from points redemption by the end user. For the twelve months ended June 30, 2024 and 2023, the revenue of online software was $2,524,787 and $1,926,471, respectively.
| 146 |
Supply of Food Products
Local businesses, especially restaurants and retailers, require efficient supply chain management and cost-effective products offering. HZJL ensures seamless procurement by offering direct sourcing from over 3700 food suppliers, providing businesses with high-quality fresh ingredients, pre-packaged food, and essential goods. The company operate smart warehousing and cold chain logistics to guarantee timely deliveries, while its bulk purchasing model allows smaller businesses to benefit from lower procurement costs and better inventory management.
Clients start by browsing HZJL’s product catalogue and placing orders based on their needs. HZJL coordinates procurement and supplier relations, ensuring competitive pricing and quality control. Orders are fulfilled through efficient logistics and delivery management, with clients receiving real-time updates and stock management insights to optimize procurement and reduce waste.
HZJL collects client orders, conducts bulk procurement from suppliers, and engage logistic and warehousing partners to deliver products to the respective clients. The company generates revenue through customer product procurement. For the twelve months ended June 30, 2024 and 2023, the revenue of supply chain was $5,278,820 and $18,378,971, respectively.
Other services
Beyond providing essential tools and services, HZJL also offers franchise and expansion support, helping businesses scale through strategic location planning, investment matchmaking, and operational consulting. Additionally, HZJL provides training and professional development through workshops, online courses, and mentorship programs, equipping business owners with the knowledge to sustain growth. The company’s data-driven business strategies leverage analytics to identify expansion opportunities and maximize profitability.
HZJL conducts an initial business performance review to assess operational challenges and growth potential. Clients receive strategic planning consultations, followed by implementation support to execute growth initiatives. Continuous performance monitoring and optimization ensure businesses maintain scalability and profitability in competitive markets. HZJL does not charge any service fees to these value-added services.
HZJL’s solutions are designed to provide a fully integrated, end-to-end support system for local services businesses. By combining branding, digital transformation, and supply chain management, HZJL empowers businesses to overcome industry challenges and scale successfully. Whether a business is looking to build brand awareness, digitize operations, or optimize procurement, HZJL’s one-stop service model delivers the tools, expertise, and infrastructure needed to achieve long-term growth.
Benefits to Clients
Empowering Local Services Businesses with a One-Stop Solution
HZJL provides an all-in-one business growth platform that helps local service providers enhance brand awareness, streamline operations, and optimize supply chain management. By integrating branding, digital tools, and supply chain solutions, HZJL removes barriers to growth and enables businesses to scale efficiently. The comprehensive service model ensures that clients can focus on their core operations while leveraging expert support in key business areas.
Increased Brand Visibility and Market Reach: One of the biggest challenges for local businesses is establishing a strong brand presence. HZJL offers branding and market expansion services that increase visibility and credibility. Through strategic content marketing, social media engagement, and TV promotions, businesses gain wider exposure, attract new customers, and build lasting brand equity. HZJL’s partnerships with top-tier KOLs and entrepreneurial TV shows provide unmatched media reach, helping businesses stand out in competitive markets. As a result, HZJL clients experience higher customer engagement, increased foot traffic, and stronger franchise opportunities.
Digital Transformation for Operational Efficiency: Many local businesses struggle with manual operations, limited digital presence, and inefficient customer management. HZJL’s JiManMan online software enables digital transformation by offering data-driven CRM tools, automated marketing solutions, and online store establishment systems. These tools allow businesses to manage customer relationships more effectively, implement personalized marketing campaigns, and streamline workflows. Businesses using JiManMan benefit from faster response times, improved customer retention, and enhanced revenue tracking, all of which contribute to higher operational efficiency and profitability.
| 147 |
Cost Savings and Supply Chain Optimization: Small and medium-sized businesses often face difficulties in procuring high-quality products at competitive prices. HZJL addresses this challenge by providing direct access to over 3700 trusted suppliers, allowing businesses to source fresh ingredients, packaged goods, and essential supplies at wholesale rates. By leveraging bulk purchasing, smart warehousing, and cold chain logistics, HZJL helps businesses reduce procurement costs, minimize waste, and ensure timely deliveries. This gives local businesses a competitive advantage, allowing them to offer better pricing and maintain consistent product availability without the burden of inventory management.
Scalable Growth and Business Expansion: HZJL’s ecosystem is designed to help businesses grow from startups to fully scaled operations. By providing franchise development support, investment matchmaking, and data-driven expansion strategies, HZJL enables businesses to identify new markets, attract investors, and scale effectively. Whether a business aims to open new locations, expand its product offerings, or increase its customer base, HZJL provides the tools and guidance to ensure sustainable growth. Clients benefit from structured business roadmaps, mentorship programs, and consistent performance tracking, all of which drive long-term success.
Reduced Business Risks and Improved Decision-Making: Business owners often face uncertainties related to market trends, consumer preferences, and operational challenges. HZJL mitigates these risks by offering data-driven insights, real-time analytics, and expert consultations. Through advanced advice, businesses can track sales performance, customer behavior, and procurement costs, enabling them to make informed decisions that drive profitability. Additionally, HZJL’s continuous support ensures that businesses receive ongoing guidance to navigate market fluctuations and adapt to evolving industry trends.
Comprehensive Customer Support and Training: HZJL is committed to customer success and provides dedicated support, training, and business consultation to ensure that clients maximize the value of their services. Clients receive hands-on training in software tools, marketing strategies, and best operational practices. In addition, HZJL offers round-the-clock customer support, regular business workshops, and on-demand consulting sessions, ensuring that businesses have the resources they need to thrive.
HZJL’s solutions are designed to deliver tangible benefits to customers, enabling them to scale efficiently, reduce costs, enhance brand value, and improve operational performance. By providing branding expertise, digital transformation tools, and supply chain advantages, HZJL acts as a trusted growth engine for local businesses. Through its one-stop business model, HZJL empowers businesses to achieve sustainable growth, navigate industry challenges, and build long-term success in an increasingly competitive market.
Business Management and Operation
Customer Acquisition
HZJL adopted a multi-channel customer acquisition approach, which combines inbound marketing, digital engagement, outbound direct sales, and partnerships to attract a high volume of merchants to its platform. The company’s three business solutions also share customer resources and can engage in cross selling.
Inbound Lead Generation: HZJL leverages social media marketing, paid advertisements and business storytelling through platforms like Douyin, Xiaohongshu, and WeChat Video Account to generate high-quality leads. The company, including founder Bin Xiong, has successfully created and incubated 11 personal Douyin accounts with over 2 million combined followers, and released contents related to entrepreneurship, business and investment. Through these internal social media accounts, the company is able to obtain followers as well as sales leads.
Partnership-Driven Expansion: HZJL collaborates with business incubators, franchise networks, and industry associations to onboard growing local businesses. For software business, the company also established a distribution network covering major cities in China.
Direct Sales and Referral: A team of dedicated sales representatives conducts personalized business consultations, helping merchants understand how HZJL’s solutions can drive their growth. The company also encourages existing clients to refer new merchants through discounts, free service trials, and commission-based incentives.
| 148 |
KOL Network Management
One of HZJL’s competitive advantages lies in its ability to build and manage a high-impact media and KOL network to amplify client visibility. The company’s operations team continuously monitors KOLs in the fields of investment, entrepreneurship, and finance across the entire network, establishing a vertical KOL database. After the completion of each cooperation between KOLs and clients, the company will analyze the KOLs’ content creating capabilities and advertising performance, and identify the characteristics and advantages of each KOL. The company also reviews the status of existing KOLs on a regular basis and decides on continuation or withdrawal of partnership based on the review to ensure that the company’s clients can have the best advertising effect and positive brand image.
Supplier Management and Quality Control
Ensuring a reliable and high-quality supply chain is a critical pillar of HZJL’s operation. The company employs strict supplier evaluation, real-time inventory tracking, and smart logistics management to enhance procurement efficiency.
HZJL conducts a rigorous multi-step approval process for supplier vetting and onboarding to ensure that only trusted manufacturers and distributors partner with HZJL. The company also conducts routine quality inspections, third-party audits, and compliance checks to ensure that sourced products meet market regulations and customer expectations. HZJL has also partnered with third-party supplier to adopt digital inventory management systems to track demand trends, optimize stock levels, and minimize wastage. For cost issue, HZJL negotiates competitive pricing and discounts for merchants by consolidating bulk orders across its client base.
Research and Development (R&D) Management
HZJL is committed to continuous innovation through its dedicated R&D initiatives, ensuring that its solutions remain ahead of industry trends. The company invests in data analytics, predictive analytics, and automation to enhance business intelligence tools. The development team is also dedicated to upgrading the user experience by optimizing the application interfaces. Besides JiManMan, the development team also delivered several internal management systems that assist various internal departments in management digitizing transformation such as human resources, finance, operations, sales, and customer service to streamline the business process and enhance the company’s operation efficiency.
The company’s development team will maintain a planned product roadmap or product development plan for new products as well as existing product updates, with flexible development processes and strict software quality control and testing to ensure smooth operation after launch.
Performance Monitoring and Continuous Improvement
HZJL applies a data-driven, KPI-based approach to monitor performance across all operational verticals, ensuring efficiency, scalability, and high service quality. For sales and customer acquisition, the company tracks lead generation success and onboarding efficiency. For customer retention, the company monitors usage of digital tools, repeat transactions, and renewal rates. For supplier performance, the company measures supplier reliability, inventory turnover rates, and cost efficiencies. For media and online traffic effectiveness, HZJL analyses engagement rates, return on investment on KOL performance, and audience reach. The management of each business line will continue to monitor the KPI status, formulate corresponding improvement strategies, and continuously optimize business operations.
Competition
Competitive Factors
The company believes that the principal competitive factors in the local service industry include the following:
| ● | Company reputation and success cases – Businesses with strong brand credibility and more success cases attract more customers and maintain higher trust levels. Market leaders may be able to further increase their market share by leveraging AI tools. |
| ● | Effectiveness of sales and marketing – The ability to acquire and retain customers through targeted advertising, promotional strategies, and efficient sales execution. Frequent updates to algorithms of social media platforms undermine the effectiveness of historical marketing models. |
| ● | Management of influencers – The rising bargaining power of influencers has made it more difficult to sustain long-term collaboration with talents. The reach of influencers can also fluctuate significantly, so the actual impact of branding campaigns is highly uncertain. |
| ● | Understanding of customer needs – Deep industry knowledge and customer-centric service offerings help businesses tailor solutions to meet evolving market demands. |
| ● | Ability to understand social media – Understanding the latest trends in social media and mastering the methods of traffic acquisition and monetization in social networks are key to achieving successful customer brand establishment. |
| 149 |
| ● | Research and Development capability - Utilizing cutting-edge technologies including AI to enhance the functionality and user experience of digital solutions. |
| ● | Supply chain management and operational efficiency – The ability to provide reliable, cost-effective, and scalable supply chain solutions to enhance business sustainability. Climate change policies, geopolitical conflicts and trade protectionism may increase the price volatility of raw materials. |
| ● | Quality of customer service – Responsiveness, after-sales support, and problem-solving capabilities that ensure long-term client satisfaction. |
| ● | Comprehensiveness of product and service offerings – A diverse range of integrated solutions that cater to the various operational needs of businesses. |
Competitive Landscape
HZJL competes in the market on four main fronts:
Branding and KOL marketing agents: Full-service digital-marketing agencies, multi-channel networks and even merchants’ own in-house teams all vie for the same influencers and advertising budgets on platforms like Douyin and Xiaohongshu.
Small-business SaaS tools: Including specialist software vendors, particularly those that focus on restaurant POS systems, and the cloud divisions of China’s big internet companies offer low-cost, off-the-shelf apps that cover many of the functions JiManMan provides.
Local-life super-apps: Meituan, Ele.me, Alipay and similar “super-apps” bundle traffic, payments and merchant dashboards in one place. Their sheer scale lets them dictate commission rates and service standards, putting margin pressure on all third-party service providers.
Supply-chain aggregators: Traditional wholesalers, regional food-service distributors and new B2B e-commerce platforms compete on price, product range and delivery speed. Large distributors in particular can use bulk-buying power and extensive cold-chain networks to undercut smaller rivals.
Key Challenges
In a competitive, robust and ever-changing service market, HZJL faces the following key challenges:
Platform Dominance & Traffic Costs: Super-apps and short-video platforms can raise commission rates or alter traffic-allocation algorithms, squeezing merchant margins and increasing HZJL’s customer-acquisition costs.
Technology Upgrading & Product Differentiation: Rapid iteration in AI-driven SaaS and marketing automation means HZJL must invest continually in R&D to avoid feature parity and price-led competition.
Supply-Chain Resilience: Fresh-food logistics depend on cold-chain integrity and stable upstream sourcing. Epidemic controls, climate events, or transport bottlenecks could raise fulfilment costs or create stock-outs that damage merchant trust.
KOL Saturation & Audience Fatigue: Influencer marketing effectiveness can dilute as audiences become more selective. Securing premium KOL partnerships at reasonable rates and maintaining high engagement will remain a constant challenge.
Talent Retention & Organizational Scalability: Sustaining growth across 187 cities requires experienced local-market teams. Competition for digital-marketing, logistics, and technical talent is intense, and high staff turnover could impede service quality.
While our competitors may have longer operating histories, greater brand recognition, more capital, and larger customer bases, our key strengths lie in offering a comprehensive, one-stop solution that integrates branding, digital tools, and supply chain management. Unlike competitors that specialize in only one or two areas, HZJL differentiates itself by delivering an end-to-end business growth platform, allowing clients to efficiently scale their operations with technology-driven solutions, extensive industry partnerships, and dedicated customer support. By focusing on clients’ success, continuous innovation, and operational excellence, we ensure that businesses partnering with HZJL gain a competitive advantage in a fast-evolving market.
Our Employees
In accordance with applicable laws and regulations, we participate in various employee social security programs organized by the municipal and provincial governments, including pensions, unemployment insurance, maternity insurance, work-related injury insurance and medical insurance. We sign standard employment contracts and confidentiality agreements with our employees. We have not encountered any labor disputes and have one labor union. The table below summarizes the number of employees by function as of December 31, 2024:
| Function | Number of Employees | % of Total | ||||||
| General Management | 3 | 4.2 | % | |||||
| Digitalization | 9 | 12.7 | % | |||||
| Marketing | 44 | 62.0 | % | |||||
| Human Resources | 3 | 4.2 | % | |||||
| Finance | 3 | 4.2 | % | |||||
| Content Creation | 9 | 12.7 | % | |||||
| Total | 71 | 100 | % | |||||
Our Property
As of December 31, 2024, we leased the following premises from an independent third party:
| Geographic Locations | Area (m2) | Primary Use | Lease Term | |||
| Hangzhou, China | 1,100 | Office | 5 years |
Our executive office is located at 18th Floor, Block B, Yuanlun Building, No. 350 Qifei Road, Binjiang District, Hangzhou City, People’s Republic of China. The lease term runs from August 1, 2024 to July 31, 2029 and the monthly rent is RMB103,720.8.
Legal Proceedings
From time to time, we may become a party to various legal or administrative proceedings arising in the ordinary course of our business, including actions with respect to breach of contract, and labor and employment claims. As of the date of this prospectus, we were not a party to, and we are not aware of any threat of, any legal or administrative proceeding that, in the opinion of our management, is likely to have any material and adverse effect on our business, financial condition, cash flow, or results of operations.
| 150 |
Corporate History and Structure of HZJL
HZJL is an exempted company incorporated under the laws of the Cayman Islands on March 28, 2024 and conducts its operations in China primarily through its PRC operating entities, including Hangzhou Zhulin Technology Co., Ltd., which is a company with limited liabilities established in accordance with the PRC laws on January 19, 2020 (“Hangzhou Zhulin”), Hangzhou Yanwei Supply Chain Management Co., Ltd., which is a company with limited liabilities established in accordance with the PRC laws on June 4, 2021 (“Hanzhou Yanwei”), Huzhou Jisheng Culture and Media Co., Ltd., which is a company with limited liabilities established in accordance with the PRC laws on November 25, 2021 (“Huzhou Jisheng”), Hangzhou Wujie Growth Technology Co., Ltd., which is a company with limited liabilities established in accordance with the PRC laws on February 14, 2022 (“Hangzhou Wukong”), and Hangzhou Xinzhong Culture and Media Co., Ltd., which is a company with limited liabilities established in accordance with the PRC laws on September 6, 2024 (“Hangzhou Xinzhong”).
We underwent a series of restructuring transactions to complete the reorganization, which primarily included:
| ● | On March 28, 2024, we incorporated HZJL under the laws of the Cayman Islands. | |
| ● | On April 11, 2024, we incorporated Joy A Limited (“BVI Subsidiary”) pursuant to the laws of the British Virgin Islands as a wholly owned subsidiary of HZJL. | |
| ● | On April 26, 2024, we incorporated HK Subsidiary pursuant to the laws of Hong Kong as a wholly owned subsidiary of BVI Subsidiary; | |
| ● | On December 4, 2024, we incorporated WFOE pursuant to PRC laws as a wholly owned subsidiary of HK Subsidiary. | |
| ● | Following the completion of the restructuring in December 2024, HK Subsidiary currently owns 100% of the shares of WFOE, which in turn holds approximately 99.67% of shares of Hangzhou Wukong. | |
| ● | On January 2, 2025, the sole shareholder of Hangzhou Wukong transferred approximately 99.67% of the equity interests in Hangzhou Wukong to WFOE. Thereafter, Hangzhou Wukong became a subsidiary of WFOE, and HZJL became the ultimate holding company of Hangzhou Wukong and its operating subsidiaries. As of the date of this proxy statement/prospectus, (i) WFOE owns 100% of the equity interests in Hangzhou Yanwei and Hangzhou Zhulin respectively; and (ii) Hangzhou Zhulin owns approximately 98.18% of Huzhou Jisheng, which in turn holding entire 100% of shares in Hangzhou Xinzhong. |
All transactions under the reorganization were completed as of January 2, 2025.
The following diagram illustrates our corporate structure as of the date of this proxy statement/prospectus:

| 151 |
SELECTED HISTORICAL CONSOLIDATED FINANCIAL AND OPERATING DATA OF HZJL
(Amounts in tables are stated in U.S. Dollar)
The following tables set forth selected historical financial information derived from HZJL’s audited consolidated financial statements as of June 30, 2024 and 2023 and for the fiscal years ended June 30, 2024 and 2023, which are included elsewhere in this proxy statement/prospectus. The historical results presented below are not necessarily indicative of the results to be expected for any future period. You should carefully read the following selected financial information in conjunction with the section entitled “HZJL Management’s Discussion and Analysis of Financial Condition and Results of Operations” and HZJL’s financial statements and the related notes appearing elsewhere in this proxy statement/prospectus.
The following tables present HZJL’s summary consolidated statements of operations data for the years ended June 30, 2024 and 2023.
For the Years Ended December 31, | ||||||||
| 2024 | 2023 | |||||||
| Income Statement Data: | ||||||||
| Revenues | $ | 12,616,504 | $ | 21,759,285 | ||||
| Gross profit | $ | 3,845,406 | $ | 1,027,649 | ||||
| Total operating expenses | $ | (2,220,149 | ) | $ | (3,980,392 | ) | ||
| Income (loss) from operations | $ | 1,625,257 | $ | (2,952,734 | ) | |||
| Net income (loss) | $ | 1,120,845 | $ | (2,738,075 | ) | |||
The following tables present HZJL’s summary consolidated balance sheet data as of June 30, 2024 and 2023
| June 30, 2024 | June 30, 2023 | |||||||
| Total current assets | $ | 15,978,469 | $ | 21,173,772 | ||||
| Total assets | $ | 16,081,174 | $ | 21,808,343 | ||||
| Total liabilities | $ | 10,533,253 | $ | 26,213,353 | ||||
| Total HZJL shareholders’ equity (deficit) | $ | 5,773,945 | $ | (4,372,032 | ) | |||
| Non-controlling interest | $ | (226,024 | ) | $ | (32,978 | ) | ||
| Total liabilities and equity (deficit) | $ | 16,081,174 | $ | 21,808,343 | ||||
The following tables present HZJL’s summary consolidated cash flow data for the years ended June 30, 2024 and 2023:
| For the Fiscal years Ended June 30, | ||||||||
| 2024 | 2023 | |||||||
| Net cash provided by (used in) operating activities | $ | 9,699,666 | $ | (10,233,621 | ) | |||
| Net cash used in investing activities | (3,183,244 | ) | (1,812,621 | ) | ||||
| Net cash (used in) provided by financing activities | (6,440,329 | ) | 11,914,252 | |||||
| Effect of Exchange rate on cash, cash equivalents and restricted cash | (555 | ) | (9,059 | ) | ||||
| Net change in cash, cash equivalents and restricted cash | 75,539 | (141,048 | ) | |||||
| Cash, cash equivalents and restricted cash at beginning of the year | 49,223 | 190,271 | ||||||
| Cash, cash equivalents and restricted cash at end of the year | $ | 124,762 | $ | 49,223 | ||||
| 152 |
MANAGEMENT’S DISCUSSION AND ANALYSIS OF
FINANCIAL CONDITION AND RESULTS OF OPERATIONS OF HZJL
You should read the following discussion and analysis of HZJL’s financial condition and results of operations in conjunction with the section entitled “Selected Historical Financial Information — HZJL” and HZJL’s consolidated financial statements and the related notes included elsewhere in this proxy statement/prospectus. This discussion and analysis should also be read together with the pro forma consolidated financial information in the section entitled “Unaudited Pro Forma Condensed Combined Financial Information.” This discussion contains forward-looking statements that involve risks and uncertainties. HZJL’s actual results and the timing of events could differ materially from those anticipated in these forward-looking statements as a result of various factors, including those set forth under “Risk Factors” and elsewhere in this proxy statement/prospectus. Unless the context otherwise requires, references in this section to “the Company” and “HZJL” are intended to mean the business and operations of HZJL and its consolidated subsidiaries.
Business Overview
We are a comprehensive solutions provider dedicated to empowering local life services such as restaurants, coffee shops, beauty salons, convenience stores, and massage centers through innovative social branding services, digital software solutions, and supply of food products. We provide an integrated, one-stop solution designed to enhance brand visibility, optimize operational efficiency, and enable scalable growth for business owners.
As a pioneer in the local life services sector, we generate revenue through three primary business lines, including (i) provision of branding services, (ii) provision of online software services and (iii) supply of food products.
The local services industry in China is experiencing rapid expansion, driven by evolving consumer preferences and a dynamic market landscape. This growth has introduced increasing complexity, with businesses focusing more on operational refinement and ecosystem development. Leveraging our deep industry expertise, advanced digital tools, and extensive experience serving diverse local business segments, we provide holistic solutions that address both branding and operational challenges. Our services have become a proven growth engine for its clients. As of December 31, 2024, HZJL’s business operations span 187 cities across 27 provincial-level administrative regions in China, serving over 12,000 merchants.
We utilize the power of social media and TV shows to provide branding services, which craft compelling narratives for our customers and their founders. This service enhances brand authenticity, strengthens customer engagement, and increases visibility. We have participated in two of China’s leading reality TV shows, Founder’s Glory and OrionStar to showcase the entrepreneurial journeys and innovative business models of local service merchants. We also maintains a strong digital presence through an extensive Key Opinion Leader (“KOLs”) network, leveraging a vast portfolio of video content to promote brands, products, and business success stories. As of December 31, 2024, we engaged over 100 KOLs with a combined following exceeding 200 million users.
We operate an advanced online application software called “JiManMan”, which is a digital marketing tool to streamline operations and optimize customer relationship management for our customers. We offer online software services by utilizing the digital marketing tools. As of December 31, 2024, we had over 15,000 software business users, with distribution supported by a sales network of over 500 dealers across China.
We also supply food products to our customers, with a particular focus on the restaurant segment. We collaborate with upstream supply chain partners to procure fresh food products, pre-packaged foods, and essential seasonings. By leveraging strong warehousing and logistics capabilities, we ensure merchants receive optimal product choices, timely deliveries, and cost-efficient procurement. As of December 31, 2024, we established a supply chain inventory of over 400 product categories.
Our revenue was approximately $12.9 million and $6.7 million for the six months ended December 31, 2024 and 2023, respectively. For the six months ended December 31, 2024 and 2023, we reported a net income of approximately $1.4 million and a net loss of approximately $0.5 million, respectively.
| 153 |
Our revenue was approximately $12.6 million and $21.8 million for the years ended June 30, 2024 and 2023, respectively. For the years ended June 30, 2024 and 2023, we reported a net income of approximately $1.1 million and a net loss of approximately $2.7 million, respectively.
Factors Affecting Results of Operations
Our business, financial condition and results of operations have been, and are expected to continue to be, affected by a number of factors, which primarily include the following:
The ability growing customer base and retain existing customers
The success of our business largely depends on our ability to retain existing customers and develop new ones. Retaining customers is crucial for sustainable growth and profitability. Maintaining a strong relationship with the existing customer base can ensure a stable source of income and increase brand loyalty. To achieve this goal, we will continue to expand its marketing investment, engage more channel partners and attract more local potential merchants through successful cases. At the same time, we will continue to improve its service capabilities and product quality to ensure that more customers achieve scale expansion targets through the our solutions, thereby forming a better reputation and customer stickiness.
The ability to respond quickly to changes in technology
The innovation in the field of technology, especially in O2O, e-commerce, online marketing, and the advancement of new media technology, has brought both challenges and opportunities to our business. Especially in recent years, the technological revolution brought about by the development of AI technology has challenged online products and traditional business models. Our future business performance depends on the management’s ability to adapt to these rapid changes. We will also invest in new technologies and applications, including AI, train employees to become familiar with emerging tools and trends, and continuously innovate services and products.
Ability to manage and develop social media resources
The sustainable development of our branding business depends on the accumulation and application capabilities of our media and KOL resources. Due to the fragmented, explosive, and social attributes brought by emerging social media, as well as the rapid changes in social media platforms themselves. The management of media resources as well as various media content has brought both challenges and opportunities to us. We will continuously and dynamically evaluate and update media resource pools, strengthen the use of cutting-edge technology tools to track hot content trends in real time, enhance the team’s innovative and creative ability in web traffic, and cooperate with more emerging media platforms to expand new online traffic resources, providing a solid support for merchants to establish brand image.
Ability to provide customers with high-quality supply chain solutions
We need to provide stable, reliable, and high-quality product selections to customers, which can help generate better customer stickiness. In the supply chain business, the types and quality of products provided by suppliers, the efficiency of warehousing and logistics, and the reliability of delivery are the key factors that determine whether a merchant can achieve success in its daily business operations. A stable and well managed supply chain can ensure uninterrupted product supply, which helps to improve customer satisfaction and loyalty. Our management is committed to establishing strong relationships with suppliers and utilizing data analysis for demand forecasting, reducing risks associated with supply chain disruptions, and ensuring that we can effectively meet the various delivery needs of customers in different regions and business segments. In addition, we will also adopt a commitment to sustainable development and ethical procurement in its supply chain management process, which not only aligns with its corporate values but also resonates positively with customers who share the same values.
| 154 |
Key Components of Results of Operations
Revenues
We generated revenue primarily from three streams, including:
| (1) | Provision of branding services |
We offer branding services from deployment of mobile app ads on social media or television ads on TV shows for the purpose of running advertising campaigns for our customers. We acts as an agent between customers and medias by helping customers procure advertisements on various medias and facilitate ad deployment on their preferred advertising channels. We recognize branding service revenues when we transfers the control of the service commitments. We facilitate the advertising services under cost per click (“CPC”) and cost per acquisition (“CPA”) pricing model of media. Under either pricing model of media, we recognize revenues at the point of time as the medias deliver advertising services at the point in time.
| (2) | Provision of online software services |
We operate an advanced online application software named “JiManMan”, which offers digital marketing tools that help business partners attract new customers and enhance retention through effective engagement strategies. We recognize revenues ratably over the period during which the online software services are provided.
| (3) | Supply of food products |
We sell food products to our customers and generates revenue from the sales. Revenue is recognized at the point when the food products are accepted by the customers.
For the six months ended December 31, 2024 and 2023 and for the years ended June 30, 2024 and 2023, the revenues, by service type, were disaggregated in the following table:
| For the fiscal years ended June 30, | For the six months ended December 31, | |||||||||||||||
| 2024 | 2023 | 2024 | 2023 | |||||||||||||
| Supply of food products | $ | 5,278,820 | $ | 18,378,971 | $ | 1,586,587 | $ | 4,136,849 | ||||||||
| Provision of branding services | 4,812,897 | 1,453,843 | 9,930,672 | 1,369,540 | ||||||||||||
| Provision of online software services | 2,524,787 | 1,926,471 | 1,363,517 | 1,213,403 | ||||||||||||
| $ | 12,616,504 | $ | 21,759,285 | $ | 12,880,776 | $ | 6,719,792 | |||||||||
Cost of revenues
Cost of revenues primarily consists of cost of food products, cost incurred for marketing services on the Company’s online application software, staff cost and other related expenses which are directly attributable to branding services and online software services.
| 155 |
Selling and marketing expenses
Selling and marketing expenses primarily consist of (i) promotion and advertising expenses, (ii) payroll and welfare expenses, including salaries, social insurance and housing funds for our personnel in our sales department; (iii) travel expenses; and (iii) other miscellaneous expenses.
| For the fiscal years ended June 30, | For the six months ended December 31, | |||||||||||||||
| 2024 | 2023 | 2024 | 2023 | |||||||||||||
| Promotion and advertising expenses | $ | 1,132,793 | $ | 530,900 | $ | 1,168,844 | $ | 176,909 | ||||||||
| Payroll and welfare expenses | 499,002 | 525,398 | 321,914 | 23,821 | ||||||||||||
| Travel expenses | 24,970 | 84,692 | 42,092 | - | ||||||||||||
| Others | 104,247 | 124,924 | 27,103 | 48 | ||||||||||||
| $ | 1,761,012 | $ | 1,265,914 | $ | 1,559,953 | $ | 200,778 | |||||||||
General and administrative expenses
General and administrative expenses primarily consist of (i) payroll and welfare expenses, including salaries, social insurance and housing funds for our personnel in our general and administrative department, (ii) office rental expenses, (iii) consulting service expenses; (iv) (reversal) of provision for credit losses; and (v) other miscellaneous expenses.
| For the fiscal years ended June 30, | For the six months ended December 31, | |||||||||||||||
| 2024 | 2023 | 2024 | 2023 | |||||||||||||
| Payroll and welfare expenses | $ | 404,376 | $ | 1,664,283 | $ | 286,805 | $ | 492,067 | ||||||||
| Operating lease expenses | 556,135 | 212,899 | 111,220 | 295,099 | ||||||||||||
| Consulting service expenses | - | 539,764 | 101,862 | 149,215 | ||||||||||||
| (Reversal) of provision for credit losses | (514,063 | ) | 94,702 | - | - | |||||||||||
| Others | 12,689 | 202,829 | 57,965 | 23,986 | ||||||||||||
| $ | 459,137 | $ | 2,714,478 | $ | 557,852 | $ | 960,367 | |||||||||
| 156 |
Taxation
Cayman Islands
Under the current laws of the Cayman Islands, we are not subject to tax on income or capital gains. Additionally, upon payments of dividends by us or our subsidiaries in the Cayman Islands to their shareholders, no withholding tax will be imposed.
British Virgin Islands
Under the current and applicable laws of the British Virgin Islands, subsidiary in the British Virgin Islands is not subject to tax on income or capital gains.
Hong Kong
Under the Hong Kong tax laws, subsidiary in Hong Kong is subject to Hong Kong Profits Tax on the taxable income as reported in its statutory financial statements adjusted in accordance with relevant Hong Kong tax laws. The applicable tax rate for the first HKD$2 million of assessable profits is 8.25% and assessable profits above HKD$2 million will continue to be subject to the rate of 16.5% for corporations in Hong Kong.
China
Effective from January 1, 2008, the PRC’s statutory, EIT rate is 25% in accordance with the implementation rules of EIT Law.
The PRC subsidiaries are qualified as small and micro-sized enterprises (“SMEs”) for the years ended June 30, 2024 and 2023. In accordance with the implementation rules of EIT Law, SMEs are entitled to a reduced EIT rate of 20%, 75% reduction of taxable income for the first RMB3,000,000 taxable income, and no reduction for the remaining taxable income for the years ended June 30, 2024 and 2023 and for the six months ended December 31, 2024 and 2023.
| 157 |
Results of Operations
For the years ended June 30, 2024 and 2023
The following table sets forth a summary of our consolidated results of operations for the years ended June 30, 2024 and 2023. This information should be read together with our consolidated financial statements and related notes included elsewhere herein. The operating results in any period are not necessarily indicative of the results that may be expected for any future period.
| For the Six Months Ended December 31, | Changes | |||||||||||||||
| 2024 | 2023 | Amount | % | |||||||||||||
| Revenues | $ | 12,880,776 | $ | 6,719,792 | $ | 6,160,984 | 92 | % | ||||||||
| Cost of revenues | (8,855,246 | ) | (6,077,958 | ) | (2,777,288 | ) | 46 | % | ||||||||
| 4,025,530 | 641,834 | 3,383,696 | 527 | % | ||||||||||||
| Operating expenses: | ||||||||||||||||
| Selling and marketing expenses | (1,559,953 | ) | (200,778 | ) | (1,359,175 | ) | 677 | % | ||||||||
| General and administrative expenses | (557,852 | ) | (960,367 | ) | 402,515 | (42 | )% | |||||||||
| Total operating expenses | (2,117,805 | ) | (1,161,145 | ) | (956,660 | ) | 82 | % | ||||||||
| Income (loss) from operations | 1,907,725 | (519,311 | ) | 2,427,036 | (467 | )% | ||||||||||
| Other income (expenses): | ||||||||||||||||
| Interest expenses, net | (149,043 | ) | (50,883 | ) | (98,160 | ) | 193 | % | ||||||||
| Other (expenses) income, net | (28,214 | ) | 185,534 | (213,748 | ) | (115 | )% | |||||||||
| (Loss) income before income taxes | 1,730,468 | (384,660 | ) | 2,115,128 | (550 | )% | ||||||||||
| Income tax expense | (297,253 | ) | (110,990 | ) | (186,263 | ) | 168 | % | ||||||||
| Net income (loss) | $ | 1,443,215 | $ | (495,650 | ) | $ | 1,928,865 | (389 | )% | |||||||
Revenues
Our revenues increased by approximately $6.2 million, or 92% from approximately $6.7 million for the six months ended December 31, 2023 to $12.9 million for the six months ended December 31, 2024. The increase was primarily attributable to an increase of approximately $8.6 million in branding services and $0.2 million in online software services, respectively, partially net off against a decrease of approximately $2.6 million in revenues generated from supply of food products.
Our revenues in branding services increased by approximately $8.6 million, or 86% as a result of our collaboration of two of China’s leading reality TV shows. We gained increasing exposure among our target customers. More customers approached us for branding services on the TV shows and branding promotion services on social medias.
Our revenues in online software services increased by approximately $0.2 million, or 11%, which was a result of continuous cooperation with dealers in different areas over the PRC.
The decrease in supply of food products was because we intended to place more focus on development of branding services which contribute higher gross margin, as well as due to supply shortages caused by extreme weather and flooding in key agricultural regions during the reporting period.
Cost of revenues
Our cost of revenues increased by approximately $2.8 million, or 46% from approximately $6.1 million for the six months ended December 31, 2023 to $8.9 million for the six months ended December 31, 2024. The increase in cost of revenues was primarily due to an increase of approximately $5.1 million in cost of providing branding services and approximately $0.1 million in cost of providing online software services which were in line with increase in revenues from related revenues streams, partially offset by a decrease of approximately $2.5 million in cost of food products which was also in line with decrease of revenues from supply of food products.
| 158 |
Gross margin
As a result of foregoing, for the six months ended December 31, 2024 and 2023, our gross margin for supply of food products was stable at 0.5% and 1.8%, and our gross margin for online software services was stable at 6% and 6%, respectively.
Our gross margin for branding services increased from 36% for the six months ended December 31, 2023 to 40% for the six months ended December 31, 2024. The increase was primarily due to increase in revenues as a result of increasing number of customers while the cost were primarily comprised of fixed labor cost.
Selling and marketing expenses
Our selling and marketing expenses increased by approximately $1.4 million, or 677% to $1.6 million for the six months ended December 31, 2024. The increase was primarily due to an increase of approximately $1.0 million in promotion and advertising expenses which were incurred for our branding services and an increase of approximately $0.3 million
General and administrative expenses
Our general and administrative expenses decreased from approximately $1.0 million for the six months ended December 31, 2023 to approximately $0.6 million for the six months ended December 31, 2024. The decrease was primarily caused by a decrease of approximately $0.2 million in payroll and welfare expenses because we laid off certain administrative department staff and a decrease of approximately $0.2 million in office rental expenses because we terminated one lease arrangement in the six months ended December 31, 2024.
Interest expenses, net
The interest expenses increased from approximately $50,900 for the six months ended December 31, 2023 to approximately $0.1 million for the six months ended December 31, 2024. The increase was primarily caused by increase of bank borrowings during the six months ended December 31, 2024. For the years ended June 30, 2024 and 2023, we borrowed approximately $4.4 million and $1.6 million from banks, respectively.
Other (expenses) income, net
For the six months ended December 31, 2024, we recorded other expenses of approximately $28,200, which was primarily comprised of impairment loss of approximately $51,600 from disposal of an equity investee, partially offset by rental income of approximately $23,100 from sub-lease arrangement.
For the six months ended December 31, 2023, we recorded other income of approximately $0.2 million, which was primarily comprised of rental income of approximately $0.2 million from sub-lease arrangement.
Income tax expenses
We recorded income tax expenses of approximately $0.3 million for the six months ended December 31, 2024. The income tax expenses were comprised of current income tax expenses of approximately $0.5 million arising from our profit-making subsidiaries, and deferred income tax benefits of approximately $0.2 million due to utilization of net operating losses brought forward by our profit-making subsidiaries which incurred loss in the year of 2024.
We recorded income tax expenses of approximately $0.1 million for the six months ended December 31, 2023. The income tax expenses were comprised of current income tax expenses of approximately $9,500 arising from our profit-making subsidiaries, and deferred income tax benefits of approximately $0.1 million from net operating losses incurred by certain subsidiaries.
Net income (loss)
As a result of the foregoing, our net income (loss) changed by approximately $1.9 million, or 389%, from net loss of approximately $0.5 million for the six months ended December 31, 2023 to net income of approximately $1.4 million for the same period ended December 31, 2024.
| 159 |
For the years ended June 30, 2024 and 2023
The following table sets forth a summary of our consolidated results of operations for the years ended June 30, 2024 and 2023. This information should be read together with our consolidated financial statements and related notes included elsewhere herein. The operating results in any period are not necessarily indicative of the results that may be expected for any future period.
| For the Years Ended June 30, | Changes | |||||||||||||||
| 2024 | 2023 | Amount | % | |||||||||||||
| Revenues | $ | 12,616,504 | $ | 21,759,285 | $ | (9,142,781 | ) | (42 | )% | |||||||
| Cost of revenues | (8,771,098 | ) | (20,731,636 | ) | 11,960,538 | (58 | )% | |||||||||
| 3,845,406 | 1,027,649 | 2,817,757 | 274 | % | ||||||||||||
| Operating expenses: | ||||||||||||||||
| Selling and marketing expenses | (1,761,012 | ) | (1,265,914 | ) | (495,098 | ) | 39 | % | ||||||||
| General and administrative expenses | (459,137 | ) | (2,714,478 | ) | 2,255,341 | (83 | )% | |||||||||
| Total operating expenses | (2,220,149 | ) | (3,980,392 | ) | 1,760,243 | (44 | )% | |||||||||
| Income (loss) from operations | 1,625,257 | (2,952,743 | ) | 4,578,000 | (155 | )% | ||||||||||
| Other income (expenses): | ||||||||||||||||
| Interest expenses, net | (107,958 | ) | (34,669 | ) | (73,289 | ) | 211 | % | ||||||||
| Other income, net | 185,179 | 120,948 | 64,231 | 53 | % | |||||||||||
| Income (loss) before income taxes | 1,702,478 | (2,866,464 | ) | 4,568,942 | (159 | )% | ||||||||||
| Income tax (expense) benefits | (581,633 | ) | 128,389 | (710,022 | ) | (553 | )% | |||||||||
| Net income (loss) | $ | 1,120,845 | $ | (2,738,075 | ) | $ | 3,858,920 | (141 | )% | |||||||
Revenues
Our revenues decreased by approximately $9.1 million, or 42% from approximately $21.8 million for the year ended June 30, 2023 to $12.6 million for the year ended June 30, 2024. The decrease was primarily attributable to a decrease of approximately $13.1 million in revenues generated from supply of food products, partially net off against an increase of approximately $3.4 million in branding services and $0.6 million in online software services, respectively.
The decrease in supply of food products was because we intended to place more focus on development of branding services which contribute higher gross margin.
Our revenues in branding services increased by approximately $3.4 million, or 70% as a result of our collaboration of two of China’s leading reality TV shows. We gained increasing exposure among our target customers. More customers approached us for branding services on the TV shows and branding promotion services on social medias.
Our revenues in online software services increased by approximately $0.6 million, or 24%, which was a result of continuous cooperation with dealers in different areas over the PRC.
Cost of revenues
Our cost of revenues decreased by approximately $11.9 million, or 58% from approximately $20.7 million for the year ended June 30, 2023 to $8.8 million for the year ended June 30, 2024. The decrease in cost of revenues was primarily due to a decrease of approximately $14.8 million in cost of food products which was in line with decrease of revenues from supply of food products, partially offset by an increase of approximately $2.3 million in cost of providing branding services and approximately $0.6 million in cost of providing online software services which were also in line with increase in revenues from related revenues streams.
| 160 |
Gross margin
As a result of foregoing, for the years ended June 30, 2024 and 2023, our gross margin for supply of food products was stable at 0.5% and 0.5%, and our gross margin for online software services was stable at 6% and 6%, respectively.
Our gross margin for branding services increased from 56% for the year ended June 30, 2023 to 76% for the year ended June 30, 2024. The increase was primarily due to increase in revenues as a result of increasing number of customers while the cost were primarily comprised of fixed labor cost.
Selling and marketing expenses
Our selling and marketing expenses increased by approximately $0.5 million, or 39% to $1.7 million for the year ended June 30, 2024. The decrease was primarily due to an increase of approximately $0.6 million in promotion and advertising expenses which were incurred for our branding services.
General and administrative expenses
Our general and administrative expenses decreased from approximately $2.7 million for the year ended June 30, 2023 to approximately $0.5 million for the year ended June 30, 2024. The decrease was primarily caused by a decrease of approximately $1.3 million in payroll and welfare expenses because we laid off certain administrative department staff, a decrease of consulting service expenses of approximately $0.5 million because we did not engage such services in the year of 2024, a reversal of provision of credit losses of approximately $0.5 million in the year of 2024 as compared with a provision of approximately $0.1 million for the year of 2023, partially offset against an increase of approximately $0.3 million in office rental expenses because we leased larger office spaces in the year of 2024.
Interest expenses, net
The interest expenses increased from approximately $35,000 for the year ended June 30, 2023 to approximately $0.1 million for the year ended June 30, 2024. The increase was primarily caused by increase of bank borrowings during the year ended June 30, 2024. For the years ended June 30, 2024 and 2023, we borrowed approximately $3.0 million and $1.7 million from banks, respectively.
Other income, net
For the year ended June 30, 2024, we recorded other income of approximately $0.2 million, which was primarily comprised of rental income of approximately $0.2 million from sub-lease arrangement.
For the year ended June 30, 2023, we recorded other income of approximately $0.1 million, which was primarily comprised of rental income of approximately $56,800 from sub-lease arrangement, share of equity income of approximately $31,300 from an equity investee, and warehouse income of approximately $35,000.
Income tax expenses
We recorded income tax expenses of approximately $0.6 million for the year ended June 30, 2024. The income tax expenses arose from our profit-making subsidiaries.
We recorded income tax benefits of approximately $0.1 million for the year ended June 30, 20234. The income tax benefits represented deferred tax benefits arising from net operating losses.
Net income (loss)
As a result of the foregoing, our net income (loss) changed by approximately $3.8 million, or 141%, from net loss of approximately $2.7 million for the year ended June 30, 2023 to net income of approximately $1.1 million for the same period ended June 30, 2024.
| 161 |
Discussion of Certain Balance Sheet Items
The following table sets forth selected information from our consolidated balance sheets as of December 31, 2024, June 30, 2024 and 2023. This information should be read together with our consolidated financial statements and related notes included elsewhere herein.
| December 31, 2024 | June 30, 2024 | June 30, 2023 | ||||||||||
| ASSETS | ||||||||||||
| Current Assets: | ||||||||||||
| Cash and cash equivalents | $ | 561,413 | $ | 116,126 | $ | 25,649 | ||||||
| Restricted cash | 8,604 | 8,636 | 23,574 | |||||||||
| Accounts receivable | 4,420,217 | 4,186,563 | 12,860,906 | |||||||||
| Prepayments | 3,404,285 | 2,176,616 | 2,262,229 | |||||||||
| Due from related parties | 9,932,221 | 7,867,116 | 5,832,064 | |||||||||
| Loans receivable | 1,116,742 | 1,121,675 | — | |||||||||
| Other current assets | 514,401 | 501,737 | 169,350 | |||||||||
| Total current assets | 19,957,883 | 15,978,469 | 21,173,772 | |||||||||
| Non-current assets: | ||||||||||||
| Long-term investments | 41,100 | 50,981 | 52,565 | |||||||||
| Right of use assets | — | — | 433,747 | |||||||||
| Deferred tax assets | 249,493 | 51,724 | 148,259 | |||||||||
| Total non-current assets | 290,593 | 102,705 | 634,571 | |||||||||
| TOTAL ASSETS | $ | 20,248,476 | $ | 16,081,174 | $ | 21,808,343 | ||||||
| LIABILITIES | ||||||||||||
| Current liabilities | ||||||||||||
| Short-term borrowings | $ | 4,014,084 | $ | 2,999,780 | $ | 1,792,782 | ||||||
| Accounts payable | 2,082,055 | 1,813,921 | 1,659,929 | |||||||||
| Contract liabilities | 579,041 | 187,894 | 1,017,427 | |||||||||
| Income taxes payable | 970,166 | 482,029 | — | |||||||||
| Due to related parties | 3,088,352 | 2,487,845 | 18,882,668 | |||||||||
| Lease liabilities | — | — | 245,504 | |||||||||
| Other current liabilities | 1,030,143 | 1,044,598 | 1,005,178 | |||||||||
| Loans payable | 1,551,970 | 1,517,186 | 1,609,865 | |||||||||
| Total current liability | 13,315,811 | 10,533,253 | 26,213,353 | |||||||||
| TOTAL LIABILITIES | $ | 13,315,811 | $ | 10,533,253 | $ | 26,213,353 | ||||||
Cash, cash equivalents and restricted cash
Cash and cash equivalents consist of funds deposited with banks and financial institutions and cash on hand, which are highly liquid and are unrestricted as to withdrawal or use. The restricted cash represented term deposits in the bank with original maturities more three months. The total balance of cash, cash equivalents and restricted cash were approximately $0.6 million, 0.1 million and $25,600 as of December 31, 2024, June 30, 2024 and 2023, respectively.
As compared with the balance as of June 30, 2024, the change of balance of cash, cash equivalents and restricted as of December 31, 2024 was primarily a result of cash of approximately $0.9 million provided by operating activities and cash of approximately $1.7 million provided by our financing activities, partially net off against approximately $2.2 million used in our investing activities.
As compared with the balance as of June 30, 2023, the change of balance of cash, cash equivalents and restricted as of June 30, 2024 was primarily a result of cash of approximately $9.7 million provided by operating activities, partially net off against approximately $3.2 million used in our investing activities and cash of approximately $6.4 million used in our financing activities.
| 162 |
Accounts receivable
As of December 31, 2024, June 30, 2024 and 2023, we had accounts receivable were comprised of the following:
| December 31, 2024 | June 30, 2024 | June 30, 2023 | ||||||||||
| Accounts receivable | $ | 5,195,741 | $ | 4,965,512 | $ | 14,153,748 | ||||||
| Less: allowance for credit losses | (775,524 | ) | (778,949 | ) | (1,292,842 | |||||||
| Accounts receivable, net | $ | 4,420,217 | $ | 4,186,563 | $ | 12,860,906 | ) | |||||
The accounts receivable as of December 31, 2024 was approximately $5.2 million, increasing by approximately $0.2 million from approximately $5.0 million as of June 30, 2024. The increase was primarily due to increase of accounts receivable of approximately $0.2 million due from customers of supply of food products.
The accounts receivable as of June 30, 2024 was approximately $5.0 million, decreasing by approximately $9.2 million from approximately $14.2 million as of June 30, 2023. The decrease was primarily due to decrease of accounts receivable of approximately $9.3 million due from customers of supply of food products which was in line with decrease of revenues generated from this business line.
For the years ended June 30, 2024 and 2023, we reversed provision of credit losses of approximately $0.5 million and provided allowance of credit losses of approximately $94,700 against accounts receivable, respectively. For the six months ended December 31, 2024, we did not provide credit losses against accounts receivable.
Due from related parties and due to related parties
As of December 31, 2024, June 30, 2024 and 2023, the balances due from related parties represented the loans made to the related parties to support their working capital. The loans were interest free and repayable on demand. As of the date of this report, the Company fully settled outstanding balances due from related parties. The Company had no plans to make loans to related parties in the future.
As of December 31, 2024, June 30, 2024 and 2023, the balances due to related parties were comprised of the borrowings from the related parties to support the Company’s working capital. The loan were interest free and payable on demand.
For details, please refer to Note 12 – Related Parties to the combined financial statements as of June 30, 2024 and 2023, and Note 11 – Related Parties to the unaudited condensed consolidated and combined financial statements as of December 31, 2024 and June 30, 2024.
Loans receivable
For the year ended June 30, 2024, the Company made loans of $1,123,413 to a third party to support the working capital of the third party. The loan was interest-free and repayable on demand. As of the date of this report, the Company has fully settled the loan from the third party. For the six months ended December 31, 2024, the Company did not made loans to third parties. The Company has no plans to make loans to third parties in the future.
Short-term borrowings
For the six months ended December 31, 2024, the Company entered into seven one-year loan agreements with a total amount of $4,263,798 from six banks. The interest rates of the bank borrowings ranged between 3.30% and 3.90%. For the six months ended December 31, 2024, the Company also repaid bank borrowings of $3,358,089 to five banks. For the six months ended December 31, 2024, the Company also entered into a one-year loan agreement in the amount of $139,340 from one financial institution. The interest rates of the bank borrowings ranged between 3.30% and 3.90%. For the six months ended December 31, 2024, the Company also repaid bank borrowings of $3,358,089 to five banks.
| 163 |
For the year ended June 30, 2024, the Company entered into three one-year loan agreements with a total amount of $3,017,385 from two banks. The interest rates of the bank borrowings ranged between 3.62% and 3.90%. For the fiscal year ended June 30, 2024, the Company also repaid bank borrowings of $1,799,358 to two banks.
For the year ended June 30, 2023, the Company entered into two one-year loan agreements with a total amount of $1,869,535 from two banks. The interest rates of the bank borrowings ranged between 3.70% and 4.05%. Both loans were repaid in the fiscal year ended June 30, 2024. For the fiscal year ended June 30, 2023, the Company did not repay bank borrowings to the banks.
Contract liabilities
The contract liabilities represented the advance payments from customers for branding services.
As compared with the balance as of June 30, 2024, the contract liabilities increased by approximately $0.4 million to approximately $0.6 million as of December 31, 2024. The increase was primarily because of an increase of approximately $0.3 million from advance payments from our branding service customers.
As compared with the balance as of June 30, 2023, the contract liabilities decreased by approximately $0.8 million to approximately $0.2 million as of June 30, 2024. The decrease was primarily because we did not require advance payments from our branding service customers in the year of 2024 as a means to attract more customers.
Liquidity and Capital Resources
Our primary sources of liquidity have historically been capital injections from our shareholders and borrowings from banks and third parties. Our ordinary liquidity requirements relate to expenditures on promotion and advertising for our branding services, purchase of food products and funding for our working capital needs, and general corporate purposes.
For the six months ended December 31, 2024, we borrowed approximately $4.4 million, $42,200 and $4.0 million from banks, third parties and related parties, respectively. For the six months ended December 31, 2023, we borrowed approximately $1.6 million, $0.3 million and $1.2 million from banks, third parties and related parties, respectively. For related party borrowings, see “Note 12—Related Party Transactions” in the notes to our combined financial statements, and “Note 11—Related Party Transactions” in the notes to our unaudited condensed combined and consolidated financial statements.
For the year ended June 30, 2024, we borrowed approximately $3.0 million, $1.0 million and $4.9 million from banks, third parties and related parties, respectively. For the year ended June 30, 2023, we borrowed approximately $1.9 million, $0.8 million and $18.5 million from banks, third parties and related parties, respectively. For related party borrowings, see “Note 5—Related Party Transactions” in the notes to our consolidated financial statements.
As of December 31, 2024, we had working capital of approximately $6.6 million. As of December 31, 2024, we had current assets of approximately $20.0 million, primarily including cash and cash equivalents of approximately $0.6 million, accounts receivable of approximately $4.4 million, due from related parties of approximately $9.9 million and loans receivable of approximately $1.1 million. We expect to realize these current assets in the twelve months from the date of this proxy statement/prospectus. On the other hand, we had current liabilities of approximately $13.3 million which were primarily comprised of short-term borrowings of approximately $4.0 million, accounts payable of approximately $2.1 million, due to related parties of approximately $3.1 million, loans payable of approximately $1.6 million and other current liabilities of approximately $1.0 million. Our current assets could well cover the current liabilities.
Our ability to continue as a going concern is dependent on our management’s ability to successfully execute our business plan, which may include increasing revenue while controlling operating cost and expenses to generate positive operating cash flows and obtain financing from outside sources. There can be no guarantee that financing will be available on acceptable terms or at all. Debt financing, if available, could impose additional cash payment obligations, additional covenants and operating restrictions. Future financings could result in the dilution of our existing shareholding. In addition, any of the items discussed in detail under “Risk Factors” elsewhere in this prospectus may also significantly impact our liquidity.
| 164 |
For the years ended June 30, 2024 and 2023 and for the six months ended December 31, 2024 and 2023, all of our revenues have been in the form of Renminbi. We expect a material portion of revenues are likely to continue to be in the form of Renminbi. Under existing PRC foreign exchange regulations, payments of current account items, including profit distributions, interest payments and trade and service-related foreign exchange transactions, can be made in foreign currencies without prior SAFE approval as long as certain routine procedural requirements are fulfilled. Therefore, our PRC operating entities are allowed to pay dividends in foreign currencies to us without prior SAFE approval by following certain routine procedural requirements. However, current PRC regulations permit our PRC operating entities to pay dividends to us only out of its accumulated profits, if any, determined in accordance with Chinese accounting standards and regulations. Our PRC operating entities are required to set aside at least 10% of its after-tax profits after making up previous years’ accumulated losses each year, if any, to fund certain reserve funds until the total amount set aside reaches 50% of their registered capital. These reserves are not distributable as cash dividends. Historically, our PRC operating entities have not paid dividends to us, and they will not be able to pay dividends until they generate accumulated profits. Furthermore, capital account transactions, which include foreign direct investment in and loans to our PRC operating entities, must be approved by and/or registered with SAFE, its local branches and certain local banks.
As a Cayman Islands exempted company and offshore holding company, the Cayman holding company is permitted under PRC Laws and regulations to provide funding to our PRC operating entities only through loans or capital contributions, subject to the approval, filings or registration of government authorities and limits on the amount of capital contributions and loans. This may delay us from using the proceeds from any future offering to make loans or capital contributions to our PRC operating entities.
Cash flows
The following table sets forth a summary of our cash flows for the years ended June 30, 2024 and 2023 and for the six months ended December 31, 2024 and 2023 presented:
| For the Years Ended June 30, | For the Six Months Ended December 31, | |||||||||||||||
| 2024 | 2023 | 2024 | 2023 | |||||||||||||
| Net cash provided by (used in) operating activities | $ | 9,699,666 | $ | (10,233,621 | ) | $ | 921,688 | $ | 13,074,294 | |||||||
| Net cash used in investing activities | (3,183,244 | ) | (1,812,621 | ) | (2,177,373 | ) | (2,276,823 | ) | ||||||||
| Net cash (used in) provided by financing activities | (6,440,329 | ) | 11,914,252 | 1,709,105 | (10,799,972 | ) | ||||||||||
| Effect of Exchange rate on cash, cash equivalents and restricted cash | (555 | ) | (9,059 | ) | (8,165 | ) | (18,344 | ) | ||||||||
| Net change in cash, cash equivalents and restricted cash | 75,539 | (141,048 | ) | 445,255 | (20,845 | ) | ||||||||||
| Cash, cash equivalents and restricted cash at beginning of the year | 49,223 | 190,271 | 124,762 | 49,223 | ||||||||||||
| Cash, cash equivalents and restricted cash at end of the year | $ | 124,762 | $ | 49,223 | $ | 570,017 | $ | 28,378 | ||||||||
Operating activities
For the six months ended December 31, 2024 and 2023
Net cash provided operating activities for the six months ended December 31, 2024 was approximately $0.9 million, primarily attributable to net income of approximately $1.4 million, adjusted for non-cash items of deferred tax benefits of approximately $0.2 million and changes in operating assets and liabilities, including (i) an increase of approximately $0.3 million in accounts receivable which was primarily caused by a delay in collection of accounts receivable from customers of supply food products, (ii) a decrease of approximately $1.3 million in prepayments due to a decrease in supply food business, (iii) an increase of approximately $0.3 million in accounts payable, (iv) an increase of approximately $0.4 million in contract liabilities as we required of advance payments from customers of branding services, and (v) an increase of approximately $0.5 million in income tax payable due to profit generating by certain of our subsidiaries.
| 165 |
Net cash provided operating activities for the six months ended December 31, 2023 was approximately $13.1 million, primarily attributable to net loss of approximately $0.5 million, adjusted for non-cash items of amortization of right-of-use assets of approximately $0.4 million and deferred tax expenses of approximately $0.1 million and changes in operating assets and liabilities, including (i) a decrease of approximately $9.7 million in accounts receivable due to collection from customers of supply food products, (ii) a decrease of approximately $2.3 million in prepayments and an increase of approximately $2.6 million in accounts payable because we utilized credit terms offered by our suppliers, and (iii) a decrease of approximately $1.0 million in contract liabilities as we did not require advance payments from our branding service customers in the first half of 2024.
For the years ended June 30, 2024 and 2023
Net cash provided by operating activities for the year ended June 30, 2024 was approximately $9.7 million, primarily attributable to net income of approximately $1.1 million, adjusted for non-cash items of reversal of provision for credit losses of approximately $0.5 million and a decrease of approximately $9.2 million in accounts receivable which was primarily caused by a decrease of accounts receivable of approximately $9.3 million due from customers of supply food products. The decrease in accounts receivable was in line with the decrease in revenues generated from supply food products.
Net cash used in operating activities for the year ended June 30, 2023 was approximately $10.2 million, primarily attributable to net loss of approximately $2.7 million, adjusted for non-cash items of provision for credit losses of approximately $0.1 million and an increase of approximately $7.9 million in accounts receivable due from customers of supply food products.
Investing activities
For the six months ended December 31, 2024 and 2023
For the six months ended December 31, 2024, we reported cash used in investing activities of approximately $2.2 million, which was primarily caused by advance of approximately $2.8 million made to a third party, partially net off against repayment of approximately $0.7 million from related parties.
For the six months ended December 31, 2023, we reported cash used in investing activities of approximately $2.3 million, which was primarily caused by advance of approximately $1.1 million and $1.2 million made to a third party and certain related parties, respectively.
For the years ended June 30, 2024 and 2023
For the year ended June 30, 2024, we reported cash used in investing activities of approximately $3.2 million, which was primarily caused by advance of approximately $1.2 million and $2.3 million made to a third party and certain related parties, respectively, partially net off against repayment of approximately $0.2 million from related parties.
For the year ended June 30, 2023, we reported cash used in investing activities of approximately $1.8 million which was primarily caused by advance of approximately $3.0 million made to certain related parties, partially net off against repayment of approximately $1.2 million from related parties.
Financing activities
For the six months ended December 31, 2024 and 2023
For the six months ended December 31, 2024, we reported cash provided by financing activities of approximately $1.7 million, which was primarily provided by proceeds of approximately $4.4 million and $4.0 million from bank borrowings and borrowings from related parties, respectively, partially offset against repayment of approximately $3.4 million and $3.4 million to banks and related parties, respectively.
| 166 |
For the six months ended December 31, 2023, we reported cash used in financing activities of approximately $10.8 million, which was primarily used in repayment of approximately $0.4 million, $1.2 million and $12.3 million to banks, third parties and related parties, respectively, partially offset against proceeds of approximately $4.4 million and $4.0 million from bank borrowings and borrowings from related parties, respectively,
For the years ended June 30, 2024 and 2023
For the year ended June 30, 2024, we reported cash used in financing activities of approximately $6.4 million, which was primarily provided by proceeds of approximately $3.0 million, $1.0 million and $4.9 million from bank borrowings, borrowings from a third party and borrowings from related parties, respectively, partially offset against repayment of approximately $1.8 million, $1.1 million and $12.5 million to banks, a third party and related parties, respectively.
For the year ended June 30, 2024, we reported cash provided by financing activities of approximately $11.9 million, which was primarily provided by proceeds of approximately $1.9 million, $0.8 million and $18.5 million from bank borrowings, borrowings from a third party and borrowings from related parties, respectively, partially offset against repayment of approximately $9.2 million to related parties.
Off-Balance Sheet Arrangements
As of December 31, 2024 and June 30, 2024, we are not a party to any off-balance sheet arrangements, including guarantee contracts, retained or contingent interests, or unconsolidated variable interest entities that either have, or are reasonably likely to have, a current or future material effect on our consolidated financial statements.
Quantitative and Qualitative Disclosures About Market Risk
Foreign Exchange Risk
Foreign currency risk is the risk of loss resulting from changes in foreign currency exchange rates. Fluctuations in exchange rates between the RMB and other currencies in which we conduct business may affect our financial position and results of operations. Our functional currency is U.S. dollar. We are mainly exposed to foreign exchange risk arising from our cash and cash equivalents dominated in RMB.
In addition, we have operating subsidiaries which are located in the PRC with all of the transactions settled in RMB. We consider that our business in the PRC is not exposed to any significant foreign exchange risk as there are no significant financial assets or liabilities of these subsidiaries denominated in the currencies other than the functional currency.
Interest Rate Risk
Our exposure to interest rate risk primarily relates to the interest income generated by excess cash, which is mostly held in interest-bearing bank deposits and financial products purchased from financial institutions. Interest-earning instruments carry a degree of interest rate risk. We have not been exposed to material risks due to changes in interest rates, and we have not used any derivative financial instruments to manage our interest risk exposure.
Trend Information
We are not aware of any trends, uncertainties, demands, commitments or events that are reasonably likely to have a material effect on our revenues, net income, profitability, liquidity or capital resources, or that would cause reported financial information not necessarily to be indicative of future operating results or financial condition.
| 167 |
Critical Accounting Estimates
We prepare our financial statements in accordance with U.S. GAAP, which requires our management to make judgments, estimates and assumptions. We continually evaluate these judgments, estimates and assumptions based on our own historical experience, knowledge and assessment of current business and other conditions, our expectations regarding the future based on available information and various assumptions that we believe to be reasonable, which together form our basis for making judgments about matters that are not readily apparent from other sources. Since the use of estimates is an integral component of the financial reporting process, our actual results could differ from those estimates. Some of our accounting policies require a higher degree of judgment than others in their application.
The selection of critical accounting policies, the judgments and other uncertainties affecting application of those policies and the sensitivity of reported results to changes in conditions and assumptions are factors that should be considered when reviewing our financial statements. We believe the following accounting policies involve the most significant judgments and estimates used in the preparation of our financial statements. You should read the following description of critical accounting policies, judgments and estimates in conjunction with our consolidated financial statements and other disclosures included herein.
A list of critical accounting policies, judgements and estimates that are relevant to us is included in note 2 of our consolidated financial statements included elsewhere herein.
Recently issued accounting pronouncements
A list of recently issued accounting pronouncements that are relevant to us is included in note 2 of our consolidated financial statements included elsewhere herein.
| 168 |
RISING DRAGON’S BUSINESS
General
Rising Dragon is a blank check company incorporated as a Cayman Islands exempted company on March 8, 2024 for the purpose of entering into a merger, share exchange, asset acquisition, share purchase, recapitalization, reorganization or similar business combination with one or more businesses or entities, which we refer to as a “target business.”
Rising Dragon has an experienced and highly professional management team, almost all of whom have entrepreneurial experience or experience working for public companies. RDAC’s Chief Executive Officer, Lulu Xing, has extensive experience in business management, and has a strong track record of navigating complex matters. His background in financial management and corporate governance will be especially helpful in guiding the company’s strategic decisions. RDAC’s Chief Financial Officer, Wenyi Shen, has a solid background in accounting and financing as he has worked in an international accounting firm and advanced in the audit field by leading both internal and external audits, including as a senior auditor in Deloitte Touche Tohmatsu CPA Ltd., Shanghai. During his career, he provided audit services from the IPO stage to several large-scale Chinese companies located in China and traded on Hong Kong and mainland China stock markets, including Agricultural Bank of China and Haitong Securities Co, Ltd., and focused on several industries including consumer, entertainment, education, and the Internet. Mr. Shen served as the chief financial officer of Hainan Manaslu Acquisition Corp., a special acquisition purpose company, which merged with Able View Global Inc. (Nasdaq: ABLV) in a business combination in August 2023. Additionally, RDAC’s independent directors will provide public company governance, executive leadership, operational oversight, private equity investment management and capital markets experience. RDAC’s directors have experience with acquisitions, divestitures and corporate strategy and implementation. We believe our management team is well positioned to take advantage of the growing set of acquisition opportunities focused on the companies exhibiting substantial potential in emerging markets driven by innovative technologies or novel business models and that our contacts and relationships, ranging from owners and management teams of private and public companies, private equity funds, investment bankers, attorneys, to accountants and business brokers will allow us to generate an attractive transaction for our shareholders.
Members of our management team and their affiliates may have a conflict of interest in determining whether a particular target business is an appropriate business with which to effectuate an initial business combination. Further, each of our officers and directors may have a conflict of interest with respect to evaluating a particular business combination if the retention or resignation of any such officers and directors was included by a target business as a condition to any agreement with respect to our initial business combination. Additionally, each of our officers and directors presently has, and any of them in the future may have additional, fiduciary or contractual obligations to another entity, including other blank check companies similar to our company, pursuant to which such officer or director may be required to present a business combination opportunity to such entity. Specifically, our executive officers are affiliated with the sponsor and other entities that make, or are looking to make, investments in companies. Accordingly, if any of our officers or directors becomes aware of a business combination opportunity which is suitable for an entity to which he or she has fiduciary or contractual obligations, he or she will honor his or her fiduciary or contractual obligations to present such business combination opportunity to such entity, and only present it to us if such entity rejects the opportunity. We do not believe, however, that the fiduciary duties or contractual obligations of our executive officers will materially affect our ability to complete our business combination. For additional information regarding our executive officers’ and directors’ business affiliations and potential conflicts of interest, see “Management — Directors and Executive Officers” and “Management — Conflicts of Interest.” Our amended and restated memorandum and articles of association provide that, subject to fiduciary duties under Cayman Islands law, we renounce our interest in any corporate opportunity offered to any director or officer unless such opportunity is expressly offered to such person solely in his or her capacity as a director or officer of our company and such opportunity is one we are legally and contractually permitted to undertake and would otherwise be reasonable for us to pursue.
Offering Proceeds Held in Trust
On March 29, 2024, Rising Dragon issued 1,437,500 ordinary shares to the sponsor, Aurora Beacon LLC, a Cayman Islands limited liability company whose ultimate beneficial owner is Mr. Lulu Xing, our Chief Executive Officer and Chairman of the Board. On March 29, 2024, Rising Dragon issued an unsecured promissory note to the sponsor, pursuant to which Rising Dragon may borrow up to an aggregate principal amount of $300,000 (the “Promissory Note”). The Promissory Note is non-interest bearing and payable on the earlier of consummation of the IPO or the date on which Rising Dragon determine not to conduct the IPO. The loan was, at the discretion of the sponsor, due on the earlier of (i) December 31, 2024, (ii) the consummation of the IPO or (iii) the abandonment of the IPO. Rising Dragon repaid this loan from the proceeds of the IPO not being placed in the trust account. As of December 31, 2024, the Company fully repaid $249,831 to the sponsor.
| 169 |
Rising Dragon granted the underwriters a 45-day option to purchase up to 750,000 additional units to cover over-allotments. On October 10, 2024, the underwriters fully exercised the over-allotment option. On October 16, 2024, Rising Dragon consummated its IPO of 5,750,000 units, which includes the full exercise of the over-allotment option granted to the underwriters. Each unit consists of one ordinary share and one right. Each right entitles the holder thereof to receive one-tenth of one ordinary share upon the consummation of an initial business combination. The units were sold at an offering price of $10.00 per unit, generating gross proceeds of $57,500,000. Simultaneously with the closing of the IPO, Rising Dragon consummated the private placement with the sponsor of 254,375 private units, generating total proceeds of $2,543,750. As of June 30, 2025, Rising Dragon had approximately $83,406 of unused net proceeds that were not deposited into the trust account to pay future general and administrative expenses. The net proceeds deposited into the trust account remain on deposit in the trust account earning interest. As of June 30, 2025, there was approximately $59,536,150 held in the trust account.
The private units are identical to the units sold in the IPO except with respect to certain registration rights and transfer restrictions. Subject to certain limited exceptions, the Initial Shareholders have agreed not to transfer, assign or sell any of the private units and underlying ordinary shares until 30 days after the completion of an initial business combination or earlier if, subsequent to an initial business combination, RDAC consummates a subsequent liquidation, merger, stock exchange or other similar transaction which results in all of RDAC shareholders having the right to exchange their ordinary shares for cash, securities or other property.
Subject to certain limited exceptions, the Initial Shareholders have agreed not to transfer, assign or sell their founder shares until six months after the date of the consummation of the initial business combination or earlier if, subsequent to the initial business combination, RDAC consummates a subsequent liquidation, merger, stock exchange or other similar transaction which results in all of RDAC shareholders having the right to exchange their ordinary shares for cash, securities or other property. Notwithstanding the foregoing if the last reported sale price of RDAC ordinary shares equal or exceeds $12.00 per share (as adjusted for stock splits, stock capitalizations, reorganization, recapitalizations and other similar transactions) for any 20 trading days within any 30 trading day period commencing at least 150 days after its initial business combination the founder shares will not be subject to such transfer restrictions.
Furthermore, the Initial Shareholders have agreed (A) to vote the ordinary shares underlying the Private Units, or “private shares,” and the founder shares in favor of any proposed business combination, (B) not to propose, or vote in favor of, an amendment to the Existing Charter that would stop its public shareholders from converting or selling their shares to us in connection with a business combination or affect the substance or timing of Rising Dragon’s obligation to redeem 100% of its Public Shares if it does not complete a business combination within 15 months (or up to 21 months if it extends the period of time to consummate a business combination, as described in more detail herein) from the closing of the IPO unless it provides public shareholders with the opportunity to redeem their public shares from the trust account in connection with any such vote, (C) not redeem any ordinary shares beneficially owned by him, her, or it (as well as any other shares acquired in or after the IPO into the right to receive cash from the trust account in connection with such shareholder approval (or sell any shares to RDAC in any tender offer in connection with the RDAC’s proposed initial business combination) or a vote to amend the provisions of the Existing Charter relating to shareholders’ rights or pre-business combination activity and (D) not participate in any liquidating distribution upon winding up if a business combination is not consummated. The Sponsor transferees as the insider shares and provided the transferees agree to the same terms and restrictions as the permitted transferees of the insider shares must agree to, each as described above until 30 calendar days after the completion of Rising Dragon’s initial business combination.
The Initial Shareholders have agreed to waive their redemption rights with respect to their founder shares and private units in connection with the consummation of an initial business combination. The Initial Shareholders have also agreed to waive their redemption rights with respect to any public shares purchased during or after the IPO in connection with the consummation of an initial business combination. In addition, the Initial Shareholders have agreed to waive their rights to liquidating distributions with respect to its founder shares if RDAC fails to consummate an initial business combination within the required time period. However, if the Initial Shareholders acquire public shares in or after the IPO, they will be entitled to receive liquidating distributions with respect to such public shares if RDAC fails to consummate an initial business combination within the required time period.
In accordance with the Existing Charter, the amounts held in the trust account may only be used by Rising Dragon upon the consummation of a business combination, except that there can be released to Rising Dragon, from time to time, any interest earned on the funds in the trust account that it may need to pay its tax obligations and up to US$50,000 of such interest may also be released from the trust account to pay any liquidation expenses of Rising Dragon if applicable. The remaining interest earned on the funds in the trust account will not be released until the earlier of the completion of a business combination and Rising Dragon’s liquidation.
| 170 |
As disclosed in Rising Dragon’s prospectus in relation to the IPO, RDAC has until January 15, 2026, or 15 months from the closing of its IPO to consummate an initial business combination. If RDAC anticipates that it may not be able to consummate our initial business combination within 15 months, RDAC may extend the period of time to consummate a business combination up to six times, each by an additional one month (for a total of up to 21 months to complete a business combination). Pursuant to the terms of the Existing Charter and the trust agreement entered into between RDAC and Continental Stock Transfer & Trust Company, in order to extend the time available to consummate the initial business combination, the Sponsor or its affiliates or designees, upon five days advance notice prior to the applicable deadline, must deposit into the trust account $189,750 ($0.033 per share) on or prior to the date of the applicable deadline, for each one month extension ($1,138,500 if RDAC extends for the full six months). Any such payments would be made in the form of a loan. Any such loans will be non-interest bearing and payable upon the consummation of the initial business combination. If RDAC completes its initial business combination, RDAC would repay such loaned amounts out of the proceeds of the trust account released to RDAC. If RDAC does not complete a business combination, RDAC will not repay such loans. Furthermore, the letter agreement with RDAC’s initial shareholders contains a provision pursuant to which the Sponsor has agreed to waive its right to be repaid for such loans out of the funds held in the trust account in the event that RDAC does not complete a business combination. The Sponsor and its affiliates or designees are not obligated to fund the trust account to extend the time to complete the initial business combination. RDAC’s shareholders will not be able to vote on or redeem their shares in connection with any such extension.
Rising Dragon’s units, ordinary shares, and rights are each quoted on Nasdaq, under the symbols “RDACU”, “RDAC”, and “RDACR”, respectively. RDAC’s units commenced trading on Nasdaq on October 11, 2024. RDAC’s ordinary shares and public rights underlying the units sold in the IPO commenced trading separately on December 2, 2024 on Nasdaq.
Business Combination Activities
On January 27, 2025, Rising Dragon entered into the Merger Agreement by and among Rising Dragon, PubCo, Merger Sub, HZJL and certain other parties. Pursuant to the terms of the Merger Agreement, the Business Combination will be completed through a two-step process consisting of the Reincorporation Merger and the Acquisition Merger. Rising Dragon will merge with and into PubCo resulting in all Rising Dragon shareholders becoming shareholders of PubCo. Concurrently therewith, Merger Sub will merge with and into HZJL, resulting in PubCo acquiring 100% of the issued and outstanding equity securities of HZJL.
In the event that the Business Combination is not consummated by January 15, 2026, or up to July 15, 2026 (such later date that Rising Dragon decides to extend), Rising Dragon will distribute the proceeds held in the trust account to its public shareholders, liquidate and dissolve. See section titled “Summary of the Proxy Statement/Prospectus — The Business Combination and the Merger Agreement” for more information.
Since the IPO, Rising Dragon’s sole business activity has been identifying and evaluating suitable acquisition transaction candidates.
The Sponsor
The Sponsor, Aurora Beacon LLC, is a Cayman Islands limited liability company whose ultimate beneficial owner is Mr. Lulu Xing. Mr. Xing is a citizen and a resident of the PRC. The Sponsor was formed prior to the IPO for the purpose of acting as the sponsor of Rising Dragon. Other than its investment in Rising Dragon and its work on behalf of Rising Dragon, the Sponsor is not engaged in any business. The Sponsor is controlled by Mr. Lulu Xing, its manager. Mr. Lulu Xing has 100% economic interest in the ordinary shares and the Private Units of Rising Dragon held by the Sponsor. Other than Mr. Lulu Xing, who we refer to in this proxy statement/prospectus as the “Sponsor Affiliate,” no other person has a direct or indirect material interest in the Sponsor. The Sponsor, controlled by the Sponsor Affiliate, is responsible for funding in connection with the extensions. The Sponsor and Sponsor Affiliate also provide working capital and advance funds used for transaction expenses to Rising Dragon from time to time. The Sponsor Affiliate, Mr. Lulu Xing, serves as Chairman of the Board and his material roles and responsibilities, as provided by the amended and restated memorandum and articles of association, include, calling, adjourning, and chairing an extraordinary meeting, proposing amendments to the organization documents of Rising Dragon, and together with other directors, managing the business of Rising Dragon and delegating such management power to authorized officers.
| 171 |
The Sponsor made an initial investment of $25,000 on March 29, 2024 in exchange for the issuance of 1,437,500 ordinary shares of Rising Dragon, or approximately $0.017 per share, which included an aggregate of up to 187,500 ordinary shares subject to forfeiture to the extent that the underwriters’ over-allotment option was not exercised in full. In connection with the closing of the IPO, the Sponsor purchased 254,375 Private Units at a price of $10.00 per unit, for an aggregate purchase price of $2,543,750. Thus, such parties may have more of an economic incentive for us to enter into an initial business combination with a riskier, weaker-performing or financially unstable business, or an entity lacking an established record of revenues or earnings, than would be the case if such parties had paid the full offering price for their founder shares.
Redemption rights for public shareholders upon consummation of our initial business combination
RDAC will provide its public shareholders with the opportunity to redeem all or a portion their shares upon the consummation of our initial business combination at a per-share price, payable in cash, equal to the aggregate amount then on deposit in the trust account, including interest (net of taxes payable), divided by the number of the then issued and outstanding public shares, subject to the limitations described herein. The amount in the trust account is initially anticipated to be $10.05 per share. The per-share amount we will distribute to investors who properly redeem their shares will not be reduced by the deferred underwriting discounts RDAC will pay to the underwriters. RDAC’s initial shareholders have agreed to waive their right to receive liquidating distributions if RDAC fails to consummate its initial business combination within the requisite time period. However, if our initial shareholders or any of our officers, directors or affiliates acquires public shares in or after the IPO, they will be entitled to receive liquidating distributions with respect to such public shares if we fail to consummate our initial business combination within the required time period.
Redemption of public shares and liquidation if no initial business combination
RDAC will have 15 months from the closing of the IPO to consummate an initial business combination. However, if RDAC anticipates that it may not be able to consummate our initial business combination within 15 months, RDAC may extend the period of time to consummate a business combination up to six times, each by an additional one month (for a total of up to 21 months to complete a business combination). Pursuant to the terms of our amended and restated memorandum and articles of association and the trust agreement entered into between us and Continental Stock Transfer & Trust Company on the date of this prospectus, in order to extend the time available for us to consummate our initial business combination, the sponsor or its affiliates or designees, upon five days advance notice prior to the applicable deadline, must deposit into the trust account $189,750 ($0.033 per share) on or prior to the date of the applicable deadline, for each one month extension (or up to an aggregate of $1,138,500, or approximately $0.20 per share if RDAC extends for the full six months). Any such payments would be made in the form of a loan. Any such loans will be non-interest bearing and payable upon the consummation of our initial business combination. If RDAC completes its initial business combination, RDAC would repay such loaned amounts out of the proceeds of the trust account released to us. If RDAC does not complete a business combination, RDAC will not repay such loans. Furthermore, the letter agreement with our initial shareholders contains a provision pursuant to which the sponsor has agreed to waive its right to be repaid for such loans out of the funds held in the trust account in the event that RDAC does not complete a business combination. The sponsor and its affiliates or designees are not obligated to fund the trust account to extend the time for us to complete our initial business combination. You will not be able to vote on or redeem your shares in connection with any such extension.
If RDAC is unable to consummate our initial business combination within the allotted time period, RDAC will, as promptly as reasonably possible but not more than ten business days thereafter, distribute the aggregate amount then on deposit in the trust account (net of taxes payable, and less up to $50,000 of interest to pay liquidation expenses), pro rata to our public shareholders by way of redemption and cease all operations except for the purposes of winding up of our affairs. This redemption of public shareholders from the trust account shall be effected as required by function of our amended and restated memorandum and articles of association and prior to any voluntary winding up, although at all times subject to the Companies Act.
RDAC’s initial shareholders have agreed to waive their redemption rights with respect to their founder shares if RDAC fails to consummate our initial business combination within the applicable period from the closing of the IPO. However, if our initial shareholders, or any of our officers, directors or affiliates acquire public shares in or after the IPO, they will be entitled to redemption rights with respect to such public shares if RDAC fails to consummate our initial business combination within the required time period. There will be no redemption rights or liquidating distributions with respect to our rights, which will expire worthless in the event RDAC does not consummate our initial business combination within the allotted time period.
| 172 |
If we were to expend all of the net proceeds of the IPO, other than the proceeds deposited in the trust account, and without taking into account interest, if any, earned on the trust account, the per-share redemption amount received by shareholders upon our dissolution would be approximately $10.05 (whether or not the underwriters’ over-allotment option is exercised in full). The per-share amount we will distribute to investors who properly redeem their shares will not be reduced by the deferred underwriting discounts we will pay to the underwriters. The proceeds deposited in the trust account could, however, become subject to the claims of our creditors, which would have higher priority than the claims of our public shareholders. The actual per-share redemption amount received by shareholders may be less than $10.05, plus interest (net of any taxes payable, and less up to $50,000 of interest to pay liquidation expenses).
Although RDAC will seek to have all vendors, service providers, prospective target businesses or other entities with which we do business execute agreements with us waiving any right, title, interest or claim of any kind in or to any monies held in the trust account for the benefit of our public shareholders, there is no guarantee that they will execute such agreements or even if they execute such agreements that they would be prevented from bringing claims against the trust account including but not limited to fraudulent inducement, breach of fiduciary responsibility or other similar claims, as well as claims challenging the enforceability of the waiver, in each case in order to gain an advantage with respect to a claim against our assets, including the funds held in the trust account. If any third party refuses to execute an agreement waiving such claims to the monies held in the trust account, our management will perform an analysis of the alternatives available to it and will only enter into an agreement with a third party that has not executed a waiver if management believes that such third party’s engagement would be significantly more beneficial to us than any alternative. Making such a request of potential target businesses may make our acquisition proposal less attractive to them and, to the extent prospective target businesses refuse to execute such a waiver, may limit the field of potential target businesses that we might pursue. Our independent registered public accounting firm will not execute agreements with us waiving such claims to the monies held in the trust account, nor will the underwriters of the IPO.
If any third party refuses to execute an agreement waiving such claims to the monies held in the trust account, our management will perform an analysis of the alternatives available to it and will only enter into an agreement with a third party that has not executed a waiver if management believes that such third party’s engagement would be significantly more beneficial to us than any alternative. Examples of possible instances where we may engage a third party that refuses to execute a waiver include the engagement of a third party consultant whose particular expertise or skills are believed by management to be significantly superior to those of other consultants that would agree to execute a waiver or in cases where management is unable to find a service provider willing to execute a waiver. In addition, there is no guarantee that such entities will agree to waive any claims they may have in the future as a result of, or arising out of, any negotiations, contracts or agreements with us and will not seek recourse against the trust account for any reason. In order to protect the amounts held in the trust account, the sponsor has agreed that it will be liable to us, if and to the extent any claims by a vendor for services rendered or products sold to us, or a prospective target business with which we have discussed entering into a transaction agreement, reduce the amounts in the trust account to below $10.05 per share (whether or not the underwriters’ over-allotment option is exercised in full), except as to any claims by a third party who executed a waiver of any and all rights to seek access to the trust account and except as to any claims under our indemnity of the underwriters of the IPO against certain liabilities, including liabilities under the Securities Act. In the event that an executed waiver is deemed to be unenforceable against a third party, the sponsor will not be responsible to the extent of any liability for such third party claims. However, the sponsor may not be able to satisfy those obligations. Other than as described above, none of our officers or directors will indemnify us for claims by third parties including, without limitation, claims by vendors and prospective target businesses. We have not independently verified whether the sponsor has sufficient funds to satisfy its indemnity obligations. We therefore believe it is unlikely the sponsor would be able to satisfy its indemnity obligations if it was required to do so. However, we believe the likelihood of the sponsor having to indemnify the trust account is limited because we will endeavor to have all vendors and prospective target businesses as well as other entities execute agreements with us waiving any right, title, interest or claim of any kind in or to monies held in the trust account.
In the event that the proceeds in the trust account are reduced below $10.05 per share (whether or not the underwriters’ over-allotment option is exercised in full) and the sponsor asserts that it is unable to satisfy any applicable obligations or that it has no indemnification obligations related to a particular claim, our independent directors would determine whether to take legal action to enforce such indemnification obligations. While we currently expect that our independent directors would take legal action on our behalf to enforce such indemnification obligations to us, it is possible that our independent directors in exercising their business judgment may choose not to do so in any particular instance. Accordingly, due to claims of creditors, the actual value of the per-share redemption price may be less than $10.05 per share (whether or not the underwriters’ over-allotment option is exercised in full).
| 173 |
If RDAC files a bankruptcy or winding-up petition or an involuntary bankruptcy or winding-up petition is filed against us that is not dismissed, the proceeds held in the trust account could be subject to applicable bankruptcy or insolvency law, and may be included in our bankruptcy or insolvency estate and subject to the claims of third parties with priority over the claims of our shareholders. To the extent any bankruptcy or insolvency claims deplete the trust account, we cannot assure you we will be able to return $10.05 per share to our public shareholders. Additionally, if we file a bankruptcy or winding-up petition or an involuntary bankruptcy or winding-up petition is filed against us that is not dismissed, any distributions received by shareholders could be viewed under applicable debtor/creditor and/or bankruptcy or insolvency laws as either a “preferential transfer”, a “fraudulent conveyance”, a “fraud in anticipation of winding up”, a “transaction in fraud of creditors” or a “misconduct in the course of winding up”. As a result, a bankruptcy or insolvency court could seek to recover some or all amounts received by our shareholders. Furthermore, our board of directors may be viewed as having breached its fiduciary duty to our creditors and/or may have acted in bad faith, and thereby exposing itself and our company to claims of punitive damages, by paying public shareholders from the trust account prior to addressing the claims of creditors. We cannot assure you that claims will not be brought against us for these reasons.
RDAC’s public shareholders will be entitled to receive funds from the trust account only (i) in the event of a redemption of the public shares prior to any winding up in the event we do not consummate our initial business combination within the allotted time period, (ii) if they redeem their shares in connection with an initial business combination that we consummate or (iii) if they redeem their shares in connection with a shareholder vote to amend our amended and restated memorandum and articles of association (A) to modify the substance or timing of our obligation to allow redemption rights or to redeem 100% of our public shares if we do not complete our initial business combination within the allotted time period or (B) with respect to any other provision relating to shareholders’ rights or pre-business combination activity. In no other circumstances shall a shareholder have any right or interest of any kind to or in the trust account. In the event we seek shareholder approval in connection with our initial business combination, a shareholder’s voting in connection with the business combination alone will not result in a shareholder’s redeeming its shares to us for an applicable pro rata share of the trust account. Such shareholder must have also exercised its redemption rights described above.
Facilities
RDAC currently maintains its executive offices at No. 604, Yixing Road, Wanbolin District, Taiyuan City, Shanxi Province, P.R. China. Such space, utilities and secretarial and administrative services will be provided to us free of charge by the sponsor. We consider our current office space adequate for our current operations.
Employees
RDAC currently has two executive officers. These individuals are not obligated to devote any specific number of hours to our matters but they intend to devote as much of their time as they deem necessary to our affairs until we have completed our initial business combination. The amount of time they will devote in any time period will vary based on whether a target business has been selected for our initial business combination and the stage of the business combination process we are in. We do not intend to have any full time employees prior to the consummation of our initial business combination.
| 174 |
SELECTED HISTORICAL FINANCIAL INFORMATION OF RISING DRAGON
(Amounts in tables are stated in U.S. Dollar)
The following table sets forth selected historical financial information derived from Rising Dragon’s (1) unaudited condensed consolidated financial statements included elsewhere in this proxy statement/prospectus as of and for the six months June 30, 2025, and (2) audited financial statements included elsewhere in this proxy statement/prospectus as of and for the period from March 8, 2024 (inception) through December 31, 2024. The historical results presented below are not necessarily indicative of the results to be expected for any future period. You should carefully read the following selected financial information in conjunction with the section entitled “ Rising Dragon Management’s Discussion and Analysis of Financial Condition and Results of Operations” and Rising Dragon’s financial statements and the related notes appearing elsewhere in this proxy statements/prospectus.
Selected Historical Financial Information of Statements of Operations
| Six months ended June 30, 2025 | For the period from March 8, 2024 (inception)
through June 30, 2024 | For the period from March 8, 2024 (inception) through December 31, 2024 | ||||||||||
| (Unaudited) | (Unaudited) | (Audited) | ||||||||||
| Income Statement Data: | ||||||||||||
| Operating costs | $ | (352,756 | ) | $ | (38,860 | ) | $ | (283,533 | ) | |||
| Interest income and dividend income earned in investments held in Trust Account | $ | 1,205,604 | $ | — | $ | 543,046 | ||||||
| Net income (loss) | $ | 852,848 | $ | (38,860 | ) | $ | 257,513 | |||||
| Basic and diluted net income per share, subject to possible redemption | $ | 0.16 | $ | — | $ | 0.27 | ||||||
| Basic and diluted net loss per share, ordinary shares not subject to possible redemption | $ | (0.05 | ) | $ | (0.04 | ) | $ | (0.10 | ) | |||
| Weighted average shares outstanding, basic and diluted, subject to possible redemption | 5,7500,000 | — | 1,485,738 | |||||||||
| Weighted average shares outstanding, basic and diluted, ordinary shares not subject to possible redemption | 1,749,375 | 1,019,737 | 1,416,785 | |||||||||
Selected Historical Financial Information of Balance Sheets
| June 30, 2025 (Unaudited) | December 31, 2024 (Audited) | |||||||
| Balance Sheet Data: | ||||||||
| Total assets | $ | 59,640,556 | $ | 58,786,225 | ||||
| Total liabilities | $ | 1,892,733 | $ | 1,891,250 | ||||
| Ordinary shares subject to possible redemption | $ | 59,536,150 | $ | 58,330,546 | ||||
| Total Shareholders’ Deficit | $ | (1,788,327 | ) | $ | (1,435,571 | ) | ||
Selected Historical Financial Information of Statements of Cash Flows
| Six months ended June 30, 2025 | For the period from March 8, 2024 (inception)
through June 30, 2024 | For the period from March 8, 2024 (inception) through December 31, 2024 | ||||||||||
| (Unaudited) | (Unaudited) | (Audited) | ||||||||||
| Statement of Cash Flow Data: | ||||||||||||
| Cash flows used in operating activities | $ | (312,143 | ) | $ | (28,860 | ) | $ | (326,033 | ) | |||
| Cash flows used in investing activities | $ | — | $ | — | $ | (57,787,500 | ) | |||||
| Cash flows provided by financing activities | $ | 2,870 | $ | 28,960 | $ | 58,506,212 | ||||||
| Net change in cash | $ | (309,273 | ) | $ | 100 | $ | 392,679 | |||||
| Cash at beginning of period | $ | 392,679 | $ | — | $ | — | ||||||
| Cash at end of period | $ | 83,406 | $ | 100 | $ | 392,679 | ||||||
| 175 |
MANAGEMENT’S DISCUSSION AND ANALYSIS OF
FINANCIAL CONDITION AND RESULTS OF OPERATIONS OF RISING DRAGON
References in this section to “we,” “us” or the “Company” refer to Rising Dragon Acquisition Corp. References to our “management” or our “management team” refer to our officers and directors, and references to our “Sponsor” refer to Aurora Beacon LLC, a Cayman Islands limited liability company. The following discussion and analysis of our financial condition and results of operations should be read in conjunction with the unaudited condensed financial statements and the notes thereto contained elsewhere in this proxy statement/prospectus. Certain information contained in the discussion and analysis set forth below includes forward-looking statements that involve risks and uncertainties.
Overview
We are a blank check company incorporated as a Cayman Islands exempted company with limited liability for the purpose of entering into a merger, share exchange, asset acquisition, share purchase, recapitalization, reorganization or similar business combination with one or more businesses or entities, which we refer to throughout this report as our initial business combination. Our efforts to identify a prospective target business will not be limited to a particular industry or geographic region. We do not have any specific business combination under consideration and we have not (nor has anyone on our behalf), directly or indirectly, contacted any prospective target business or had any substantive discussions, formal or otherwise, with respect to such a transaction with our company.
Recent Development
On October 15, 2024, we consummated our IPO of 5,000,000 units (the “Units”). Each Unit consists of one ordinary share, $0.0001 par value (“Ordinary Share”), and one right (“Right”) to receive one-tenth (1/10) of one Ordinary Share upon the consummation of an initial business combination. The Units were sold at an offering price of $10.00 per Unit, generating gross proceeds of $50,000,000. Pursuant to that certain underwriting agreement, dated October 10, 2024, we granted Lucid Capital Markets, LLC, the representative of the underwriters, a 45-day option to purchase up to an additional 750,000 Units solely to cover over-allotments, if any (the “Over-Allotment Option”). Simultaneously with the consummation of the IPO, the underwriters exercised the Over-Allotment Option in full, generating total proceeds of $7,500,000.
Simultaneously with the closing of the IPO on October 15, 2024, we consummated the private placement (“Private Placement”) with Aurora Beacon LLC (the “Sponsor”) of 254,375 units (the “Private Units”), generating total proceeds of $2,543,750. The Private Units are identical to the Units sold in the IPO. Additionally, the Sponsor agreed not to transfer, assign, or sell any of the Private Units or underlying securities (except in limited circumstances, as described in the Registration Statement) until 30 days after the completion of our initial business combination or earlier if, subsequent to our initial business combination, we consummate a subsequent liquidation, merger, stock exchange or other similar transaction which results in all of our shareholders having the right to exchange their ordinary shares for cash, securities or other property. The Sponsor was granted certain demand and piggyback registration rights in connection with the purchase of the Private Units.
On October 15, 2024, a total of $57,787,500 of the net proceeds from the sale of the Units in the IPO and the Private Placement were deposited in a trust account established for the benefit of the Company’s public shareholders at JPMorgan Chase Bank, N.A. maintained by Continental Stock Transfer & Trust Company, acting as trustee.
Results of Operations
We have neither engaged in any operations nor generated any revenue to date. Our only activities from inception to June 30, 2025 were organizational activities, those necessary to prepare for and conduct the IPO, and since the closing of the IPO, the search for a prospective initial business combination. We will not generate any operating revenue until after the completion of our initial business combination, at the earliest. We have generated and will continue to generate non-operating income in the form of interest income on cash in bank and investments held in a trust account established for the benefit of our public shareholders (the “Trust Account”), from the proceeds derived from the IPO. We incur expenses as a result of being a public company (for legal, financial reporting, accounting and auditing compliance), as well as for due diligence expenses.
For the six months ended June 30, 2025, we had a net income of $852,848, which consisted of interest earned on marketable securities held in the Trust Account of $1,205,604, offset by formation and operational costs of $352,756.
For the period from March 8, 2024 (inception) to June 30, 2024, we had a net loss of $38,860, which consisted of formation and operational costs of $38,860.
For the period from March 8, 2024 (inception) to December 31, 2024, we had a net income of $257,513, which consisted of interest earned on marketable securities held in the Trust Account of $543,046, offset by formation and operational costs of $285,533.
| 176 |
Liquidity and Capital Resources
As of June 30, 2025, we had $83,406 in our operating bank account and working capital of approximately $80,423.
Our liquidity needs prior to the consummation of the IPO were satisfied through the payment of $25,000 from the Sponsor to cover certain offering costs on our behalf in exchange for issuance of founder shares, and the borrowing of approximately $162,324 from the Sponsor under an unsecured promissory note (see “Note 5—Related Party Transactions” in the notes to our unaudited condensed financial statements). We have repaid the unsecured promissory note in full on October 15, 2024. Subsequent to the consummation of the IPO, our liquidity has been satisfied through the net proceeds from the consummation of the IPO and the Private Placement (as defined below) held outside of the Trust Account.
As of June 30, 2025, we had cash of $83,406 outside of the Trust Account and working capital of $80,423. We intend to use the funds held outside the Trust Account primarily to identify and evaluate target businesses, perform business due diligence on prospective target businesses, travel to and from the offices, plants or similar locations of prospective target businesses or their representatives or owners, review corporate documents and material agreements of prospective target businesses, and structure, negotiate and complete a business combination.
Based on the foregoing, management believes that we will have sufficient working capital and borrowing capacity to meet our anticipated cash needs prior to our initial business combination. Moreover, we may need to obtain additional financing either to complete our business combination or because we become obligated to redeem a significant number of our public shares upon completion of our business combination, in which case we may issue additional securities or incur debt in connection with such business combination. However, we cannot provide any assurance that new financing will be available. Over the time period prior to our initial business combination, we will be using the funds held outside of the Trust Account for paying existing accounts payable, identifying and evaluating prospective initial business combination candidates, performing due diligence on prospective target businesses, paying for travel expenditures, selecting the target business to merge with or acquire, and structuring, negotiating and consummating the business combination.
Going Concern Consideration
In connection with our assessment of going concern considerations in accordance with Accounting Standards Update (“ASU”) 2014-15, “Disclosures of Uncertainties about an Entity’s Ability to Continue as a Going Concern,” management has determined that if we are unsuccessful in consummating an initial business combination within the prescribed period of time from the closing of our IPO, the requirement that we cease all operations, redeem the public shares, and thereafter liquidate and dissolve, raises substantial doubt about the ability to continue as a going concern. The unaudited condensed financial statements do not include any adjustments that might result from the outcome of this uncertainty. The accompanying unaudited condensed consolidated financial statements have been prepared in conformity with generally accepted accounting principles in the United States of America, which contemplate the continuation of our Company as a going concern.
Off-Balance Sheet Financing Arrangements
We have no obligations, assets, or liabilities, which would be considered off-balance sheet arrangements as of June 30, 2025. We do not participate in transactions that create relationships with unconsolidated entities or financial partnerships, often referred to as variable interest entities, which would have been established for the purpose of facilitating off-balance sheet arrangements. We have not entered into any off-balance sheet financing arrangements, established any special purpose entities, guaranteed any debt or commitments of other entities, or purchased any non-financial assets.
Contractual Obligations
We do not have any long-term debt, capital lease obligations, operating lease obligations, or long-term liabilities. The underwriters are entitled to a deferred fee of 3.25% of the gross proceeds of the IPO upon closing of an initial business combination, or $1,868,750. The deferred fee will be paid in cash upon the closing of the business combination from the amounts held in the Trust Account, subject to the terms of the underwriting agreement.
Registration Rights
Pursuant to an agreement entered into on October 10, 2024, our initial shareholders and their permitted transferees can demand that we register for resale the founder shares, the private units and the underlying private shares and private rights, and the units issuable upon conversion of working capital loans and the underlying ordinary shares and rights. The holders are entitled to make up to three demands, excluding short form demands, that we register such securities. Notwithstanding anything to the contrary, any holder that is affiliated with an underwriter participating in the IPO may only make a demand on one occasion and only during the five-year period beginning on the effective date of the registration statement of which the Final Prospectus forms a part. In addition, the holders have certain “piggy-back” registration rights on registration statements filed after our consummation of a business combination; provided that any holder that is affiliated with an underwriter participating in the IPO may participate in a “piggy-back” registration only during the seven-year period beginning on the effective date of the registration statement of which the Final Prospectus forms a part. We will bear the expenses incurred in connection with the filing of any such registration statements.
Critical Accounting Policies
The preparation of audited financial statements and related disclosures in conformity with accounting principles generally accepted in the United States of America requires management to make estimates and assumptions that affect the reported amounts of assets and liabilities, disclosure of contingent assets and liabilities at the date of the audited financial statements, and income and expenses during the periods reported. Actual results could materially differ from those estimates. As of June 30, 2025, there were no critical accounting policies or estimates.
Recent Accounting Standards
Management does not believe that any recently issued, but not yet effective, accounting pronouncements, if currently adopted, would have a material effect on our unaudited condensed consolidated financial statements.
| 177 |
UNAUDITED PRO FORMA CONDENSED COMBINED FINANCIAL INFORMATION
Introduction
The following unaudited pro forma condensed combined financial information is provided to aid you in your analysis of the financial aspects of the Business Combination. The following unaudited pro forma condensed combined financial information has been prepared in accordance with Article 11 of Regulation S-X. Defined terms included below have the same meaning as terms defined and included elsewhere in this proxy statement/prospectus.
The unaudited pro forma combined balance sheet as of December 31, 2024 gives pro forma effect to the Business Combination as if they had been consummated as of that date. The unaudited pro forma combined statements of operations for the six months ended December 31, 2024 and for the fiscal years ended June 30, 2024 give pro forma effect to the Business Combination as if they had occurred as of the beginning of the earliest period presented. The unaudited pro forma condensed combined balance sheet is presented as of December 31, 2024 and the unaudited pro forma combined statements of operations are presented for the six months ended December 31, 2024 and for the fiscal year ended June 30, 2024.
This information should be read together with HZJL’s and Rising Dragon’s audited financial statements and related notes, “HZJL Management’s Discussion and Analysis of Financial Condition and Results of Operations,” “Rising Dragon Management’s Discussion and Analysis of Financial Condition and Results of Operations,” and other financial information included elsewhere in this proxy statement/prospectus, and in the case of Rising Dragon, its Annual Report on Form 10-K for the year ended December 31, 2024 with respect to the financial statements included therein and used in these unaudited pro forma condensed combined financial information.
The unaudited pro forma combined balance sheet as of December 31, 2024 has been prepared using the following:
| ● | HZJL’s historical unaudited condensed consolidated balance sheet as of December 31, 2024 and the related notes included elsewhere in this proxy statement/prospectus; and | |
| ● | Rising Dragon’s historical audited condensed balance sheet as of December 31, 2024 and the related notes as included in this proxy statement/prospectus. |
The unaudited pro forma combined statement of operations for the six months ended December 31, 2024 has been prepared using the following:
| ● | HZJL’s historical unaudited condensed consolidated statement of operations for the six months ended December 31, 2024 and 2023 and the related notes included elsewhere in this proxy statement/prospectus; and | |
| ● | Rising Dragon’s historical audited statement of operation for the period from March 8, 2024 (inception) through December 31, 2024, and the related notes included in this proxy statement/prospectus. | |
| ● | Rising Dragon’s historical unaudited statement of operation for the period from March 8, 2024 (inception) through June 30, 2024, and the related notes included in Form S-1 filed on September 24, 2024. |
The unaudited pro forma combined statement of operations for the fiscal year ended June 30, 2024 has been prepared using the following:
| ● | HZJL’s historical audited consolidated statement of operations for the fiscal years ended June 30, 2024 and 2023 and the related notes included elsewhere in this proxy statement/prospectus; and | |
| ● | Rising Dragon’s historical unaudited statement of operation for the period from March 8, 2024 (inception) through June 30, 2024, and the related notes included in Form S-1 filed on September 24, 2024. |
Description of the Business Combination
On January 27, 2025, Rising Dragon has entered into an agreement and plan of merger (the “Merger Agreement”), which provides for a Business Combination between Rising Dragon and HZJL. Pursuant to the Merger Agreement, the Business Combination will be effected in two steps: (i) Rising Dragon will merge with and into PubCo, with PubCo remaining as the surviving publicly traded entity (the “Reincorporation Merger”), and PubCo as the surviving company after the Reincorporation Merger; (ii) immediately following the Reincorporation Merger, Merger Sub will be merged with and into HZJL, resulting in HZJL being a wholly owned subsidiary of PubCo (the “Acquisition Merger”). The Merger Agreement is by and among Rising Dragon, PubCo, Merger Sub, HZJL, certain shareholder of HZJL (“Principal Shareholder”) and Bin Xiong, an individual as the representative of Principal Shareholder of HZJL (“Principal Shareholder’ Representative”).
The aggregate consideration for the Acquisition Merger is $350,000,000, payable in the form of 35,000,000 newly issued PubCo Ordinary Shares valued at $10.00 per share to HZJL and its shareholders. At the closing of the Acquisition Merger, the issued and outstanding shares in HZJL held by the former HZJL shareholders will be cancelled and cease to exist, in exchange for the issuance of an aggregate of 22,708,000 PubCo Class A Ordinary Shares and 12,292,000 PubCo Class B Ordinary Shares. At the closing of the Acquisition Merger, the one fully paid share in Merger Sub held by PubCo will become one fully paid share in the surviving company, so that HZJL will become a wholly-owned subsidiary of PubCo.
| 178 |
In addition to the Closing Payment Shares, Mr. Bin Xiong, the Chief Executive Officer of HZJL will be entitled to receive earn-out shares as follows: (i) 10,000,000 PubCo Class A Ordinary Shares if the revenue of the Reincorporation Surviving Corporation and its Subsidiaries, as a group, equals or exceeds RMB300,000,000 for the fiscal year containing the Closing Date (the “First Record Year”), as reflected on the audited consolidated financial statements of the Company as of and for the First Record Year filed with the SEC; and (ii) 10,000,000 Purchaser Class A Ordinary Shares if the revenue of the Reincorporation Surviving Corporation and its Subsidiaries, as a group, equals or exceeds RMB600,000,000 for the fiscal year following the First Record Year (the “Second Record Year”), as reflected on the audited consolidated financial statements of the Company as of and for the Second Record Year filed with the SEC. RMB, also known as Renminbi or Chinese yuan, means the legal currency of the PRC.
Upon the closing of the Business Combination, ordinary shares of PubCo will be reclassified into class A ordinary shares (“PubCo Class A Ordinary Shares”) and class B ordinary shares (“PubCo Class B Ordinary Shares,” together with PubCo Class A Ordinary Shares, collectively “PubCo Ordinary Shares”) where each PubCo Class A Ordinary Share shall be entitled to one (1) vote on all matters subject to vote at general meetings of the post-Business Combination company and each PubCo Class B Ordinary Share shall be entitled to ten (10) votes on all matters subject to vote at all general meetings of the post-Business Combination company. At the closing of the Business Combination, the former Rising Dragon shareholders will receive the consideration specified below and the former shareholders of HZJL will receive an aggregate of 22,708,000 PubCo Class A Ordinary Shares and 12,292,000 PubCo Class B Ordinary Shares.
Accounting for the Business Combination
The Business Combination will be accounted for as a reverse merger in accordance with U.S. GAAP. Under this method of accounting, Rising Dragon will be treated as the “acquired” company for financial reporting purposes. This determination was primarily based on the holders of HZJL expecting to have a majority of the voting power of the post-combination company, HZJL Senior Management comprising substantially all of the Senior Management of the post-combination company, the relative size of HZJL compared to Rising Dragon, and HZJL operations comprising the ongoing operations of the post-combination company. Accordingly, for accounting purposes, the Business Combination will be treated as the equivalent of PubCo issuing stock for the net assets of Rising Dragon, accompanied by a recapitalization. The net assets of Rising Dragon will be stated at historical cost, with no goodwill or other intangible assets recorded. Operations prior to the Business Combination will be those of HZJL.
Basis of Pro Forma Presentation
The historical financial information has been adjusted to give pro forma effect to events that are related and/or directly attributable to the Business Combination, are factually supportable, and as it relates to the unaudited pro forma combined statement of operations, are expected to have a continuing impact on the results of the post-combination company. The adjustments presented on the unaudited pro forma combined financial statements have been identified and presented to provide relevant information necessary for an accurate understanding of the post-combination company upon consummation of the Business Combination.
The unaudited pro forma combined financial information is for illustrative purposes only. The financial results may have been different had the companies always been combined. You should not rely on the unaudited pro forma combined financial information as being indicative of the historical financial position and results that would have been achieved had the companies always been combined or the future financial position and results that the post-combination company will experience. HZJL and Rising Dragon have not had any historical relationship prior to the Business Combination. Accordingly, no pro forma adjustments were required to eliminate activities between the companies.
There is no historical activity with respect to PubCo and Merger Sub, and accordingly, no adjustments were required with respect to these entities in the pro forma combined financial statements.
The unaudited pro forma combined financial information has been prepared assuming various alternative levels of redemption into cash of Rising Dragon ordinary shares:
| ● | Scenario 1 — Assuming No Redemptions: This scenario assumes the shareholders of Rising Dragon do not exercise their redemption rights, Rising Dragon ordinary shares previously subject to redemption for cash amounting to approximately $58.3 million would be transferred to shareholders’ equity; and |
| 179 |
| ● | Scenario 2 — Assuming Maximum Contractual Redemptions: This scenario assumes that 5,478,687 ordinary shares of Rising Dragon subject to redemption are redeemed for an aggregate payment of approximately $55.6 million, which is the maximum permitted amount of redemptions so as the net tangible assets upon consummation of our initial business is no less than 5,000,001. |
Included in the shares outstanding and weighted average shares outstanding as presented in the pro forma combined financial statements are approximately 35,000,000 PubCo Ordinary Shares, consisting of 22,708,000 PubCo Class A Ordinary Shares and 12,292,000 PubCo Class B Ordinary Shares, to be issued to the shareholders of HZJL, based on the price of $10.00 per share.
The pro forma combined financial statements do not take into consideration of the PubCo Ordinary Shares to be issued in connection with any PIPE investments. Neither HZJL nor Rising Dragon expects to consummate any PIPE investment prior to the consummation of the Business Combination.
Upon the completion of the Business Combination, assuming, among other things, that the shareholders of Rising Dragon do not exercise redemption rights, public shareholders of Rising Dragon, the Sponsor and other Rising Dragon’s Initial Shareholders, and the shareholders of HZJL will own approximately 14.10%, 3.84% and 78.04% of the outstanding shares of PubCo, respectively, with such percentages calculated assuming that the shareholders of HZJL and their affiliates receive approximately 35,000,000 PubCo Ordinary Shares, derived from the shares outstanding and weighted average shares outstanding as presented in the pro forma combined financial statements.
If 5,478,687 of Rising Dragon ordinary shares are redeemed, public shareholders of Rising Dragon, the Sponsor and other Rising Dragon’s Initial Shareholders and the shareholders of HZJL are expected to own approximately 2.15%, 4.36% and 88.90%, respectively, of the PubCo Ordinary Shares. As such, the shareholders of Rising Dragon who do not redeem their Rising Dragon ordinary shares will experience immediate and material dilution following the consummation of the Business Combination.
The following table provides a pro forma summary of the PubCo Ordinary Shares that would be outstanding under each of the redemption scenarios if the Business Combination had occurred on December 31, 2024.
Senarios 1 No Redemption Scenario | Senarios 2 Max Redemption Scenario | |||||||||||||||
| Equity Capitalization Summary | # of Shares | % | # of Shares | % | ||||||||||||
| HZJL Shareholders | 35,000,000 | 78.03 | 35,000,000 | 88.90 | ||||||||||||
| RDAC Public Shareholders | 6,325,000 | 14.10 | 846,313 | 2.15 | ||||||||||||
| RDAC Initial Shareholders | 1,717,312 | 3.84 | 1,717,312 | 4.36 | ||||||||||||
| Others | 1,807,500 | 4.03 | 1,807,500 | 4.59 | ||||||||||||
| Total Ordinary Shares | 44,849,812 | 100 | 39,371,125 | 100 | ||||||||||||
| 180 |
UNAUDITED PRO FORMA CONDENSED COMBINED BALANCE SHEET
AS OF DecEMBER 31, 2024
| Scenario 1 | Scenario 2 | |||||||||||||||||||||||
| Assuming No Redemptions into Cash | Assuming Maximum Contractual Redemptions into Cash | |||||||||||||||||||||||
| (A) | (B) | Pro Forma | Pro Forma Balance | Pro Forma | Pro Forma Balance | |||||||||||||||||||
| RDAC | HZJL | Adjustments | Sheet | Adjustments | Sheet | |||||||||||||||||||
| ASSETS | ||||||||||||||||||||||||
| Current Assets | ||||||||||||||||||||||||
| Cash and cash equivalents | $ | 392,679 | $ | 561,413 | $ | 58,330,546 | (a) | $ | 55,553,888 | $ | (55,553,888 | )(a) | $ | - | ||||||||||
| - | - | (3,730,750 | )(c) | - | - | - | ||||||||||||||||||
| Restricted cash | - | 8,604 | - | 8,604 | - | 8,604 | ||||||||||||||||||
| Accounts receivable | - | 4,420,217 | - | 4,420,217 | - | 4,420,217 | ||||||||||||||||||
| Prepayments | - | 3,404,285 | - | 3,404,285 | - | 3,404,285 | ||||||||||||||||||
| Inventories | - | - | - | - | - | - | ||||||||||||||||||
| Due from related parties | - | 9,932,221 | - | 9,932,221 | - | 9,932,221 | ||||||||||||||||||
| Loans receivable | - | 1,116,742 | - | 1,116,742 | - | 1,116,742 | ||||||||||||||||||
| Deferred offering cost | - | - | - | - | - | - | ||||||||||||||||||
| Other current assets | 63,000 | 514,401 | - | 577,401 | - | 577,401 | ||||||||||||||||||
| Total Current Assets | 455,679 | 19,957,883 | 54,599,796 | 75,013,358 | (55,553,888 | ) | 19,459,470 | |||||||||||||||||
| Non-current Assets | ||||||||||||||||||||||||
| Cash held in trust escrow account | 58,330,546 | - | (58,330,546 | )(a) | - | - | - | |||||||||||||||||
| Long-term investments | - | 41,100 | - | 41,100 | - | 41,100 | ||||||||||||||||||
| Right of use assets | - | - | - | - | - | - | ||||||||||||||||||
| Deferred tax assets | - | 249,493 | - | 249,493 | - | 249,493 | ||||||||||||||||||
| Total assets | $ | 58,786,225 | $ | 20,248,476 | $ | (3,730,750 | ) | $ | 75,303,951 | $ | (55,553,888 | ) | $ | 19,750,063 | ||||||||||
| LIABILITIES AND STOCKHOLDERS’ (DEFICITS) EQUITY | ||||||||||||||||||||||||
| LIABILITIES | ||||||||||||||||||||||||
| Short-term borrowings | $ | - | $ | 4,014,084 | $ | - | $ | 4,014,084 | $ | - | $ | 4,014,084 | ||||||||||||
| Accounts payable | - | 2,082,055 | - | 2,082,055 | - | 2,082,055 | ||||||||||||||||||
| Advance from customers | - | 579,041 | - | 579,041 | - | 579,041 | ||||||||||||||||||
| Income tax payable | - | 970,166 | - | 970,166 | - | 970,166 | ||||||||||||||||||
| Loans payable | - | 1,551,970 | - | 1,551,970 | - | 1,551,970 | ||||||||||||||||||
| Due to related parties | - | 3,088,352 | - | 3,088,352 | - | 3,088,352 | ||||||||||||||||||
| Other current liabilities | 22,500 | 1,030,143 | - | 1,052,643 | - | 1,052,643 | ||||||||||||||||||
| Dividends payable | - | - | - | - | - | - | ||||||||||||||||||
| Total Current Liabilities | 22,500 | 13,315,811 | - | 13,338,311 | - | 13,338,311 | ||||||||||||||||||
| Deferred underwriting commission | 1,868,750 | - | (1,868,750 | )(c) | - | - | - | |||||||||||||||||
| Total Liabilities | 1,891,250 | 13,315,811 | (1,868,750 | ) | 13,338,311 | - | 13,338,311 | |||||||||||||||||
| Commitments and Contingencies | ||||||||||||||||||||||||
| Ordinary shares subject to possible redemption | 58,330,546 | - | (58,330,546 | )(a) | - | - | - | |||||||||||||||||
| SHAREHOLDERS’ (DEFICITS) EQUITY | ||||||||||||||||||||||||
| Preferred shares, $0.0001 par value; 2,000,000 shares authorized; none issued and outstanding | - | - | - | - | - | - | ||||||||||||||||||
| Ordinary Shares, $0.0001 par value; 55,000,000 shares authorized; 1,749,375 shares issued and outstanding as of December 31, 2024, 0 and 0 shares issued and outstanding in Scenario 1 and Scenario 2, respectively | 175 | - | (175 | )(b) | - | - | - | |||||||||||||||||
| Class A ordinary shares, $0.0001 par value, 0 shares issued and outstanding as of December 31, 2024, 32,557,812 issued and outstanding in Scenario 1, 27,079,125 issued and outstanding in Scenario 2 | - | - | 175 | (b) | 3,256 | (548 | )(a) | 2,708 | ||||||||||||||||
| - | - | 575 | (a) | - | - | - | ||||||||||||||||||
| - | - | 2,331 | (d) | - | - | - | ||||||||||||||||||
| - | - | 175 | (e) | - | - | - | ||||||||||||||||||
| Class B ordinary shares, $0.0001 par value, 0 shares issued and outstanding as of December 31, 2024, 12,292,000 issued and outstanding in Scenarios 1 and 2 | - | - | 1,229 | (d) | 1,229 | - | 1,229 | |||||||||||||||||
| Additional paid-in capital | - | 9,294,334 | 58,329,971 | (a) | 64,702,824 | (55,553,888 | )(a) | 9,149,484 | ||||||||||||||||
| - | - | (1,482,000 | )(c) | - | 548 | (a) | - | |||||||||||||||||
| - | - | (1,439,306 | )(d) | - | - | - | ||||||||||||||||||
| - | - | (175 | )(e) | - | - | - | ||||||||||||||||||
| Accumulated deficit | (1,435,746 | ) | (3,153,268 | ) | (380,000 | )(c) | (3,533,268 | ) | - | (3,533,268 | ) | |||||||||||||
| - | - | 1,435,746 | (d) | - | ||||||||||||||||||||
| Accumulated other comprehensive income | - | 273,921 | - | 273,921 | - | 273,921 | ||||||||||||||||||
| Total Shareholders’ (Deficit) Equity | (1,435,571 | ) | 6,414,987 | 56,468,546 | 61,447,962 | (55,553,888 | ) | 5,894,074 | ||||||||||||||||
| Noncontrolling interest | - | 517,678 | - | 517,678 | - | 517,678 | ||||||||||||||||||
| Total Liabilities, Mezzanine Equity and Shareholders’ (Deficit) Equity | $ | 58,786,225 | $ | 20,248,476 | $ | (3,730,750 | ) | $ | 75,303,951 | $ | (55,553,888 | ) | $ | 19,750,063 | ||||||||||
| 181 |
Unaudited Pro Forma Combined Balance Sheet Adjustments
The pro forma adjustment to the unaudited combined pro forma balance sheet consists of the following:
A. Derived from the audited condensed balance sheet of Rising Dragon as of December 31, 2024.
B. Derived from the unaudited condensed consolidated balance sheet of HZJL as of December 31, 2024.
| a. | In Scenario 1, which assumes that no shareholders of Rising Dragon exercise their redemption rights, the Rising Dragon ordinary shares previously subject to redemption for cash amounting to approximately $58.3 million would be transferred to shareholders’ equity. |
In Scenario 2, which assumes the same facts as described in Scenario 1 above, but also assumes that the maximum number of Rising Dragon ordinary shares at 5,478,687 are redeemed for cash by the shareholders of Rising Dragon, cash required at approximately $55.6 million would be paid out in cash.
| b. | Reflects the conversion of Rising Dragon ordinary shares into PubCo Class A Ordinary Shares. | |
| c. | Reflects (i) estimated cash payments of professional expenses of approximately $3.7 million related to the Business Combination, among which approximately $1.8 million was paid to settle deferred underwriting commission, $1.5 million was deducted against additional paid-in capital, and $0.4 million was charged to income statements.
The underwriters are entitled to $1,868,750, payable to the underwriters as deferred underwriting discounts at the closing of the Business Combination from the funds placed in the Trust Account.
The cash payments of professional expenses totaling approximately $3.7 million related to the Business Combination consisted of $2.4 million incurred by Rising Dragon and $1.3 million incurred by HZJL, respectively. The professional expenses included legal expenses, financial advisory expenses, audit expenses, fairness opinion expenses and other service fees. | |
| d. | Reflects recapitalization of HZJL through issuance of PubCo Ordinary Shares (including upon conversion of Rising Dragon Rights) and eliminates Rising Dragon’s historical accumulated earnings. | |
| e. | Reflects the issuance of PubCo Class A Ordinary Shares to a financial advisor engaged by HZJL upon the closing of Business Combination. |
| 182 |
UNAUDITED PRO FORMA COMBINED STATEMENT OF OPERATIONS
FOR THE SIX MONTHS ENDED DECEMBER 31, 2024
| Scenario 1 | Scenario 2 | |||||||||||||||||||||||
Assuming No Redemptions into Cash | Assuming Maximum Redemptions into Cash | |||||||||||||||||||||||
| (A) | (B) | Pro Forma | Pro Forma Balance | Pro Forma | Pro Forma Balance | |||||||||||||||||||
| RDAC | HZJL | Adjustments | Sheet | Adjustments | Sheet | |||||||||||||||||||
| Account Name | ||||||||||||||||||||||||
| Revenues | $ | - | $ | 12,880,776 | $ | - | $ | 12,880,776 | $ | - | $ | 12,880,776 | ||||||||||||
| Cost of revenues | - | (8,855,246 | ) | - | (8,855,246 | ) | - | (8,855,246 | ) | |||||||||||||||
| Gross profit | - | 4,025,530 | - | 4,025,530 | - | 4,025,530 | ||||||||||||||||||
| Operating expenses | ||||||||||||||||||||||||
| Selling expenses | - | (1,559,953 | ) | - | (1,559,953 | ) | - | (1,559,953 | ) | |||||||||||||||
| General and administrative expenses | (246,673 | ) | (557,852 | ) | (643,918 | )(a) | (1,448,443 | ) | - | (1,448,443 | ) | |||||||||||||
| Total operating expenses | (246,673 | ) | (2,117,805 | ) | (643,918 | ) | (3,008,396 | ) | - | (3,008,396 | ) | |||||||||||||
| (Loss) income from operations | (246,673 | ) | 1,907,725 | (643,918 | ) | 1,017,134 | - | 1,017,134 | ||||||||||||||||
| Other Income (Expenses) | ||||||||||||||||||||||||
| Interest expenses, net | - | (149,043 | ) | - | (149,043 | ) | - | (149,043 | ) | |||||||||||||||
| Other expenses, net | - | (28,214 | ) | - | (28,214 | ) | - | (28,214 | ) | |||||||||||||||
| Income earned on investment held in Trust Account | 543,046 | - | (543,046 | )(b) | - | - | - | |||||||||||||||||
| Total other income (expenses), net | 543,046 | (177,257 | ) | (543,046 | ) | (177,257 | ) | - | (177,257 | ) | ||||||||||||||
| Income Before Income Taxes | 296,373 | 1,730,468 | (1,186,964 | ) | 839,877 | - | 839,877 | |||||||||||||||||
| Income tax expenses | - | (297,253 | ) | - | (297,253 | ) | - | (297,253 | ) | |||||||||||||||
| Net income | 296,373 | 1,433,215 | (1,186,964 | ) | 542,624 | - | 542,624 | |||||||||||||||||
| Less: Net income attributable to non-controlling interests | - | (755,484 | ) | - | (755,484 | ) | - | (755,484 | ) | |||||||||||||||
| Net income (loss) attributable to Xpand Boom Technology Inc.’s Shareholders | $ | 296,373 | $ | 677,731 | $ | (1,186,964 | ) | $ | (212,860 | ) | $ | - | $ | (212,860 | ) | |||||||||
| Weighted average shares outstanding of non-redeemable ordinary shares | 4,138,988 | - | 40,710,824 | (c) | 44,849,812 | (5,478,687 | )(c) | 39,371,125 | ||||||||||||||||
| Basic and diluted net income (loss) per ordinary share | 0.07 | - | (0.08 | )(c) | - | (0.01 | )(c) | (0.01 | ) | |||||||||||||||
| 183 |
UNAUDITED PRO FORMA
COMBINED STATEMENT OF OPERATIONS
FOR THE YEAR ENDED JUNE 30, 2024
| Scenario 1 | Scenario 2 | |||||||||||||||||||||||||
| Assuming No Redemptions into Cash | Assuming Maximum Redemptions into Cash | |||||||||||||||||||||||||
(A) RDAC |
(B) HZJL |
Pro Forma Adjustments |
Pro Forma Balance Sheet |
Pro Forma Adjustments |
Pro Forma Balance Sheet |
|||||||||||||||||||||
| Revenues | $ | - | $ | 12,616,504 | $ | - | $ | 12,616,504 | $ | - | $ | 12,616,504 | ||||||||||||||
| Cost of revenues | - | (8,771,098 | ) | - | (8,771,098 | ) | - | (8,771,098 | ) | |||||||||||||||||
| Gross profit | - | 3,845,406 | - | 3,845,406 | - | 3,845,406 | ||||||||||||||||||||
| Operating expenses | ||||||||||||||||||||||||||
| Selling expenses | - | (1,761,012 | ) | - | (1,761,012 | ) | - | (1,761,012 | ) | |||||||||||||||||
| General and administrative expenses | (50,250 | ) | (459,137 | ) | (1,231,731 | ) | (a) | (1,741,118 | ) | - | (1,741,118 | ) | ||||||||||||||
| Total operating expenses | (50,250 | ) | (2,220,149 | ) | (1,231,731 | ) | (3,502,130 | ) | - | (3,502,130 | ) | |||||||||||||||
| (Loss) income from operations | (50,250 | ) | 1,625,257 | (1,231,731 | ) | 343,276 | - | 343,276 | ||||||||||||||||||
| Other Income (Expenses) | ||||||||||||||||||||||||||
| Interest expenses, net | - | (107,958 | ) | - | (107,958 | ) | - | (107,958 | ) | |||||||||||||||||
| Other income, net | - | 185,179 | - | 185,179 | - | 185,179 | ||||||||||||||||||||
| Income earned on investment held in Trust Account | - | - | - | - | - | - | ||||||||||||||||||||
| Total other income, net | - | 77,221 | - | 77,221 | - | 77,221 | ||||||||||||||||||||
| (Loss) Income Before Income Taxes | (50,250 | ) | 1,702,478 | (1,231,731 | ) | 420,497 | - | 420,497 | ||||||||||||||||||
| Income tax expenses | - | (581,633 | ) | - | (581,633 | ) | - | (581,633 | ) | |||||||||||||||||
| Net (loss) income | $ | (50,250 | ) | $ | 1,120,845 | $ | (1,231,731 | ) | $ | (161,136 | ) | $ | - | $ | (161,136 | ) | ||||||||||
| Less: net loss attributable to non-controlling interests | - | 194,252 | - | 194,252 | - | 194,252 | ||||||||||||||||||||
| Net (loss) income attributable to Xpand Boom Technology Inc.’s Shareholders | $ | (50,250 | ) | $ | 1,315,097 | $ | (1,231,731 | ) | $ | 33,116 | $ | - | $ | 33,116 | ||||||||||||
| Weighted average shares outstanding of non-redeemable ordinary shares | 1,019,737 | - | 43,830,075 | (c) | 44,849,812 | (5,478,687 | ) | (c) | 39,371,125 | |||||||||||||||||
| Basic and diluted net (loss) income per ordinary share | (0.05 | ) | - | 0.05 | (c) | 0.00 | - | (c) | 0.00 | |||||||||||||||||
| 184 |
Unaudited Pro Forma Combined Statement of Operations Adjustments
The notes and pro forma adjustments to the unaudited condensed combined pro forma statements of operations consist of the following:
| A. | Unaudited Pro Forma Combined Statement of Operations for the twelve months ended June 30, 2024 was derived from Rising Dragon’s unaudited condensed statements of operations for the period from March 8, 2024 (inception) through June 30, 2024. | |
| Unaudited Pro Forma Combined Statement of Operations for the six months ended December 31, 2024 was derived from Rising Dragon’s audited statements of operations for the period from March 8, 2024 (inception) through December 31, 2024 and Rising Dragon’s unaudited condensed statements of operations for the period from March 8, 2024 (inception) through June 30, 2024. | ||
| B. | Unaudited Pro Forma Combined Statement of Operations for the year ended June 30, 2024 was derived from HZJL’s consolidated audited statement of income for the year ended June 30, 2024. | |
| Unaudited Pro Forma Combined Statement of Operations for the six months ended December 31, 2024 was derived from HZJL’s unaudited condensed consolidated audited statement of income for the six months ended December 31, 2024. |
| a) | Reflects accrual of professional expenses incurred by Rising Dragon. | |
| b) | Reflects reversal of income earned on investment held in Trust Account upon redemption of public shares. | |
| c) | The calculation of weighted average shares outstanding for basic and diluted net loss per share assumes that the Business Combination occurred as of the earliest period presented. In addition, as the Business Combination are being reflected as if it had occurred on this date, the calculation of weighted average shares outstanding for basic and diluted net loss per share assumes that the shares have been outstanding for the entire period presented. This calculation is retroactively adjusted to eliminate the number of shares redeemed in the Business Combination for the entire period. |
The calculation of weighted average shares outstanding for the year ended June 30, 2024, assuming no redemption into cash, is set forth in below table:
Assuming into Cash | Assuming
Maximum into Cash | |||||||
| The HZJL Shareholders | 35,000,000 | 35,000,000 | ||||||
| Rising Dragon’s Public Shareholders | 6,325,000 | 846,313 | ||||||
| The HZJL’s Initial Shareholders | 1,717,312 | 1,717,312 | ||||||
| Underwriter and financial advisor | 1,807,500 | 1,807,500 | ||||||
| Weighted average shares outstanding of ordinary shares | 44,849,812 | 39,371,125 | ||||||
| Less: Rising Dragon’s Weighted average shares outstanding of ordinary shares | (1,019,737 | ) | (1,019,737 | ) | ||||
| Adjustment (c) | 43,830,075 | 38,351,388 | ||||||
| 185 |
DIRECTORS, EXECUTIVE OFFICERS, EXECUTIVE COMPENSATION
AND CORPORATE GOVERNANCE OF RISING DRAGON
Our current directors, directors and executive officers are as follows:
| Name | Age | Position | ||
| Lulu Xing | 32 | Chief Executive Officer and Chairman of the Board | ||
| Wenyi Shen | 36 | Chief Financial Officer | ||
| Kei Tung Yeung | 53 | Director | ||
| Kun-Lin Liu | 61 | Independent Director | ||
| Yucan Zhang | 30 | Independent Director | ||
| Chengming Dou | 43 | Independent Director |
Lulu Xing, CEO and Chairman
Lulu Xing has served as our Chief Executive Officer and Chairman of the Board since March 2024. Mr. Xing is a citizen and resident of China. Since October 2019, Mr. Xing has served as the chairman of Shanxi Qianmeng Construction Engineering Co., a construction company, where he presides over the management of the company. Since October 2019, Mr. Xing has also served as the chairman of and Shanxi Qianmeng Electromechanical Intelligent Engineering Co., a mechatronic engineering company. From June 2018 to September 2019, Mr. Xing served as a general manager at Shanxi Weiye Technology Development Co., a mechanical equipment company. From October 2015 to June 2018, Mr. Xing was an assistant to the general manager at Beijing Tianyuan Xingye Technology Development Co., an electronic device company.
Mr. Xing received his bachelor’s degree in electrical engineering and automation from Shanghai Institute of Technology, China in June 2015. He is also an MBA candidate at ASCENCIA Business School, College de Paris. We believe Mr. Xing is qualified to serve as our Chief Executive Officer and Chairman of the Board due to his extensive experience in business management.
Wenyi Shen, CFO
Wenyi Shen has served as our Chief Financial Officer since March 2024. Mr. Shen is a citizen and resident of China. Mr. Shen has over ten years of experience in investment banking, audit and private equity investments. Since September 2023, Mr. Shen has served as the financial controller at Shanghai Yemei Info Technology Limited, where he is in charge of financial and compliance risk management. Mr. Shen served as the chief financial officer of Hainan Manaslu Acquisition Corp. (“HMAC”), a special acquisition purpose company (NASDAQ: HMAC), from November 2021 to August 2023. In connection with the consummation of the business combination with Able View, Mr. Shen resigned as the Chief Financial Officer of HMAC effective as of August 17, 2023. During his career, he provided audit services from IPO stage to several large-scale Chinese companies traded on Hong Kong and mainland China stock markets, including Agricultural Bank of China and Haitong Securities Co, Ltd. and focused on several industries including consumer, entertainment, education, and Internet. From May 2018 to August 2021, Mr. Shen served as Vice President for CITIC Culture Capital Management Co., Ltd., an investment company where he was responsible for growth range private equity investments. Mr. Shen served as Vice President for TFTR Investment Co., Ltd., an investment company, from February 2016 to April 2018, where he was responsible for growth range private equity investments. Mr. Shen co-founded Shanghai Yuexing Information Technology Co., Ltd., a start-up mobile travel agent company, where he served as a Chief Strategy Officer from February 2015 to January 2016 and was responsible for the company’s strategy, product development, market operation and capital funding. From June 2013 to February 2015, Mr. Shen was an Associate at E.J. McKay Co., Ltd., a boutique investment banking firm focusing on cross-border mergers and acquisitions between China and the United States, where he participated in cross-border mergers and acquisitions and related investment banking activities. From July 2010 to May 2013, Mr. Shen was a Senior Auditor at Deloitte Touche Tohmastu CPA Ltd., an accounting firm, where he participated in the audit of large financial institutions.
Mr. Shen received his bachelor’s degree in social work from Fudan University, China in July 2010. We believe Mr. Shen is qualified to serve as our Chief Financial Officer due to his experience in investment banking, audit and private equity investments.
| 186 |
Kei Tung Yeung, Director
Mr. Yeung Kei Tung has served as our director since March 2024. Mr. Yeung is a citizen and a resident of Hong Kong. Mr. Yeung is an experienced investor and co-founder of several companies in Greater China, including BELLARTE Sportstech (HK) Ltd. and Snow 51, and has been engaged in venture capital investment in the media and culture, winter sports and new energy industries for more than 20 years. Since October 2023, Mr. Yeung has served as General Manager & Co-Founder of QCSPAC Consultant Co. Ltd., looking for potential investment opportunities in the areas of AI, technology and new energy. Since July 2023, Mr. Yeung has served as the Co-CEO & Co-Founder of BELLARTE Sportstech (HK) Ltd., a sports-tech company in Hong Kong and China which focuses on winter sport trading and sport management company investment. From November 2021 to March 2024, Mr. Yeung worked as Business Lead Partner of WPP Group/Wunderman Thompson, a media and communication company. From May 2017 to May 2021, Mr. Yeung served as an independent director of Snow 51, a company that specializes in ski training. From January 2010 to February 2023, Mr. Yeung was the founder and CEO of C&S Communication, a media and cultural investment company. From 1997 to 1999, Mr. Yeung worked at Hong Kong Standard Chartered Bank as a finance consultant to assist client with wealth management and investment.
Mr. Yeung received his honor diploma in business management from Lingnan University, Hong Kong in 1994 and a master’s degree in management & business administration from University of Surrey, United Kingdom in 1999. We believe Mr. Yeung is qualified to serve as our director due to his extensive investment experience across many industries.
Kun-Lin Liu, Independent Director
Mr. Kun-Lin Liu has served as one of our independent directors since October 10, 2024. Mr. Liu is a citizen and a resident of Taiwan. Mr. Liu is an experienced venture capitalist in Greater China and has been engaged in venture capital investment for more than 20 years. Mr. Liu served as an independent director of HMAC from August 2022 to August 2023. In connection with the consummation of the business combination with Able View, Mr. Liu resigned as the independent director of HMAC effective as of August 17, 2023. From June 2021 to June 2024, Mr. Liu served as an independent director of Dee Van Enterprise, a publicly held company in Taiwan that specializes in power adapters; and since June 2022, has served as an independent director of 3S Silicon Tech Inc., a publicly held company in Taiwan that specializes in power device assembly equipment. Mr. Liu served as a Partner of Capital First Partners, a venture capital company from July 2019 to December 2021, where he focused on deal sourcing in Taiwan. Prior to that, he served as the Chief Strategy Officer of Shanghai Vargo Technology Co., Ltd., a smart phone company, from December 2013 to January 2017, where he set up supply chain networks. Mr. Liu was a former partner of Fortune International Partners, a venture capital company in Greater China, from May 2006 to May 2010, where he was responsible for investment in mainland China. Mr. Liu has also been an Industry Consultant for Taiwan Venture Capital Association and Angel Association since April 2010. He was an investor of Lakala Payment Co., Ltd., a third-party payment company, in 2007 and served as a director in the board of Lakala from 2007 to 2010. His most successful investment is Transmedia Communications Inc., a multimedia equipment maker which was acquired by Cisco Systems, Inc. in 1999.
Mr. Liu received a bachelor’s degree in electro physics from national Chiao-Tung University in Taiwan in June 1985, and a master’s degree in materials science & engineering from National Taiwan University in June 1987. We believe Mr. Liu is well qualified to serve as our director due to his remarkable investment experience.
Yucan Zhang, Independent Director
Yucan Zhang has served as one of our independent directors since March 2, 2025. Mr. Zhang is a Project Management Professional (PMP) - certified Project Manager with a full-stack development background and over seven years of experience. Since July 2022, Mr. Zhang has worked as a Front-End Lead & Project Manager at Enchant Christmas. From March 2021 to April 2022, he worked as a full-stack engineering and project manager at Yuerquan Tea. From July 2018 to January 2021, he worked as a full-stack engineering and project manager at Meili Finance. Mr. Zhang received a bachelor’s degree in Mechanical Engineering from Memorial University of Newfoundland, St. John’s, Newfoundland and Labrador in 2017. We believe Mr. Zhang is well qualified to serve as our director due to his extensive experience in project management and strong technical expertise.
| 187 |
Chengming Dou, Independent Director
Mr. Dou has served as one of our independent directors since October 10, 2024. Mr. Dou is a citizen and resident of China. Mr. Dou has many years of experience in corporate governance and financial accounting. Since October 2023, Mr. Dou has worked as a financial adviser at Zhejiang Qixing Electronics Corp., Ltd., a manufacturer of industrial capacitors. From July 2022 to October 2023, he served as the chief financial officer and vice president at Zhejiang Qixing Electronics Corp., Ltd. From January 2020 to June 2022, and since October 2023, Mr. Dou has worked as the chief executive officer and general manager at Shanghai Saijian Enterprise Management Co., Ltd., a financial advisory service provider. From 2016 to 2019, Mr. Dou worked as an auditor at Deloitte Touche Tohmastu CPA Ltd.
Mr. Dou received a bachelor’s degree from Jiaotong University in 2003, We believe Mr. Dou is well qualified to serve as our independent director due to his extensive experience in corporate governance and financial accounting.
We believe that our independent directors will provide public company governance, executive leadership, operational oversight, private equity investment management and capital markets experience. Our directors have experience with acquisitions, divestitures and corporate strategy and implementation, which we believe will significantly benefit us as we evaluate potential acquisition or merger candidates as well as following the completion of our initial business combination.
We believe our management team is well positioned to take advantage of the growing set of acquisition opportunities focused on the companies exhibiting substantial potential in emerging markets driven by innovative technologies or novel business models and that our contacts and relationships, ranging from owners and management teams of private and public companies, private equity funds, investment bankers, attorneys, to accountants and business brokers will allow us to generate an attractive transaction for our shareholders.
Other SPAC Experience
Rising Dragon’s current directors and officer have participated in other special purpose acquisition companies, which are summarized in the following table:
| SPAC Name | IPO Date and Gross Proceeds |
Business Combination Target and Closing Date |
Role of the Rising Dragon Officers and Directors | |||
| Hainan Manaslu Acquisition Corp. (HMAC) |
IPO Date: August 10, 2022
IPO Proceeds: $60 million |
Able View Global Inc. (August 17, 2023) | RDAC’s Chief Financial Officer, Wenyi Shen served as the chief financial officer of HMAC, and one of the independent directors, Kun-Lin Liu, served as an independent director of HMAC from August 2022 to August 2023. |
The past performance of the members of our management team, or the sponsor or their affiliates is not a guarantee that we will be able to identify a suitable candidate for our initial business combination or of success with respect to any business combination we may consummate. You should not rely on the historical record of the performance of our management team or any of its affiliates’ performance as indicative of our future performance.
Each of our officers and directors may become an officer or director of another special purpose acquisition company with a class of securities intended to be registered under the Securities Exchange Act of 1934, as amended, or the Exchange Act, even before we have entered into a definitive agreement regarding our initial business combination. For more information, see the section of this prospectus entitled “Management — Conflicts of Interest” and see “Risk Factors.”
Director Independence
Nasdaq requires that a majority of our board must be composed of “independent directors,” which is defined generally as a person other than an officer or employee of the company or its subsidiaries or any other individual having a relationship, which, in the opinion of the company’s board of directors would interfere with the director’s exercise of independent judgment in carrying out the responsibilities of a director.
| 188 |
Kun-Lin Liu, Yucan Zhang and Chengming Dou are our independent directors. Our independent directors will have regularly scheduled meetings at which only independent directors are present. Any affiliated transactions will be on terms no less favorable to us than could be obtained from independent parties. Any affiliated transactions must be approved by a majority of our independent and disinterested directors.
Executive Officer and Director Compensation
No compensation will be paid to our initial shareholders, officers and directors, or any of their respective affiliates, prior to or in connection with the consummation of our initial business combination. Additionally, these individuals will be reimbursed for any out-of-pocket expenses incurred in connection with activities on our behalf such as identifying potential target businesses and performing due diligence on suitable business combinations. Our independent directors will review on a quarterly basis all payments that were made to our initial shareholders, officers, directors or our or their affiliates.
After the completion of our initial business combination, members of our management team who remain with us, may be paid consulting, management or other fees from the combined company with any and all amounts being fully disclosed to shareholders, to the extent then known, in the tender offer materials or proxy solicitation materials furnished to our shareholders in connection with a proposed business combination. It is unlikely the amount of such compensation will be known at the time, as it will be up to the directors of the post-combination business to determine executive and director compensation. Any compensation to be paid to our officers will be determined, or recommenced, to the board of directors for determination, either by a committee constituted solely by independent directors or by a majority of the independent directors on our board of directors.
We do not intend to take any action to ensure that members of our management team maintain their positions with us after the consummation of our initial business combination, although it is possible that some or all of our officers and directors may negotiate employment or consulting arrangements to remain with us after the initial business combination. The existence or terms of any such employment or consulting arrangements to retain their positions with us may influence our management’s motivation in identifying or selecting a target business but we do not believe that the ability of our management to remain with us after the consummation of our initial business combination will be a determining factor in our decision to proceed with any potential business combination. We are not party to any agreements with our officers and directors that provide for benefits upon termination of employment.
Audit Committee
We have established an audit committee of the board of directors. Kun-Lin Liu, Yucan Zhang and Chengming Dou serve as members of our audit committee. Chengming Dou chairs the audit committee. Under the Nasdaq listing standards and applicable SEC rules, we are required to have three members of the audit committee all of whom must be independent. Kun-Lin Liu, Yucan Zhang and Chengming Dou are independent.
Each member of the audit committee is financially literate and our board of directors has determined that Chengming Dou qualifies as an “audit committee financial expert” as defined in applicable SEC rules.
Responsibilities of the audit committee include:
| ● | the appointment, compensation, retention, replacement, and oversight of the work of the independent registered public accounting firm and any other independent registered public accounting firm engaged by us; | |
| ● | pre-approving all audit and non-audit services to be provided by the independent registered public accounting firm or any other registered public accounting firm engaged by us, and establishing pre-approval policies and procedures; | |
| ● | reviewing and discussing with the independent registered public accounting firm all relationships the auditors have with us in order to evaluate their continued independence; | |
| ● | setting clear hiring policies for employees or former employees of the independent registered public accounting firm; | |
| ● | setting clear policies for audit partner rotation in compliance with applicable laws and regulations; |
| 189 |
| ● | obtaining and reviewing a report, at least annually, from the independent registered public accounting firm describing the independent auditor’s internal quality-control procedures and (ii) any material issues raised by the most recent internal quality-control review, or peer review, of the audit firm, or by any inquiry or investigation by governmental or professional authorities, within, the preceding five years respecting one or more independent audits carried out by the firm and any steps taken to deal with such issues; | |
| ● | reviewing and approving any related party transaction required to be disclosed pursuant to Item 404 of Regulation S-K promulgated by the SEC prior to us entering into such transaction; and | |
| ● | reviewing with management, the independent registered public accounting firm, and our legal advisors, as appropriate, any legal, regulatory or compliance matters, including any correspondence with regulators or government agencies and any employee complaints or published reports that raise material issues regarding our financial statements or accounting policies and any significant changes in accounting standards or rules promulgated by the Financial Accounting Standards Board, the SEC or other regulatory authorities. |
Compensation Committee
We have established a compensation committee of the board of directors. The members of our Compensation Committee are Kun-Lin Liu, Yucan Zhang and Chengming Dou. Yucan Zhang chairs the compensation committee. We have adopted a compensation committee charter, which will detail the principal functions of the compensation committee, including:
| ● | reviewing and approving on an annual basis the corporate goals and objectives relevant to our Chief Executive Officer’s compensation, evaluating our Chief Executive Officer’s performance in light of such goals and objectives and determining and approving the remuneration (if any) of our Chief Executive Officer based on such evaluation in executive session at which the Chief Executive Officer is not present; | |
| ● | reviewing and approving the compensation of all of our other officers; | |
| ● | reviewing our executive compensation policies and plans; | |
| ● | implementing and administering our incentive compensation equity-based remuneration plans; | |
| ● | assisting management in complying with our proxy statement and annual report disclosure requirements; | |
| ● | approving all special perquisites, special cash payments and other special compensation and benefit arrangements for our officers and employees; | |
| ● | producing a report on executive compensation to be included in our annual proxy statement; and | |
| ● | reviewing, evaluating and recommending changes, if appropriate, to the remuneration for directors. |
The charter will also provide that the compensation committee may, in its sole discretion, retain or obtain the advice of a compensation consultant, legal counsel or other adviser and will be directly responsible for the appointment, compensation and oversight of the work of any such adviser. However, before engaging or receiving advice from a compensation consultant, external legal counsel or any other adviser, the compensation committee will consider the independence of each such adviser, including the factors required by Nasdaq and the SEC.
Director Nominations
We have established a nominating committee of the board of directors, which consists of Kun-Lin Liu, Yucan Zhang and Chengming Dou, each of whom is an independent director under Nasdaq’s listing standards. Kun-Lin Liu chairs the nominating committee. The nominating committee is responsible for overseeing the selection of persons to be nominated to serve on our board of directors. The nominating committee considers persons identified by its members, management, shareholders, investment bankers and others.
| 190 |
Guidelines for Selecting Director Nominees
The guidelines for selecting nominees, which are specified in the Nominating Committee Charter, generally provide that persons to be nominated:
| ● | should have demonstrated notable or significant achievements in business, education or public service; | |
| ● | should possess the requisite intelligence, education and experience to make a significant contribution to the board of directors and bring a range of skills, diverse perspectives and backgrounds to its deliberations; and | |
| ● | should have the highest ethical standards, a strong sense of professionalism and intense dedication to serving the interests of the shareholders. |
The Nominating Committee will consider a number of qualifications relating to management and leadership experience, background, integrity and professionalism in evaluating a person’s candidacy for membership on the board of directors. The nominating committee may require certain skills or attributes, such as financial or accounting experience, to meet specific board needs that arise from time to time and will also consider the overall experience and makeup of its members to obtain a broad and diverse mix of board members. The nominating committee does not distinguish among nominees recommended by shareholders and other persons.
Code of Conduct and Ethics
We have adopted a code of conduct and ethics applicable to our directors, officers and employees in accordance with applicable federal securities laws. We will file a copy of our form of Code of Ethics and our audit committee charter as exhibits to the registration statement. You will be able to review these documents by accessing our public filings at the SEC’s web site at www.sec.gov. In addition, a copy of the Code of Ethics will be provided without charge upon request from us. We intend to disclose any amendments to or waivers of certain provisions of our Code of Ethics in a Current Report on Form 8-K. See “Where You Can Find Additional Information.”
Conflicts of Interest
Potential investors should be aware of the following potential conflicts of interest:
| ● | None of our officers or directors is required to commit his or her full time to our affairs and, accordingly, may have conflicts of interest in allocating his or her time among various business activities. | |
| ● | In the course of their other business activities, our officers and directors may become aware of investment and business opportunities which may be appropriate for presentation to us as well as the other entities with which they are affiliated. Our management may have conflicts of interest in determining to which entity a particular business opportunity should be presented. | |
| ● | Our initial shareholders purchased founder shares prior to the date of this prospectus and the sponsor will purchase the private units in transactions that will close simultaneously with the closing of the IPO. Our initial shareholders have agreed to waive their right to liquidating distributions with respect to its founder shares if we fail to consummate our initial business combination within the required time period. However, if our initial shareholders acquire public shares in or after the IPO, they will be entitled to receive liquidating distributions with respect to such public shares if we fail to consummate our initial business combination within the required time period. If we do not complete our initial business combination within such applicable time period, the proceeds of the sale of the private units will be used to fund the redemption of our public shares, and the private units will expire worthless. | |
| ● | Our officers and directors may have a conflict of interest with respect to evaluating a particular business combination if the retention or resignation of any such officers and directors was included by a target business as a condition to any agreement with respect to our initial business combination. |
| 191 |
Under Cayman Islands law, directors and officers owe the following fiduciary duties:
| (i) | duty to act in good faith in what the director or officer believes to be in the best interests of the company as a whole; | |
| (ii) | duty to exercise powers for the purposes for which those powers were conferred and not for a collateral purpose; | |
| (iii) | directors should not improperly fetter the exercise of future discretion; | |
| (iv) | duty not to put themselves in a position in which there is a conflict between their duty to the company and their personal interests; and | |
| (v) | duty to exercise independent judgment. |
In addition to the above, directors also owe a duty of care which is not fiduciary in nature. This duty has been defined as a requirement to act as a reasonably diligent person having both the general knowledge, skill and experience that may reasonably be expected of a person carrying out the same functions as are carried out by that director in relation to the company and the general knowledge skill and experience which that director has.
As set out above, directors have a duty not to put themselves in a position of conflict and this includes a duty not to engage in self-dealing, or to otherwise benefit as a result of their position. However, in some instances what would otherwise be a breach of this duty can be forgiven and/or authorized in advance by the shareholders provided that there is full disclosure by the directors. This can be done by way of permission granted in the amended and restated memorandum and articles of association or alternatively by shareholder approval at general meetings.
Accordingly, as a result of multiple business affiliations, our officers and directors may have similar legal obligations relating to presenting business opportunities meeting the above-listed criteria to multiple entities. In addition, conflicts of interest may arise when our board evaluates a particular business opportunity with respect to the above-listed criteria. We cannot assure you that any of the above mentioned conflicts will be resolved in our favor. Furthermore, each of our officers and directors currently has and may in the future have fiduciary obligations to other businesses, including other blank check companies similar to our company, of which they are now or may in the future be officers or directors. To the extent they identify business opportunities which may be suitable for the entities to which they owe fiduciary obligations, our officers and directors will honor those fiduciary obligations. Accordingly, it is possible they may not present opportunities to us that otherwise may be attractive to us unless the entities to which they owe fiduciary obligations and any successors to such entities have declined to accept such opportunities.
In order to minimize potential conflicts of interest which may arise from multiple corporate affiliations, each of our officers and directors has contractually agreed, pursuant to a written agreement with us, until the earliest of a business combination, our liquidation or such time as he ceases to be an officer or director, to present to our company for our consideration, prior to presentation to any other entity, any suitable business opportunity which may reasonably be required to be presented to us, subject to any fiduciary or contractual obligations he might have.
Below is a table summarizing the entities to which our officers, directors and directors currently have fiduciary duties or contractual obligations which will take priority over us.
| Individual | Entity/company name | Entity’s Business/industry | Affiliation/Position (e.g. CEO/CFO/Director/ Managing Director/ Chairman/Chairperson) | ||||||
| Lulu Xing | ● | Shanxi Qianmeng Construction Engineering Co. | ● | Construction company | ● | Chairman | |||
| ● | Shanxi Qianmeng Electromechanical Intelligent Engineering Co. | ● | Mechatronic engineering | ● | Chairman | ||||
| Wenyi Shen | ● | Shanghai Yemei Info Technology Limited | ● | Information Technology | ● | Financial Controller | |||
| 192 |
| Kei Tung Yeung | ● | CQSPAC Consultant Co. Ltd. | ● | Consulting Company | ● | General Manager & Co-Founder | |||
| ● | BELLARTE Sportstech(HK)Ltd. | ● | Winter sports retail company | ● | Co-CEO | ||||
| ● | C&S Communication Ltd | ● | Media and communication | ● | Director | ||||
| Kun-Lin Liu | ● | Dee Van Enterprise Co., Ltd. | ● | Power adapter | ● | Independent Director | |||
| ● | 3S Silicon Tech Inc. | ● | power device assembly equipment | ● | Independent Director | ||||
| Yucan Zhang | - | - | - | ||||||
| Chengming Dou | ● | Zhejiang Qixing Electronics Corp., Ltd. | ● | Industrial capacitor manufacturing | ● | Financial Adviser | |||
| ● | Shanghai Saijian Enterprise Management Co., Ltd. | ● | Financial advisory | ● | General manager |
To further minimize conflicts of interest, we have agreed not to consummate an initial business combination with an entity that is affiliated with any of our initial shareholders, officers or directors unless we have obtained an opinion from an independent investment banking firm, or another independent entity that commonly renders valuation opinions, and the approval of a majority of our disinterested independent directors that the business combination is fair to our company (or shareholders) from a financial point of view. Notwithstanding the foregoing, our amended and restated memorandum and articles of association provides that, subject to fiduciary duties under Cayman Islands law, we renounce our interest in any corporate opportunity offered to any director or officer unless such opportunity is expressly offered to such person solely in his or her capacity as a director or officer of our company and such opportunity is one we are legally and contractually permitted to undertake and would otherwise be reasonable for us to pursue.
Our officers and directors, as well as our initial shareholders, have agreed (i) to vote any shares owned by them in favor of any proposed business combination and (ii) not to redeem any shares in connection with a shareholder vote to approve a proposed initial business combination or any amendment to our charter documents prior to the consummation of our initial business combination or sell any shares to us in a tender offer in connection with a proposed initial business combination.
Limitation on Liability and Indemnification of Officers and Directors
Cayman Islands law does not limit the extent to which a company’s memorandum and articles of association may provide for indemnification of officers and directors, except to the extent any such provision may be held by the Cayman Islands courts to be contrary to public policy, such as to provide indemnification against willful default, fraud or the consequences of committing a crime or against the indemnified person’s own fraud or dishonesty.
Our amended and restated memorandum and articles of association provides that, subject to certain limitations, the company shall indemnify its directors and officers against all expenses, including legal fees, and against all judgments, fines and amounts paid in settlement and reasonably incurred in connection with legal, administrative or investigative proceedings. Such indemnity only applies if the person acted honestly and in good faith with a view to the best interests of the company and, in the case of criminal proceedings, the person had no reasonable cause to believe that their conduct was unlawful. The decision of the directors as to whether the person acted honestly and in good faith and with a view to the best interests of the company and as to whether the person had no reasonable cause to believe that his conduct was unlawful and is, in the absence of fraud, sufficient for the purposes of the amended and restated memorandum and articles of association, unless a question of law is involved. The termination of any proceedings by any judgment, order, settlement, conviction or the entering of a nolle prosequi does not, by itself, create a presumption that the person did not act honestly and in good faith and with a view to the best interests of the company or that the person had reasonable cause to believe that his conduct was unlawful.
| 193 |
We will enter into agreements with our officers and directors to provide contractual indemnification in addition to the indemnification provided for in our amended and restated memorandum and articles of association. Our amended and restated memorandum and articles of association also will permit us to purchase and maintain insurance on behalf of any officer or director who at the request of the company is or was serving as a director or officer of, or in any other capacity is or was acting for, another company or a partnership, joint venture, trust or other enterprise, against any liability asserted against the person and incurred by the person in that capacity, whether or not the company has or would have had the power to indemnify the person against the liability as provided in our amended and restated memorandum and articles of association. We will purchase a policy of directors’ and officers’ liability insurance that insures our officers and directors against the cost of defense, settlement or payment of a judgment in some circumstances and insures us against our obligations to indemnify our officers and directors.
These provisions may discourage shareholders from bringing a lawsuit against our directors for breach of their fiduciary duty or duty of care. These provisions also may have the effect of reducing the likelihood of derivative litigation against officers and directors, even though such an action, if successful, might otherwise benefit us and our shareholders. Furthermore, a shareholder’s investment may be adversely affected to the extent we pay the costs of settlement and damage awards against officers and directors pursuant to these indemnification provisions.
We believe that these provisions, the insurance and the indemnity agreements are necessary to attract and retain talented and experienced officers and directors.
Insofar as indemnification for liabilities arising under the Securities Act may be permitted to directors, officers or persons controlling us pursuant to the foregoing provisions, we have been informed that in the opinion of the SEC such indemnification is against public policy as expressed in the Securities Act and is theretofore unenforceable.
| 194 |
PUBCO’S DIRECTORS AND EXECUTIVE OFFICERS
AFTER THE BUSINESS COMBINATION
PubCo’s directors and executive officers upon the consummation of the Business Combination will be as follows:
| Name | Age | Position | ||
| Bin Xiong | 35 | Chairman Designate, Director Nominee and Chief Executive Officer Designate | ||
| Wei Lin Yu | 36 | Human Resources Director Designate and Director Nominee | ||
| Chun Hui Mao | 38 | Finance Director Designate | ||
| Jun Gang Wang | 42 | Independent Director Nominee | ||
| Jun Chen Sun | 36 | Independent Director Nominee | ||
| Ye Liu | 39 | Independent Director Nominee |
Mr. Bin Xiong will serve as Chairman, Director and Chief Executive Officer of PubCo upon the closing of the Business Combination. He is primarily responsible for formulating corporate strategy, planning, business development and supervising the overall operations of HZJL. Mr. Xiong established Beijing Bei Fang Shi Kong Technology Co. Ltd. in October 2009. He is a co-founder of Beijing Tian Chen Yun Nong Chang Technology Co. Ltd., which was established in August 2010, and served as a director until October 2015. Mr. Xiong has 15 years of experience in corporate and business management. Prior to founding Hangzhou Jialin Information Technology Co. Ltd. in November 2020, Mr. Xiong also established Beijing Yuelin Technology Co. Ltd. in January 2016. Mr. Xiong obtained a bachelor’s degree in civil engineering from Beijing Jiaotong University in July 2012. He also obtained a master’s degree in business administration from Peking University Guanghua School of Management in 2018.
Mr. Wei Lin Yu will serve as Human Resources Director and Director of PubCo upon the closing of the Business Combination. He joined Hangzhou Jialin Information Technology Co. Ltd. in 2022 as a human resources director. Mr. Yu has 10 years of experience in human resources management. Prior to joining Hangzhou Jialin Information Technology Co. Ltd., Mr. Yu was a human resources partner at Yan Tu Culture Creative Development (Hangzhou) Co. Ltd. from March 2020 to March 2022. Mr. Yu obtained a bachelor’s degree in business administration from Zhejiang Normal University in June 2012.
Ms. Chun Hui Mao will serve as Finance Director of PubCo upon the closing of the Business Combination. Ms. Mao is an accounting professional. She holds an intermediate accountant qualification in China. Since December 2020, she has served as the Chief Financial Officer of Hangzhou Jialin Information Technology Co. Ltd. She served as the Chief Financial Officer of Hangzhou Yu Xin Internet Technology Co. Ltd. from May 2018 to December 2020. Ms. Mao received her bachelor’s degree in economics management from Huaiyin Institute of Technology.
Mr. Jun Gang Wang will serve as an independent director of PubCo upon the closing of the Business Combination. Mr. Wang has around 13 years of experience in the field of strategic operations and management and he currently serves as the executive director and the chief operating officer at Daphne International Holdings Limited where he is revitalizing the brand through innovative strategies, e-commerce integration and product diversification. From October 2014 to October 2020, Mr. Wang was the co-founder and the chief executive officer of Shanghai Yujiao Information Technology Co., Ltd. and he has served as the chief operating officer at the Shanghai Muyao Textile Co., Ltd. (Xueli Home Wear) from February 2012 to September 2014. Mr. Wang also worked as an analyst at Morgan Stanley (Shanghai) from August 2008 to January 2012. Mr. Wang received his bachelor’s degree in computer science and technology from Nanjing University of Science Technology in July 2005 and he obtained a master’s degree in information science and technology from Peking University in July 2008.
| 195 |
Mr. Jun Chen Sun will serve as an independent director of PubCo upon the closing of the Business Combination. Mr. Sun is a certified public accountant, and he specializes in the field of financial management and strategic operations. Mr. Sun currently serves as the vice president of Newborn Town Inc. (stock code: 09911.HK) as well as the chief executive officer of Newborn Town Inc.’s grand health business. Furthermore, Mr. Sun also currently serves as an independent director of China Vered Financial Holding Corporation Limited (stock code: 0245.HK) and an independent director and the chairman of the audit committee of Quant Group Technology Co., Ltd. From February 2017 to April 2023, Mr. Sun was appointed as the chief financial officer and the chief executive officer of the domestic business at Beijing Blued Information Technology Co., Ltd. Moreover, Mr. Sun served as the financial controller at Jianwang Century Technology Co., Ltd. from October 2015 to February 2017. Mr. Sun worked as a senior manager at Shenwan Hongyuan Securities Co., Ltd. (Beijing Branch) in 2015 and served as a senior auditor at PricewaterhouseCoopers Zhongtian Certified Public Accountants (Special General Partnership) Tianjin Branch from October 2011 to May 2015. Mr. Sun received his bachelor’s degree in international accounting from Tianjin University of Finance and Economics in June 2011. Mr. Sun also received an MBA degree from Guanghua School of Management at Peking University in June 2018 and an EMBA degree from the Wudaokou School of Finance at Tsinghua University in June 2024.
Ms. Ye Liu will serve as an independent director of PubCo upon the closing of the Business Combination. Ms. Liu is a producer, presenter and financial program hostess, she specializes in the field of business management and business and economic journalism. Ms. Liu currently serves as the program manager at Shanghai Media Group since November 2011. From June 2006 to August 2009, Mr. Liu worked as a program manager at China Central Television. Ms. Liu received her bachelor’s degree in broadcasting and hosting from Communication University of China in June 2006. Ms. Liu obtained her master’s degree in business and economic from Boston University in June 2011. She also received an EMBA degree from Fudan University and Wudaokou School of Finance, Tsinghua University in June 2018 and June 2022, respectively.
Board of Directors
PubCo’s Board of Directors will consist of 5 directors, including three independent directors, namely Mr. Jun Gang Wang, Mr. Jun Chen Sun and Ms. Ye Liu, upon the closing of the Business Combination. A director is not required to hold any shares in PubCo to qualify as a director. The Listing Rules of the Nasdaq generally require that a majority of an issuer’s board of directors must consist of independent directors.
A director who is in any way, whether directly or indirectly, interested in a contract or proposed contract with PubCo is required to declare the nature of his or her interest at a meeting of PubCo’s directors. A general notice given to the directors by any director to the effect that he or she is a member, shareholder, director, partner, officer or employee of any specified company or firm and is to be regarded as interested in any contract or transaction with that company or firm shall be deemed a sufficient declaration of interest for the purposes of voting on a resolution in respect to a contract or transaction in which he/she has an interest, and after such general notice it shall not be necessary to give special notice relating to any particular transaction. A director may vote in respect of any contract or proposed contract or arrangement notwithstanding that he/she may be interested therein and if he/she does so, his/her vote shall be counted and he/she may be counted in the quorum at any meeting of the directors at which any such contract or proposed contract or arrangement is considered. PubCo’s Board of Directors may exercise all of the powers to borrow money, to mortgage or charge its undertaking, property and uncalled capital, or any part thereof, and to issue debentures, debenture stock or other securities whenever money is borrowed or as security for any debt, liability or obligation of PubCo or of any third party. None of PubCo’s directors has a service contract with PubCo that provides for benefits upon termination of service as a director.
Committees of PubCo’s Board of Directors
Upon the closing of the Business Combination, PubCo intends to establish an audit committee, a compensation committee and a nominating and corporate governance committee of its Board of Directors. PubCo also intends to adopt a charter for each of the three committees upon the closing of the Business Combination. Each committee’s members and functions are described below.
| 196 |
Audit Committee. PubCo’s audit committee will consist of Jun Gang Wang, Jun Chen Sun and Ye Liu, and will be chaired by Jun Chen Sun. PubCo has determined that each of the foregoing persons satisfies the “independence” requirements of Rule 5605(c)(2) of the Listing Rules of the Nasdaq and meets the independence standards under Rule 10A-3 under the Exchange Act, as amended. The audit committee oversees PubCo’s accounting and financial reporting processes and the audits of its financial statements. The audit committee will be responsible for, among other things:
| ● | establishing clear hiring policies for employees or former employees of the independent auditors; | |
| ● | reviewing and recommending to PubCo’s Board of Directors for approval, the appointment, re-appointment or removal of the independent auditor, after considering its annual performance evaluation of the independent auditor; | |
| ● | approving the remuneration and terms of engagement of the independent auditor and pre-approving all auditing and non-auditing services permitted to be performed by PubCo’s independent auditors at least annually; | |
| ● | obtaining a written report from PubCo’s independent auditor describing matters relating to its independence and quality control procedures; | |
| ● | reviewing with the independent registered public accounting firm any audit problems or difficulties and management’s response; | |
| ● | discussing with PubCo’s independent auditor, among other things, the audits of the financial statements, including whether any material information should be disclosed, issues regarding accounting and auditing principles and practices; | |
| ● | reviewing and approving all proposed related party transactions, as defined in Item 404 of Regulation S-K under the Securities Act; | |
| ● | reviewing and recommending the financial statements for inclusion within PubCo’s quarterly earnings releases and to its Board of Directors for inclusion in its annual reports; | |
| ● | discussing the annual audited financial statements with management and the independent registered public accounting firm; | |
| ● | reviewing policies with respect to risk assessment and risk management; | |
| ● | reviewing the adequacy and effectiveness of PubCo’s accounting and internal control policies and procedures and any special steps taken to monitor and control major financial risk exposures; | |
| ● | periodically reviewing and reassessing the adequacy of the committee charter; | |
| ● | approving annual audit plans, and undertaking an annual performance evaluation of the internal audit function; | |
| ● | establishing and overseeing procedures for the handling of complaints and whistleblowing; | |
| ● | meeting separately and periodically with management, the internal auditors and the independent registered public accounting firm; | |
| ● | monitoring compliance with PubCo’s code of business conduct and ethics, including reviewing the adequacy and effectiveness of its procedures to ensure proper compliance; | |
| ● | reporting periodically to PubCo’s Board of Directors; and | |
| ● | such other matters that are specifically delegated to PubCo’s audit committee by PubCo’s Board of Directors from time to time. |
| 197 |
Compensation Committee. PubCo’s compensation committee will consist of Bin Xiong, Wei Lin Yu and Jun Gang Wang, and will be chaired by Wei Lin Yu. PubCo has determined that Jun Gang Wang satisfy the “independence” requirements of Rule 5605(c)(2) of the Listing Rules of the Nasdaq. The compensation committee assists the Board of Directors in reviewing and approving the compensation structure, including all forms of compensation, relating to PubCo’s directors and executive officers. PubCo’s chief executive officer may not be present at any committee meeting during which their compensation is deliberated upon. The compensation committee will be responsible for, among other things:
| ● | reviewing and evaluating PubCo’s executive compensation and benefits policies generally; | |
| ● | reviewing and recommending any incentive compensation or equity plans, programs or other similar arrangements; | |
| ● | periodically reviewing and reassessing the adequacy of the committee charter; | |
| ● | selecting compensation consultant, legal counsel or other adviser only after taking into consideration all factors relevant to that person’s independence from management; | |
| ● | reporting periodically to PubCo’s Board of Directors; and | |
| ● | such other matters that are specifically delegated to the compensation committee by PubCo’s Board of Directors from time to time. |
Nominating and Corporate Governance Committee. PubCo’s nominating and corporate governance committee will consist of Bin Xiong, Wei Lin Yu and Ye Liu be chaired by Bin Xiong. PubCo has determined that Ye Liu satisfies the “independence” requirements of Rule 5605(c)(2) of the Listing Rules of the Nasdaq. The nominating and corporate governance committee will assist the Board of Directors in selecting individuals qualified to become PubCo’s directors and in determining the composition of the Board of Directors and its committees. The nominating and corporate governance committee will be responsible for, among other things:
| ● | recommending nominees to PubCo’s Board of Directors for election or re-election to PubCo’s Board of Directors, or for appointment to fill any vacancy or newly created directorships on PubCo’s Board of Directors; | |
| ● | reviewing periodically with PubCo’s Board of Directors the current composition of PubCo’s Board of Directors with regards to characteristics such as judgment, experience, expertise, diversity and background; | |
| ● | recommending to PubCo’s Board of Directors such criteria with respect to nomination or appointment of members of its Board of Directors and chairs and members of its committees or other corporate governance matters as may be required pursuant to any SEC or Nasdaq rules, or otherwise considered desirable and appropriate; | |
| ● | recommending to PubCo’s Board of Directors the names of directors to serve as members of the audit committee and the compensation committee, as well as of the nominating and corporate governance committee itself; | |
| ● | periodically reassessing the adequacy of the committee charter; | |
| ● | overseeing compliance with the corporate governance guidelines and code of business conduct and ethics; and | |
| ● | overseeing and leading the self-evaluation of PubCo’s Board of Directors in its performance and effectiveness as a whole. |
| 198 |
Duties and Powers of Directors
Under Cayman Islands law, PubCo’s directors owe fiduciary duties to PubCo, including a duty of loyalty, a duty to act honestly and a duty to act in what they consider in good faith to be in PubCo’s best interests. PubCo’s directors must also exercise their powers only for a proper purpose. PubCo’s directors also owe to PubCo a duty to act with skill and care. It was previously considered that a director need not exhibit in the performance of his duties a greater degree of skill than may reasonably be expected from a person of his knowledge and experience. However, English and Commonwealth courts have moved towards an objective standard with regard to the required skill and care and these authorities are likely to be followed in the Cayman Islands. In fulfilling their duty of care to PubCo, PubCo’s directors must ensure compliance with PubCo’s memorandum and articles of association, as amended and restated from time to time. PubCo has the right to seek damages if a duty owed by its directors is breached. In limited exceptional circumstances, a shareholder may have the right to seek damages in PubCo’s name if a duty owed by PubCo’s directors is breached. In accordance with the Proposed PubCo Charter, the powers of PubCo’s board of directors include, among others, (i) convening shareholders’ annual and extraordinary general meetings and reporting its work to shareholders at such meetings, (ii) declaring dividends (including interim dividends) and other distributions on shares in issue and authorize payment of the same out of the funds of PubCo lawfully available therefor, (iii) appointing and removing any natural person or corporation, whether or not a director to hold such office in PubCo as the directors may think necessary for the administration of PubCo, and (iv) approving the transfer of shares of PubCo, including the registering of such shares in PubCo’s share register. In addition, in the case of an equality of votes, the chairman of the meeting of the directors of PubCo shall be entitled to a second or casting vote.
Terms of Directors and Officers
Pursuant to the Proposed PubCo Charter, PubCo may by an ordinary resolution appoint any person to be a director. The board of PubCo may, by the affirmative vote of a simple majority of the remaining directors present and voting at a board meeting, appoint any person as a director, to fill a casual vacancy on the board. An appointment of a director may be on terms that the director shall automatically retire from office (unless he has sooner vacated office) at the next or a subsequent annual general meeting or upon any specified event or after any specified period in a written agreement between PubCo and the director, if any; but no such term shall be implied in the absence of express provision. Each director whose term of office expires shall be eligible for re-election at a meeting of the shareholders or re-appointment by the board.
A director may be removed from office by an ordinary resolution, notwithstanding anything in the articles of association of PubCo or in any agreement between PubCo and such director (but without prejudice to any claim for damages under such agreement). In addition, the office of directors of PubCo shall be vacated if the director (i) becomes bankrupt or makes any arrangement or composition with his creditors; (ii) dies or is found by PubCo to be of unsound mind; (iii) resigns by notice in writing to PubCo; (iv) without special leave of absence from the PubCo board, is absent from meetings of the PubCo board for three consecutive meetings and the PubCo board resolves that his office be vacated; (v) prohibited by law from being a director; or (vi) is removed from office pursuant to any other provision of the Proposed PubCo Charter.
Interested Transactions
A director may, subject to any separate requirement for audit and risk committee approval under applicable law or applicable Nasdaq rules, vote in respect of any contract or transaction in which he or she is interested, provided that the nature of the interest of any directors in such contract or transaction is disclosed by him or her at or prior to its consideration and any vote in that matter.
Compensation of Directors and Executive Officers
For the fiscal year ended June 30, 2024, HZJL paid an aggregate of RMB 1,537,662.1 in cash to its directors and executive officers.
Foreign Private Issuer Status
As a foreign private issuer, PubCo will be exempt from the rules under the Exchange Act, prescribing the furnishing and content of proxy statements, and its officers, directors and principal shareholders will be exempt from the reporting and short-swing profit recovery provisions contained in Section 16 of the Exchange Act. In addition, PubCo will not be required under the Exchange Act to file quarterly periodic reports and financial statements with the SEC as frequently or as promptly as U.S. domestic issuers, and will not be required to disclose in its periodic reports all of the information that U.S. domestic issuers are required to disclose. PubCo will also be permitted to follow corporate governance practices in accordance with Cayman Islands law in lieu of most of the corporate governance rules set forth by Nasdaq. As a result, PubCo’s corporate governance practices will differ in some respects from those required to be followed by U.S. companies listed on a national securities exchange.
| 199 |
SECURITY OWNERSHIP OF CERTAIN BENEFICIAL OWNERS AND
MANAGEMENT PRIOR TO THE BUSINESS COMBINATION
The following table sets forth as of September 11, 2025 the number of ordinary shares beneficially owned by (i) each person who is known by us to be the beneficial owner of more than five percent of our issued and outstanding shares of ordinary shares (ii) each of our officers and directors; and (iii) all of our officers and directors as a group. As of September 11, 2025, we had 7,499,375 ordinary shares issued and outstanding.
Unless otherwise indicated, we believe that all persons named in the table have sole voting and investment power with respect to all ordinary shares beneficially owned by them. The following table does not reflect record of beneficial ownership of any ordinary shares issuable upon conversion of rights, as the rights are not convertible within 60 days of September 11, 2025.
| Name and Address of Beneficial Owner(1) | Amount and Nature of Beneficial Ownership | Approximate Percentage of Outstanding Shares(2) | ||||||
| Aurora Beacon LLC(3) | 1,691,875 | 22.56 | % | |||||
| Lulu Xing (3) | 1,691,875 | 22.56 | % | |||||
| Wenyi Shen | - | - | ||||||
| Kei Tung Yeung | - | - | ||||||
| Kun-Lin Liu | - | - | ||||||
| Yucan Zhang | - | - | ||||||
| Chengming Dou | - | - | ||||||
| All directors and executive officers as a group (6 individuals) | 1,691,875 | 22.56 | %(3) | |||||
| Barclays PLC(4) | 398,125 | 5.31 | % | |||||
| Kerry Propper/Antonio Ruiz-Gimenez(5) | 495,000 | 6.60 | % | |||||
| Polar Asset Management Partners Inc. (6) | 500,000 | 6.67 | % | |||||
| The Goldman Sachs Group, Inc.(7) | 390,960 | 5.20 | % | |||||
| RiverNorth Capital Management, LLC(8) | 495,000 | 6.60 | % | |||||
| Mizuho Financial Group, Inc. (9) | 580,001 | 7.70 | % | |||||
| Karpus Management, Inc. (10) | 821,975 | 10.96 | % | |||||
| (1) | Unless otherwise indicated, the business address of each of the individuals is No. 604, Yixing Road, Wanbolin District, Taiyuan City, Shanxi Province, People’s Republic of China. |
| 200 |
| (2) | All percentages are approximate, and are based upon a total of 7,499,375 ordinary shares outstanding (inclusive of shares included in our units) as of September 11, 2025. |
| (3) | Aurora Beacon LLC is the record holder of the shares reported herein. Aurora Beacon LLC is controlled by Mr. Lulu Xing, its sole director. By virtue of this relationship,Mr. Lulu Xing may be deemed to share beneficial ownership of the securities held of record by the Sponsor. |
| (4) | Pursuant to the schedule 13G filed by the reporting person on February 14, 2025, as amended on March 21, 2025. The address for the reporting person is 1 Churchill Place, London - E14 5HP. |
| (5) | Pursuant to the schedule 13G filed by the reporting persons on February 14, 2025. The address for the reporting person is 1 Pennsylvania Plaza, 48th Floor New York, New York 10119. The RDAC Ordinary Shares reported therein are held by (1) one or more private funds managed by ATW SPAC Management LLC (“ATW SPAC”), which has been delegated exclusive authority to vote and/or direct the disposition of certain Shares and (2) a private fund, SZOP Multistrat LP, managed by SZOP Multistrat Management LLC (“SZOP”). SZOP and ATW SPAC are registered investment advisers whose managing members are Kerry Propper and Antonio Ruiz-Gimenez. |
| (6) | Pursuant to the schedule 13G filed by the reporting person on February 14, 2025. The address for the reporting person is 16 York Street, Suite 2900, Toronto, Ontario, M5J 0E6. |
| (7) | Pursuant to the schedule 13G filed jointly by The Goldman Sachs Group, Inc. and Goldman Sachs & Co. LLC, The Goldman Sachs Group, Inc. on May 9, 2025. The address for the reporting persons is 200 West Street New York, NY 10282. |
| (8) | Pursuant to the schedule 13G filed by RiverNorth Capital Management, LL (“RiverNorth”) on August 14, 2025. RiverNorth’s principal office is 360 S. Rosemary Avenue, Ste. 1420, West Palm Beach, Florida 33401. RiverNorth has the sole power to vote or direct the vote and the sole power to dispose or direct the disposition of these shares. |
| (9) | Pursuant to the schedule 13G/A filed by the holder on August 13, 2025. The holder’s address is 1–5–5, Otemachi, Chiyoda–ku, Tokyo 100–8176, Japan. |
| (10) | Pursuant to the schedule 13G filed by the holder on February 7, 2025. The holder’s address is 183 Sully’s Trail, Pittsford, New York 14534. |
| 201 |
SECURITY OWNERSHIP OF THE COMBINED COMPANY
AFTER THE BUSINESS COMBINATION
The following table sets forth information regarding the beneficial ownership of PubCo Ordinary Shares immediately after the consummation of the Business Combination by:
| ● | each person known to PubCo who will be the beneficial owner of more than 5% of any class of its shares immediately after the Business Combination; | |
| ● | each of its officers and directors; and | |
| ● | all of its officers and directors as a group. |
Unless otherwise indicated, PubCo believes that all persons named in the table will have, immediately after the consummation of the Business Combination, sole voting and investment power with respect to all PubCo’s securities beneficially owned by them.
Beneficial ownership is determined in accordance with SEC rules and includes voting or investment power with respect to securities. Except as indicated by the footnotes below, PubCo believes, based on the information furnished to it, that the persons and entities named in the table below will have, immediately after the consummation of the Business Combination, sole voting and investment power with respect to all stock that they beneficially own, subject to applicable community property laws. All PubCo Ordinary Shares subject to options or warrants exercisable within 60 days of the consummation of the Business Combination are deemed to be outstanding and beneficially owned by the persons holding those options or warrants for the purpose of computing the number of shares beneficially owned and the percentage ownership of that person. They are not, however, deemed to be outstanding and beneficially owned for the purpose of computing the percentage ownership of any other person.
Subject to the paragraph above, percentage ownership of issued shares is based on 37,292,313 PubCo Ordinary Shares to be issued and outstanding upon consummation of the Business Combination
The expected beneficial ownership of PubCo Ordinary Shares post-Business Combination under the header “Post-Business Combination — Assuming No Redemption” assumes none of the RDAC public shares have been redeemed. The expected beneficial ownership of PubCo Ordinary Shares post-Business Combination under the header “Post-Business Combination — Assuming Maximum Redemption” assumes that all 5,750,000 RDAC public shares have been redeemed.
| 202 |
Post-Business Combination — Assuming No Redemption
| PubCo Class A | PubCo Class B | Voting | ||||||||||||||||||
| Ordinary Shares | Ordinary Shares | Power | ||||||||||||||||||
| Name and Address of Beneficial Owner(1) | Number | % | Number | % | (%) | |||||||||||||||
| Executive Officers and Directors | ||||||||||||||||||||
| Bin Xiong(2) | — | — | 12,292,000 | 28.6 | % | 80.0 | % | |||||||||||||
| Wei Lin Yu | — | — | — | — | — | |||||||||||||||
| Chun Hui Mao | — | — | — | — | — | |||||||||||||||
| Jun Gang Wang | — | — | — | — | — | |||||||||||||||
| Jun Chen Sun | — | — | — | — | — | |||||||||||||||
| Ye Liu(7) | — | — | — | — | — | |||||||||||||||
| All Executive Officers and Directors as a group | 12,292,000 | 28.6 | % | 80.0 | % | |||||||||||||||
| Sponsor and its affiliates as a group | 1,691,875 | 1,691,875 | — | — | 1.1 | % | ||||||||||||||
| 5% or Greater Holders | ||||||||||||||||||||
| XB B Limited(3) | — | — | 12,292,000 | 28.6 | % | 80.0 | % | |||||||||||||
| 36Kr Holdings Inc.(4) | 2,733,500 | 6.4 | % | — | — | 1.8 | % | |||||||||||||
| Vigorge L.P.(5) | 2,520,000 | 5.9 | % | — | — | 1.6 | % | |||||||||||||
| Beijing Lide No.1 Technology Center (Limited Partnership) (6) | 2,796,500 | 6.5 | % | — | — | 1.8 | % | |||||||||||||
| Ningbo Plum Mingshi Investment Partnership Enterprise (Limited Partnership) (7) | 2,341,500 | 5.4 | % | — | — | 1.5 | % | |||||||||||||
| Chongqing Xinghan Boyuan Equity Investment Fund Partnership Enterprise (Limited Partnership) (8) | 2,268,000 | 5.3 | % | — | — | 1.5 | % | |||||||||||||
| (1) | Unless otherwise noted, the address of each of the named beneficial owner is: Sea Meadow House, P.O. Box 116, Road Town, Tortola, British Virgin Islands | |
| (2) | Represents 12,292,000 Class B ordinary shares held by XB B Limited. XB B Limited is wholly owned by Mr. Bin Xiong, a director of the Company. | |
| (3) | XB B Limited is a British Virgin Islands incorporated company wholly owned by Mr. Bin Xiong, a director of the Company. | |
| (4) | 36Kr Holdings Inc. is a company incorporated under the laws of the Cayman Islands, which registered address is PO Box 309, Ugland House, Grand Cayman, KY1-1104, Cayman Islands. | |
| (5) | Vigorge L.P. is a limited partnership organized under the laws of the Cayman Islands, which registered address is 4th Floor, Harbour Place, 103 South Church Street, P.O. Box 10240, Grand Cayman KY1-1002, Cayman Islands. The general partner of Vigorge L.P.is Grandview Limited. | |
| (6) | Beijing Lide No.1 Technology Center (Limited Partnership) is a limited partnership organized under the laws of People’s Republic of China, which registered address is Room 304, 3rd Floor, Building 9, Yard 33, Tiancun Shan South Road, Haidian District, Beijing, People’s Republic of China. The general partner of Beijing Lide No.1 Technology Center (Limited Partnership) is Tie Dong Chen. | |
| (7) | Ningbo Plum Mingshi Investment Partnership Enterprise (Limited Partnership) is a limited partnership organized under the laws of People’s Republic of China, which registered address is E0409, Area A, Room 401, Building 1, 88 Qixing Road, Meishan, Beilun District, Ningbo City, Zhejiang Province, People’s Republc of China. The general partner of Ningbo Plum Mingshi Investment Partnership Enterprise (Limited Partnership) is Ningbo Plum Angel Investment Management Limited. | |
| (8) | Chongqing Xinghan Boyuan Equity Investment Fund Partnership Enterprise (Limited Partnership) is a limited partnership organized under the laws of People’s Republic of China, which registered address is Unit 2, 21st Floor, No.1 Huasheng Road, Yuzhong District, Chongqing, People’s Republic China. The general partner of Chongqing Xinghan Boyuan Equity Investment Fund Partnership Enterprise (Limited Partnership) is Beijing Xinghan Capital Investment Management Partnership Enterprise (Limited Partnership). |
| 203 |
Post-Business Combination — Assuming Maximum Redemption
| PubCo Class A | PubCo Class B | Voting | ||||||||||||||||||
| Ordinary Shares | Ordinary Shares | Power | ||||||||||||||||||
| Name and Address of Beneficial Owner(1) | Number | % | Number | % | (%) | |||||||||||||||
| Executive Officers and Directors | ||||||||||||||||||||
| Bin Xiong(2) | — | — | 12,292,000 | 33.0 | % | 83.1 | % | |||||||||||||
| Wei Lin Yu | — | — | — | — | — | |||||||||||||||
| Chun Hui Mao | — | — | — | — | — | |||||||||||||||
| Jun Gang Wang | — | — | — | — | — | |||||||||||||||
| Jun Chen Sun | — | — | — | — | — | |||||||||||||||
| Ye Liu | — | — | — | — | — | |||||||||||||||
| All Executive Officers and Directors as a group | — | — | 12,292,000 | 33.0 | % | 83.1 | % | |||||||||||||
| Sponsor and its affiliates as a group | 1,691,875 | 4.5 | % | — | — | 1.1 | % | |||||||||||||
| 5% or Greater Holders | ||||||||||||||||||||
| XB B Limited(3) | 12,292,000 | 33.0 | % | — | — | 83.1 | % | |||||||||||||
| 36Kr Holdings Inc.(4) | 2,733,500 | 7.3 | % | — | — | 1.8 | % | |||||||||||||
| Vigorge L.P.(5) | 2,520,000 | 6.8 | % | — | — | 1.7 | % | |||||||||||||
Beijing Lide No.1 Technology Center (Limited Partnership) (6) | 2,796,500 | 7.5 | % | — | — | 1.9 | % | |||||||||||||
Ningbo Plum Mingshi Investment Partnership Enterprise (Limited Partnership) (7) | 2,341,500 | 6.3 | % | — | — | 1.6 | % | |||||||||||||
| Chongqing Xinghan Boyuan Equity Investment Fund Partnership Enterprise (Limited Partnership) (8) | 2,268,000 | 6.1 | % | — | — | 1.5 | % | |||||||||||||
| Hangzhou Boson Equity Investment Partnership Enterprise (Limited Partnership) (9) | 2,107,000 | 5.6 | % | — | — | 1.4 | % | |||||||||||||
| Guangzhou Black Hole Investment Co., Ltd. (10) | 2,037,000 | 5.5 | % | — | — | 1.4 | % | |||||||||||||
| (1) | Unless otherwise noted, the address of each of the named beneficial owner is: Sea Meadow House, P.O. Box 116, Road Town, Tortola, British Virgin Islands | |
| (2) | Represents 12,292,000 Class B ordinary shares held by XB B Limited. XB B Limited is wholly owned by Mr. Bin Xiong, a director of the Company. | |
| (3) | XB B Limited is a British Virgin Islands incorporated company wholly owned by Mr. Bin Xiong, a director of the Company. | |
| (4) | 36Kr Holdings Inc. is a company incorporated under the laws of the Cayman Islands, which registered address is PO Box 309, Ugland House, Grand Cayman, KY1-1104, Cayman Islands. | |
| (5) | Vigorge L.P. is a limited partnership organized under the laws of the Cayman Islands, which registered address is 4th Floor, Harbour Place, 103 South Church Street, P.O. Box 10240, Grand Cayman KY1-1002, Cayman Islands. The general partner of Vigorge L.P.is Grandview Limited. | |
| (6) | Beijing Lide No.1 Technology Center (Limited Partnership) is a limited partnership organized under the laws of People’s Republic of China, which registered address is Room 304, 3rd Floor, Building 9, Yard 33, Tiancun Shan South Road, Haidian District, Beijing, People’s Republic of China. The general partner of Beijing Lide No.1 Technology Center (Limited Partnership) is Tie Dong Chen. | |
| (7) | Ningbo Plum Mingshi Investment Partnership Enterprise (Limited Partnership) is a limited partnership organized under the laws of People’s Republic of China, which registered address is E0409, Area A, Room 401, Building 1, 88 Qixing Road, Meishan, Beilun District, Ningbo City, Zhejiang Province, People’s Republc of China. The general partner of Ningbo Plum Mingshi Investment Partnership Enterprise (Limited Partnership) is Ningbo Plum Angel Investment Management Limited. | |
| (8) | Chongqing Xinghan Boyuan Equity Investment Fund Partnership Enterprise (Limited Partnership) is a limited partnership organized under the laws of People’s Republic of China, which registered address is Unit 2, 21st Floor, No.1 Huasheng Road, Yuzhong District, Chongqing, People’s Republic China. The general partner of Chongqing Xinghan Boyuan Equity Investment Fund Partnership Enterprise (Limited Partnership) is Beijing Xinghan Capital Investment Management Partnership Enterprise (Limited Partnership). | |
| (9) | Hangzhou Boson Equity Investment Partnership Enterprise (Limited Partnership) is a limited partnership organized under the laws of People’s Republic of China, which registered address is Room 1159, Building A, Hangzhou Creative Design Center, 102 Genshan West Road, Shangcheng District, Hangzhou City, Zhejiang Province, People’s Republic of China. The general partner of Hangzhou Boson Equity Investment Partnership Enterprise (Limited Partnership) is Beijing Wisdom Yitai Investment Management Limited. | |
| (10) | Guangzhou Black Hole Investment Co., Ltd. is a limited company incorporated under the laws of People’s Republic of China, which registered address is Room 1612, 28 Huaxia Road, Tianhe District, Guangzhou City, Guangdong Province, People’s Republic of China. |
| 204 |
REGULATIONS APPLICABLE TO HZJL
This section sets forth a summary of applicable laws, rules, regulations, government and industry policies and requirements that have a significant impact on HZJL’s operations and business in China. This summary does not purport to be a complete description of all laws and regulations, which apply to HZJL’s business and operations. Investors should note that the following summary is based on relevant laws and regulations in force as of the date of this proxy statement/prospectus, which may be subject to change.
REGULATIONS
As of the date of this proxy statement/prospectus, we have been advised by our PRC Legal Counsel, Han Kun Law Offices, that our PRC subsidiaries have obtained all licenses and approvals explicitly required and necessary for our operations in China. HZJL’s legal counsel as to Cayman Islands law has also advised that HZJL does not require any approvals from any Cayman authority. It is uncertain when and whether HZJL will be able to obtain permissions or approvals from the PRC government to list on U.S. exchanges, and even when such permission or approval is obtained, whether it will be denied or rescinded. As of the date of this prospectus, HZJL and its PRC Operating Entities are not denied any permissions or approvals that they are required to obtain from Chinese authorities to operate their business. Although HZJL’s PRC Operating Entities are currently not required to obtain permission or approval from any PRC government agency and have not received any denial to list on the U.S. exchange, our operations could be adversely affected, directly or indirectly, by existing or future laws and regulations relating to its business or industry. See “Risk Factors – Risks Related to Doing Business in China – The approval of and filing with the CSRC or other PRC government authorities may be required in connection with this Business Combination under PRC law, and, if so required, we cannot predict whether or when we will be able to obtain such approval or complete such filing, and even if we obtain such approval, this Business Combination also needs to be completed within the validity period of such approval.”
This section sets forth a summary of the principal PRC laws and regulations relevant to our business and operations in China.
Regulations and Policies on Computer Software and Internet
Computer Software
Pursuant to the Regulations on the Protection of Computer Software promulgated by the State Council on 4 June 1991 and last amended on 1 March 2013, Chinese citizens, legal persons or other entities own the copyright in software developed by them, including the right of publication, right of authorship, right of modification, right of reproduction, distribution right, rental right, right of network communication, translation right and other rights that software copyright owners shall have, regardless of whether such software has been published.
Pursuant to the Measures for the Registration of Computer Software Copyright promulgated by the National Copyright Administration on 6 April 1992 and last amended on 20 February 2002, software copyrights, exclusive licensing contracts for software copyrights and software copyright transfer contracts shall be registered, and the National Copyright Administration shall be the competent authority for the administration of software copyright registration and designates the Copyright Protection Center of China as a software registration authority. The Copyright Protection Center of China shall grant a registration certification to a computer software copyright applicant who complies with regulations.
Information Security and Privacy Protection
On November 7, 2016, Standing Committee of the National People’s Congress, or the SCNPC promulgated the Cybersecurity Law of the PRC, or the Cybersecurity Law, which became effective on June 1, 2017. In accordance with the Cybersecurity Law, network operators must comply with applicable laws and regulations and fulfill their obligations to safeguard network security in conducting business and providing services. Network operators must take technical and other necessary measures as required by laws to safeguard the operation of networks, respond to network security events effectively, prevent illegal and criminal activities in the cyberspace, and maintain the integrity, confidentiality and usability of network data.
| 205 |
On December 28, 2021, the Cybersecurity Review Measures was issued by CAC jointly with other governmental authorities, which took effect on February 15, 2022. Under the Cybersecurity Review Measures, the procurement of network products and services by critical information infrastructure operators, or the CIIO and the data processing activities conducted by network platform operators which affect or may affect national security shall be subject to cybersecurity review. Besides, according to Article 7 of the Cybersecurity Review Measures, a network platform operator who holds the personal information of more than one million users and is seeking for listing in a foreign country must apply for a cybersecurity review. In addition, according to Article 16 of the Cybersecurity Review Measures, members of the cybersecurity review working mechanism may initiate cybersecurity review towards network products, network services, and data processing activities ex officio. Based on the Cybersecurity Review Measures, cybersecurity review shall focus on the assessment of a number of national security risk factors of the relevant object or situation, including but not limited to, risks of any illegal control or supply chain interruption of critical information infrastructure, and risks of illegal use or illegal cross-border transfer of data.
On September 24, 2024, the Regulations on Network Data Security Management was issued by the State Council, which took effect on January 1, 2025. According to the Regulations on Network Data Security Management, network data handlers shall, in accordance with the provisions of laws and administrative regulations and the mandatory requirements of national standards, and on the basis of classified protection of cyber security, strengthen the protection of network data security, establish and perfect the system of network data security management, take technical measures to protect network data, and prevent illegal and criminal activities aiming at and using network data.
In addition, on May 28, 2020, the National People’s Congress of the PRC approved the PRC Civil Code, which came into effect on January 1, 2021. Pursuant to the PRC Civil Code, the collection, storage, use, process, transmission, provision and disclosure of personal information should follow the principles of legitimacy, properness and necessity.
On June 10, 2021, the SCNPC promulgated the Data Security Law of PRC, or Data Security Law, which took effect in September 2021. The Data Security Law sets forth data security and privacy related compliance obligations on entities and individuals carrying out data related activities. The Data Security Law also introduces a data classification and layered protection system based on the importance of data and the degree of impact on national security, public interests or legitimate rights and interests of individuals or organizations when such data is tampered with, destroyed, leaked or illegally acquired or used. In addition, the Data Security Law provides a national security review procedure for those data activities that may affect national security, and imposes export restrictions on certain data and information. According to the PRC National Security Law, the State shall establish institutions and mechanisms for national security review and regulation, and conduct national security review on certain matters that affect or may affect PRC national security, such as key technologies and IT products and services. In early July 2021, regulatory authorities in China launched cybersecurity investigations with regard to several China-based companies that are listed in the United States.
On August 20, 2021, the SCNPC promulgated the Personal Information Protection Law of the PRC, or the Personal Information Protection Law, which took effect in November 2021. As the first systematic and comprehensive law specifically for the protection of personal information in the PRC, the Personal Information Protection Law provides, among others, that (i) an individual’s separate consent shall be obtained before operation of such individual’s sensitive personal information, e.g., biometric characteristics and individual location tracking, (ii) personal information operators operating sensitive personal information shall notify individuals of the necessity of such operations and the influence on the individuals’ rights, (iii) if personal information operators reject individuals’ requests to exercise their rights, individuals may file a lawsuit with a People’s Court.
On July 7, 2022, the CAC issued the Measures for the Security Assessment of Data Exit, effective on September 1, 2022, which stipulates that data processors who provide overseas the important data collected and generated during operations within the PRC and personal information that shall be subject to security assessment shall conduct a security assessment. Furthermore, if the data processor provides data overseas and meets one of the following circumstances, it shall declare the security assessment: (i) personal information and important data collected and generated by operators of critical information infrastructure; (ii) the data contains important data; (iii) personal information processors who have processed personal information of one million people provide personal information abroad; (iv) accumulatively provided personal information of more than one hundred thousand people or sensitive personal information of more than ten thousand people abroad; and (v) other circumstances as specified by the CAC. The assessment results of the data exit are valid for two years.
In accordance with the Criminal Law of the People’s Republic of China which was promulgated by the National People’s Congress on 1 July 1979 and last amended on 29 December 2023, a network service provider is subject to criminal liability if such network service provider fails to perform such obligation to manage information network security as specified by laws and administrative regulations, and refuses to make corrections when is ordered by a supervisory authority to do so, and involves any of the specified serious cases.
| 206 |
Regulations on Telecommunication Businesses
License for Value-added Telecommunications Services
The Telecommunications Regulations of the PRC, or the Telecommunications Regulations, promulgated by the State Council on September 25, 2000, and amended on July 29, 2014 and February 6, 2016, provide a regulatory framework for telecommunications services providers in the PRC. The Telecommunications Regulations require telecommunications services providers to obtain an operating license prior to the commencement of their operations. The Telecommunications Regulations categorize telecommunications services into basic telecommunications services and value-added telecommunications services. According to the Catalog of Telecommunications Business, attached to the Telecommunications Regulations, which was promulgated by the MIIT on February 21, 2003 and amended by the MIIT on December 28, 2015 and June 6, 2019, the Internet information services and the online data processing and transaction processing services fall within the value-added telecommunications services. The Administrative Measures on Telecommunications Business Operating Licenses, which was promulgated by the MIIT on March 1, 2009, and amended on July 3, 2017, sets forth more specific provisions regarding the types of licenses required to operate value-added telecommunications services, the qualifications and procedures for obtaining such licenses and the administration and supervision of such licenses.
Foreign Investment in Value-Added Telecommunications Business
In December 2001, in order to comply with China’s commitments with respect to its entry into the WTO, the State Council promulgated the Regulation for the Administration of Foreign-Invested Telecommunications Enterprises, which was last revised in March 2022 and took effect on May 1, 2022, or the 2022 FITE Regulations. The 2022 FITE Regulations removed the qualification requirement on the primary foreign investor in a foreign invested value-added telecommunications enterprise for having a good track record and operational experience in the value-added telecommunications industry as stipulated in the previous version. Pursuant to the 2022 FITE Regulations, foreign investors may hold an aggregate of no more than 50% of the total equity in any value-added telecommunications business in China other than e-commerce, domestic multi-party communications, store-and-forward, call centers or those opened up based on the recent pilot work of expanding the opening up of value-added telecommunications services to foreign investors as allowed under Notice from the Ministry of Information Industry Technology on Launching Pilot Projects for Expanding the Opening Up of Value-added Telecommunications Services to Foreign Investors issued on April 8, 2024. In July 2006, the MII released the Notice on Strengthening the Administration of Foreign Investment in and Operation of Value-added Telecommunications Business, or the MII Notice, pursuant to which, domestic telecommunications enterprises are prohibited to rent, transfer or sell a telecommunications business operation license to foreign investors in any form, or provide any resources, premises, facilities and other assistance in any form to foreign investors for their illegal operation of any telecommunications business in China. In addition, under the MII Notice, the Internet domain names, and registered trademarks used by a foreign-invested value-added telecommunication service operator shall be legally owned by that operator (or its shareholders).
Regulations on Advertising Businesses
The Advertising Law of the People’s Republic of China which was promulgated by SCNPC on 27 October 1994 and last amended on 1 September 2015 requires that advertisers, advertisement operators and advertisement publishers shall ensure that contents of advertisements produced or spread by them are true and totally comply with applicable laws and regulations, and contents of advertisements shall not include, inter alia, information which (1) damages the national dignity or interest, or involves state secrets; (2) contains such words as “national”, “highest level” and “the best”; and (3) involves ethnic, racial, religious and gender discrimination. In addition, advertisements with certain special contents shall be subject to government review prior to publication, and advertisers, advertisement operators and advertisement publishers shall confirm that such review has been sufficiently implemented and relevant approvals have been obtained. Violation of the aforesaid requirements may lead to penalties, confiscation of advertising revenues, or being ordered to stop spreading the advertisement or to publish an advertisement for correcting any misleading information. If such case is serious, the industrial and commercial administration authority may order termination of advertising operation or cancelation of the business license.
The Interim Measures for the Administration of Internet Advertising which was promulgated by the SAIC on 4 July 2016 and came into effect on 1 September 2016 governs all advertisements published on the Internet, including but not limited to advertisements in the form of text, image, audio and video which are published through website, web page and application. Internet advertisement operators and publishers shall not design, produce, provide agency services for or publish any false advertisement they know or should have known; shall establish a review and file management system to inspect and verify relevant supporting documents, and check contents of advertisements; and shall not design, produce, provide agency services for or publish any advertisement whose contents are untrue or without sufficient supporting documents.
| 207 |
Regulations on Online Trading
On January 26, 2014, SAIC issued the Administrative Measures for Online Trading (the “Online Trading Measures”), which replaced its previous Interim Measures for the Administration of Online Commodities Transaction and Relevant Services. The Online Trading Measures aim to regulate online commodity trading and relevant services, setting standards for online commodity trading operators and relevant services providers, including third-party trading platform operators, concerning qualifications, after-sale services, terms of use, user privacy protection, data preservation, compliance with applicable laws in respect of intellectual property rights protection and unfair competition. In order to further regulate online transaction activities, on March 15, 2021, SAMR issued the Online Trading Supervision Measures, effective on May 1, 2021, and replace the Online Trading Measures. The Online Trading Supervision Measures shall apply to the business activities of selling commodities or providing services in social networking, internet live streaming or other information network activities and it further regulates the operations of online trading. On August 31, 2018, the SCNPC promulgated the E-Commerce Law of the PRC, effective on January 1, 2019, which aims to regulate the e-commerce activities conducted within the territory of the PRC. Pursuant to the E-Commerce Law, an e-commerce business shall, in business operation, abide by the principles of voluntariness, equality, equity and good faith, observe the law and business ethics, fairly participate in market competition, perform obligations in aspects including protection of consumer rights and interests, environment, intellectual property rights, cybersecurity and individual information, assume responsibility for quality of products or services, and accept the supervision by the government and the public.
Regulations on Product Quality and Consumer Protection
Pursuant to the Product Quality Law of the PRC promulgated by the SCNPC on February 22, 1993 and latest amended on December 29, 2018, the seller shall be responsible for the repair, replacement or return of the product sold if (i) the product sold does not have the function for use that it is supposed to have, and no prior indication is given of such a situation; (ii) the product sold does not conform to the applied product standard as carried on the product or its packaging; or (iii) the product sold does not conform to the quality indicated by such means as a product description or physical sample. If a consumer incurs losses as a result of purchased product, the seller shall compensate for such losses.
On May 28, 2020, the Civil Code of the PRC, or the Civil Code was adopted by the NPC, which became effective on January 1, 2021, according to which, a manufacturer or a commercial seller is subject to liability for harm to persons or property caused by the product defects. The infringed may seek compensation from the manufacturer or the commercial seller. Where the infringed seeks compensation from the commercial seller, the commercial seller shall have the right to make a claim against the liable manufacturer after it has made compensation.
The Law of the PRC on the Protection of the Rights and Interests of Consumers, or the Customer Protection Law was promulgated by the SCNPC on October 31, 1993 and was amended on August 27, 2009 and October 25, 2013, to protect consumers’ rights when they purchase or use goods and accept services. Pursuant to Customer Protection Law, business operators must guarantee that the commodities they sell satisfy the requirements for personal or property safety, provide customers with authentic information about the commodities, and guarantee the quality, function, usage and term of validity of the commodities. Failure to comply with the Customer Protection Law may subject business operators to civil liabilities such as refunding purchase prices and compensation, administrative penalties such as confiscation of illegal income, fine, order to suspend business for rectification and revocation of business license, or criminal penalties if business operators commit crimes by infringing the legitimate rights and interests of customers.
Regulations in Relation to Food Safety
Pursuant to the Food Safety Law of the PRC, or the Food Safety Law, which was promulgated by the SCNPC on February 28, 2009 and latest amended on April 29, 2021, the State Council implemented a licensing system for food production and trading activities. A person or entity that engages in food production, food selling or catering services shall obtain the license in accordance with the Food Safety Law. The Implementation Rules of the Food Safety Law, which were promulgated by the State Council on July 20, 2009 and last amended on October 11, 2019, further specify the detailed measures to be taken for food producers and business operators and the penalties that shall be imposed should these required measures not be implemented.
| 208 |
According to the Administrative Measures for Supervision and Inspection of Food Production and Business Operation promulgated by the SAMR on December 24, 2021 and effective on March 15, 2022, the China State Administration for Market Regulation, or the SAMR, shall be responsible for supervising and guiding the supervision and inspection of food production and business operations nationwide and may organize supervision and inspection as needed. The Measures for Investigation and Punishment of Illegal Acts concerning the Safety of Food Sold Online, which were promulgated by China Food and Drug Administration (now merged into SAMR) on July 13, 2016 and last amended on April 2, 2021, stipulate the rules for the investigation and punishment of the acts of online food trading third-party platform providers or food producers or traders that trade through their self-established websites violating food safety laws, regulations, rules or food safety standards within the territory of the PRC.
According to the Administrative Measures for Food Operation Licensing and Record-filing promulgated by the SAMR on June 15, 2023 and effective on December 1, 2023, entities involved in food selling and catering services within the PRC shall obtain the food operation license which is valid for 5 years except for certain circumstances. Applications of food operation license shall be filed according to food operator’s types of operation and classification of operation projects. Food operators shall display their paper original food operation licenses or their electronic certificate prominently at their sites of operation. If the licensing items which are indicated on a food operation license change, the food operator shall, within 10 business days after the changes take place, apply with the market regulatory authority which originally issued the license for alteration of the operation license. Those who engage in food operation activities but failed to obtain a required food operation license shall be punished by the local market regulatory authorities at or above the county level according to Article 122 of the Food Safety Law.
Regulations in Relation to Foreign Investment
The Foreign Investment Law
On March 15, 2019, the SCNPC approved the Foreign Investment Law of the PRC, which took effect on January 1, 2020 and replaced three existing laws on foreign investments in China, namely, the PRC Equity Joint Venture Law, the PRC Cooperative Joint Venture Law and the Wholly Foreign-owned Enterprise Law, together with their implementation rules and ancillary regulations. The Foreign Investment Law embodies an expected PRC regulatory trend to rationalize its foreign investment regulatory regime in line with prevailing international practice and the legislative efforts to unify the corporate legal requirements for both foreign and domestic invested enterprises in China. The Foreign Investment Law establishes the basic framework for the access to, and the promotion, protection and administration of foreign investments in view of investment protection and fair competition.
According to the Foreign Investment Law, “foreign investment” refers to investment activities directly or indirectly conducted by one or more natural persons, business entities, or otherwise organizations of a foreign country (collectively referred to as “foreign investors”) within China, and the investment activities include the following situations: (i) a foreign investor, individually or collectively with other investors, establishes a foreign-invested enterprise within China; (ii) a foreign investor acquires stock shares, equity shares, shares in assets, or other like rights and interests of an enterprise within China; (iii) a foreign investor, individually or collectively with other investors, invests in a new project within China; and (iv) investments in other means as provided by laws, administrative regulations, or the State Council.
According to the Foreign Investment Law, the State Council will publish or approve to publish a catalogue for special administrative measures, or the “negative list”. The Foreign Investment Law grants national treatment to foreign invested entities, except for those foreign invested entities that operate in industries deemed to be either “restricted” or “prohibited” in the “negative list”. The Foreign Investment Law provides that foreign invested entities operating in foreign restricted or prohibited industries will require market entry clearance and other approvals from relevant PRC governmental authorities. Furthermore, the Foreign Investment Law provides that foreign invested enterprises established according to the existing laws regulating foreign investment may maintain their structure and corporate governance within five years after the implementing of the Foreign Investment Law. In addition, the Foreign Investment Law also provides several protective rules and principles for foreign investors and their investments in the PRC, including, among others, that local governments shall abide by their commitments to the foreign investors; foreign-invested enterprises are allowed to issue stocks and corporate bonds; except for special circumstances, in which case statutory procedures shall be followed and fair and reasonable compensation shall be made in a timely manner, expropriation or requisition of the investment of foreign investors is prohibited; mandatory technology transfer is prohibited; and the capital contributions, profits, capital gains, proceeds out of asset disposal, licensing fees of intellectual property rights, indemnity or compensation legally obtained, or proceeds received upon settlement by foreign investors within China, may be freely remitted inward and outward in RMB or a foreign currency. Also, foreign investors or the foreign investment enterprises should be imposed legal liabilities for failing to report investment information in accordance with the requirements.
| 209 |
On December 26, 2019, the State Council promulgated the Implementation Regulations on the Foreign Investment Law, which came into effect on January 1, 2020. It further requires that foreign-invested enterprises and domestic enterprises shall be treated equally with respect to policy making and implementation. Pursuant to the Implementation Regulations on the Foreign Investment Law, if the existing foreign-invested enterprises fail to change their original forms as of January 1, 2025, the relevant market regulation departments will not process other registration matters for these enterprises, and may disclose their relevant information to the public.
On December 30, 2019, the MOFCOM and the SAMR jointly issued the Measures for Reporting of Foreign Investment Information, or the Foreign Investment Information Measures, which came into effect on January 1, 2020 and replaced the Interim Administrative Measures for the Record-filing of the Establishment and Modification of Foreign-invested Enterprises. Since January 1, 2020, for foreign investors carrying out investment activities directly or indirectly in the PRC, foreign investors or foreign-invested enterprises shall submit investment information through the Enterprise Registration System and the National Enterprise Credit Information Publicity System operated by the State Administration for Market Regulation. Foreign investors or foreign-invested enterprises shall disclose their investment information by submitting reports for their establishments, modifications and cancellations and their annual reports in accordance with the Foreign Investment Information Measures. If a foreign-invested enterprise investing in the PRC has finished submitting its reports for its establishment, modifications and cancellation and its annual reports, the relevant information will be shared by the competent market regulation department to the competent commercial department, and does not require such foreign-invested enterprise to submit the reports separately.
The establishment, operation and management of corporate entities in the PRC are governed by the PRC Company Law, which was initially promulgated by the SCNPC on December 29, 1993 and was most recently amended on December 29, 2023. The current PRC Company Law came into effect on July 1, 2024. The PRC Company Law generally governs two types of companies, limited liability companies and joint stock limited companies. The PRC Company Law also applies to foreign-invested companies that are also subject to the operation of other laws and regulations applicable to foreign investment.
Foreign Investment Industries Guidance Catalogue
On June 28, 2017, the MOFCOM and the NDRC, jointly promulgated the Guidance Catalogue of Industries for Foreign Investment (Revised in 2017), or the Catalogue, which came into effect on July 28, 2017. The Catalogue includes the Catalogue of Industries for Encouraging Foreign Investment, or the Encouraged Catalogue, and the Special Administrative Measures for Access of Foreign Investment (Negative List), or the Negative List. The Encourage Catalogue sets forth the industries and economic activities that foreign investment in China is encouraged to be engaged in. The Negative List sets forth the prohibited or restricted industries or economic activities for foreign investment in China. The Encouraged Catalogue was amended on June 30, 2019, December 27,2020 and October 26,2022, and the Negative List was amended on June 28, 2018, June 30, 2019, June 23, 2020 and December 27, 2021 and September 6, 2024. Any industry not listed in the Encouraged Catalogue and the Negative List is a permitted industry.
Regulations Relating to Foreign Exchange
The PRC Foreign Exchange Administration Regulations promulgated by the State Council on January 29, 1996, which was amended on January 14, 1997 and August 1, 2008, respectively, are the principal regulations governing foreign currency exchange in China. Under the PRC foreign exchange regulations, payments of current account items, such as profit distributions and trade and service-related foreign exchange transactions, may be made in foreign currencies without prior permission or approval from the State Administration of Foreign Exchange, or SAFE, by complying with certain procedural requirements. In contrast, permission or approval from or registration with appropriate government authorities or designated banks is required when RMB is to be converted into a foreign currency and remitted out of China to pay capital expenses such as the repayment of foreign currency-denominated loans.
Under current regulations, the capital of a foreign-invested enterprise and capital in RMB obtained by the foreign-invested enterprise from foreign exchange settlement must not be used for the following purposes: directly or indirectly used for the payment beyond the business scope of the enterprises or the payment prohibited by relevant laws and regulations; directly or indirectly used for investment in securities, unless otherwise provided by relevant laws and regulations; extending loans to non-related parties, unless permitted by the scope of business; and/or paying the expenses related to the purchase of real estate that is not for self-use, except for the real estate enterprises.
In 2017, new regulations were adopted which, among other things, relax the policy restriction on foreign exchange inflow to further enhance trade and investment facilitation and tighten genuineness and compliance verification of cross-border transactions and cross-border capital flows.
| 210 |
In 2019, SAFE promulgated SAFE Circular 28, amended on December 5, 2023, which cancelled restrictions on domestic equity investments made with capital funds by non-investing foreign-funded enterprises. If a non-investing foreign-funded enterprise makes domestic equity investment with capital funds obtained from foreign exchange settlement, the investee shall undergo registration formalities for accepting domestic reinvestment and open the “capital account— account for settled foreign exchange to be paid” to receive the corresponding funds according to relevant provisions.
Regulations Relating to Dividend Distributions
The principal laws, rules and regulations governing dividend distributions by foreign-invested enterprises in the PRC are the PRC Company Law, promulgated in 1993 and last amended in 2018 and the Foreign Investment Law and its Implementing Regulations, both came into effect on January 1, 2020. Under these requirements, foreign-invested enterprises may pay dividends only out of their accumulated profit, if any, as determined in accordance with PRC accounting standards and regulations. A PRC company is required to allocate at least 10% of their respective accumulated after-tax profits each year, if any, to fund certain capital reserve funds until the aggregate amount of these reserve funds have reached 50% of the registered capital of the enterprises. A PRC company is not permitted to distribute any profits until any losses from prior fiscal years have been offset. Profits retained from prior fiscal years may be distributed together with distributable profits from the current fiscal year.
Regulations on Intellectual Property Rights
Patent Law
According to the Patent Law of the PRC (as amended in 1992, 2000, 2008 and 2020), or the Patent Law, the State Intellectual Property Office is responsible for administering patent laws in the PRC. The provincial, autonomous region and municipal level patent administration departments are responsible for the administration of patent laws within their respective jurisdictions. The Chinese patent system adopts a first-to-file principle, which means that when more than one person files patent applications with respect to the same invention, the person who files the application first will obtain the patent of the invention. To be patentable, an invention or a utility model must meet three criteria: novelty, inventiveness and practicability. A patent is valid for twenty years in the case of an invention, ten years in the case of utility models and fifteen years in the case of designs.
Regulations on Copyright
The Copyright Law of the PRC, or the Copyright Law, which took effect on June 1, 1991 and was amended in 2001, 2010 and 2020, provides that Chinese citizens, legal persons, or other organizations shall, whether published or not, own copyright in their copyrightable works, which include, among others, works of literature, art, natural science, social science, engineering technology and computer software. Copyright owners enjoy certain legal rights, including right of publication, right of authorship and right of reproduction. The Copyright Law also extends copyright protection to internet activities, products disseminated over the internet and software products. In addition, the Copyright Law provides for a voluntary registration system administered by the China Copyright Protection Center, or the CPCC. According to the Copyright Law, an infringer of the copyrights shall be subject to various civil liabilities, which include ceasing infringement activities, making apology to the copyright owners and compensating the copyright owners for his/her loss. Infringers of copyright may also be subject to fines and/or administrative or criminal liabilities in severe situations. In order to further implement the Regulations on Computer Software Protection, the National Copyright Administration issued the Measures for the Registration of Computer Software Copyright on February 20, 2002, which specifies detailed procedures and requirements with respect to the registration of software copyrights. Pursuant to the Computer Software Copyright Protection Regulations promulgated by the State Council on December 20, 2001 and amended on January 30, 2013, software copyright owners may complete registration formalities with a software registration authority recognized by the State Council’s copyright administrative department. A software copyright owner may authorize others to exercise that copyright, and is entitled to receive remuneration.
| 211 |
Trademark Law
Trademarks are protected by the Trademark Law of the PRC which was adopted on August 23, 1982 and subsequently amended in 1993, 2001, 2013 and 2019 as well as by the Implementation Regulations of the PRC Trademark Law adopted by the State Council in 2002 and most recently amended on April 29, 2014. The Trademark Office under the State Administration for Industry and Commerce takes charge of trademark registrations. The Trademark Office grants a ten-year term to registered trademarks which term may be renewed for another ten-year period upon request by the trademark owner. A trademark registrant may license its registered trademarks to another party by entering into trademark license agreements, which must be filed with the Trademark Office for its record. As with trademark registrations, the Trademark Law has adopted a first-to-file principle. If a trademark applied for is identical or similar to another trademark which has already been registered or subject to a preliminary examination and approval for use on the same or similar kinds of products or services, such trademark application may be rejected. Any person applying for the registration of a trademark may not injure existing trademark rights first obtained by others, nor may any person register in advance a trademark that has already been used by another party and has already gained a “sufficient degree of reputation” through such party’s use.
Regulations on Domain Names
The MIIT promulgated the Measures on Administration of Internet Domain Names or the Domain Name Measures, on August 24, 2017, which took effect on November 1, 2017 and replaced the Administrative Measures on China Internet Domain Names promulgated by the MIIT on November 5, 2004. According to the Domain Name Measures, the MIIT is in charge of the administration of PRC internet domain names. The domain name registrations follow a first-to-file principle. Applicants for registration of domain names must provide the true, accurate and complete information of their identities to domain name registration service institutions. The applicants will become the holders of such domain names upon the completion of the registration procedures.
Regulations on Taxation
Enterprise Income Tax
On March 16, 2007, the SCNPC promulgated the Enterprise Income Tax Law of the PRC, which was amended on February 24, 2017 and December 29, 2018. On December 6, 2007, the State Council enacted the Regulations for the Implementation of the Enterprise Income Tax Law, or collectively, the EIT Law. The EIT Law was latest amended on December 6, 2024, effective on January 20, 2025. Under the EIT Law, both resident enterprises and non-resident enterprises are subject to tax in the PRC. Resident enterprises are defined as enterprises that are established in China in accordance with PRC laws, or that are established in accordance with the laws of foreign countries but are actually or in effect controlled from within the PRC. Non-resident enterprises are defined as enterprises that are organized under the laws of foreign countries and whose actual management is conducted outside the PRC, but have established institutions or premises in the PRC, or have no such established institutions or premises but have income generated from inside the PRC. Under the EIT Law and relevant implementing regulations, a uniform corporate income tax rate of 25% is applied. However, if non-resident enterprises have not formed permanent establishments or premises in the PRC, or if they have formed permanent establishment or premises in the PRC but there is no actual relationship between the relevant income derived in the PRC and the established institutions or premises set up by them, enterprise income tax is set at the rate of 10% with respect to their income sourced from inside the PRC. According to the EIT Law and relevant regulations, subject to the permission or approval of competent tax authorities, the income tax of an enterprise that has been determined to be a high and new technology enterprise shall be reduced to a preferential rate of 15%.
Value-added Tax
The Provisional Regulations of the PRC on Value-added Tax was promulgated by the State Council on December 13, 1993 and came into effect on January 1, 1994 and was subsequently amended from time to time, and the Detailed Rules for the Implementation of the Provisional Regulations of the PRC on Value-added Tax (Revised in 2011) was promulgated by the Ministry of Finance on December 25, 1993 and subsequently amended on December 15, 2008 and October 28, 2011, or collectively, VAT Law.
| 212 |
On November 19, 2017, the State Council promulgated the Decisions on Abolishing the Provisional Regulations of the PRC on Business Tax and Amending the Provisional Regulations of the PRC on Value-added Tax, or the Order 691. The VAT tax rates generally applicable are simplified as 17%, 11%, 6% and 0%, and the VAT tax rate applicable to the small-scale taxpayers is 3%. Pursuant to the Circular of the Ministry of Finance and the State Administration of Taxation on Adjusting Value-added Tax Rates promulgated on April 4, 2018 by the Ministry of Finance and the State Administration of Taxation, which became effective on May 1, 2018, where a taxpayer engages in a taxable sales activity for the value-added tax purpose or imports goods, the previous applicable 17% and 11% tax rates are adjusted to be 16% and 10%, respectively. Pursuant to Announcement on Policies for Deepening the VAT Reform issued by the PRC Ministry of Finance, the PRC State Taxation Administration and the General Administration of Customs (“Announcement No. 39”) on March 20, 2019 and effective on April 1, 2019, the previous rate of 16% or 10% are adjusted to be 13% or 9%, respectively, for taxpayer’s general sale activities or imports.
According to the VAT Law and the Order 691, all enterprises and individuals engaged in the sale of goods, the provision of processing, repair and replacement services, sale of services, intangible assets, real property and the importation of goods within the territory of the PRC are subject to VAT.
On December 25, 2024, the SCNPC promulgated the Value-added Tax Law of the PRC, which will take effect on January 1, 2026. The value-added tax (VAT) has, for the first time, achieved the legal status of a tax in the sense of statutory law.
Tax on Indirect Transfer
On February 3, 2015, the SAT issued the Circular on Issues of Enterprise Income Tax on Indirect Transfers of Assets by Non-PRC Resident Enterprises, or the SAT Circular 7. Pursuant to the SAT Circular 7, an “indirect transfer” of assets, including equity interests in a PRC resident enterprise, by non-PRC resident enterprises, may be recharacterized and treated as a direct transfer of PRC taxable assets, if such arrangement does not have a reasonable commercial purpose and was established for the purpose of avoiding payment of PRC enterprise income tax. As a result, gains derived from such indirect transfer may be subject to PRC enterprise income tax. When determining whether there is a “reasonable commercial purpose” of the transaction arrangement, features to be taken into consideration include, inter alia, whether the main value of the equity interest of the relevant offshore enterprise derives directly or indirectly from PRC taxable assets; whether the assets of the relevant offshore enterprise mainly consists of direct or indirect investment in China or if its income is mainly derived from China; and whether the offshore enterprise and its subsidiaries directly or indirectly holding PRC taxable assets have real commercial nature which is evidenced by their actual function and risk exposure. The SAT Circular 7 does not apply to transactions of sale of shares by investors through a public stock exchange where such shares were acquired on a public stock exchange. On October 17, 2017, the SAT issued the Circular on Issues of Tax Withholding regarding Source of Non-PRC Resident Enterprise Income Tax, or the SAT Circular 37, which further elaborates on the relevant implemental rules regarding the calculation, reporting and payment obligations of the withholding tax by the non-resident enterprises.
Regulations on M&A Rules and Overseas Listing
On August 8, 2006, six (6) PRC governmental and regulatory agencies, including the MOFCOM and the CSRC, promulgated the Rules on Acquisition of Domestic Enterprises by Foreign Investors, or the M&A Rules that became effective on September 8, 2006 and was revised on June 22, 2009, governing the mergers and acquisitions of domestic enterprises by foreign investors. The M&A Rules, among other things, require that if an overseas company established or controlled by PRC companies or individuals, or PRC Citizens, intends to acquire equity interests or assets of any other PRC domestic companies affiliated with the PRC Citizens, such acquisition must be submitted to the MOFCOM for permission or approval. The M&A Rules also require that an offshore SPV, or an SPV formed for overseas listing purposes and controlled directly or indirectly by PRC companies or individuals, shall obtain the permission or approval of the CSRC prior to overseas listing and trading of such SPV’s securities on an overseas stock exchange.
CSRC Regulations of Overseas Securities Offering and Listing by Domestic Companies
On December 24, 2021, the CSRC published the Provisions of the State Council on the Administration of Overseas Securities Offering and Listing by Domestic Companies (Draft for Comment) (the “Draft Provisions”), and the Administrative Measures for the Filing of Overseas Securities Offering and Listing by Domestic Companies (Draft for Comment) (the “Draft Measures”, collectively with the Draft Provisions, the “Draft Rules”) for public comments. The Draft Rules lay out specific filing requirements for overseas listing and offering by PRC domestic companies and include unified regulation management and strengthening regulatory coordination.
| 213 |
On February 17, 2023, the CSRC promulgated the Trial Administrative Measures of Overseas Securities Offering and Listing by Domestic Companies (the “Trial Measures”), which will take effect on March 31, 2023. The Trial Measures supersede the Draft Rules and clarified and emphasized several aspects, which include but are not limited to: (1) comprehensive determination of the “indirect overseas offering and listing by PRC domestic companies” in compliance with the principle of “substance over form” and particularly, an issuer will be required to go through the filing procedures under the Trial Measures if the following criteria are met at the same time: a) 50% or more of the issuer’s operating revenue, total profit, total assets or net assets as documented in its audited consolidated financial statements for the most recent accounting year is accounted for by PRC domestic companies, and b) the main parts of the issuer’s business activities are conducted in mainland China, or its main places of business are located in mainland China, or the senior managers in charge of its business operation and management are mostly Chinese citizens or domiciled in mainland China; (2) exemptions from immediate filing requirements for issuers that a) have already been listed or registered but not yet listed in foreign securities markets, including U.S. markets, prior to the effective date of the Trial Measures, and b) are not required to re-perform the regulatory procedures with the relevant overseas regulatory authority or the overseas stock exchange, and c) whose such overseas securities offering or listing shall be completed before September 30, 2023, provided however that such issuers shall carry out filing procedures as required if they conduct refinancing or are involved in other circumstances that require filing with the CSRC; (3) a negative list (the “Trial Measures Negative list”) of types of issuers banned from listing or offering overseas, such as (a) issuers whose listing or offering overseas have been recognized by the State Council of the PRC as possible threats to national security, (b) issuers whose affiliates have been recently convicted of bribery and corruption, (c) issuers under ongoing criminal investigations, and (d) issuers under major disputes regarding equity ownership; (4) issuers’ compliance with web security, data security, and other national security laws and regulations; and (5) issuers’ filing and reporting obligations (the “Trial Measures Filing Obligations”), such as obligation to file with the CSRC after it submits an application for initial public offering to overseas regulators, and obligation after offering or listing overseas to report to the CSRC material events including change of control or voluntary or forced delisting of the issuer.
The Trial Measures provide the CSRC with power to warn, fine, and issue injunctions against both PRC domestic companies, their controlling shareholders, and their advisors in listing or offering securities (collectively, the “Subject Entities”), as well as individuals directly responsible for these Subject Entities (the “Subject Individuals”). For failure to comply with the Trial Measures Negative List or the Trial Measures Filing Obligations, or materially false or misleading statements in the filing and reporting required by the Trial Measures: (1) PRC domestic companies, and their controlling shareholders if the controlling shareholders induced the PRC domestic companies’ failure to comply, severally, can face warnings, injunctions to comply, and fines between RMB 1 million and 10 million (approximately $145,647and $1,456,473); the Subject Individuals in these entities can, severally, face warnings and fines between RMB 0.5 million and 5 million (approximately $72,824 and $728,237). (2) Advisors in listing or offering securities that failed to dutifully advise the PRC domestic companies and their controlling shareholders in complying with the Trial Measures and caused such failures to comply may face warnings and fines between RMB 0.5 million and 5 million (approximately $72,824 and $728,237); the Subject Individuals in these advisor entities can, severally, face warnings and fines between RMB 0.2 million and 2 million (approximately $29,129 and $291,295).
On February 24, 2023, the CSRC, the Ministry of Finance, the National Administration of State Secrets Protection and the National Archives Administration jointly issued the Provisions on Strengthening Confidentiality and Archives Administration of Overseas Securities Offering and Listing by Domestic Companies, or the Confidentiality and Archives Provisions, which will take effect from March 31, 2023. The Confidentiality and Archives Provisions specify that during the overseas securities offering and listing activities of domestic companies, domestic companies and securities companies and securities service institutions that provide relevant securities business shall, by strictly abiding by the relevant laws and regulations of the PRC and this Confidentiality and Archives Provisions, institute a sound confidentiality and archives administration systems, take necessary measures to fulfill confidentiality and archives administration obligations, and shall not divulge any national secrets, work secrets of governmental agencies and harm national and public interests. Confidentiality and Archives Provisions provides that it is applicable to initial public offerings as well as other types of securities listing of PRC domestic enterprises, including de-SPAC transactions such as HZJL’s Business Combination, and any future issuance of securities and listing activities after the initial listing. Working papers generated in the PRC by securities companies and securities service providers that provide relevant securities services for overseas issuance and listing of securities by domestic companies shall be kept in the PRC. Confidentiality and Archives Provisions provide no explicit definition of working papers. In practice, the securities companies’ working papers usually refer to various important information and work records related to the securities business obtained and prepared by the securities companies and securities service providers and their representatives in the whole process of the securities businesses, such as due diligence work. Without the approval of relevant competent authorities, such as CSRC, MOF PRC National Administration of State Secrets Protection, and National Archives Administration of China, depending on the nature and transmission method of secrets, it shall not be transferred overseas. Where documents or materials need to be transferred outside of the PRC, it shall be subject to the approval procedures in accordance with relevant PRC regulations. The relevant competent authorities, such as, CSRC, MOF, PRC National Administration of State Secrets Protection, and National Archives Administration of China will regulate, supervise and inspect pursuant to their respective statutory mandates over matters of Confidentiality and Archives Administration concerning overseas offering and listing by domestic companies. As Confidentiality and Archives Administration is newly promulgated, there is substantial uncertainty regarding their specific requirements. If we fail to comply with related laws and regulation, we may be subject to fine, confiscation, blocking transmission or criminal offense. We have taken measures to adopt management systems for the compliance of Confidentiality and Archives Provisions. We believe our listing does not involve in national secrets, work secrets of governmental agencies and undermine national and public interests. There is no assurance that we will be able to meet all applicable regulatory requirements and guidelines, or comply with all applicable regulations at all times, or that we will not be subject to fines or other penalties in the future as a result of regulatory inspections.
| 214 |
Regulations on Employment, Work Safety and Social Welfare
Labor Law
According to the Labor Law of the PRC promulgated by the SCNPC on July 5, 1994 and last amended on December 29, 2018, enterprises and institutions shall establish and improve their system of workplace safety and sanitation, strictly abide by state rules and standards on workplace safety and sanitation, educate laborers in labor safety and sanitation in the PRC. Labor safety and sanitation facilities shall comply with state-fixed standards. Enterprises and institutions shall provide laborers with a safe workplace and sanitation conditions which are in compliance with state stipulations and the relevant articles of labor protection. The PRC Labor Contract Law, which was promulgated by the SCNPC on June 29, 2007 and amended on December 28, 2012, is primarily aimed at regulating employee/employer rights and obligations, including matters with respect to the establishment, performance and termination of labor contracts. Pursuant to the PRC labor Contract Law, labor contracts shall be concluded in writing if labor relationships are to be or have been established between enterprises or institutions and the laborers. Enterprises and institutions are forbidden to force laborers to work beyond the time limit and employers shall pay laborers for overtime work in accordance with the laws and regulations. In addition, labor wages shall not be lower than local standards on minimum wages and shall be paid to laborers in a timely manner.
Work Safety
Under relevant construction safety laws and regulations, including the Work Safety Law of the PRC which was promulgated by the SCNPC on June 29, 2002, amended on August 27, 2009, August 31, 2014, and effective as of December 1, 2014, production and operating business entities must establish objectives and measures for work safety and improve the working environment and conditions for workers in a planned and systematic way. A work safety protection scheme must also be set up to implement the work safety job responsibility system. In addition, production and operating business entities must arrange work safety training and provide the employees with protective equipment that meets the national standards or industrial standards.
Fire Control
Pursuant to the Fire Safety Law of the PRC promulgated by the SCNPC on April 29, 1998, amended on October 28, 2008 and April 23, 2019 and which became effective on April 23, 2019 and the Interim Provisions for Management of Examination and Acceptance of Fire Protection Design of Construction Projects promulgated by the Ministry of Housing and Urban-Rural Development of the PRC on April 1, 2020 and became effective on June 1, 2020, the construction entity of a large-scale crowded venue (including the construction of a manufacturing factory that is over 2,500 square meters) and other special construction projects must apply for fire prevention design review with fire control authorities, and complete fire assessment inspection and acceptance procedures after the construction project is completed. The construction entity of other construction projects must provide fire protection design and technical materials meeting the construction needs when it applies for construction work permits, and complete the filing for fire safety completion inspection and acceptance procedures within five business days after passing the construction completion inspection and acceptance. If the construction entity fails to pass the fire safety inspection before such venue is put into use, or fails to conform to the fire safety requirements after such inspection, it shall be subject to (i) orders to suspend the construction of projects, use of such projects or operation of relevant business; and (ii) a fine ranging between RMB30,000 and RMB300,000.
| 215 |
Social Insurance and Housing Provident Fund
As required under the Regulation of Insurance for Labor Injury implemented on January 1, 2004 and amended in 2010, the Provisional Measures for Maternity Insurance of Employees of Corporations implemented on January 1, 1995, the Decisions on the Establishment of a Unified Pension Insurance Program for Enterprise Employees of the State Council issued on July 16, 1997, the Decisions on the Establishment of the Medical Insurance Program for Urban Workers of the State Council promulgated on December 14, 1998, the Unemployment Insurance Measures promulgated on January 22, 1999 and the Social Insurance Law of the PRC implemented on July 1, 2011 and amended on December 29, 2018, employers are required to provide their employees in the PRC with welfare benefits covering pension insurance, unemployment insurance, maternity insurance, labor injury insurance and medical insurance. These payments are made to local administrative authorities. Any employer that fails to make social insurance contributions may be ordered to rectify the non-compliance and pay the required contributions within a prescribed time limit and be subject to a late fee. If the employer still fails to rectify the failure to make the relevant contributions within the grace period, it may be subject to a fine ranging from one (1) to three (3) times the amount overdue. In accordance with the Regulations on the Management of Housing Fund which was promulgated by the State Council in 1999 and amended in 2002 and 2019, employers must register at the designated administrative centers and open bank accounts for depositing employees’ housing funds. An employee and his/her employer are also required to pay and deposit certain percentage of the monthly average salary of such employee as housing funds in the preceding year in full and on time.
Employee Stock Incentive Plan
Pursuant to the Notice of Issues Related to the Foreign Exchange Administration for Domestic Individuals Participating in Stock Incentive Plan of Overseas Listed Company, or the SAFE Circular 7, which was issued by the SAFE on February 15, 2012, if PRC “domestic individuals” (both PRC residents and non-PRC residents who reside in China for a continuous period of not less than one year, excluding foreign diplomatic personnel and representatives of international organizations) participate in any stock incentive plan of an overseas listed company, a PRC domestic qualified agent, which could be the PRC subsidiary of such overseas listed company, shall, among others things, file, on behalf of such individual, an application with the SAFE to conduct the SAFE registration with respect to such stock incentive plan, and obtain permission or approval for an annual allowance with respect to the purchase of foreign exchange in connection with stock holding or stock option exercises. In addition, the SAFE Circular 37 also provides certain requirements and procedures of foreign exchange registration in relation to equity incentive plan of SPV before listing. In this regard, if a non-listed SPV grants equity incentives to its directors, supervisors, senior officers or other employees in its domestic subsidiaries, the relevant domestic individual residents may register with the SAFE before exercising their rights.
In addition, the SAT has issued certain circulars concerning employee stock options and restricted shares. Under these circulars, employees working in the PRC who exercise stock options or are granted restricted shares will be subject to PRC individual income tax. The PRC subsidiaries of an overseas listed company are required to file documents related to employee stock options and restricted shares with relevant tax authorities and to withhold individual income taxes of employees who exercise their stock option or purchase restricted shares. If the employees fail to pay or the PRC subsidiaries fail to withhold income tax in accordance with relevant laws and regulations, the PRC subsidiaries may face sanctions imposed by the tax authorities or other PRC governmental authorities.
| 216 |
CERTAIN RELATIONSHIPS AND RELATED PARTY TRANSACTIONS
Rising Dragon
On March 29, 2024, RDAC entered into a subscription agreement, pursuant to which 1,437,500 founder shares were issued to the Sponsor and the one ordinary share previously issued to the Sponsor was surrendered to and cancelled by the Company.
Subject to certain limited exceptions, RDAC’s initial shareholders have agreed not to transfer, assign or sell their founder shares until six months after the date of the consummation of its initial business combination or earlier if, subsequent to its initial business combination, RDAC consummates a subsequent liquidation, merger, stock exchange or other similar transaction which results in all of RDAC’s shareholders having the right to exchange their ordinary shares for cash, securities or other property.
RDAC’s initial shareholders have purchased an aggregate of 254,375 private units after the underwriters’ over-allotment option was exercised in full at a price of $10.00 per unit in a private placement that occurred simultaneously with the closing of the IPO. RDAC’s initial shareholders have agreed not to transfer, assign or sell any of the private units and underlying ordinary shares until 30 days after the completion of its initial business combination.
RDAC has entered into agreements with its officers and directors to provide contractual indemnification in addition to the indemnification provided for in its amended and restated memorandum and articles of association.
RDAC has entered into a registration rights agreement with respect to the founder shares and private units, among other securities.
Other than reimbursement of any out-of-pocket expenses incurred in connection with activities on RDAC’s behalf such as identifying potential target businesses and performing due diligence on suitable business combinations, no compensation or fees of any kind, including finder’s fees, consulting fees or other similar compensation, will be paid to the sponsor, officers or directors, or to any of their respective affiliates, prior to or with respect to its initial business combination (regardless of the type of transaction that it is). RDAC’s independent directors will review on a quarterly basis all payments that were made to the sponsor, officers, directors or RDAC’s or their affiliates and will be responsible for reviewing and approving all related party transactions as defined under Item 404 of Regulation S-K, after reviewing each such transaction for potential conflicts of interests and other improprieties.
On March 29, 2024, RDAC issued an unsecured promissory note to the Sponsor, pursuant to which RDAC may borrow up to an aggregate principal amount of $300,000. The Promissory Note is non-interest bearing and payable on the earlier of consummation of the IPO or the date on which Rising Dragon determine not to conduct the IPO. The loan was, at the discretion of the Sponsor, due on the earlier of (i) December 31, 2024, (ii) the consummation of the IPO or (iii) the abandonment of the IPO. The promissory note would be payable without interest. The promissory note was repaid out of the proceeds of the IPO available to RDAC for payment of offering expenses. As of December 31, 2024, the Company fully repaid $249,831 to the sponsor.
As of June 30, 2025 and December 31, 2024, RDAC had a temporary advance of $2,870 and $0 from the Sponsor, respectively. The balance is unsecured, interest-free and has no fixed terms of repayment.
On August 11, 2025, RDAC issued an unsecured promissory note to the Sponsor, pursuant to which RDAC may borrow up to an aggregate principal amount of $50,000. The Promissory Note is non-interest bearing and payable on the date of consummation of the initial business combination. The promissory note would be payable without interest.
In addition, in order to finance transaction costs in connection with an intended initial business combination, RDAC’s initial shareholders, officers and directors and their affiliates may, but are not obligated to, loan RDAC funds as may be required. Such loans would be evidenced by promissory notes. In the event that RDAC is unable to consummate an initial business combination, RDAC may use a portion of the IPO proceeds held outside the trust account to repay such loaned amounts but no proceeds from RDAC’s trust account would be used for such repayment. If RDAC consummates an initial business combination, the notes would either be paid upon consummation of RDAC’s initial business combination, without interest, or, at the lender’s discretion, up to $1,500,000 of the notes may be converted upon consummation of RDAC’s business combination into additional private units at a price of $10.00 per unit (which, for example, would result in the holders being issued 150,000 units if the full amount of notes are issued and converted).
After RDAC’s initial business combination, members of RDAC’s management team who remain with us may be paid consulting, management or other fees from the combined company with any and all amounts being fully disclosed to RDAC’s shareholders, to the extent then known, in the tender offer or proxy solicitation materials, as applicable, furnished to RDAC’s shareholders. It is unlikely the amount of such compensation will be known at the time of distribution of such tender offer materials or at the time of a general meeting held to consider RDAC’s initial business combination, as applicable, as it will be up to the directors of the post-combination business to determine executive and director compensation.
| 217 |
All ongoing and future transactions between RDAC and any member of RDAC’s management team or his or her respective affiliates will be on terms believed by RDAC at that time, based upon other similar arrangements known to it, to be no less favorable to it than are available from unaffiliated third parties. It is RDAC’s intention to obtain estimates from unaffiliated third parties for similar goods or services to ascertain whether such transactions with affiliates are on terms that are no less favorable to RDAC than are otherwise available from such unaffiliated third parties. If a transaction with an affiliated third party were found to be on terms less favorable to RDAC than with an unaffiliated third party, RDAC would not engage in such transaction.
Related Party Policy
RDAC’s Code of Ethics requires RDAC to avoid, wherever possible, all related party transactions that could result in actual or potential conflicts of interests, except under guidelines approved by the Board (or the audit committee). Related-party transactions are defined as transactions in which (1) the aggregate amount involved will or may be expected to exceed $120,000 in any calendar year, (2) RDAC or any of RDAC’s subsidiaries is a participant, and (3) any (a) executive officer, director or nominee for election as a director, (b) greater than 5% beneficial owner of RDAC’s shares, or (c) immediate family member, of the persons referred to in clauses (a) and (b), has or will have a direct or indirect material interest (other than solely as a result of being a director or a less than 10% beneficial owner of another entity). A conflict of interest situation can arise when a person takes actions or has interests that may make it difficult to perform his or her work objectively and effectively. Conflicts of interest may also arise if a person, or a member of his or her family, receives improper personal benefits as a result of his or her position.
RDAC’s audit committee, pursuant to its written charter, is responsible for reviewing and approving related-party transactions to the extent RDAC enters into such transactions. The audit committee will consider all relevant factors when determining whether to approve a related party transaction, including whether the related party transaction is on terms no less favorable to RDAC than terms generally available from an unaffiliated third-party under the same or similar circumstances and the extent of the related party’s interest in the transaction. No director may participate in the approval of any transaction in which he or she is a related party, but that director is required to provide the audit committee with all material information concerning the transaction. RDAC also requires each of RDAC’s directors and executive officers to complete a directors’ and officers’ questionnaire that elicits information about related party transactions.
These procedures are intended to determine whether any such related party transaction impairs the independence of a director or presents a conflict of interest on the part of a director, employee or officer.
To further minimize conflicts of interest, RDAC has agreed not to consummate an initial business combination with an entity that is affiliated with any of RDAC’s initial shareholders, officers or directors unless RDAC has obtained an opinion from an independent investment banking firm, or another independent entity that commonly renders valuation opinions, that the business combination is fair to RDAC’s unaffiliated shareholders from a financial point of view. RDAC will also need to obtain approval of a majority of RDAC’s disinterested independent directors. However, the following payments will be made to RDAC’s sponsor, officers or directors, or RDAC’s or their affiliates, none of which will be made from the proceeds of RDAC’s IPO held in the trust account prior to the completion of RDAC’s initial business combination:
| ● | Repayment loans that may be made to RDAC by the Sponsor to cover offering-related and organizational expenses. Such loans would be evidenced by promissory notes. If RDAC consummates an initial business combination, the notes would either be paid upon consummation of RDAC’s initial business combination, without interest, or, at the lender’s discretion, up to $1,500,000 of the notes may be converted upon consummation of RDAC’s business combination into additional private units at a price of $10.00 per unit; and | |
| ● | Reimbursement for any out-of-pocket expenses related to identifying, investigating and completing an initial business combination; |
RDAC’s independent directors will review on a quarterly basis all payments that were made to RDAC’s initial shareholders, officers, directors or RDAC’s or their affiliates.
| 218 |
HZJL
| 1) | Nature of relationships with related parties |
The table below sets forth the major related parties with whom HZJL entered into transactions during the fiscal years ended June 30, 2024 and 2023, or who recorded balances as of June 30, 2024 and 2023, and their relationships with HZJL
| Name | Relationship with HZJL | |
| Mr. Bin Xiong | The controlling shareholder of HZJL | |
| Ms. Huijie Hu | Spouse of Mr. Bin Xiong | |
| Mr. Jie Xiong | Immediate family member of Mr. Bin Xiong | |
| Mr. Chunhui Fan | Director of HZJL IT | |
| Hangzhou Jialin Information Technology Co., Ltd. (“HZJL IT”) | An affiliate over which Mr. Bin Xiong owns 36.7% equity interest and exercises significant influence | |
| Shandong Jialin Information Technology Co., Ltd. (“SDJL IT”) | An affiliate controlled by HZJL IT | |
| Hangzhou Linhangyuan Culture Media Co., Ltd. (“Hangzhou LHY”) | An affiliate controlled by Mr. Bin Xiong | |
| Shandong Yuncaiyuan Network Technology Co., Ltd. (“Shandong Yuncaiyuan”) | An affiliate over which an entity controlled by Mr. Bin Xiong owns 30% equity interest and exercises significant influence | |
| Shandong Jiman Supply Chain Management Co., Ltd. (“SDJL SC”) | An affiliate controlled by HZJL IT | |
| Shandong Wukong Enterprise Service and Management Co., Ltd. (“Shandong WK”) | An affiliate controlled by HZJL IT | |
| Guoqu Supply Chain (Hangzhou) Co., Ltd. (“Guoqu”) | An affiliate over which an entity controlled by Ms. Huijia Hu owns 40% equity interest and exercises significant influence | |
| Hangzhou Maokoudai Media Co., Ltd. (“MKD”) | An affiliate controlled by Mr. Chunhui Fan | |
| Guangzhou Yuedong Supply Chain Management Co, Ltd. (“Guangzhou YD”) | An affiliate controlled by Mr. Bin Xiong | |
| Shandong Jiman Supply Chain Management Co, Ltd. (“Shandong JM”) | An affiliate controlled by HZJL IT | |
| Zhejiang Jialin Supply Chain Management Co., Ltd. (“ZJJL SC”) | An affiliate controlled by HZJL IT | |
| Hangzhou Lenghe Culture Media Co., Ltd. (“Hangzhou LH”) | An affiliate controlled by HZJL IT | |
| Hangzhou Jialin Group (“HZJL Group”) | An affiliate controlled by HZJL IT | |
| Hangzhou Chuquan Culture Conulting Co., Ltd. (“Hangzhou Chuquan Culture Consulting”) | An affiliate controlled by HZJL IT | |
| Beijing 72 Creative & Interactive Media Culture Co., Ltd. (“Beijing 72”) | An affiliate controlled by HZJL IT | |
| Hangzhou Chugequan Media Co., Ltd. (“Hangzhou Chugequan Media”) | An affiliate controlled by Hangzhou Chuquan Culture Consulting |
| 219 |
| 2) | Balances with related parties |
| December 31, 2024 | June 30, 2024 | June 30, 2023 | ||||||||||
| Due from related parties (a): | ||||||||||||
| Hangzhou LHY | $ | 2,219,584 | $ | 991,380 | $ | — | ||||||
| Shandong WK | 1,648,915 | 827,017 | 963,427 | |||||||||
| Mr. Bin Xiong | 1,544,818 | 1,819,114 | 933,607 | |||||||||
| Shandong Yuncaiyuan | 1,228,272 | 1,233,697 | 1,236,403 | |||||||||
| SDJL IT | 977,452 | 981,770 | 889,882 | |||||||||
| SDJL SC | 958,752 | 962,986 | — | |||||||||
| Guoqu | 447,012 | 448,987 | 449,971 | |||||||||
| Hangzhou Chuquan Culture Consulting | 367,084 | — | — | |||||||||
| MKD | 165,756 | 166,488 | 151,269 | |||||||||
| Guangzhou YD | 226,125 | 192,254 | — | |||||||||
| Shandong JM | — | — | 1,043,883 | |||||||||
| Others | 148,451 | 243,423 | 163,622 | |||||||||
| $ | 9,932,221 | $ | 7,867,116 | $ | 5,832,064 | |||||||
| Due to related parties (b): | ||||||||||||
| Shandong JM | $ | 804,348 | $ | 807,901 | $ | — | ||||||
| HZJL IT © | 452,308 | — | — | |||||||||
| HZJL Group | 433,135 | 286,862 | 3,784,637 | |||||||||
| ZJJL SC | 355,144 | 356,712 | 470,607 | |||||||||
| Hangzhou LH | 301,399 | 302,730 | 303,394 | |||||||||
| Hangzhou Chuquan Culture Consultin | 137,675 | 141,723 | — | |||||||||
| Beijing 72 | — | 137,605 | — | |||||||||
| Hangzhou Chugequan Media | 123,991 | 124,539 | 131,845 | |||||||||
| Hangzhou LHY (c) | — | — | 1,103,062 | |||||||||
| HZJL IT (c) | — | — | 6,989,748 | |||||||||
| Mr. Bin Xiong (c) | — | — | 5,197,689 | |||||||||
| Mr. Jie Xiong (c) | — | — | 813,747 | |||||||||
| Others | 480,352 | 329,773 | 87,939 | |||||||||
| $ | 3,088,352 | $ | 2,487,845 | $ | 18,882,668 | |||||||
| (a) | The balances due from related parties represented the loans made to the related parties to support their working capital. The loans were interest free and repayable on demand. As of the date of this report, HZJL fully settled outstanding balances with related parties. HZJL had no plans to make loans to related parties in the future. |
| (b) | The balance due to related parties represented the borrowings from the related parties to support HZJL’s working capital. The loans were interest free and payable on demand. |
| (c) | On June 30, 2024, Mr. Bin Xiong and four entities controlled by him have forgiven the amounts owed by HZJL amounting to $8,880,805. The liabilities forgiven were deemed as additional paid-in capital from Mr. Bin Xiong . |
| 3) | Transactions with related parties |
| For the six months ended
December 31, | For the fiscal years ended June 30, | |||||||||||||||
| 2024 | 2023 | 2024 | 2023 | |||||||||||||
| Revenues generated from related parties | ||||||||||||||||
| Hangzhou Chugequan Media | $ | — | $ | — | $ | 883,291 | $ | — | ||||||||
| Hangzhou Chuquan Culture Consulting | — | — | 201,858 | — | ||||||||||||
| SDJL Supply Chain | — | 68,384 | 67,928 | — | ||||||||||||
| $ | — | $ | 68,384 | $ | 1,153,077 | $ | — | |||||||||
For the fiscal years ended June 30, 2024 and 2023 and for the six months ended December 31, 2024 and 2023, HZJL made advances to various related parties to support their working capital. In the same periods, HZJL also borrowed loans from various related parties for working capital.
For the fiscal years ended June 30, 2024 and 2023, HZJL made interest-free loans to related parties of $2,278,639 and $3,043,494, respectively. For the fiscal years ended June 30, 2024 and 2023, HZJL collected loans from related parties of $218,808 and $1,230,873, respectively. For the six months ended December 31, 2024 and 2023, the Company made interest-free loans to related parties of $2,788,619 and $1,165,459, respectively. For the six months ended December 31, 2024 and 2023, the Company collected loans from related parties of $653,048 and $15,350, respectively. As of the date of this report, the Company fully collected outstanding balances due from related parties. The Company had no plans to make loans to related parties in the future.
For the years ended June 30, 2024 and 2023, HZJL borrowed from related parties $4,895,744 and $18,491,944, respectively. For the six months ended December 31, 2024 and 2023, the Company borrowed from related parties of $3,997,843 and $1,161,968, respectively.
For the years ended June 30, 2024 and 2023, HZJL repaid loans to related parties of $12,464,422 and $9,226,105, respectively. For the six months ended December 31, 2024 and 2023, the Company repaid loans to related parties of $3,375,949 and $12,328,934, respectively.
As of December 31, 2024, June 30, 2024 and 2023, bank borrowings of $2,150,892, $2,311,757 and $1,438,104 were collateralized with properties owned by Mr. Bin Xiong.
| 220 |
SHARES ELIGIBLE FOR FUTURE SALE
According to the Proposed PubCo Charter, the authorized share capital of the post-closing company is $50,000 divided into 500,000,000 ordinary shares of a par value of $0.0001 each, comprising (a) 400,000,000 PubCo Class A Ordinary Shares of a par value of US$0.0001 each and (b) 100,000,000 PubCo Class B Ordinary Shares of a par value of $0.0001 each. All of the PubCo Ordinary Shares issued in connection with the Reincorporation Merger will be freely transferable by persons other than by PubCo’s “affiliates” without restriction under the Securities Act, subject to the restrictions detailed below. The PubCo Ordinary Shares issued in the Acquisition Merger will also be registered at the closing, but will be subject to the lock-up agreements described below. Sales of substantial amounts of PubCo Ordinary Shares in the public market could adversely affect prevailing market prices of the PubCo Ordinary Shares. Prior to the Business Combination, there has been no public market for PubCo Ordinary Shares. PubCo intends to apply for listing of the PubCo Ordinary Shares on Nasdaq, but it cannot be assured that a regular trading market will develop in the PubCo Ordinary Shares.
Transfer of Ordinary Shares
Subject to applicable securities laws in relevant jurisdictions and the Proposed PubCo Charter, the fully paid-up ordinary shares are freely transferable. Shares may be transferred by a duly signed instrument of transfer in any usual common form or in a form acceptable to the directors and the applicable securities laws in the relevant jurisdictions. The directors may decline to register any transfer unless, among other things, evidence of payment of any stamp duty payable with respect to the transfer is provided together with other evidence as the directors may require to show the right of the transferor to make the transfer. PubCo will replace lost or destroyed certificates for shares upon notice to us and upon, among other things, the applicant furnishing evidence and indemnity as the directors may require and the payment of all applicable fees.
Lock-up Agreements
No less than 87.49% of the shares to be issued in the Acquisition Merger to the current HZJL shareholders will be subject to certain restrictions on sale and cannot be sold for at least six (6) months from the date of the Business Combination.
Regulation S
Regulation S under the Securities Act provides an exemption from registration requirements in the United States for offers and sales of securities that occur outside the United States. Rule 903 of Regulation S provides the conditions to the exemption for a sale by an issuer, a distributor, their respective affiliates or anyone acting on their behalf, while Rule 904 of Regulation S provides the conditions to the exemption for a resale by persons other than those covered by Rule 903. In each case, any sale must be completed in an offshore transaction, as that term is defined in Regulation S, and no directed selling efforts, as that term is defined in Regulation S, may be made in the United States.
PubCo is a foreign issuer as defined in Regulation S. As a foreign issuer, securities that PubCo sells outside the United States pursuant to Regulation S are not considered to be restricted securities under the Securities Act, and, subject to the offering restrictions imposed by Rule 903, are freely tradable without registration or restrictions under the Securities Act, unless the securities are held by PubCo’s affiliates. Generally, subject to certain limitations, holders of PubCo’s restricted shares who are not affiliates of PubCo or who are affiliates of PubCo by virtue of their status as an officer or director of PubCo may, under Regulation S, resell their restricted shares in an “offshore transaction” if none of the shareholder, its affiliate nor any person acting on their behalf engages in directed selling efforts in the United States and, in the case of a sale of PubCo restricted shares by an officer or director who is an affiliate of PubCo solely by virtue of holding such position, no selling commission, fee or other remuneration is paid in connection with the offer or sale other than the usual and customary broker’s commission that would be received by a person executing such transaction as agent. Additional restrictions are applicable to a holder of PubCo restricted shares who will be an affiliate of PubCo other than by virtue of his or her status as an officer or director of PubCo.
PubCo is not claiming the potential exemption offered by Regulation S in connection with the offering of newly issued shares outside the United States and will register all of the newly issued shares under the Securities Act.
| 221 |
Rule 144
All of the PubCo Ordinary Shares that will be outstanding upon the consummation of the Business Combination, other than those equity shares issued and registered in connection with the Business Combination, are “restricted securities” as that term is defined in Rule 144 under the Securities Act and may be sold publicly in the United States only if they are subject to an effective registration statement under the Securities Act or pursuant to an exemption from the registration requirement such as those provided by Rule 144 and Rule 701 promulgated under the Securities Act. In general, beginning 90 days after the date of this proxy statement/prospectus, a person (or persons whose shares are aggregated) who, at the time of a sale, is not, and has not been during the three months preceding the sale, an affiliate of PubCo and has beneficially owned PubCo’s restricted securities for at least six months will be entitled to sell the restricted securities without registration under the Securities Act, subject only to the availability of current public information about PubCo. Persons who are affiliates of PubCo and have beneficially owned PubCo’s restricted securities for at least six months may sell a number of restricted securities within any three-month period that does not exceed the greater of the following:
| ● | 1% of the then issued equity shares of the same class which, immediately after the Business Combination, will equal 448,498 equity shares (assuming no redemption by holders of Rising Dragon ordinary shares); or | |
| ● | the average weekly trading volume of PubCo Ordinary Shares of the same class during the four calendar weeks preceding the date on which notice of the sale is filed with the SEC. |
Sales by affiliates of PubCo under Rule 144 are also subject to certain requirements relating to manner of sale, notice and the availability of current public information about PubCo.
Rule 701
In general, under Rule 701 of the Securities Act as currently in effect, each of PubCo’s employees, consultants or advisors who purchase equity shares from PubCo in connection with a compensatory stock plan or other written agreement executed prior to the consummation of the Business Combination is eligible to resell those equity shares in reliance on Rule 144, but without compliance with some of the restrictions, including the holding period, contained in Rule 144. However, the Rule 701 shares would remain subject to lock-up arrangements and would only become eligible for sale when the lock-up period expires.
| 222 |
DESCRIPTION OF PUBCO’S SECURITIES
PubCo, or Xpand Boom Technology Inc., is a Cayman Islands exempted company and its affairs are governed by the memorandum and articles of association, as amended and restated from time to time, and Companies Act (Revised) of the Cayman Islands, which we refer to as the “Companies Act” below, and the common law of the Cayman Islands.
PubCo currently has only one class of issued ordinary shares, which have identical rights in all respects and rank equally with one another. The share capital of PubCo is $50,000 divided into 50,000 shares of a par value of $1.00 each.
PubCo Ordinary Shares
The following includes a summary of the terms of PubCo Ordinary Shares, based on the Proposed PubCo Charter and Cayman Islands law. Immediately prior to the consummation of the Reincorporation Merger, PubCo shall adopt the Proposed PubCo Charter. According to the Proposed PubCo Charter, the authorized share capital of the post-closing company is $50,000 divided into 500,000,000 ordinary shares of a par value of $0.0001 each, comprising (a) 400,000,000 PubCo Class A Ordinary Shares of a par value of US$0.0001 each and (b) 100,000,000 PubCo Class B Ordinary Shares of a par value of $0.0001 each.
General. Immediately prior to the consummation of the Business Combination, PubCo’s authorized share capital will be US$50,000 divided into 500,000,000 ordinary shares of a par value of US$0.0001 each, comprising (a) 400,000,000 PubCo Class A Ordinary Shares of a par value of US$0.0001 each and (b) 100,000,000 PubCo Class B Ordinary Shares of a par value of US$0.0001 each. Holders of PubCo Class A ordinary shares and PubCo Class B ordinary shares have the same rights except for voting and conversion rights. All of PubCo’s issued and outstanding ordinary shares are fully paid and non-assessable. Certificates representing the ordinary shares are issued in registered form. PubCo may not issue share to bearer. PubCo’s shareholders who are non-residents of the Cayman Islands may freely hold and transfer their ordinary shares.
Dividends. Subject to any rights and restrictions for the time being attached to any shares, the directors of PubCo may from time to time declare dividends (including interim dividends) and other distributions on shares in issue and authorise payment of the same out of the funds of PubCo lawfully available therefor. Subject to any rights and restrictions for the time being attached to any shares, PubCo by an ordinary resolution may declare dividends, but no dividend shall exceed the amount recommended by the directors.
Voting Rights. Each PubCo Class A Ordinary Share shall entitle the holder thereof to one (1) vote on all matters subject to vote at general meetings of PubCo while each PubCo Class B Ordinary Share shall entitle the holder thereof to ten (10) votes on all matters subject to vote at general meetings of PubCo. At any general meeting a resolution put to the vote of the meeting shall be decided by a poll. A poll shall be taken in such manner as the chairman of the meeting directs, and the result of the poll shall be deemed to be the resolution of the meeting.
A quorum required for a meeting of shareholders consists of one or more shareholders holding not less than one-third (1/3) of the votes attaching to the issued and outstanding shares entitled to vote at general meetings present in person or by proxy or, if a corporation or other non-natural person, by its duly authorized representative. As a Cayman Islands exempted company, PubCo is not obliged by the Companies Act to call shareholders’ annual general meetings. The Proposed PubCo Charter provides that PubCo may (but are not obliged to) in each year hold a general meeting as its annual general meeting in which case PubCo will specify the meeting as such in the notices calling it, and the annual general meeting will be held at such time and place as may be determined by its directors. PubCo, however, will hold an annual shareholders’ meeting during each fiscal year, as required by the Nasdaq Listing Rules. Each general meeting, other than an annual general meeting, shall be an extraordinary general meeting. The chairman of our board of directors or our board of directors (acting by a board resolution) may call extraordinary general meetings. Our board of directors must proceed to convene an extraordinary general meeting upon the requisition of shareholders holding at the date of deposit of the requisition shares which carry in aggregate not less than one-third (1/3) of all votes attaching to all of our issued and outstanding shares that as at the date of the deposit of the requisition shares carry the right to vote at the general meetings, However, Proposed PubCo Charter do not provide its shareholders with any right to put any proposals before any annual general meetings or any extraordinary general meetings not called by such shareholders. Advance notice of at least five (5) days is required for the convening of PubCo’s annual general meeting and other general meetings unless such notice is waived in accordance with its articles of association.
| 223 |
An ordinary resolution to be passed by the shareholders requires the affirmative votes of a simple majority of votes cast by such shareholders as, being entitled to do so, vote in person or, where proxies are allowed, by proxy or, in the case of corporations, by their duly authorized representatives, at a general meeting, or be approved in writing by all of the shareholders entitled to vote at a general meeting in one or more instruments each signed by one or more of the shareholders; while a special resolution requires the affirmative votes of not less than two-thirds of votes cast by such shareholders as, being entitled to do so, vote in person or, where proxies are allowed, by proxy or, in the case of corporations, by their duly authorized representatives, at a general meeting of which notice specifying the intention to propose the resolution as a special resolution has been duly given, or approval in writing by all of the shareholders entitled to vote at a general meeting in one or more instruments each signed by one or more of the shareholders. A special resolution will be required for important matters such as a change of name or making changes to the memorandum and articles of association of PubCo.
Conversion. Each PubCo Class B ordinary share is convertible into one PubCo Class A ordinary share at any time at the option of the holder thereof. PubCo Class A ordinary shares are not convertible into PubCo Class B ordinary shares under any circumstances. Upon any sale, transfer, assignment or disposition of PubCo Class B ordinary shares by a holder to any person or entity which is not an affiliate of such holder, such PubCo Class B ordinary shares shall be automatically and immediately converted into the equivalent number of PubCo Class A ordinary shares.
Transfer of Shares. Subject to the restrictions in the Proposed PubCo Charter as set out below, any of PubCo’s shareholders may transfer all or any of his or her ordinary shares by an instrument of transfer in the usual or common form or any other form approved by PubCo’s board of directors.
PubCo’s board of directors may, in its absolute discretion, decline to register any transfer of any ordinary share which is not fully paid up or on which PubCo has a lien. PubCo’s board of directors may also decline to register any transfer of any ordinary share unless:
| ● | the instrument of transfer is lodged with us, accompanied by the certificate for the ordinary shares to which it relates and such other evidence as PubCo’s board of directors may reasonably require to show the right of the transferor to make the transfer; | |
| ● | the instrument of transfer is in respect of only one class of shares; | |
| ● | the instrument of transfer is properly stamped, if required; | |
| ● | in the case of a transfer to joint holders, the number of joint holders to whom the ordinary share is to be transferred does not exceed four; and | |
| ● | a fee of such maximum sum as the Nasdaq may determine to be payable or such lesser sum as PubCo’s directors may from time to time require is paid to PubCo in respect thereof. |
If PubCo’s directors refuse to register a transfer they shall, within three calendar months after the date on which the instrument of transfer was lodged, send to each of the transferor and the transferee notice of such refusal.
The registration of transfers may, after compliance with any notice required by the rules of Nasdaq, be suspended and the register closed at such times and for such periods as PubCo’s board of directors may from time to time determine, provided always, that the registration of transfers shall not be suspended nor the register closed for more than 30 calendar days in any year as PubCo’s board may determine.
Liquidation. If PubCo shall be wound up, and the assets available for distribution amongst the shareholders shall be insufficient to repay the whole of the share capital, such assets shall be distributed so that, as nearly as may be, the losses shall be borne by the shareholders in proportion to the par value of the shares held by them. If in a winding up the assets available for distribution amongst the shareholders shall be more than sufficient to repay the whole of the share capital at the commencement of the winding up, the surplus shall be distributed amongst the shareholders in proportion to the par value of the shares held by them at the commencement of the winding up subject to a deduction from those shares in respect of which there are monies due, of all monies payable to PubCo for unpaid calls or otherwise.
| 224 |
Redemption, Repurchase and Surrender of Ordinary Shares. Subject to the provisions of the Companies Act and the Proposed PubCo Charter, PubCo may issue shares on terms that such shares are subject to redemption, at PubCo’s option or at the option of the holders thereof, on such terms and in such manner as may be determined, before the issue of such shares, by PubCo’s board of directors, and make a payment in respect of the redemption of our own shares in any manner permitted by the Cayman Companies Act, including out of capital. PubCo may also repurchase any of its shares provided that the manner and terms of such purchase have been approved by its board of directors or are otherwise authorized by the Proposed PubCo Charter. Under the Companies Act, the redemption or repurchase of any share may be paid out of PubCo’s profits or out of the proceeds of a fresh issue of shares made for the purpose of such redemption or repurchase, or out of capital (including share premium account and capital redemption reserve) if the company can, immediately following such payment, pay its debts as they fall due in the ordinary course of business. In addition, under the Companies Act no such share may be redeemed or repurchased (a) unless it is fully paid up, (b) if such redemption or repurchase would result in there being no shares outstanding, or (c) if the company has commenced liquidation. In addition, PubCo may accept the surrender of any fully paid share for no consideration.
Variations of Rights of Shares. Whenever the capital of PubCo is divided into different classes the rights attached to any such class may, subject to any rights or restrictions for the time being attached to any class, only be materially adversely varied with the consent in writing of the holders of at least two-thirds of the issued shares of that class or with the sanction of a special resolution passed at a separate meeting of the holders of the shares of that class.
Inspection of Books and Records. Holders of PubCo Ordinary Shares have no general right under Cayman Islands law to inspect or obtain copies of PubCo’s register of members or its corporate records. (other than the memorandum and articles of association, the register of mortgages and charges and any special resolutions passed by shareholders). Under Cayman Islands law, the names of our current directors can be obtained from a search conducted at the Registrar of Companies in the Cayman Islands. However, PubCo will provide its shareholders with annual audited financial statements. See “Where You Can Find Additional Information.”
Issuance of Additional Shares. The Proposed PubCo Charter authorize its board of directors to issue additional ordinary shares from time to time as its board of directors shall determine, to the extent of available authorized but unissued shares.
The Proposed PubCo Charter also authorize its board of directors may issue from time to time, out of the authorized share capital of our company (other than the authorized but unissued ordinary shares), series of preferred shares in their absolute discretion and without approval of the shareholders; provided, however, before any preferred shares of any such series are issued, the directors may by resolution of directors determine, with respect to any series of preferred shares, the terms and rights of that series, including:
| ● | the designation of such series, the number of preferred shares to constitute such series and the subscription price thereof if different from the par value thereof; | |
| ● | whether the preferred shares of such series shall have voting rights, in addition to any voting rights provided by law, and, if so, the terms of such voting rights, which may be general or limited; | |
| ● | the dividends, if any, payable on such series, whether any such dividends shall be cumulative, and, if so, from what dates, the conditions and dates upon which such dividends shall be payable, and the preference or relation which such dividends shall bear to the dividends payable on any shares of any other class or any other series of shares; | |
| ● | whether the preferred shares of such series shall have any rights to receive any part of the assets available for distribution amongst the shareholders upon the liquidation of our company, and, if so, the terms of such liquidation preference, and the relation which such liquidation preference shall bear to the entitlements of the holders of shares of any other class or any other series of shares;
| |
| ● | whether the preferred shares of such series shall be subject to the operation of a retirement or sinking fund and, if so, the extent to and manner in which any such retirement or sinking fund shall be applied to the purchase or redemption of the preferred shares of such series for retirement or other corporate purposes and the terms and provisions relative to the operation thereof; |
| 225 |
| ● | whether the preferred shares of such series shall be convertible into, or exchangeable for, shares of any other class or any other series of preferred shares or any other securities and, if so, the price or prices or the rate or rates of conversion or exchange and the method, if any, of adjusting the same, and any other terms and conditions of conversion or exchange; | |
| ● | the limitations and restrictions, if any, to be effective while any preferred shares of such series are outstanding upon the payment of dividends or the making of other distributions on, and upon the purchase, redemption or other acquisition by our company of, the existing shares or shares of any other class of shares or any other series of preferred shares;
| |
| ● | the conditions or restrictions, if any, upon the creation of indebtedness of our company or upon the issue of any additional shares, including additional shares of such series or of any other class of shares or any other series of preferred shares; and | |
| ● | any other powers, preferences and relative, participating, optional and other special rights, and any qualifications, limitations, and restrictions thereof. |
Anti-Takeover Provisions. Some provisions of the Proposed Public Charter may discourage, delay or prevent a change of control of PubCo or management that shareholders may consider favorable, including provisions that authorize PubCo’s board of directors to issue from time to time, out of the authorised share capital of PubCo (other than the authorised but unissued PubCo Ordinary Shares), series of preferred shares in their absolute discretion and without approval of the shareholders and determine, with respect to any series of preferred shares, the terms and rights of that series, and limit the ability of shareholders to requisition and convene general meetings of shareholders . However, under Cayman Islands law, PubCo’s directors may only exercise the rights and powers granted to them under the Proposed PubCo Charter for a proper purpose and for what they believe in good faith to be in the best interests of PubCo.
Exempted Company. PubCo is an exempted company with limited liability under the Companies Act. The Companies Act distinguishes between ordinary resident companies and exempted companies. Any company that is registered in the Cayman Islands but conducts business mainly outside the Cayman Islands may apply to be registered as an exempted company. The requirements for an exempted company are essentially the same as for an ordinary company except that an exempted company:
| ● | does not have to file an annual return of its shareholders with the Registrar of Companies; | |
| ● | is not required to open its register of members for inspection; | |
| ● | does not have to hold an annual general meeting; | |
| ● | may issue shares with no par value; | |
| ● | may obtain an undertaking against the imposition of any future taxation (such undertakings are usually given for 30 years in the first instance); | |
| ● | may register by way of continuation in another jurisdiction and be deregistered in the Cayman Islands; | |
| ● | may register as a limited duration company; and | |
| ● | may register as a segregated portfolio company. |
“Limited liability” means that the liability of each shareholder is limited to the amount unpaid by the shareholder on that shareholder’s shares of the company (except in exceptional circumstances, such as involving fraud, the establishment of an agency relationship or an illegal or improper purpose or other circumstances in which a court may be prepared to pierce or lift the corporate veil).
| 226 |
Mergers and Similar Arrangements
The Cayman Companies Act permits mergers and consolidations between Cayman Islands companies and between Cayman Islands companies and non-Cayman Islands companies. For these purposes, (i) “merger” means the merging of two or more constituent companies and the vesting of their undertaking, property and liabilities in one of such companies as the surviving company, and (ii) a “consolidation” means the combination of two or more constituent companies into a consolidated company and the vesting of the undertaking, property and liabilities of such companies to the consolidated company.
In order to effect such a merger or consolidation, the directors of each constituent company must approve a written plan of merger or consolidation, which must then be authorized by either (i) a special resolution of the shareholders of each constituent company, and (ii) such other authorization, if any, as may be specified in such constituent company’s articles of association. The written plan of merger or consolidation must be filed with the Registrar of Companies of the Cayman Islands together with a declaration as to the solvency of the consolidated or surviving company, a list of the assets and liabilities of each constituent company and an undertaking that a copy of the certificate of merger or consolidation will be given to the members and creditors of each constituent company and that notification of the merger or consolidation will be published in the Cayman Islands Gazette. Court approval is not required for a merger or consolidation which is effected in compliance with these statutory procedures.
A merger between a Cayman parent company and its Cayman subsidiary or subsidiaries does not require authorization by a resolution of shareholders of that Cayman subsidiary if a copy of the plan of merger is given to every member of that Cayman subsidiary to be merged unless that member agrees otherwise. For this purpose, a company is a “parent” of a subsidiary if it holds issued shares that together represent at least ninety percent (90%) of the votes at a general meeting of the subsidiary.
The consent of each holder of a fixed or floating security interest over a constituent company must be obtained, unless the court waives such requirement.
Where the merger or consolidation involves a foreign company, the procedure is similar, save that with respect to the foreign company, the directors of the Cayman Islands exempted company are required to make a declaration to the effect that, having made due enquiry, they are of the opinion that the requirements set out below have been met: (i) that the merger or consolidation is permitted or not prohibited by the constitutional documents of the foreign company and by the laws of the jurisdiction in which the foreign company is incorporated, and that those laws and any requirements of those constitutional documents have been or will be complied with; (ii) that no petition or other similar proceeding has been filed and remains outstanding or order made or resolution adopted to wind up or liquidate the foreign company in any jurisdictions; (iii) that no receiver, trustee, administrator or other similar person has been appointed in any jurisdiction and is acting in respect of the foreign company, its affairs or its property or any part thereof; and (iv) that no scheme, order, compromise or other similar arrangement has been entered into or made in any jurisdiction whereby the rights of creditors of the foreign company are and continue to be suspended or restricted.
Where the surviving company is the Cayman Islands exempted company, the directors of the Cayman Islands exempted company are further required to make a declaration to the effect that, having made due enquiry, they are of the opinion that the requirements set out below have been met: (i) that the foreign company is able to pay its debts as they fall due and that the merger or consolidated is bona fide and not intended to defraud unsecured creditors of the foreign company; (ii) that in respect of the transfer of any security interest granted by the foreign company to the surviving or consolidated company (A) consent or approval to the transfer has been obtained, released or waived; (B) the transfer is permitted by and has been approved in accordance with the constitutional documents of the foreign company; and (C) the laws of the jurisdiction of the foreign company with respect to the transfer have been or will be complied with; (iii) that the foreign company will, upon the merger or consolidation becoming effective, cease to be incorporated, registered or exist under the laws of the relevant foreign jurisdiction; and (iv) that there is no other reason why it would be against the public interest to permit the merger or consolidation.
| 227 |
Where the above procedures are adopted, the Cayman Companies Act provides for a right of dissenting shareholders to be paid a payment of the fair value of his shares upon their dissenting to the merger or consolidation if they follow a prescribed procedure. In essence, that procedure is as follows: (i) the shareholder must give his written objection to the merger or consolidation to the constituent company before the vote on the merger or consolidation, including a statement that the shareholder proposes to demand payment for his shares if the merger or consolidation is authorized by the vote; (ii) within 20 days following the date on which the merger or consolidation is approved by the shareholders, the constituent company must give written notice to each shareholder who made a written objection; (iii) a shareholder must within 20 days following receipt of such notice from the constituent company, give the constituent company a written notice of his intention to dissent including, among other details, a demand for payment of the fair value of his shares; (iv) within seven days following the date of the expiration of the period set out in paragraph (2) above or seven days following the date on which the plan of merger or consolidation is filed, whichever is later, the constituent company, the surviving company or the consolidated company must make a written offer to each dissenting shareholder to purchase his shares at a price that the company determines is the fair value and if the company and the shareholder agree the price within 30 days following the date on which the offer was made, the company must pay the shareholder such amount; and (v) if the company and the shareholder fail to agree a price within such 30 day period, within 20 days following the date on which such 30 day period expires, the company (and any dissenting shareholder) must file a petition with the Cayman Islands courts to determine the fair value and such petition must be accompanied by a list of the names and addresses of the dissenting shareholders with whom agreements as to the fair value of their shares have not been reached by the company. At the hearing of that petition, the court has the power to determine the fair value of the shares together with a fair rate of interest, if any, to be paid by the company upon the amount determined to be the fair value. Any dissenting shareholder whose name appears on the list filed by the company may participate fully in all proceedings until the determination of fair value is reached. These rights of a dissenting shareholder are not available in certain circumstances, for example, to dissenters holding shares of any class in respect of which an open market exists on a recognized stock exchange or recognized interdealer quotation system at the relevant date or where the consideration for such shares to be contributed are shares of any company listed on a national securities exchange or shares of the surviving or consolidated company.
Separate from the statutory provisions relating to mergers and consolidations, the Cayman Companies Act also has separate statutory provisions that facilitate the reconstruction or amalgamation of companies by way of schemes of arrangement, provided that the arrangement is approved by (i) 75% in value of the members or class of members or (ii) a majority in number representing 75% in value of the creditors or class of creditors, in each case depending on the circumstances, as are present at a meeting called for such purpose and thereafter sanctioned by the Grand Court of the Cayman Islands. While a dissenting shareholder would have the right to express to the court the view that the transaction ought not to be approved, the court can be expected to approve the arrangement if it determines that:
| ● | the statutory provisions as to the required majority vote have been met; | |
| ● | the shareholders have been fairly represented at the meeting in question and the statutory majority are acting bona fide without coercion of the minority to promote interests adverse to those of the class; | |
| ● | the arrangement is such that may be reasonably approved by an intelligent and honest man of that class acting in respect of his interest; and | |
| ● | the arrangement is not one that would more properly be sanctioned under some other provision of the Cayman Companies Act. |
If an arrangement and reconstruction by way of scheme of arrangement is approved and sanctioned, or if a tender offer is made and accepted in accordance with the following statutory procedures, any dissenting shareholder would have no rights comparable to appraisal rights (providing rights to receive payment in cash for the judicially determined value of the shares), which would otherwise ordinarily be available to dissenting shareholders of United States corporations.
Squeeze-out Provisions
The Cayman Companies Act also contains a statutory power of compulsory acquisition which may facilitate the “squeeze out” of dissentient minority shareholders upon a tender offer. When a takeover offer is made and accepted by holders of 90% of the shares to whom the offer relates within four months, the offeror may, within a two-month period commencing on the expiration of such four-month period, require the holders of the remaining shares to transfer such shares to the offeror on the terms of the offer. An objection can be made to the Grand Court of the Cayman Islands, but this is unlikely to succeed in the case of an offer which has been so approved unless there is evidence of fraud, bad faith or collusion.
Further, transactions similar to a merger, reconstruction and/or an amalgamation may in some circumstances be achieved through means other than these statutory provisions, such as a share capital exchange, asset acquisition or control, or through contractual arrangements of an operating business.
| 228 |
COMPARISON OF SHAREHOLDERS’ RIGHTS
Both RDAC and PubCo are incorporated under the laws of the Cayman Islands, and, accordingly, the rights of the shareholders of RDAC and PubCo are governed by Cayman Islands law including the Companies Act. In connection with the Business Combination, holders of RDAC Ordinary Shares will become shareholders of PubCo and their rights will be governed by the Cayman Islands law and the Proposed PubCo Charter. The rights of shareholders of RDAC under its Existing Charter differ in some respects from the rights that shareholders of RDAC will have as PubCo shareholders under the Proposed PubCo Charter following the Business Combination.
Certain material differences between the provisions contained in the Existing Charter and Proposed PubCo Charter, as such differences may affect the rights of shareholders, are summarized below. The summary set forth below is as of the date of this proxy statement/prospectus and is not intended to be a complete statement of the rights of shareholders of the two companies or a complete description of the specific provisions referred to below. This summary is qualified by reference to the laws of the Cayman Islands, as appropriate, and the Existing Charter and the Proposed PubCo Charter. For information on Rising Dragon’s Existing Charter see the section titled, “Where You Can Find More Information” in this proxy statement/prospectus. For a summary of Proposed PubCo Charter, see the section titled “Description of PubCo’s Securities” in this proxy statement/prospectus and see the full text of the Proposed PubCo Charter attached to this proxy statement/prospectus as Annex B.
| Provision | RDAC | PubCo | ||
| Authorized share capital | US$5,550 divided into 55,000,000 ordinary shares of a par value of US$0.0001 each and 500,000 preference shares of a par value of US$0.0001 each. | PubCo will be authorized to issue 500,000,000 PubCo Ordinary Shares of a par value of US$0.0001 each, comprising (a) 400,000,000 PubCo Class A Ordinary Shares and (b) 100,000,000 PubCo Class B Ordinary Shares.
Holders of Class A Ordinary Shares and Class B Ordinary Shares shall at all times vote together as one class on all resolutions submitted to a vote by the Members. Each Class A Ordinary Share shall entitle the holder thereof to one (1) vote on all matters subject to vote at general meetings of PubCo, and each Class B Ordinary Share shall entitle the holder thereof to ten (10) votes on all matters subject to vote at general meetings of PubCo. | ||
| Rights of Preference Shares | The Directors may allot, issue, grant options over or otherwise dispose of shares in separate classes and/or series (including fractions of a share) with shares with or without preferred, deferred or other rights or restrictions, whether in regard to Dividends or other distributions, voting, return of capital or otherwise and to such persons, at such times and on such other terms as they think proper, and may also (subject to the Companies Act and RDAC’s articles) vary such rights. | The PubCo directors may issue shares with such preferred or other rights, all or any of which may be greater than the rights of PubCo Ordinary Shares, at such time and on such terms as they may think appropriate. The PubCo board of directors will be authorized to issue, from time to time, out of the authorized share capital of PubCo (other than the authorized but unissued PubCo Ordinary Shares), series of preferred shares in their absolutely discretion and without approval of PubCo’s shareholders; provided, however, before any preferred shares of any such series are issued, the directors shall by resolution of directors determine, with respect to any series of preferred shares, the terms and rights of that series. |
| 229 |
| Provision | RDAC | PubCo | ||
| Number and Qualification of Directors | There shall be a board of Directors consisting of not less than one person provided however that RDAC may by Ordinary Resolution increase or reduce the limits in the number of Directors.
RDAC in general meeting may fix a minimum shareholding required to be held by a Director, but unless and until such a shareholding qualification is fixed a Director is not required to hold shares. |
Unless otherwise determined by PubCo, the number of PubCo’s directors shall not be less than two (2) directors, the exact number of directors shall be determined from time to time by the board of directors of PubCo.
A PubCo director shall not be required to hold any shares in PubCo by way of qualification. | ||
| Appointment/Removal of Directors | RDAC may by Ordinary Resolution appoint any person to be a Director or may by Ordinary Resolution remove any Director.
The board of directors may appoint any person to be a director, either to fill a vacancy or as an additional director provided that the appointment does not cause the number of directors to exceed any number fixed by or in accordance with the RDAC’s articles as the maximum number of directors. |
PubCo may by ordinary resolution appoint any person to be a director. The board of directors of PubCo may, by the affirmative vote of a simple majority of the remaining directors present and voting at a board meeting, appoint any person as a PubCo director, to fill a casual vacancy on the PubCo board or as an addition to the board.
A PubCo director may be removed from office by an ordinary resolution of PubCo. | ||
| Voting — Cumulative Voting | Not applicable under RDAC Articles | The Proposed PubCo Charter do not provide for cumulative voting. |
| Vacancies on the Board of Directors | The office of a RDAC director shall be vacated if: | The office of PubCo’s director shall be vacated, if the director: | ||||
| (a) | the director gives notice in writing to RDAC that they resign the office of director; or | (a) | becomes bankrupt or makes any arrangement or composition with his creditors; | |||
| (b) | the director is absent (for the avoidance of doubt, without being represented by proxy) from three consecutive meetings of the board of directors without special leave of absence from the directors, and the directors pass a resolution that they have by reason of such absence vacated office; or | (b) | dies or is found to be or becomes of unsound mind; | |||
| (c) | the director dies, becomes bankrupt or makes any arrangement or composition with their creditors generally; or | (c) | resigns his office by notice in writing to PubCo; | |||
| (d) | the director is found to be or becomes of unsound mind; or | (d) | without special leave of absence from the PubCo board, is absent from meetings of the PubCo board for three consecutive meetings and the PubCo board resolves that his office be vacated; or | |||
| (e) | all of the other directors (being not less than two in number) determine that the Director should be removed as a Director, either by a resolution passed by all of the other Directors at a meeting of the Directors duly convened and held in accordance with the RDAC’s articles or by a resolution in writing signed by all of the other Directors. | (e) | is prohibited by law from being a director; or | |||
| (f) | is removed from office pursuant to any other provision of the Proposed PubCo Charter. | |||||
| 230 |
| Provision | RDAC | PubCo | ||
| Amendment of Articles of Association | Amendment of provisions in RDAC’s Amended and Restated Memorandum and Articles of Association may be amended by way of special resolution of the RDAC shareholders. | Subject to the Companies Act, PubCo may at any time and from time to time by special resolution alter or amend the Proposed PubCo Charter in whole or in part. | ||
| Quorum | General meetings — The holders of a majority of the ordinary shares being individuals present in person or by proxy or if a corporation or other non-natural person by its duly authorised representative or proxy shall be a quorum.
Proceedings of directors — The quorum for the transaction of the business of the Directors may be fixed by the Directors, and unless so fixed shall be a majority of the Directors then in office |
Shareholders. No business except for the appointment of a chairman for the meeting shall be transacted at any general meeting unless a quorum of PubCo shareholders is present at the time when the meeting proceeds to business. One or more PubCo shareholders holding shares which carry in aggregate (or representing by proxy) not less than one-third (1/3) of all votes attaching to all shares of PubCo in issue and entitled to vote at such general meeting, present at the meeting, shall be a quorum for all purposes.
Board of directors. The quorum necessary for the transaction of the business of the PubCo board may be fixed by the PubCo directors, and unless so fixed the presence of two (2) directors then in office shall constitute a quorum. | ||
| Shareholder Meetings | Under Cayman Islands law, RDAC may (but shall not be obliged to) to hold an annual general meeting as its annual general meeting and shall specify the meeting as such in the notices calling it. The annual general meeting shall be held at such time and place as may be determined by the PubCo directors.
The Directors, the chief executive officer or the chairperson of the board of directors may call general meetings, and they shall on a members’ requisition forthwith proceed to convene an extraordinary general meeting of the Company.
A members’ requisition is a requisition of members holding at the date of deposit of the requisition not less than 10% in par value of the issued shares which as at that date carry the right to vote at general meetings of RDAC. |
PubCo may (but shall not be obliged to) in each calendar year hold a general meeting as its annual general meeting and shall specify the meeting as such in the notices calling it. The annual general meeting shall be held at such time and place as may be determined by the PubCo directors.
The chairman of the board of directors of PubCo or a majority of the PubCo directors (acting by a resolution of the PubCo board) may also call general meetings, and they shall on a shareholders’ requisition forthwith proceed to convene an extraordinary general meeting of PubCo. A shareholders’ requisition is a requisition of members holding at the date of deposit of the requisition shares which carry in aggregate not less than one-third (1/3) of all votes attaching to all issued and outstanding shares of PubCo that as at the date of the deposit carry the right to vote at general meetings of PubCo. |
| 231 |
| Provision | RDAC | PubCo | ||
| The members’ requisition must state the objects of the meeting and must be signed by the requisitionists and deposited at the Registered Office, and may consist of several documents in like form each signed by one or more requisitionists. | To every separate meeting of the holders of a class of PubCo shares, all the provisions relating to general meetings of PubCo or to the proceedings thereat shall, mutatis mutandis, apply. | |||
| Notice of Shareholder Meetings | At least five clear days’ notice shall be given of any general meeting. Every notice shall specify the place, the day and the hour of the meeting and the general nature of the business to be conducted at the general meeting and shall be given in the manner hereinafter mentioned or in such other manner if any as may be prescribed by RDAC, provided that a general meeting of RDAC shall, whether or not the notice specified has been given and whether or not the provisions of the articles regarding general meetings have been complied with, be deemed to have been duly convened if it is so agreed: |
At least five (5) calendar days’ notice shall be given for any general meeting. Every notice shall be exclusive of the day on which it is given or deemed to be given and of the day for which it is given and shall specify the place, the day and the hour of the meeting and the general nature of the business and shall be given in the manner hereinafter mentioned or in such other manner if any as may be prescribed by PubCo, provided that a general meeting of PubCo shall, whether or not the notice specified in the Proposed PubCo Charter has been given and whether or not the provisions of the Proposed PubCo Charter regarding general meetings have been complied with, be deemed to have been duly convened if it is so agreed: |
| (a) | in the case of an annual general meeting, by all of the members entitled to attend and vote at the meeting; and | (a) | in the case of an annual general meeting, by all the PubCo shareholders (or their proxies) entitled to attend and vote thereat; and | |||
| (b) | in the case of an extraordinary general meeting, by a majority in number of the members having a right to attend and vote at the meeting, together holding not less than ninety-five per cent in par value of the Shares giving that right. | (b) | in the case of an extraordinary general meeting, by a majority in number of the members (or their proxies) having a right to attend and vote at the meeting, being a majority together holding not less than two-thirds (2/3) in voting rights of the shares of PubCo giving that right. |
| 232 |
| Provision | RDAC | PubCo | ||
| Indemnification, liability insurance of Directors and Officers | Every director and officer (which for the avoidance of doubt, shall not include auditors of RDAC), together with every former director and former officer (each an “Indemnified Person”) shall be indemnified out of the assets of the RDAC against any liability, action, proceeding, claim, demand, costs, damages or expenses, including legal expenses, whatsoever which they or any of them may incur as a result of any act or failure to act in carrying out their functions other than such liability (if any) that they may incur by reason of their own actual fraud, wilful neglect or wilful default. No Indemnified Person shall be liable to RDAC for any loss or damage incurred by RDAC as a result (whether direct or indirect) of the carrying out of their functions unless that liability arises through the actual fraud, wilful neglect or wilful default of such Indemnified Person. No person shall be found to have committed actual fraud, wilful neglect or wilful default under such specific article in RDAC’s articles unless or until a court of competent jurisdiction shall have made a finding to that effect. | Every Director (including any alternate director appointed), secretary, assistant secretary, or other officer for the time being and from time to time of the PubCo (but not including the PubCo’s auditors) and the personal representatives of the same (each an “Indemnified Person”) shall be indemnified and secured harmless against all actions, proceedings, costs, charges, expenses, losses, damages or liabilities incurred or sustained by such Indemnified Person, other than by reason of such Indemnified Person’s own dishonesty, wilful default or fraud, in or about the conduct of PubCo’s business or affairs (including as a result of any mistake of judgment) or in the execution or discharge of his duties, powers, authorities or discretions, including without prejudice to the generality of the foregoing, any costs, expenses, losses or liabilities incurred by such Indemnified Person in defending (whether successfully or otherwise) any civil proceedings concerning PubCo or its affairs in any court whether in the Cayman Islands or elsewhere. | ||
| Dividends | Subject to the Companies Act and RDAC’s articles and except as otherwise provided by the rights attached to any shares, the directors may resolve to pay dividends and other distributions on shares in issue and authorise payment of the dividends or other distributions out of the funds of RDAC lawfully available therefor. A dividend shall be deemed to be an interim dividend unless the terms of the resolution pursuant to which the directors resolve to pay such dividend specifically state that such dividend shall be a final dividend. No dividend or other distribution shall be paid except out of the realised or unrealised profits of RDAC, out of the share premium account or as otherwise permitted by law. | Subject to any rights and restrictions for the time being attached to any PubCo shares, the directors may from time to time declare dividends (including interim dividends) and other distributions on PubCo shares in issue and authorise payment of the same out of the funds of PubCo lawfully available therefor.
Subject to any rights and restrictions for the time being attached to any PubCo shares, PubCo by Ordinary Resolution may declare dividends, but no dividend shall exceed the amount recommended by the directors.
Any dividend payable in cash to the holder of PubCo shares may be paid in any manner determined by the PubCo directors. The PubCo directors may determine that a dividend shall be paid wholly or partly in cash or by the distribution of specific assets (which may consist of the shares or securities of any other company) and may settle all questions concerning such distribution. |
| 233 |
| Provision | RDAC | PubCo | |||
| Winding up | In the event that RDAC does not consummate a Business Combination within 9 months from the consummation of the IPO (or up to 18 months if the Sponsor exercises its Extension Option up to nine times), from the consummation of the IPO, or such later time as the members may approve in accordance with the RDAC’s articles, the Company shall: |
If PubCo shall be wound up, and the assets available for distribution amongst the Members shall be insufficient to repay the whole of the share capital, such assets shall be distributed so that, as nearly as may be, the losses shall be borne by the PubCo members in proportion to the par value of the PubCo shares held by them. If the assets available for distribution amongst the PubCo members shall be more than sufficient to repay the whole of the share capital at the commencement of the winding up, the surplus shall be distributed amongst the PubCo members in proportion to the par value of the PubCo shares held by them at the commencement of the winding up subject to a deduction from those PubCo shares in respect of which there are monies due, of all monies payable to PubCo for unpaid calls or otherwise. | |||
| (a) | cease all operations except for the purpose of winding up; | ||||
| (b) | as promptly as reasonably possible but not more than ten business days thereafter, redeem the Public Shares, at a per-share price, payable in cash, equal to the aggregate amount then on deposit in the Trust Account, including interest earned on the funds held in the Trust Account and not previously released to the Company (less taxes payable and up to US$60,000 of interest to pay dissolution expenses), divided by the number of then Public Shares in issue, which redemption will completely extinguish public members’ rights as members (including the right to receive further liquidation distributions, if any); and | ||||
| (c) | as promptly as reasonably possible following such redemption, subject to the approval of RDAC’s remaining members and the directors, liquidate and dissolve, subject in each case to its obligations under Cayman Islands law to provide for claims of creditors and other requirements of applicable law. |
| 234 |
| Supermajority Voting Provisions | Subject to the provisions of the Companies Act, and the provisions of RDAC’s articles as regards the matters to be dealt with by Ordinary Resolution, RDAC may by Special Resolution: | A special resolution, requiring not less than a two-thirds vote, is required to: | ||||
| (a) | change its name; | (a) | amend the Proposed PubCo Charter; | |||
| (b) | alter or add to the articles; | (b) | change PubCo’s name; | |||
| (c) | alter or add to the memorandum with respect to any objects, powers or other matters specified therein; | (c) | change PubCo’s registration to a jurisdiction outside the Cayman Islands; | |||
| (d) | reduce its share capital or any capital redemption reserve fund; | (d) | merger or consolidate PubCo with one or more other constituent companies; | |||
| (e) | merge or consolidate with one or more other constituent companies (as defined in the Companies Act) upon such terms as the directors may determine and (to the extent required by the Companies Act) with the approval of a special resolution; and | (e) | reduce PubCo’s share capital and any capital redemption reserve in any manner authorised by the Companies Act | |||
| (f) | register by way of continuation as a body corporate under the laws of any jurisdiction outside the Cayman Islands and to be deregistered in the Cayman Islands. | |||||
| Anti-Takeover Provisions | The provisions of RDAC’s articles authorise the directors to issue shares with or without preferred, deferred or other rights or restrictions, whether in regard to Dividends or other distributions, voting, return of capital or otherwise and to such persons, at such times and on such other terms as they think proper. | The provision of the Proposed PubCo Charter that authorizes the PubCo board of directors to issue and set the voting and other rights of preferred shares from time to time. |
| 235 |
ENFORCEABILITY OF CIVIL LIABILITIES UNDER U.S. SECURITIES LAWS
Cayman Islands
We are incorporated under the laws of the Cayman Islands as an exempted company with limited liability. We are incorporated in the Cayman Islands because of certain benefits associated with being a Cayman Islands exempted company, such as:
| ● | political and economic stability; | |
| ● | an effective judicial system; | |
| ● | a favorable tax system; | |
| ● | the absence of exchange control or currency restrictions; and | |
| ● | the availability of professional and support services. |
However, certain disadvantages accompany incorporation in the Cayman Islands. These disadvantages include, but are not limited to, the following:
| ● | the Cayman Islands has a less developed body of securities laws as compared to the United States and these securities laws provide significantly less protection to investors; and | |
| ● | Cayman Islands companies may not have standing to sue before the federal courts of the United States. |
Our memorandum and articles of association do not contain provisions requiring that disputes, including those arising under the securities laws of the United States, between us, our officers, directors and shareholders, be arbitrated.
Substantially all of our operations are conducted outside the United States, and all of our assets are located outside the United States. In addition, Mr. Bin Xiong, Director Nominee and Chief Executive Officer of the PubCo, Ms. Chun Hui Mao, Chief Financial Officer of the PubCo, Mr. Wei Lin Yu, Director Nominee of the PubCo, Mr. Jun Gang Wang, Independent Director Nominee of the PubCo, Mr. Jun Chen Sun, Independent Director Nominee of the PubCo, and Ms. Ye Liu, Independent Director Nominee of the PubCo, all reside within China for a significant portion of the time and all are PRC nationals, and all or a substantial portion of such persons’ assets are located outside the United States. As a result, it may be difficult for a shareholder to effect service of process within the United States upon these persons, or to enforce against us or them judgments obtained in United States courts, including judgments predicated upon the civil liability provisions of the securities laws of the United States or any state in the United States.
PubCo will appoint Puglisi & Associates as its agent upon whom process may be served in any action brought against it under the securities laws of the United States after the consummation of the Business Combination.
Harney Westwood & Riegels, PubCo’s counsel as to Cayman Islands law, and Han Kun PRC, HZJL’s counsel as to PRC law, have advised us, respectively, that there is uncertainty as to whether the courts of the Cayman Islands and China, respectively, would:
| ● | recognize or enforce judgments of United States courts obtained against us or our directors or officers predicated upon the civil liability provisions of the securities laws of the United States or any state in the United States; or | |
| ● | entertain original actions brought in each respective jurisdiction against us or our directors or officers predicated upon the securities laws of the United States or any state in the United States. |
| 236 |
Harney Westwood & Riegels has informed PubCo that although there is no statutory enforcement in the Cayman Islands of judgments obtained in the federal or state courts of the United States (and the Cayman Islands are not a party to any treaties for the reciprocal enforcement or recognition of such judgments), the Cayman Islands Grand Court will at common law enforce final and conclusive in personam judgments of state and/or federal courts of the United States of America, or the “Foreign Court,” of a debt or definite sum of money against PubCo (other than a sum of money payable in respect of taxes or other charges of a like nature, a fine or other penalty (which may include a multiple damages judgment in an anti-trust action) or where enforcement would be contrary to public policy). The Grand Court of the Cayman Islands may also at common law enforce final and conclusive in personam judgments of the Foreign Court that are non-monetary against PubCo, for example, declaratory judgments ruling upon the true legal owner of shares in a Cayman Islands company. The Grand Court of the Cayman Islands will exercise its discretion in the enforcement of non-money judgments by having regard to the circumstances, such as considering whether the principles of comity apply. To be treated as final and conclusive, any relevant judgment must be regarded as res judicata by the Foreign Court. A debt claim on a foreign judgment must be brought within six years of the date of the judgment, and arrears of interest on a judgment debt cannot be recovered after six years from the date on which the interest was due. The courts of the Cayman Islands are unlikely to enforce a judgment obtained from the Foreign Court under civil liability provisions of U.S. federal securities law if such a judgment is found by the courts of the Cayman Islands to give rise to obligations to make payments that are penal or punitive in nature. Such a determination has not yet been made by the Grand Court of the Cayman Islands. A court of the Cayman Islands may stay enforcement proceedings if concurrent proceedings are being brought elsewhere. A judgment entered in default of appearance by a defendant who has had notice of the Foreign Court’s intention to proceed may be final and conclusive notwithstanding that the Foreign Court has power to set aside its own judgment and despite the fact that it may be subject to an appeal the time-limit for which has not yet expired. The Grand Court of the Cayman Islands may safeguard the defendant’s rights by granting a stay of execution pending any such appeal and may also grant interim injunctive relief as appropriate for the purpose of enforcement.
PRC
Substantially all of our assets are located outside the United States. In addition, Mr. Bin Xiong, Director Nominee and Chief Executive Officer of the PubCo, Ms. Chun Hui Mao, Chief Financial Officer of the PubCo, Mr. Wei Lin Yu, Director Nominee of the PubCo, Mr. Jun Gang Wang, Independent Director Nominee of the PubCo, Mr. Jun Chen Sun, Independent Director Nominee of the PubCo, and Ms. Ye Liu, Independent Director Nominee of the PubCo, all reside within China for a significant portion of the time and all are PRC nationals, and all or a substantial portion of such persons’ assets are located outside the United States. As a result, it may be difficult for investors to effect service of process within the United States upon us or such persons. As advised by Han Kun PRC, HZJL’s PRC Legal Counsel, that there is uncertainty as to whether the courts of the PRC would enforce judgments of United States courts or Cayman courts obtained against us or these persons predicated upon the civil liability provisions of the United States federal and state securities laws. Han KunPRC has further advised that the recognition and enforcement of foreign judgments are provided for under PRC Civil Procedures Law. PRC courts may recognize and enforce foreign judgments in accordance with the requirements of PRC Civil Procedures Law based either on treaties between China and the country where the judgment is made or on reciprocity between jurisdictions. China does not have any treaties or other form of reciprocity with the United States or the Cayman Islands that provide for the reciprocal recognition and enforcement of foreign judgments. In addition, according to the PRC Civil Procedures Law, courts in the PRC will not enforce a foreign judgment against us or our directors and officers if they decide that the judgment violates the basic principles of PRC law or national sovereignty, security or public interest. As a result, it is uncertain whether and on what basis a PRC court would enforce a judgment rendered by a court in the United States or in the Cayman Islands.
As of the date of this proxy statement/prospectus, we have been advised by our PRC Legal Counsel, Han Kun PRC, that our PRC subsidiaries have obtained all licenses and approvals explicitly required and necessary for our operations in China. HZJL’s counsel as to Cayman Islands law has advised that HZJL does not require any approvals from any Cayman authority. In addition to the aforementioned licenses and approvals for business operations, as far as listing on the U.S. exchange is concerned, if any of the PRC Operating Entities were required to obtain permissions or approvals in the future and were denied permissions or approvals from Chinese authorities to list on a U.S. exchange, the PRC Operating Entities will not be able to continue listing on a U.S. exchange, which could materially affect the interest of the investors. It is uncertain when and whether HZJL will be required to obtain permissions or approvals from the PRC government to list on a U.S. exchange in the future, and even when such permission or approval is obtained, whether it will be denied or rescinded. As of the date of this prospectus, HZJL and its PRC Operating Entities have not been denied any permissions or approvals that they are required to obtain from Chinese authorities to operate their business. Although HZJL’s PRC Operating Entities are currently not required to obtain permission or approval from any PRC government agency and have not received any denial to list on a U.S. exchange, our operations could be adversely affected, directly or indirectly, by existing or future laws and regulations relating to its business or industry. See “Risk Factors – Risks Related to Doing Business in China – The approval of and filing with the CSRC or other PRC government authorities may be required in connection with this Business Combination under PRC law, and, if so required, we cannot predict whether or when we will be able to obtain such approval or complete such filing, and even if we obtain such approval, this Business Combination also needs to be completed within the validity period of such approval”
| 237 |
LEGAL MATTERS
The validity of the PubCo Ordinary Shares will be passed upon by Harney Westwood & Riegels, Cayman Islands legal counsel to PubCo. Certain legal matters relating to U.S. law will be passed upon by Han Kun Law Offices LLP, PubCo’s U.S. Counsel.
EXPERTS
The financial statements of Rising Dragon Acquisition Corp. for the period from March 8, 2024 (inception) through December 31, 2024 included in this Prospectus have been audited by Adeptus Partners, LLC, independent registered public accounting firm, as set forth in their report, thereon, appearing elsewhere in this prospectus, and are included in reliance on such report given upon such firm as experts in auditing and accounting.
The consolidated financial statements of HZJL Cayman Limited as of and for the years ended June 30, 2024 and 2023 included in this registration statement have been audited by Enrome LLP , an independent registered public accounting firm as stated in their report appearing herein. Such financial statements are included in reliance upon the report of such firm given upon their authority as experts in accounting and auditing. The office of Enrome LLP is located at 143 Cecil Street, #19-03/04 GB Building, Singapore 069542.
The financial statements of Xpand Boom Technology Inc. as of February 28, 2025 and for the period from January 7, 2025 (inception) through February 28, 2025 included in this registration statement have been audited by Enrome LLP, an independent registered public accounting firm as stated in their report appearing herein. Such financial statements are included in reliance upon the report of such firm given upon their authority as experts in accounting and auditing. The office of Enrome LLP is located at 143 Cecil Street, #19-03/04 GB Building Singapore 069542.
SHAREHOLDER PROPOSALS AND OTHER MATTERS
Management of Rising Dragon knows of no other matters which may be brought before the Extraordinary General Meeting. If any matter other than the proposed Business Combination or related matters should properly come before the Extraordinary General Meeting, however, the persons named in the enclosed proxies will vote proxies in accordance with their judgment on those matters.
DELIVERY OF DOCUMENTS TO SHAREHOLDERS
Pursuant to the rules of the SEC, we and servicers that we employ to deliver communications to our shareholders are permitted to deliver to two or more shareholders sharing the same address a single copy of the proxy statement/prospectus. Upon written or oral request, we will deliver a separate copy of the proxy statement/prospectus to any shareholder at a shared address to which a single copy of the proxy statement/ prospectus was delivered and who wishes to receive separate copies in the future. Shareholders receiving multiple copies of the proxy statement/prospectus may likewise request that we deliver single copies of the proxy statement/prospectus in the future. Shareholders may notify us of their requests by calling or writing to our proxy solicitor at:
ADVANTAGE PROXY, INC.
P.O. Box 10904
Yakima, WA 98909
Toll Free: (877) 870-8565
Collect: (206) 870-8565
Email: ksmith@advantageproxy.com
TRANSFER AGENT AND REGISTRAR
The transfer agent for our securities is Continental Stock Transfer & Trust Company.
WHERE YOU CAN FIND ADDITIONAL INFORMATION
Rising Dragon is subject to the informational requirements of the Exchange Act, and is required to file reports, any proxy statements and other information with the SEC. You can read Rising Dragon’s SEC filings, including this proxy statement/prospectus, over the Internet at the SEC’s website at http://www.sec.gov. If you would like additional copies of this proxy statement/prospectus or if you have questions about the Business Combination or the Proposals to be presented at the Extraordinary General Meeting, you should contact our proxy solicitation agent at the following address and telephone number:
ADVANTAGE PROXY, INC.
P.O. Box 10904
Yakima, WA 98909
Toll Free: (877) 870-8565
Collect: (206) 870-8565
Email: ksmith@advantageproxy.com
None of Rising Dragon, PubCo, Merger Sub or HZJL has authorized anyone to provide you with information that differs from that contained in this proxy statement/prospectus. You should not assume that the information contained in this proxy statement/prospectus is accurate as on any date other than the date of this proxy statement/prospectus, and neither the mailing of this proxy statement/prospectus to Rising Dragon’s shareholders nor the consummation of the Business Combination shall create any implication to the contrary.
| 238 |
This proxy statement/prospectus does not constitute an offer to sell, or a solicitation of an offer to buy, any securities, or the solicitation of a proxy, in any jurisdiction to or from any person to whom it is not lawful to make any such offer or solicitation in such jurisdiction.
HZJL does not have a class of equity securities registered under the Securities Exchange Act of 1934 and does not file reports or other information with the SEC.
If you are a shareholder of Rising Dragon and would like to request documents, please do so by October 13, 2025, in order to receive them before the Extraordinary General Meeting. If you request any documents from us, we will mail them to you by first class mail, or another equally prompt means.
All information contained in this proxy statement/prospectus relating to Rising Dragon, PubCo and Merger Sub has been supplied by Rising Dragon, and all such information relating to HZJL has been supplied by HZJL. Information provided by either of Rising Dragon or HZJL does not constitute any representation, estimate or projection of the other party.
This document is a proxy statement/prospectus of Rising Dragon for the Extraordinary General Meeting. We have not authorized anyone to give any information or make any representation about the Business Combination, us or HZJL that is different from, or in addition to, that contained in this proxy statement/prospectus. Therefore, if anyone does give you information of this sort, you should not rely on it. The information contained in this proxy statement/prospectus speaks only as of the date of this proxy statement/prospectus unless the information specifically indicates that another date applies.
| 239 |
INDEX TO FINANCIAL STATEMENTS
RISING DRAGON ACQUISITION CORP.
| AUDITED FINANCIAL STATEMENTS | Page |
| Report of Independent Registered Public Accounting Firm (PCAOB ID: 3686) | F-17 |
| Balance Sheet as of December 31, 2024 | F-18 |
| Statement of Income | F-19 |
| Statement of Changes in Shareholders’ Deficit | F-20 |
| Statement of Cash Flows | F-21 |
| Notes to Financial Statements | F-22 |
HZJL CAYMAN LIMITED
INDEX TO COMBINED AND CONSOLIDATED FINANCIAL STATEMENTS
XPAND BOOM TECHNOLOGY INC.
INDEX TO CONSOLIDATED FINANCIAL STATEMENTS
| F-1 |
RISING DRAGON ACQUISITION CORP.
CONDENSED CONSOLIDATED BALANCE SHEETS
| June 30, 2025 | December 31, 2024 | |||||||
| (Unaudited) | ||||||||
| ASSETS | ||||||||
| Current assets: | ||||||||
| Cash | $ | 83,406 | $ | 392,679 | ||||
| Prepaid expense | 21,000 | 63,000 | ||||||
| Total Current Assets | 104,406 | 455,679 | ||||||
| Investment held in Trust Account | 59,536,150 | 58,330,546 | ||||||
| TOTAL ASSETS | $ | 59,640,556 | $ | 58,786,225 | ||||
| LIABILITIES, TEMPORARY EQUITY AND SHAREHOLDERS’ DEFICIT | ||||||||
| Current liabilities: | ||||||||
| Accrued liabilities | $ | 21,113 | $ | 22,500 | ||||
| Due to related party | 2,870 | - | ||||||
| Total Current Liabilities | 23,983 | 22,500 | ||||||
| Deferred underwriting compensation | 1,868,750 | 1,868,750 | ||||||
| TOTAL LIABILITIES | 1,892,733 | 1,891,250 | ||||||
| Commitments and contingencies (Note 7) | ||||||||
| Ordinary shares subject to possible redemption, 5,750,000 and 5,750,000 shares issued and outstanding at redemption value of $10.35 and $10.14 as of June 30, 2025 and December 31, 2024, respectively | 59,536,150 | 58,330,546 | ||||||
| Shareholders’ Deficit: | ||||||||
| Preference shares, $0.0001 par value; 500,000 shares authorized; no shares issued and outstanding | - | - | ||||||
| Ordinary shares, $0.0001 par value; 55,000,000 shares authorized; 1,749,375 shares issued and outstanding as of June 30, 2025 and December 31, 2024 (excluding 5,750,000 and 5,750,000 shares subject to possible redemption), respectively | 175 | 175 | ||||||
| Accumulated deficit | (1,788,502 | ) | (1,435,746 | ) | ||||
| Total Shareholders’ Deficit | (1,788,327 | ) | (1,435,571 | ) | ||||
| TOTAL LIABILITIES, TEMPORARY EQUITY AND SHAREHOLDERS’ DEFICIT | $ | 59,640,556 | $ | 58,786,225 | ||||
The accompanying notes are an integral part of these condensed consolidated financial statements.
| F-2 |
RISING DRAGON ACQUISITION CORP.
CONDENSED CONSOLIDATED STATEMENTS OF OPERATIONS
| Three months ended June 30, 2025 | Three months ended June 30, 2024 | Six months ended June 30, 2025 | Period from March 8, 2024 (Inception) through June 30, 2024 | |||||||||||||
| Formation and operating costs | $ | (209,466 | ) | $ | (10,000 | ) | $ | (352,756 | ) | $ | (38,860 | ) | ||||
| Other income: | ||||||||||||||||
| Interest income earned in investment held in Trust Account | 608,447 | - | 1,205,604 | - | ||||||||||||
| Total other income | 608,447 | - | 1,205,604 | - | ||||||||||||
| NET INCOME (LOSS) | $ | 398,981 | $ | (10,000 | ) | $ | 852,848 | $ | (38,860 | ) | ||||||
| Basic and diluted weighted average shares outstanding, common stock subject to possible redemption | 5,750,000 | - | 5,750,000 | - | ||||||||||||
| Basic and diluted net income per share, common stock subject to possible redemption | $ | 0.08 | $ | - | $ | 0.16 | $ | - | ||||||||
| Basic and diluted weighted average shares outstanding, common stock subject to possible redemption | 1,749,375 | 1,250,000 | 1,749,375 | 1,019,737 | ||||||||||||
| Basic and diluted net loss per share, common stock not subject to possible redemption | $ | (0.03 | ) | $ | (0.01 | ) | $ | (0.05 | ) | $ | (0.04 | ) | ||||
The accompanying notes are an integral part of these condensed consolidated financial statements.
| F-3 |
RISING DRAGON ACQUISITION CORP.
CONDENSED CONSOLIDATED STATEMENTS OF CHANGES IN SHAREHOLDERS’ DEFICIT
| Three and Six Months Ended June 30, 2025 | ||||||||||||||||||||
| Ordinary shares | Additional | Total | ||||||||||||||||||
| No. of shares | Amount | paid-in capital | Accumulated deficit | shareholders’ deficit | ||||||||||||||||
| Balance as of January 1, 2025 | 1,749,375 | $ | 175 | $ | - | $ | (1,435,746 | ) | $ | (1,435,571 | ) | |||||||||
| Subsequent remeasurement of ordinary shares subject to redemption | - | - | - | (597,157 | ) | (597,157 | ) | |||||||||||||
| Net income | - | - | - | 453,867 | 453,867 | |||||||||||||||
| Balance as of March 31, 2025 | 1,749,375 | $ | 175 | $ | - | $ | (1,579,036 | ) | $ | (1,578,861 | ) | |||||||||
| Subsequent remeasurement of ordinary shares subject to redemption | - | - | - | (608,447 | ) | (608,447 | ) | |||||||||||||
| Net income | - | - | - | 398,981 | 398,981 | |||||||||||||||
| Balance as of June 30, 2025 | 1,749,375 | $ | 175 | $ | - | $ | (1,788,502 | ) | $ | (1,788,327 | ) | |||||||||
| Period from March 8, 2024 (inception) through June 30, 2024 | ||||||||||||||||||||
| Ordinary shares | Additional | Total | ||||||||||||||||||
| No. of shares | Amount | paid-in capital | Accumulated deficit | shareholders’ deficit | ||||||||||||||||
| Issuance of ordinary shares at inception March 8, 2024 | 1 | $ | - | $ | - | $ | - | $ | - | |||||||||||
| Ordinary share surrendered | (1 | ) | - | - | - | - | ||||||||||||||
| Issuance of ordinary shares to founder | 1,437,500 | 144 | 24,856 | - | 25,000 | |||||||||||||||
| Net loss | - | - | - | (28,860 | ) | (28,860 | ) | |||||||||||||
| Balance as of March 31, 2024 | 1,437,500 | $ | 144 | $ | 24,856 | $ | (28,860 | ) | $ | (3,860 | ) | |||||||||
| Net loss | - | - | - | (10,000 | ) | (10,000 | ) | |||||||||||||
| Balance as of June 30, 2024 | 1,437,500 | $ | 144 | $ | 24,856 | $ | (38,860 | ) | $ | (13,860 | ) | |||||||||
The accompanying notes are an integral part of these condensed consolidated financial statements.
| F-4 |
RISING DRAGON ACQUISITION CORP.
CONDENSED CONSOLIDATED STATEMENTS OF CASH FLOWS
| Six months ended June 30, 2025 | Period from March 8, 2024 (inception) through June 30, 2024 | |||||||
| Cash flows from operating activities: | ||||||||
| Net income (loss) | $ | 852,848 | $ | (38,860 | ) | |||
| Adjustments to reconcile net income (loss) to net cash used in operating activities | ||||||||
| Interest income earned in cash and investments held in Trust Account | (1,205,604 | ) | - | |||||
| Change in operating assets and liabilities | ||||||||
| Prepaid expense | 42,000 | - | ||||||
| Accrued liabilities | (1,387 | ) | 10,000 | |||||
| Net cash used in operating activities | (312,143 | ) | (28,860 | ) | ||||
| Cash flows from financing activities: | ||||||||
| Advance from related party | 2,870 | - | ||||||
| Proceeds from promissory note – related party | - | 28,960 | ||||||
| Net cash provided by financing activities | 2,870 | 28,960 | ||||||
| NET CHANGE IN CASH | (309,273 | ) | 100 | |||||
| CASH, BEGINNING OF PERIOD | 392,679 | - | ||||||
| CASH, END OF PERIOD | $ | 83,406 | $ | 100 | ||||
| Non-cash investing and financing activities | ||||||||
| Subsequent remeasurement of ordinary shares subject to redemption | $ | 1,205,604 | $ | - | ||||
| Deferred offering costs paid by a related party | $ | - | $ | 161,974 | ||||
| Accrued deferred offering costs | $ | - | $ | 20,112 | ||||
| Capital contribution paid by a related party | $ | - | $ | 25,000 | ||||
The accompanying notes are an integral part of these condensed consolidated financial statements.
| F-5 |
RISING DRAGON ACQUISITION CORP.
NOTES TO CONDENSED CONSOLIDATED FINANCIAL STATEMENTS
(UNAUDITED)
NOTE 1 - ORGANIZATION AND BUSINESS BACKGROUND
Rising Dragon Acquisition Corp. (the “Company”) is a blank check company incorporated on March 8, 2024, under the laws of the Cayman Islands for the purpose of acquiring, engaging in a share exchange, share reconstruction and amalgamation, purchasing all or substantially all of the assets of, entering into contractual arrangements, or engaging in any other similar business combination with one or more businesses or entities (“Business Combination”). The Company is not limited to a particular industry or geographic region for purposes of consummating a Business Combination.
The Company is an early-stage company and emerging growth company and, as such, the Company is subject to all of the risks associated with early stage companies and emerging growth companies. The Company has selected December 31 as its fiscal year end.
As of June 30, 2025, the Company had not yet commenced any operations. All activities through June 30, 2025 relate to the Company’s formation, the initial public offering (the “Initial Public Offering”) and the evaluation of Business Combination candidates. The Company will not generate any operating revenues until after the completion of a Business Combination, at the earliest. The Company will generate non-operating income in the form of interest income from the proceeds derived from the Initial Public Offering.
The registration statement for the Company’s Initial Public Offering was declared effective on October 10, 2024. On October 15, 2024, the Company consummated the Initial Public Offering of 5,750,000 units (the “Public Units”), which includes 750,000 Public Units upon the full exercise by the underwriter of its over-allotment option, at $10.00 per Public Unit, generating gross proceeds of $57,500,000 to the Company. Each Public Unit consists of one ordinary share and one right (“Public Rights”). Each whole Public Right will entitle the holder to receive one-tenth (1/10) ordinary share upon consummation of initial business combination.
Simultaneously with the closing of the Initial Public Offering, the Company consummated the sale of 254,375 units (the “Private Placement Units”) at a price of $10.00 per Private Placement Unit in a private placement to Aurora Beacon LLC (the “Sponsor”), generating gross proceeds of $2,543,750 to the Company. Each Private Placement Unit consists of one Private Placement Share and one right (“Private Placement Right”). Each Private Placement Right will entitle the holder to receive one-tenth (1/10) ordinary share upon consummation of the initial business combination.
Transaction costs amounted to $3,431,288, consisting of $1,006,250 of underwriting commissions, $1,868,750 of deferred underwriting commissions and $556,288 of other offering costs.
The Company listed the Units on the Nasdaq Capital Market (“NASDAQ”). The Company’s management has broad discretion with respect to the specific application of the net proceeds of the Initial Public Offering and the Private Units, although substantially all of the net proceeds are intended to be generally applied toward consummating a Business Combination. NASDAQ rules provide that the Business Combination must be with one or more target businesses that together have a fair market value equal to at least 80% of the balance in the Trust Account (as defined below) (less any deferred underwriting commissions and interest released to pay taxes payable) at the time of the signing a definitive agreement in connection with a Business Combination. The Company will only complete a Business Combination if the post-Business Combination company owns or acquires 50% or more of the outstanding voting securities of the target or otherwise acquires a controlling interest in the target sufficient for it not to be required to register as an investment company under the Investment Company Act of 1940, as amended (the “Investment Company Act”). There is no assurance that the Company will be able to successfully effect a Business Combination. Upon the closing of the Initial Public Offering, management has agreed that at least $10.05 per Unit, including the proceeds of the sale of the Private Units will be held in a trust account (“Trust Account”) and invested in U.S. government securities, within the meaning set forth in Section 2(a)(16) of the Investment Company Act, with a maturity of 180 days or less, or in any open-ended investment company that holds itself out as a money market fund meeting the conditions of Rule 2a-7 of the Investment Company Act, as determined by the Company, until the earlier of: (i) the consummation of a Business Combination or (ii) the distribution of the funds in the Trust Account to the Company’s shareholder, as described below.
| F-6 |
The Company will provide its shareholders with the opportunity to redeem all or a portion of their Public Shares upon the completion of a Business Combination either (i) in connection with a shareholder meeting called to approve the Business Combination or (ii) by means of a tender offer. The decision as to whether the Company will seek shareholder approval of a Business Combination or conduct a tender offer will be made by the Company, solely in its discretion. The shareholders will be entitled to redeem their Public Shares for a pro rata portion of the amount then on deposit in the Trust Account (initially $10.05 per share, plus any pro rata interest earned on the funds held in the Trust Account and not previously released to the Company to pay its tax obligations). The per-share amount to be distributed to shareholders who redeem their shares will not be reduced by the deferred underwriting commissions the Company will pay to the underwriters (as discussed in Note 7). The ordinary shares subject to redemption will be recorded at a redemption value and classified as temporary equity upon the completion of the Initial Public Offering, in accordance with Accounting Standards Codification (“ASC”) Topic 480, Distinguishing Liabilities from Equity.
The Company will proceed with a Business Combination if the Company has net tangible assets of at least $5,000,001 either immediately prior to or upon such consummation of a Business Combination, or otherwise we are exempt from the provisions of Rule 419 promulgated under the Securities Act (so that we are not subject to the SEC’s “penny stock” rules), and, if the Company seeks shareholder approval, a majority of the outstanding shares voted are voted in favor of the Business Combination. If a shareholder vote is not required and the Company does not decide to hold a shareholder vote for business or other legal reasons, the Company will, pursuant to its Memorandum and Articles of Association, offer such redemption pursuant to the tender offer rules of the Securities and Exchange Commission (“SEC”), and file tender offer documents containing substantially the same information as would be included in a proxy statement with the SEC prior to completing a Business Combination.
The Company’s initial shareholders (the “initial shareholders”) have agreed (a) to vote their founder shares, the ordinary shares included in the Private Placement Units (the “Private Placement Shares”) and any Public Shares purchased during or after the Initial Public Offering in favor of a Business Combination, (b) not to propose, or vote in favor of, an amendment to the Company’s Memorandum and Articles of Association that would stop the public shareholders from converting or selling their shares to the Company in connection with a Business Combination or affect the substance or timing of the Company’s obligation to redeem 100% of the Public Shares if the Company does not complete a Business Combination within the Combination Period (as defined below) unless the Company provides public shareholders with the opportunity to redeem their Public Shares for cash from the Trust Account in connection with any such vote; (c) not to redeem any founder shares and Private Placement Shares as well as any Public Shares purchased during or after the Initial Public Offering for cash from the Trust Account in connection with a shareholder vote to approve a Business Combination (or sell any shares in a tender offer in connection with a Business Combination) or a vote to amend the provisions of the Memorandum and Articles of Association relating to shareholders’ rights of pre-Business Combination activity and (d) that the founder shares and Private Placement Shares shall not participate in any liquidating distributions upon winding up if a Business Combination is not consummated. However, the initial shareholders will be entitled to liquidating distributions from the Trust Account with respect to any Public Shares purchased during or after the Initial Public Offering if the Company fails to complete its Business Combination. The Company will have until January 14, 2026 initially to consummate a Business Combination.
If the Company is unable to complete a Business Combination within the Combination Period, the Company will (i) cease all operations except for the purpose of winding up, (ii) as promptly as reasonably possible but no more than ten business days thereafter, redeem 100% of the outstanding Public Shares, at a per-share price, payable in cash, equal to the aggregate amount then on deposit in the Trust Account, including interest earned (net of taxes payable), which redemption will completely extinguish public shareholders’ rights as shareholders (including the right to receive further liquidation distributions, if any), subject to applicable law, and (iii) as promptly as reasonably possible following such redemption, subject to the approval of the remaining shareholders and the Company’s board of directors, proceed to commence a voluntary liquidation and thereby a formal dissolution of the Company, subject in each case to its obligations to provide for claims of creditors and the requirements of applicable law. The underwriters have agreed to waive its rights to the deferred underwriting commission held in the Trust Account in the event the Company does not complete a Business Combination within the Combination Period and, in such event, such amounts will be included with the funds held in the Trust Account that will be available to fund the redemption of the Public Shares. In the event of such distribution, it is possible that the per share value of the assets remaining available for distribution will be less than $10.05.
| F-7 |
The Sponsor has agreed that it will be liable to the Company, if and to the extent any claims by a vendor for services rendered or products sold to the Company, or a prospective target business with which the Company has discussed entering into a transaction agreement, reduce the amounts in the Trust Account to below $10.05 per share (whether or not the underwriters’ over-allotment option is exercised in full), except as to any claims by a third party who executed a waiver of any and all rights to seek access to the Trust Account and except as to any claims under the Company’s indemnity of the underwriters of the Initial Public Offering against certain liabilities, including liabilities under the Securities Act of 1933, as amended (the “Securities Act”). In the event that an executed waiver is deemed to be unenforceable against a third party, the sponsor will not be responsible to the extent of any liability for such third party claims. The Company will seek to reduce the possibility that the sponsor will have to indemnify the Trust Account due to claims of creditors by endeavoring to have all vendors, service providers, prospective target businesses or other entities with which the Company does business, execute agreements with the Company waiving any right, title, interest or claim of any kind in or to monies held in the Trust Account.
On January 27, 2025, the Company, Xpand Boom Technology Inc., a Cayman Islands exempted company and a wholly-owned subsidiary of the Company (“Purchaser”), Xpand Boom Solutions Inc., a Cayman Islands exempted company and a wholly-owned subsidiary of Purchaser (“Merger Sub,” together with RDAC, Purchaser, the “Purchaser Parties”), HZJL Cayman Limited, a Cayman Islands exempted company (“HZJL”), certain shareholder of HZJL (“Principal Shareholder”), and Mr. Bin Xiong, as representative of the Principal Shareholder of HZJL, entered into a Merger Agreement (the “Agreement”).
Upon the closing of the transactions contemplated by the Agreement, the Company will merge with and into Purchaser, resulting in all the Company’s shareholders becoming shareholders of the Purchaser. Concurrently therewith, Merger Sub will merge with and into HZJL, resulting in Purchaser acquiring 100% of the issued and outstanding equity securities of HZJL (the “Acquisition Merger”). Upon the closing of the Acquisition Merger, the ordinary shares of Purchaser issued shall be reclassified into class A ordinary shares (“Purchaser Class A Ordinary Shares”) and class B ordinary shares (“Purchaser Class B Ordinary Shares,” together with Purchaser Class A Ordinary Shares, “Purchaser Ordinary Shares”) where each Purchaser Class A Ordinary Share shall be entitled to one (1) vote on all matters subject to a vote at general and special meetings of the post-closing company and each Purchaser Class B Ordinary Share shall be entitled to 10 votes on all matters subject to a vote at general and special meetings of the post-closing company.
The aggregate consideration to be paid to HZJL shareholders for the Acquisition Merger is $350 million, payable in newly issued Purchaser Ordinary Shares (the “Closing Payment Shares”), valued at $10.00 per share.
Going Concern Consideration
As of June 30, 2025, the Company had cash of $83,406 and a working capital of $80,423. Subsequent to the consummation of the IPO, the Company’s liquidity has been satisfied through the net proceeds from the IPO and the Private Placement. The Company has incurred and expects to continue to incur significant professional costs to remain as a publicly traded company and to incur significant transaction costs in pursuit of the consummation of a Business Combination.
The Company will have until 15 months (or up to 21 months from the closing of the Initial Public Offering if the Company extends the period of time to consummate a Business Combination by the full amount of time, as described in more detail in the Final Prospectus from the closing of the Initial Public Offering) to consummate a Business Combination. If the Company does not complete a Business Combination within the Combination Period, the Company will (i) cease all operations except for the purpose of winding up, (ii) as promptly as reasonably possible but no more than ten business days thereafter, redeem 100% of the outstanding Public Shares, at a per-share price, payable in cash, equal to the aggregate amount then on deposit in the Trust Account, including interest earned (net of taxes payable), which redemption will completely extinguish public shareholders’ rights as shareholders (including the right to receive further liquidation distributions, if any), subject to applicable law, and (iii) as promptly as reasonably possible following such redemption, subject to the approval of the remaining shareholders and the Company’s board of directors, proceed to commence a voluntary liquidation and thereby a formal dissolution of the Company, subject in each case to its obligations to provide for claims of creditors and the requirements of applicable law. There is a possibility that a business combination might not happen within the 15-month (or 21-month if extended as described in the Final Prospectus) period.
| F-8 |
In connection with the Company’s assessment of going concern considerations in accordance with Accounting Standards Update (“ASU”) 2014-15, Disclosures of Uncertainties about an Entity’s Ability to Continue as a Going Concern, management has determined that if the Company is unsuccessful in consummating an initial business combination within the prescribed period of time from the closing of the IPO, the requirement that the Company cease all operations, redeem the public shares and thereafter liquidate and dissolve raises substantial doubt about the ability to continue as a going concern. The unaudited condensed consolidated financial statements do not include any adjustments that might result from the outcome of this uncertainty.
NOTE 2 – SUMMARY OF SIGNIFICANT ACCOUNTING POLICIES
| ● | Basis of presentation |
These accompanying unaudited condensed consolidated financial statements have been prepared in accordance with accounting principles generally accepted in the United States of America (“U.S. GAAP”) for interim financial statements and Article 8 of Regulation S-X. They do not include all of the information and notes required by U.S. GAAP for complete financial statements. The unaudited condensed consolidated financial statements should be read in conjunction with the Company’s financial statements and notes thereto for the period from March 8, 2024 (Inception) to December 31, 2024 included in the Company’s Form 10-K filed with the SEC on March 26, 2025. Certain information or footnote disclosures normally included in financial statements prepared in accordance with U.S. GAAP have been condensed or omitted, pursuant to the rules and regulations of the SEC for interim financial reporting. Accordingly, they do not include all the information and footnotes necessary for a complete presentation of financial position, results of operations, or cash flows. In the opinion of management, the accompanying unaudited condensed consolidated financial statements include all adjustments, consisting of a normal recurring nature, which are necessary for a fair presentation of the financial position, operating results and cash flows for the periods presented.
| ● | Principles of consolidation |
The unaudited condensed consolidated financial statements include the unaudited condensed financial statements of the Company and its subsidiaries. All significant intercompany transactions and balances between the Company and its subsidiaries are eliminated upon consolidation.
A subsidiary is the entity in which the Company, directly or indirectly, controls more than one half of the voting power; or has the power to govern the financial and operating policies, to appoint or remove the majority of the members of the board of directors, or to cast a majority of votes at the meeting of directors.
The accompanying unaudited condensed consolidated financial statements reflect the activities of the Company and each of the following entities:
| Name | Background | Ownership | ||
| Xpand Boom Technology Inc. (“Acquirer”) | A
Cayman Islands company Incorporated on January 7, 2025 |
100% owned by the Company | ||
| Xpand Boom Solutions Inc. | A
Cayman Islands company Incorporated on January 7, 2025 |
100% owned by the Acquirer |
| F-9 |
| ● | Emerging growth company |
The Company is an “emerging growth company,” as defined in Section 2(a) of the Securities Act, as modified by the Jumpstart Our Business Startups Act of 2012 (the “JOBS Act”), and it may take advantage of certain exemptions from various reporting requirements that are applicable to other public companies that are not emerging growth companies including, but not limited to, not being required to comply with the independent registered public accounting firm attestation requirements of Section 404 of the Sarbanes-Oxley Act, reduced disclosure obligations regarding executive compensation in its periodic reports and proxy statements, and exemptions from the requirements of holding a nonbinding advisory vote on executive compensation and shareholder approval of any golden parachute payments not previously approved.
Further, Section 102(b)(1) of the JOBS Act exempts emerging growth companies from being required to comply with new or revised financial accounting standards until private companies (that is, those that have not had a Securities Act registration statement declared effective or do not have a class of securities registered under the Exchange Act) are required to comply with the new or revised financial accounting standards. The JOBS Act provides that a company can elect to opt out of the extended transition period and comply with the requirements that apply to non-emerging growth companies but any such election to opt out is irrevocable. The Company has elected not to opt out of such extended transition period which means that when a standard is issued or revised and it has different application dates for public or private companies, the Company, as an emerging growth company, can adopt the new or revised standard at the time private companies adopt the new or revised standard. This may make comparison of the Company’s unaudited condensed consolidated financial statements with another public company which is neither an emerging growth company nor an emerging growth company which has opted out of using the extended transition period difficult or impossible because of the potential differences in accounting standards used.
| ● | Use of estimates |
In preparing these unaudited condensed consolidated financial statements in conformity with U.S. GAAP, management makes estimates and assumptions that affect the reported amounts of assets and liabilities and disclosure of contingent assets and liabilities at the date of the unaudited condensed consolidated financial statements and the reported expenses during the reporting period.
Making estimates requires management to exercise significant judgment. It is at least reasonably possible that the estimate of the effect of a condition, situation or set of circumstances that existed at the date of the unaudited condensed consolidated financial statements, which management considered in formulating its estimate, could change in the near term due to one or more future confirming events. Accordingly, actual results may differ from these estimates.
| ● | Cash and cash equivalents |
The Company considers all short-term investments with an original maturity of three months or less when purchased to be cash equivalents. The company had $83,406 and $392,679 in cash as of June 30, 2025 and December 31, 2024, respectively. The Company did not have any cash equivalents as of June 30, 2025 and December 31, 2024.
| ● | Investment held in Trust Account |
At June 30, 2025 and December 31, 2024, substantially all of the assets held in the Trust Account were held in cash. This is presented on the unaudited condensed consolidated balance sheets at fair value at the end of each reporting period. Earnings on these cash funds are included in interest income in the accompanying unaudited condensed consolidated statements of operations. The fair value is determined using quoted market prices in active markets.
| ● | Concentration of credit risk |
Financial instruments that potentially subject the Company to concentrations of credit risk consist of a cash account in a financial institution, which, at times, may exceed the Federal Depository Insurance Coverage of $250,000. The Company has not experienced losses on this account.
| ● | Deferred offering costs |
Deferred offering costs consist of underwriting, legal and other expenses incurred through the balance sheet date that are directly related to the Initial Public Offering and were charged to shareholders’ equity upon the completion of the Initial Public Offering.
| F-10 |
| ● | Income taxes |
Income taxes are determined in accordance with the provisions of ASC Topic 740, Income Taxes (“ASC 740”). Under this method, deferred tax assets and liabilities are recognized for the future tax consequences attributable to differences between the unaudited condensed consolidated financial statements carrying amounts of existing assets and liabilities and their respective tax basis. Deferred tax assets and liabilities are measured using enacted income tax rates expected to apply to taxable income in the years in which those temporary differences are expected to be recovered or settled. Any effect on deferred tax assets and liabilities of a change in tax rates is recognized in income in the period that includes the enactment date.
ASC 740 prescribes a comprehensive model for how companies should recognize, measure, present, and disclose in the unaudited condensed consolidated financial statements uncertain tax positions taken or expected to be taken on a tax return. Under ASC 740, tax positions must initially be recognized in the unaudited condensed consolidated financial statements when it is more likely than not the position will be sustained upon examination by the tax authorities. The Company’s management determined that the Cayman Islands is the Company’s major tax jurisdiction. The Company recognizes accrued interest and penalties related to unrecognized tax benefits, if any, as income tax expense. There were no unrecognized tax benefits and no amounts accrued for interest and penalties as of June 30, 2025 and December 31, 2024. The Company is currently not aware of any issues under review that could result in significant payments, accruals or material deviation from its position.
The Company may be subject to potential examination by foreign taxing authorities in the area of income taxes. These potential examinations may include questioning the timing and amount of deductions, the nexus of income among various tax jurisdictions and compliance with foreign tax laws. The Company’s management does not expect that the total amount of unrecognized tax benefits will materially change over the next twelve months.
The Company is considered to be an exempted Cayman Islands company with no connection to any other taxable jurisdiction and is presently not subject to income taxes or income tax filing requirements in the Cayman Islands or the United States. As such, the Company’s tax provision was zero for the periods presented.
| ● | Ordinary shares subject to possible redemption |
The Company accounts for its ordinary shares subject to possible redemption in accordance with the guidance in ASC 480. Ordinary shares subject to mandatory redemption (if any) is classified as a liability instrument and is measured at fair value. Conditionally redeemable ordinary shares (including ordinary shares that feature redemption rights that are either within the control of the holder or subject to redemption upon the occurrence of uncertain events not solely within the Company’s control) are classified as temporary equity. At all other times, ordinary shares are classified as shareholders’ equity. The Company’s ordinary shares feature certain redemption rights that are subject to the occurrence of uncertain future events and considered to be outside of the Company’s control. Accordingly, as of June 30, 2025 and December 31, 2024, 5,750,000 and 5,750,000 ordinary shares subject to possible redemption, are presented as temporary equity, outside of the shareholders’ equity section of the Company’s unaudited condensed consolidated balance sheets.
| ● | Rights accounting |
Rights — Except in cases where the Company is not the surviving company in a Business Combination, each holder of a right will automatically receive one-tenth (1/10) of one ordinary share upon consummation of a Business Combination, even if the holder of a right redeemed all shares held by him, her or it in connection with a Business Combination or an amendment to the Company’s Amended and Restated Memorandum and Articles of Association with respect to its pre-business combination activities. In the event that the Company will not be the surviving company upon completion of a Business Combination, each holder of a right will be required to affirmatively redeem his, her or its rights in order to receive the one-tenth (1/10) of a share underlying each right upon consummation of the Business Combination. No additional consideration will be required to be paid by a holder of Public Rights in order to receive his, her or its additional ordinary shares upon consummation of a Business Combination. The shares issuable upon exchange of the rights will be freely tradable (except to the extent held by affiliates of the Company). If the Company enters into a definitive agreement for a Business Combination in which the Company will not be the surviving entity, the definitive agreement will provide for the holders of rights to receive the same per share consideration the holders of the ordinary shares will receive in the transaction on an as-converted into ordinary share basis.
| F-11 |
The Company will not issue fractional shares in connection with an exchange of rights. Fractional shares will either be rounded down to the nearest whole share or otherwise addressed in accordance with the applicable provisions of the Cayman Islands law. As a result, the holders of the rights must hold rights in multiples of ten in order to receive shares for all of the holders’ rights upon closing of a Business Combination. If the Company is unable to complete a Business Combination within the Combination Period and the Company liquidates the funds held in the Trust Account, holders of rights will not receive any of such funds with respect to their rights, nor will they receive any distribution from the Company’s assets held outside of the Trust Account with respect to such rights, and the rights will expire worthless. Further, there are no contractual penalties for failure to deliver securities to the holders of the rights upon consummation of a Business Combination. Additionally, in no event will the Company be required to net cash settle the rights. Accordingly, the rights may expire worthless.
The Company accounts for rights as either equity-classified or liability-classified instruments based on an assessment of the right’s specific terms and applicable authoritative guidance in ASC 480 and ASC 815 Derivatives and Hedging (“ASC 815”). The assessment considers whether the rights are freestanding financial instruments pursuant to ASC 480, meet the definition of a liability pursuant to ASC 480, and whether the rights meet all of the requirements for equity classification under ASC 815, including whether the rights are indexed to the Company’s own ordinary shares and whether the right holders could potentially require “net cash settlement” in a circumstance outside of the Company’s control, among other conditions for equity classification. This assessment, which requires the use of professional judgment, is conducted at the time of right issuance and as of each subsequent quarterly period end date while the rights are outstanding.
For issued or modified rights that meet all of the criteria for equity classification, the rights are required to be recorded as a component of equity at the time of issuance. For issued or modified rights that do not meet all the criteria for equity classification, the rights are required to be recorded as liabilities at their initial fair value on the date of issuance, and each balance sheet date thereafter. Changes in the estimated fair value of the rights are recognized as a non-cash gain or loss on the unaudited condensed consolidated statements of operations.
As the rights issued upon the IPO and private placements meet the criteria for equity classification under ASC 815, therefore, the rights are classified as equity.
| ● | Net income (loss) per share |
The Company calculates net income (loss) per share in accordance with ASC Topic 260, Earnings per Share. In order to determine the net income (loss) attributable to both the redeemable shares and non-redeemable shares, the Company first considered the undistributed income (loss) allocable to both the redeemable ordinary shares and non-redeemable ordinary shares and the undistributed income (loss) is calculated using the total net income (loss) less any dividends paid. The Company then allocated the undistributed income (loss) ratably based on the weighted average number of shares outstanding between the redeemable and non-redeemable ordinary shares. Any remeasurement of the accretion to the redemption value of the ordinary shares subject to possible redemption was considered to be dividends paid to the public stockholders. Accretion associated with the redeemable shares of ordinary share is excluded from earnings per share as the redemption value approximates fair value.
The net income (loss) per share presented in the unaudited condensed consolidated statements of income (loss) is based on the following:
| FOR THE SIX MONTHS ENDED JUNE 30, 2025 | FOR THE PERIOD FROM MARCH 8, 2024 (INCEPTION) TO JUNE 30, 2024 | |||||||||||||||
| Redeemable Ordinary Shares | Non-Redeemable Ordinary Shares | Redeemable Ordinary Shares | Non-Redeemable Ordinary Shares | |||||||||||||
| Basic and diluted net income (loss) per share: | ||||||||||||||||
| Numerators: | ||||||||||||||||
| Interest income earned in investments held in Trust Account | $ | 1,205,604 | $ | - | $ | - | $ | - | ||||||||
| Total expenses | (270,469 | ) | (82,287 | ) | - | (38,860 | ) | |||||||||
| Total allocation to redeemable and non-redeemable ordinary shares | $ | 935,135 | $ | (82,287 | ) | $ | - | $ | (38,860 | ) | ||||||
| Denominators: | ||||||||||||||||
| Weighted-average shares outstanding | 5,750,000 | 1,749,375 | - | 1,019,737 | ||||||||||||
| Basic and diluted net income (loss) per share | $ | 0.16 | $ | (0.05 | ) | $ | - | $ | (0.04 | ) | ||||||
| FOR THE THREE MONTHS ENDED JUNE 30, 2025 | FOR THE THREE MONTHS ENDED JUNE 30, 2024 | |||||||||||||||
| Redeemable Ordinary Shares | Non-Redeemable Ordinary Shares | Redeemable Ordinary Shares | Non-Redeemable Ordinary Shares | |||||||||||||
| Basic and diluted net income (loss) per share: | ||||||||||||||||
| Numerators: | ||||||||||||||||
| Interest income earned in investments held in Trust Account | $ | 608,447 | $ | - | $ | - | $ | - | ||||||||
| Total expenses | (160,604 | ) | (48,862 | ) | - | (10,000 | ) | |||||||||
| Total allocation to redeemable and non-redeemable ordinary shares | $ | 447,843 | $ | (48,862 | ) | $ | - | $ | (10,000 | ) | ||||||
| Denominators: | ||||||||||||||||
| Weighted-average shares outstanding | 5,750,000 | 1,749,375 | - | 1,250,000 | ||||||||||||
| Basic and diluted net income (loss) per share | $ | 0.08 | $ | (0.03 | ) | $ | - | $ | (0.01 | ) | ||||||
| F-12 |
| ● | Related parties |
Parties, which can be a corporation or individual, are considered to be related if the Company has the ability, directly or indirectly, to control the other party or exercise significant influence over the other party in making financial and operational decisions. Companies are also considered to be related if they are subject to common control or common significant influence.
| ● | Fair value of financial instruments |
The fair value of the Company’s assets and liabilities, which qualify as financial instruments under ASC Topic 820, Fair Value Measurement, approximates the carrying amounts represented in the accompanying unaudited condensed consolidated balance sheets, primarily due to their short-term nature.
The Company applies ASC 820, which establishes a framework for measuring fair value and clarifies the definition of fair value within that framework. ASC 820 defines fair value as an exit price, which is the price that would be received for an asset or paid to transfer a liability in the Company’s principal or most advantageous market in an orderly transaction between market participants on the measurement date. The fair value hierarchy established in ASC 820 generally requires an entity to maximize the use of observable inputs and minimize the use of unobservable inputs when measuring fair value. Observable inputs reflect the assumptions that market participants would use in pricing the asset or liability and are developed based on market data obtained from sources independent of the reporting entity. Unobservable inputs reflect the entity’s own assumptions based on market data and the entity’s judgments about the assumptions that market participants would use in pricing the asset or liability and are to be developed based on the best information available in the circumstances.
| Level 1: | Assets and liabilities with unadjusted, quoted prices listed on active market exchanges. Inputs to the fair value measurement are observable inputs, such as quoted prices in active markets for identical assets or liabilities. |
| Level 2: | Inputs to the fair value measurement are determined using prices for recently traded assets and liabilities with similar underlying terms, as well as direct or indirect observable inputs, such as interest rates and yield curves that are observable at commonly quoted intervals. |
| Level 3: | Inputs to the fair value measurement are unobservable inputs, such as estimates, assumptions, and valuation techniques when little or no market data exists for the assets or liabilities. |
The following table presents information about the Company’s assets and liabilities that were measured at fair value on a recurring basis as of June 30, 2025 and December 31, 2024, and indicates the fair value hierarchy of the valuation techniques the Company utilized to determine such fair value.
| June 30, | Quoted Prices In Active Markets | Significant Other Observable Inputs | Significant Other Unobservable Inputs | |||||||||||||
| Description | 2025 | (Level 1) | (Level 2) | (Level 3) | ||||||||||||
| Assets: | ||||||||||||||||
| Investment held in Trust Account | $ | 59,536,150 | $ | 59,536,150 | $ | - | $ | - | ||||||||
| December 31, | Quoted Prices In Active Markets |
Significant Other Observable Inputs |
Significant Other Unobservable Inputs |
|||||||||||||
| Description | 2024 | (Level 1) | (Level 2) | (Level 3) | ||||||||||||
| Assets: | ||||||||||||||||
| Investment held in Trust Account | $ | 58,330,546 | $ | 58,330,546 | $ | - | $ | - | ||||||||
| F-13 |
| ● | Recent accounting pronouncements |
Management does not believe that any recently issued, but not yet effective, accounting pronouncements, if currently adopted, would have a material effect on the Company’s unaudited condensed consolidated financial statements.
NOTE 3 – INITIAL PUBLIC OFFERING
On October 15, 2024, the Company sold 5,750,000 Public Units, which includes 750,000 Public Units upon the full exercise by the underwriter of its over-allotment option, at a purchase price of $10.00 per Public Unit.
Each Unit consists of one ordinary share and one Public Right. Each whole Public Right entitles the holder to receive one-tenth (1/10) ordinary share upon consummation of initial business combination.
All of the 5,750,000 public shares sold as part of the Public Units in the Initial Public Offering contain a redemption feature which allows for the redemption of such public shares if there is a shareholder vote or tender offer in connection with the Business Combination and in connection with certain amendments to the Company’s Amended and Restated Memorandum and Articles of Association, or in connection with the Company’s liquidation.
In accordance with the SEC and its staff’s guidance on redeemable equity instruments, which has been codified in ASC 480-10-S99, redemption provisions not solely within the control of the Company require ordinary shares subject to redemption to be classified outside of permanent equity. If it is probable that the equity instrument will become redeemable, the Company has the option to either accrete changes in the redemption value over the period from the date of issuance (or from the date that it becomes probable that the instrument will become redeemable, if later) to the earliest redemption date of the instrument or to recognize changes in the redemption value immediately as they occur and adjust the carrying amount of the instrument to equal the redemption value at the end of each reporting period. The Company has elected to recognize the changes immediately. The accretion or remeasurement is treated as a deemed dividend (i.e., a reduction to retained earnings, or in absence of retained earnings, additional paid-in capital).
NOTE 4 – PRIVATE PLACEMENT
Simultaneously with the closing of the Initial Public Offering, the Company consummated a private placement of 254,375 Private Placement Units, at a price of $10.00 per Private Placement Unit. Each Private Placement Unit consists of one Private Placement Share and one Private Placement Right. Each Private Placement Right entitles the holder to receive one-tenth (1/10) of one ordinary share upon consummation of the initial business combination.
The Private Placement Units are identical to the Public Units sold in the Initial Public Offering except for certain registration rights and transfer restrictions.
NOTE 5 – RELATED PARTY TRANSACTIONS
Founder Shares
On March 8, 2024, the Company issued 1 founder share at par value of $0.0001 and surrendered such share on March 29, 2024. On March 29, 2024, the Company authorized to issue an aggregate of 1,437,500 founder shares at par value of $0.0001 to the initial shareholder, including an aggregate of 187,500 ordinary shares subject to forfeiture by the sponsor to the extent that the underwriters’ over-allotment option is not exercised in full or in part, so that the initial shareholder will collectively own 20% of the issued and outstanding shares after the Initial Public Offering (excluding the sale of the Private Units and assuming the initial shareholder does not purchase any Units in the Initial Public Offering) (see Note 6) for an aggregate purchase price of $25,000. On October 10, 2024, the underwriters exercised the over-allotment option in full, so those 187,500 founder shares are no longer subject to forfeiture.
| F-14 |
Private Placement
On October 15, 2024, the Company consummated the sale of 254,375 Private Placement Units at a price of $10.00 per Private Placement Unit in a private placement to the Sponsor, generating gross proceeds of $2,543,750 to the Company.
Due to Related Party
As of June 30, 2025 and December 31, 2024, the Company had a temporary advance of $2,870 and $0 from the Sponsor, respectively. The balance is unsecured, interest-free and has no fixed terms of repayment.
NOTE 6 – SHAREHOLDERS’ DEFICIT
Preferred shares
The Company is authorized to issue 500,000 ordinary shares, at par value of $0.0001. As of June 30, 2025 and December 31, 2024, no Preference Shares were issued and outstanding.
Ordinary shares
The Company is authorized to issue 55,000,000 ordinary shares, at par value of $0.0001. Holders of the Company’s ordinary shares are entitled to one vote for each share.
As of June 30, 2025 and December 31, 2024, there were 1,749,375 and 1,749,375 ordinary shares issued and outstanding and excluding 5,750,000 and 5,750,000 ordinary shares subject to possible redemption, respectively.
Rights
Each holder of a right will receive one-tenth (1/10) ordinary share upon consummation of a Business Combination, even if the holder of such right redeemed all shares held by it in connection with a Business Combination. No fractional shares will be issued upon exchange of the rights. No additional consideration will be required to be paid by a holder of rights in order to receive its additional shares upon consummation of a Business Combination as the consideration related thereto has been included in the Unit purchase price paid for by investors in the Initial Public Offering. If the Company enters into a definitive agreement for a Business Combination in which the Company will not be the surviving entity, the definitive agreement will provide for the holders of rights to receive the same per share consideration the holders of the ordinary shares will receive in the transaction on an as-converted into ordinary share basis and each holder of a right will be required to affirmatively convert its rights in order to receive 1/10 share underlying each right (without paying additional consideration). The shares issuable upon exchange of the rights will be freely tradable (except to the extent held by affiliates of the Company).
NOTE 7 – COMMITMENTS AND CONTINGENCIES
Registration Rights
The holders of the founder shares, Private Placement Units sold in a private placement (and their underlying securities) and any Units that may be issued upon conversion of the working capital loans (and underlying securities) will be entitled to registration rights pursuant to a registration rights agreement to be signed prior to or on the effective date of the Initial Public Offering requiring the Company to register such securities for resale. The holders of these securities are entitled to make up to three demands, excluding short form demands, that the Company register such securities. In addition, the holders have certain “piggy-back” registration rights with respect to registration statements filed subsequent to the completion of a Business Combination and rights to require the Company to register for resale such securities pursuant to Rule 415 under the Securities Act. The Company will bear the expenses incurred in connection with the filing of any such registration statements.
| F-15 |
Underwriting Agreement
The Company granted the underwriters a 45-day option to purchase up to 750,000 Units (over and above 5,000,000 Units referred to above) solely to cover over-allotments at the Initial Public Offering price, less the underwriting discounts and commissions. On October 15, 2024, the underwriters fully exercised the over-allotment option to purchase 750,000 Public Units, generating gross proceeds to the Company of $7,500,000.
The underwriters are entitled to a cash underwriting discount of 1.75% of the gross proceeds of the Initial Public Offering, and the balance of $1,868,750 will be paid upon the closing of the Business Combination.
Representative Shares
The Company issued 57,500 representative shares to the underwriters as part of the underwriting compensation. The representative shares have been deemed compensation by FINRA and are therefore subject to a lock-up for a period of 180 days immediately following the date of the commencement of sales in the IPO pursuant to FINRA Rule 5110(e)(1). Pursuant to FINRA Rule 5110(e)(1), these securities will not be the subject of any hedging, short sale, derivative, put or call transaction that would result in the economic disposition of the securities by any person for a period of 180 days immediately following the date of the commencement of sales in the IPO, nor may they be sold, transferred, assigned, pledged or hypothecated for a period of 180 days immediately following the date of the commencement of sales in the IPO except to any underwriter and selected dealer participating in the offering and their officers, partners, registered persons or affiliates.
NOTE 8 – SEGMENT INFOMRATION
ASC Topic 280, Segment Reporting, establishes standards for companies to report in their unaudited condensed consolidated financial statements information about operating segments, products, services, geographic areas, and major customers. Operating segments are defined as components of an enterprise for which separate financial information is available that is regularly evaluated by the Company’s chief operating decision maker (“CODM”), or group, in deciding how to allocate resources and assess performance.
The Company’s CODM has been identified as the Chief Financial Officer, who reviews the operating results for the Company as a whole to make decisions about allocating resources and assessing financial performance. Accordingly, management has determined that the Company only has one operating segment.
When evaluating the Company’s performance and making key decisions regarding resource allocation, the CODM reviews several key metrics, which includes formation and operating costs and interest and dividend earned on investments held in Trust Account which are included in the accompanying unaudited condensed consolidated statements of operations.
The key measures of segment profit or loss reviewed by the CODM are earned on investments held in Trust Account and formation and operating costs. The CODM reviews earned on investments held in Trust Account to measure and monitor stockholder value and determine the most effective strategy of investment with the Trust Account funds while maintaining compliance with the trust agreement. Formation and operating costs are reviewed and monitored by the CODM to manage and forecast cash to ensure enough capital is available to complete a business combination within the business combination period. The CODM also reviews formation and operating costs to manage, maintain and enforce all contractual agreements to ensure costs are aligned with all agreements and budget.
NOTE 9 – SUBSEQUENT EVENTS
In accordance with ASC Topic 855, Subsequent Events, which establishes general standards of accounting for and disclosure of events that occur after the unaudited condensed consolidated balance sheet date, the Company has evaluated all events or transactions that occurred after the unaudited condensed consolidated balance sheet date.
On August 11, 2025, the Company issued an unsecured promissory note in an amount of $50,000 to the Sponsor for working capital.
| F-16 |
![]() |
REPORT OF INDEPENDENT REGISTERED PUBLIC ACCOUNTING FIRM
To the Board of Directors and Stockholders of Rising Dragon Acquisition Corp.
Opinion on the Financial Statements
We have audited the accompanying balance sheet of Rising Dragon Acquisition Corp. as of December 31, 2024, and the related statements of income, shareholders’ equity, and cash flows for the period March 8, 2024 (inception) through December 31, 2024, and the related notes (collectively referred to as the financial statements). In our opinion, the financial statements present fairly, in all material respects, the financial position of the Company as of December 31, 2024, and the results of its operations and its cash flows for the period March 8, 2024 (inception) through December 31, 2024, in conformity with accounting principles generally accepted in the United States of America.
Substantial Doubt about the Company’s Ability to Continue as a Going Concern
The accompanying financial statements have been prepared assuming that the Company will continue as a going concern. As discussed in Note 1 to the financial statements, the Company has an accumulated deficit and needs to raise additional funds to meet its obligations and sustain operations which raises substantial doubt about its ability to continue as a going concern. Management’s plans in regard to these matters are also described in Note 1. The financial statements do not include any adjustments that might result from the outcome of this uncertainty.
Basis for Opinion
These financial statements are the responsibility of the Company’s management. Our responsibility is to express an opinion on the Company’s financial statements based on our audits. We are a public accounting firm registered with the Public Company Accounting Oversight Board (United States) (PCAOB) and are required to be independent with respect to the Company in accordance with the U.S. federal securities laws and the applicable rules fand regulations of the Securities and Exchange Commission and the PCAOB.
We conducted our audits in accordance with the standards of the PCAOB. Those standards require that we plan and perform the audits to obtain reasonable assurance about whether the financial statements are free of material misstatement, whether due to error or fraud. The Company is not required to have, nor were we engaged to perform, an audit of its internal control over financial reporting. As part of our audits, we are required to obtain an understanding of internal control over financial reporting, but not for the purpose of expressing an opinion on the effectiveness of the Company’s internal control over financial reporting. Accordingly, we express no such opinion.
Our audits included performing procedures to assess the risks of material misstatement of the financial statements, whether due to error or fraud, and performing procedures that respond to those risks. Such procedures included examining, on a test basis, evidence regarding the amounts and disclosures in the financial statements. Our audits also included evaluating the accounting principles used and significant estimates made by management, as well as evaluating the overall presentation of the financial statements. We believe that our audits provide a reasonable basis for our opinion.
We have served as the Company’s auditor since 2024.
/s/ Adeptus Partners, LLC Adeptus Partners, LLC PCAOB: 3686
Ocean, NJ March 26, 2025 |
| F-17 |
RISING DRAGON ACQUISITION CORP.
BALANCE SHEET
AS OF DECEMBER 31, 2024
| ASSETS | ||||
| Current asset: | ||||
| Cash | $ | 392,679 | ||
| Prepaid expense | 63,000 | |||
| Total current asset: | 455,679 | |||
| Investment held in Trust Account | 58,330,546 | |||
| TOTAL ASSETS | $ | 58,786,225 | ||
| LIABILITIES AND SHAREHOLDERS’ DEFICIT | ||||
| Current liabilities: | ||||
| Accrued liabilities | $ | 22,500 | ||
| Total Current Liabilities | 22,500 | |||
| Deferred underwriting compensation | 1,868,750 | |||
| TOTAL LIABILITIES | 1,891,250 | |||
| Commitments and contingencies (Note 7) | ||||
| Ordinary shares subject to possible redemption, 5,750,000 shares issued and outstanding at redemption value of $10.14 as of December 31, 2024 | 58,330,546 | |||
| Shareholders’ deficit: | ||||
| Preference shares, $0.0001 par value; 500,000 shares authorized; no shares issued and outstanding | - | |||
| Ordinary shares, $0.0001 par value; 55,000,000 shares authorized; 1,749,375 shares issued and outstanding as of December 31, 2024 (excluding 5,750,000 shares subject to possible redemption) | 175 | |||
| Accumulated deficit | (1,435,746 | ) | ||
| Total Shareholders’ Deficit | (1,435,571 | ) | ||
| TOTAL LIABILITIES AND SHAREHOLDERS’ DEFICIT | $ | 58,786,225 |
The accompanying notes are an integral part of these financial statements.
| F-18 |
RISING DRAGON ACQUISITION CORP.
STATEMENT OF INCOME
FOR THE PERIOD FROM MARCH 8, 2024 (INCEPTION) TO DECEMBER 31, 2024
| Period
from March 8, 2024 (inception) through December 31, 2024 | ||||
| Formation and operating costs | $ | (285,533 | ) | |
| Other income: | ||||
| Interest income earned in investment held in Trust Account | 543,046 | |||
| Total other income | 543,046 | |||
| NET INCOME | $ | 257,513 | ||
| Basic and diluted weighted average shares outstanding, ordinary shares subject to possible redemption | 1,485,738 | |||
| Basic and diluted net income per ordinary shares subject to possible redemption | $ | 0.27 | ||
| Basic and diluted weighted average shares outstanding, ordinary shares not subject to possible redemption | 1,416,785 | |||
| Basic and diluted net loss per ordinary shares not subject to possible redemption | $ | (0.10 | ) | |
The accompanying notes are an integral part of these financial statements.
| F-19 |
RISING DRAGON ACQUISITION CORP.
STATEMENT OF CHANGES IN SHAREHOLDERS’ DEFICIT
FOR THE PERIOD FROM MARCH 8, 2024 (INCEPTION) TO DECEMBER 31, 2024
| Ordinary shares | Additional paid-in | Accumulated | Total Shareholders’ | |||||||||||||||||
| No. of shares | Amount | capital | deficit | deficit | ||||||||||||||||
| Issuance of ordinary shares at inception March 8, 2024 | 1 | $ | - | $ | - | $ | - | $ | - | |||||||||||
| Ordinary share surrendered | (1 | ) | - | - | - | - | ||||||||||||||
| Issuance of ordinary shares to founder | 1,437,500 | 144 | 24,856 | - | 25,000 | |||||||||||||||
| Sale of units in initial public offering, net of offering costs | 5,750,000 | 575 | 54,068,137 | - | 54,068,712 | |||||||||||||||
| Sale of units to the founder in private placement | 254,375 | 25 | 2,543,725 | - | 2,543,750 | |||||||||||||||
| Issuance of representative shares | 57,500 | 6 | (6 | ) | - | - | ||||||||||||||
| Initial classification of ordinary shares subject to possible redemption | (5,750,000 | ) | (575 | ) | (53,888,835 | ) | - | (53,889,410 | ) | |||||||||||
| Allocation of offering costs to ordinary shares subject to redemption | - | - | 3,215,828 | - | 3,215,828 | |||||||||||||||
| Accretion of carrying value to redemption value | - | - | (5,963,705 | ) | (1,150,213 | ) | (7,113,918 | ) | ||||||||||||
| Subsequent remeasurement of ordinary shares subject to redemption | - | - | - | (543,046 | ) | (543,046 | ) | |||||||||||||
| Net income | - | - | - | 257,513 | 257,513 | |||||||||||||||
| Balance as of December 31, 2024 | 1,749,375 | $ | 175 | $ | - | $ | (1,435,746 | ) | $ | (1,435,571 | ) | |||||||||
The accompanying notes are an integral part of these financial statements.
| F-20 |
RISING DRAGON ACQUISITION CORP.
STATEMENT OF CASH FLOWS
FOR THE PERIOD FROM MARCH 8, 2024 (INCEPTION) TO DECEMBER 31, 2024
| Cash flows from operating activities: | ||||
| Net income | $ | 257,513 | ||
| Adjustments to reconcile net income to net cash used in operating activities | ||||
| Interest income earned in cash and investments held in Trust Account | (543,046 | ) | ||
| Change in operating assets and liabilities | ||||
| Prepaid expense | (63,000 | ) | ||
| Accrued liabilities | 22,500 | |||
| Net cash used in operating activities | (326,033 | ) | ||
| Cash flows from investing activities: | ||||
| Proceeds deposited in Trust Account | (57,787,500 | ) | ||
| Net cash used in investing activities | (57,787,500 | ) | ||
| Cash flows from financing activities: | ||||
| Proceeds from public offering, net of offering costs | 55,937,462 | |||
| Proceeds from private placement | 2,543,750 | |||
| Proceeds from promissory note – related party | 274,831 | |||
| Repayment of promissory note – related party | (249,831 | ) | ||
| Net cash provided by financing activities | 58,506,212 | |||
| NET CHANGE IN CASH | 392,679 | |||
| CASH, BEGINNING OF PERIOD | - | |||
| CASH, END OF PERIOD | $ | 392,679 | ||
| Non-cash investing and financing activities | ||||
| Issuance of representative shares | $ | 6 | ||
| Initial classification of ordinary shares subject to possible redemption | $ | 53,889,410 | ||
| Allocation of carrying value to redemption value | $ | 3,215,828 | ||
| Subsequent remeasurement of ordinary shares subject to redemption | $ | 543,046 | ||
| Capital contribution paid by a related party | $ | 25,000 |
The accompanying notes are an integral part of these financial statements.
| F-21 |
RISING DRAGON ACQUISITION CORP.
NOTES TO FINANCIAL STATEMENTS
NOTE 1 – ORGANIZATION AND BUSINESS BACKGROUND
Rising Dragon Acquisition Corp. (the “Company” or “we”, “us” and “our”) is a newly organized blank check company incorporated on March 8, 2024, under the laws of the Cayman Islands for the purpose of acquiring, engaging in a share exchange, share reconstruction and amalgamation, purchasing all or substantially all of the assets of, entering into contractual arrangements, or engaging in any other similar business combination with one or more businesses or entities (“Business Combination”). The Company is not limited to a particular industry or geographic region for purposes of consummating a Business Combination.
The Company is an early-stage company and emerging growth company and, as such, the Company is subject to all of the risks associated with early stage companies and emerging growth companies. The Company has selected December 31 as its fiscal year end.
As of December 31, 2024, the Company had not yet commenced any operations. All activities through December 31, 2024 relate to the Company’s formation and the initial public offering (the “Initial Public Offering”). The Company will not generate any operating revenues until after the completion of a Business Combination, at the earliest. The Company will generate non-operating income in the form of interest income from the proceeds derived from the Initial Public Offering.
The registration statement for the Company’s Initial Public Offering was declared effective on October 10, 2024. On October 15, 2024, the Company consummated the Initial Public Offering of 5,750,000 units (the “Public Units”), which includes 750,000 Public Units upon the full exercise by the underwriter of its over-allotment option, at $10.00 per Public Unit, generating gross proceeds of $57,500,000 to the Company. Each Public Unit consists of one ordinary share and one right (“Public Rights”). Each whole Public Right will entitle the holder to receive one-tenth (1/10) ordinary share upon consummation of initial business combination.
Simultaneously with the closing of the Initial Public Offering, the Company consummated the sale of 254,375 units (the “Private Placement Units”) at a price of $10.00 per Private Placement Unit in a private placement to Aurora Beacon LLC (the “Sponsor”), generating gross proceeds of $2,543,750 to the Company. Each Private Placement Unit consists of one Private Placement Share and one right (“Private Placement Right”). Each Private Placement Right will entitle the holder to receive one-tenth (1/10) ordinary share upon consummation of the initial business combination.
Transaction costs amounted to $3,431,288, consisting of $1,006,250 of underwriting commissions, $1,868,750 of deferred underwriting commissions and $556,288 of other offering costs.
The Company listed the Units on the Nasdaq Capital Market (“NASDAQ”). The Company’s management has broad discretion with respect to the specific application of the net proceeds of the Initial Public Offering and the Private Units, although substantially all of the net proceeds are intended to be generally applied toward consummating a Business Combination. NASDAQ rules provide that the Business Combination must be with one or more target businesses that together have a fair market value equal to at least 80% of the balance in the Trust Account (as defined below) (less any deferred underwriting commissions and interest released to pay taxes payable) at the time of the signing a definitive agreement in connection with a Business Combination. The Company will only complete a Business Combination if the post-Business Combination company owns or acquires 50% or more of the outstanding voting securities of the target or otherwise acquires a controlling interest in the target sufficient for it not to be required to register as an investment company under the Investment Company Act of 1940, as amended (the “Investment Company Act”). There is no assurance that the Company will be able to successfully effect a Business Combination. Upon the closing of the Initial Public Offering, management has agreed that at least $10.05 per Unit, including the proceeds of the sale of the Private Units will be held in a trust account (“Trust Account”) and invested in U.S. government securities, within the meaning set forth in Section 2(a)(16) of the Investment Company Act, with a maturity of 180 days or less, or in any open-ended investment company that holds itself out as a money market fund meeting the conditions of Rule 2a-7 of the Investment Company Act, as determined by the Company, until the earlier of: (i) the consummation of a Business Combination or (ii) the distribution of the funds in the Trust Account to the Company’s shareholder, as described below.
| F-22 |
The Company will provide its shareholders with the opportunity to redeem all or a portion of their Public Shares upon the completion of a Business Combination either (i) in connection with a shareholder meeting called to approve the Business Combination or (ii) by means of a tender offer. The decision as to whether the Company will seek shareholder approval of a Business Combination or conduct a tender offer will be made by the Company, solely in its discretion. The shareholders will be entitled to redeem their Public Shares for a pro rata portion of the amount then on deposit in the Trust Account (initially $10.05 per share, plus any pro rata interest earned on the funds held in the Trust Account and not previously released to the Company to pay its tax obligations). The per-share amount to be distributed to shareholders who redeem their shares will not be reduced by the deferred underwriting commissions the Company will pay to the underwriters (as discussed in Note 7). The ordinary shares subject to redemption will be recorded at a redemption value and classified as temporary equity upon the completion of the Initial Public Offering, in accordance with Accounting Standards Codification (“ASC”) Topic 480 “Distinguishing Liabilities from Equity.”
The Company will proceed with a Business Combination if the Company has net tangible assets of at least $5,000,001 either immediately prior to or upon such consummation of a Business Combination, or otherwise we are exempt from the provisions of Rule 419 promulgated under the Securities Act (so that we are not subject to the SEC’s “penny stock” rules), and, if the Company seeks shareholder approval, a majority of the outstanding shares voted are voted in favor of the Business Combination. If a shareholder vote is not required and the Company does not decide to hold a shareholder vote for business or other legal reasons, the Company will, pursuant to its Memorandum and Articles of Association, offer such redemption pursuant to the tender offer rules of the Securities and Exchange Commission (“SEC”), and file tender offer documents containing substantially the same information as would be included in a proxy statement with the SEC prior to completing a Business Combination.
The Company’s initial shareholders (the “initial shareholders”) have agreed (a) to vote their founder shares, the ordinary shares included in the Private Placement Units (the “Private Placement Shares”) and any Public Shares purchased during or after the Initial Public Offering in favor of a Business Combination, (b) not to propose, or vote in favor of, an amendment to the Company’s Memorandum and Articles of Association that would stop the public shareholders from converting or selling their shares to the Company in connection with a Business Combination or affect the substance or timing of the Company’s obligation to redeem 100% of the Public Shares if the Company does not complete a Business Combination within the Combination Period (as defined below) unless the Company provides public shareholders with the opportunity to redeem their Public Shares for cash from the Trust Account in connection with any such vote; (c) not to redeem any founder shares and Private Placement Shares as well as any Public Shares purchased during or after the Initial Public Offering for cash from the Trust Account in connection with a shareholder vote to approve a Business Combination (or sell any shares in a tender offer in connection with a Business Combination) or a vote to amend the provisions of the Memorandum and Articles of Association relating to shareholders’ rights of pre-Business Combination activity and (d) that the founder shares and Private Placement Shares shall not participate in any liquidating distributions upon winding up if a Business Combination is not consummated. However, the initial shareholders will be entitled to liquidating distributions from the Trust Account with respect to any Public Shares purchased during or after the Initial Public Offering if the Company fails to complete its Business Combination. The Company will have until January 14, 2026 initially to consummate a Business Combination.
If the Company is unable to complete a Business Combination within the Combination Period, the Company will (i) cease all operations except for the purpose of winding up, (ii) as promptly as reasonably possible but no more than ten business days thereafter, redeem 100% of the outstanding Public Shares, at a per-share price, payable in cash, equal to the aggregate amount then on deposit in the Trust Account, including interest earned (net of taxes payable), which redemption will completely extinguish public shareholders’ rights as shareholders (including the right to receive further liquidation distributions, if any), subject to applicable law, and (iii) as promptly as reasonably possible following such redemption, subject to the approval of the remaining shareholders and the Company’s board of directors, proceed to commence a voluntary liquidation and thereby a formal dissolution of the Company, subject in each case to its obligations to provide for claims of creditors and the requirements of applicable law. The underwriters have agreed to waive its rights to the deferred underwriting commission held in the Trust Account in the event the Company does not complete a Business Combination within the Combination Period and, in such event, such amounts will be included with the funds held in the Trust Account that will be available to fund the redemption of the Public Shares. In the event of such distribution, it is possible that the per share value of the assets remaining available for distribution will be less than $10.05.
| F-23 |
The Sponsor has agreed that it will be liable to the Company, if and to the extent any claims by a vendor for services rendered or products sold to the Company, or a prospective target business with which the Company has discussed entering into a transaction agreement, reduce the amounts in the Trust Account to below $10.05 per share (whether or not the underwriters’ over-allotment option is exercised in full), except as to any claims by a third party who executed a waiver of any and all rights to seek access to the Trust Account and except as to any claims under the Company’s indemnity of the underwriters of the Initial Public Offering against certain liabilities, including liabilities under the Securities Act of 1933, as amended (the “Securities Act”). In the event that an executed waiver is deemed to be unenforceable against a third party, the sponsor will not be responsible to the extent of any liability for such third party claims. The Company will seek to reduce the possibility that the sponsor will have to indemnify the Trust Account due to claims of creditors by endeavoring to have all vendors, service providers, prospective target businesses or other entities with which the Company does business, execute agreements with the Company waiving any right, title, interest or claim of any kind in or to monies held in the Trust Account.
On January 27, 2025, the Company, Xpand Boom Technology Inc., a Cayman Islands exempted company and a wholly-owned subsidiary of the Company (“Purchaser”), Xpand Boom Solutions Inc., a Cayman Islands exempted company and a wholly-owned subsidiary of Purchaser (“Merger Sub,” together with RDAC, Purchaser, the “Purchaser Parties”), HZJL Cayman Limited, a Cayman Islands exempted company (“HZJL”), certain shareholder of HZJL (“Principal Shareholder”), and Mr. Bin Xiong, as representative of the Principal Shareholder of HZJL, entered into a Merger Agreement (the “Agreement”).
Upon the closing of the transactions contemplated by the Agreement, the Company will merge with and into Purchaser, resulting in all the Company’s shareholders becoming shareholders of the Purchaser. Concurrently therewith, Merger Sub will merge with and into HZJL, resulting in Purchaser acquiring 100% of the issued and outstanding equity securities of HZJL (the “Acquisition Merger”). Upon the closing of the Acquisition Merger, the ordinary shares of Purchaser issued shall be reclassified into class A ordinary shares (“Purchaser Class A Ordinary Shares”) and class B ordinary shares (“Purchaser Class B Ordinary Shares,” together with Purchaser Class A Ordinary Shares, “Purchaser Ordinary Shares”) where each Purchaser Class A Ordinary Share shall be entitled to one (1) vote on all matters subject to a vote at general and special meetings of the post-closing company and each Purchaser Class B Ordinary Share shall be entitled to 10 votes on all matters subject to a vote at general and special meetings of the post-closing company.
The aggregate consideration to be paid to HZJL shareholders for the Acquisition Merger is $350 million, payable in newly issued Purchaser Ordinary Shares (the “Closing Payment Shares”), valued at $10.00 per share.
Going Concern Consideration
As of December 31, 2024, the Company had cash of $392,679 and a working capital of $433,179. Subsequent to the consummation of the IPO, the Company’s liquidity has been satisfied through the net proceeds from the IPO and the Private Placement. The Company has incurred and expects to continue to incur significant professional costs to remain as a publicly traded company and to incur significant transaction costs in pursuit of the consummation of a Business Combination.
The Company will have until 15 months (or up to 21 months from the closing of the Initial Public Offering if the Company extends the period of time to consummate a Business Combination by the full amount of time, as described in more detail in the Final Prospectus from the closing of the Initial Public Offering) to consummate a Business Combination. If the Company does not complete a Business Combination within the Combination Period, the Company will (i) cease all operations except for the purpose of winding up, (ii) as promptly as reasonably possible but no more than ten business days thereafter, redeem 100% of the outstanding Public Shares, at a per-share price, payable in cash, equal to the aggregate amount then on deposit in the Trust Account, including interest earned (net of taxes payable), which redemption will completely extinguish public shareholders’ rights as shareholders (including the right to receive further liquidation distributions, if any), subject to applicable law, and (iii) as promptly as reasonably possible following such redemption, subject to the approval of the remaining shareholders and the Company’s board of directors, proceed to commence a voluntary liquidation and thereby a formal dissolution of the Company, subject in each case to its obligations to provide for claims of creditors and the requirements of applicable law. There is a possibility that a business combination might not happen within the 15-month (or 21-month if extended as described in the Final Prospectus) period from the date of the auditors’ report.
In connection with the Company’s assessment of going concern considerations in accordance with Accounting Standards Update (“ASU”) 2014-15, “Disclosures of Uncertainties about an Entity’s Ability to Continue as a Going Concern,” management has determined that if the Company is unsuccessful in consummating an initial business combination within the prescribed period of time from the closing of the IPO, the requirement that the Company cease all operations, redeem the public shares and thereafter liquidate and dissolve raises substantial doubt about the ability to continue as a going concern. The financial statements do not include any adjustments that might result from the outcome of this uncertainty.
NOTE 2 – SUMMARY OF SIGNIFICANT ACCOUNTING POLICIES
| ● | Basis of presentation |
The accompanying financial statements are presented using the accrual basis of accounting in accordance with accounting principles generally accepted in the United States of America (“U.S. GAAP”) and pursuant to the rules and regulations of the SEC.
| F-24 |
| ● | Emerging growth company |
The Company is an “emerging growth company,” as defined in Section 2(a) of the Securities Act, as modified by the Jumpstart Our Business Startups Act of 2012 (the “JOBS Act”), and it may take advantage of certain exemptions from various reporting requirements that are applicable to other public companies that are not emerging growth companies including, but not limited to, not being required to comply with the independent registered public accounting firm attestation requirements of Section 404 of the Sarbanes-Oxley Act, reduced disclosure obligations regarding executive compensation in its periodic reports and proxy statements, and exemptions from the requirements of holding a nonbinding advisory vote on executive compensation and shareholder approval of any golden parachute payments not previously approved.
Further, Section 102(b)(1) of the JOBS Act exempts emerging growth companies from being required to comply with new or revised financial accounting standards until private companies (that is, those that have not had a Securities Act registration statement declared effective or do not have a class of securities registered under the Exchange Act) are required to comply with the new or revised financial accounting standards. The JOBS Act provides that a company can elect to opt out of the extended transition period and comply with the requirements that apply to non-emerging growth companies but any such election to opt out is irrevocable. The Company has elected not to opt out of such extended transition period which means that when a standard is issued or revised and it has different application dates for public or private companies, the Company, as an emerging growth company, can adopt the new or revised standard at the time private companies adopt the new or revised standard. This may make comparison of the Company’s financial statements with another public company which is neither an emerging growth company nor an emerging growth company which has opted out of using the extended transition period difficult or impossible because of the potential differences in accounting standards used.
| ● | Use of estimates |
In preparing these financial statements in conformity with U.S. GAAP, management makes estimates and assumptions that affect the reported amounts of assets and liabilities and disclosure of contingent assets and liabilities at the date of the audited financial statements and the reported expenses during the reporting period.
Making estimates requires management to exercise significant judgment. It is at least reasonably possible that the estimate of the effect of a condition, situation or set of circumstances that existed at the date of the financial statements, which management considered in formulating its estimate, could change in the near term due to one or more future confirming events. Accordingly, actual results may differ from these estimates.
| ● | Cash and cash equivalents |
The Company considers all short-term investments with an original maturity of three months or less when purchased to be cash equivalents. The company had $392,679 in cash as of December 31, 2024. The Company did not have any cash equivalents as of December 31, 2024.
| ● | Concentration of credit risk |
Financial instruments that potentially subject the Company to concentrations of credit risk consist of a cash account in a financial institution, which, at times, may exceed the Federal Depository Insurance Coverage of $250,000. The Company has not experienced losses on this account.
| ● | Deferred offering costs |
Deferred offering costs consist of underwriting, legal and other expenses incurred through the balance sheet date that are directly related to the Initial Public Offering and were charged to shareholders’ equity upon the completion of the Initial Public Offering.
| ● | Income taxes |
Income taxes are determined in accordance with the provisions of ASC Topic 740, “Income Taxes” (“ASC 740”). Under this method, deferred tax assets and liabilities are recognized for the future tax consequences attributable to differences between the financial statement carrying amounts of existing assets and liabilities and their respective tax basis. Deferred tax assets and liabilities are measured using enacted income tax rates expected to apply to taxable income in the years in which those temporary differences are expected to be recovered or settled. Any effect on deferred tax assets and liabilities of a change in tax rates is recognized in income in the period that includes the enactment date.
ASC 740 prescribes a comprehensive model for how companies should recognize, measure, present, and disclose in their financial statements uncertain tax positions taken or expected to be taken on a tax return. Under ASC 740, tax positions must initially be recognized in the financial statements when it is more likely than not the position will be sustained upon examination by the tax authorities. The Company’s management determined that the Cayman Islands is the Company’s major tax jurisdiction. The Company recognizes accrued interest and penalties related to unrecognized tax benefits, if any, as income tax expense. There were no unrecognized tax benefits and no amounts accrued for interest and penalties as of December 31, 2024. The Company is currently not aware of any issues under review that could result in significant payments, accruals or material deviation from its position.
The Company may be subject to potential examination by foreign taxing authorities in the area of income taxes. These potential examinations may include questioning the timing and amount of deductions, the nexus of income among various tax jurisdictions and compliance with foreign tax laws. The Company’s management does not expect that the total amount of unrecognized tax benefits will materially change over the next twelve months.
The Company is considered to be an exempted Cayman Islands company with no connection to any other taxable jurisdiction and is presently not subject to income taxes or income tax filing requirements in the Cayman Islands or the United States. As such, the Company’s tax provision was zero for the periods presented.
| F-25 |
| ● | Ordinary share subject to possible redemption |
The Company accounts for its ordinary shares subject to possible redemption in accordance with the guidance in ASC 480. Ordinary shares subject to mandatory redemption (if any) is classified as a liability instrument and is measured at fair value. Conditionally redeemable ordinary shares (including ordinary shares that feature redemption rights that are either within the control of the holder or subject to redemption upon the occurrence of uncertain events not solely within the Company’s control) are classified as temporary equity. At all other times, ordinary shares are classified as shareholders’ equity. The Company’s ordinary shares feature certain redemption rights that are subject to the occurrence of uncertain future events and considered to be outside of the Company’s control. Accordingly, as of December 31, 2024, 5,750,000 ordinary shares subject to possible redemption, are presented as temporary equity, outside of the shareholders’ equity section of the Company’s balance sheets.
| ● | Rights accounting |
Rights — Except in cases where the Company is not the surviving company in a Business Combination, each holder of a right will automatically receive one-tenth (1/10) of one ordinary share upon consummation of a Business Combination, even if the holder of a right redeemed all shares held by him, her or it in connection with a Business Combination or an amendment to the Company’s Amended and Restated Memorandum and Articles of Association with respect to its pre-business combination activities. In the event that the Company will not be the surviving company upon completion of a Business Combination, each holder of a right will be required to affirmatively redeem his, her or its rights in order to receive the one-tenth (1/10) of a share underlying each right upon consummation of the Business Combination. No additional consideration will be required to be paid by a holder of Public Rights in order to receive his, her or its additional ordinary shares upon consummation of a Business Combination. The shares issuable upon exchange of the rights will be freely tradable (except to the extent held by affiliates of the Company). If the Company enters into a definitive agreement for a Business Combination in which the Company will not be the surviving entity, the definitive agreement will provide for the holders of rights to receive the same per share consideration the holders of the ordinary shares will receive in the transaction on an as-converted into ordinary share basis.
The Company will not issue fractional shares in connection with an exchange of rights. Fractional shares will either be rounded down to the nearest whole share or otherwise addressed in accordance with the applicable provisions of the Cayman Islands law. As a result, the holders of the rights must hold rights in multiples of ten in order to receive shares for all of the holders’ rights upon closing of a Business Combination. If the Company is unable to complete a Business Combination within the Combination Period and the Company liquidates the funds held in the Trust Account, holders of rights will not receive any of such funds with respect to their rights, nor will they receive any distribution from the Company’s assets held outside of the Trust Account with respect to such rights, and the rights will expire worthless. Further, there are no contractual penalties for failure to deliver securities to the holders of the rights upon consummation of a Business Combination. Additionally, in no event will the Company be required to net cash settle the rights. Accordingly, the rights may expire worthless.
The Company accounts for rights as either equity-classified or liability-classified instruments based on an assessment of the right’s specific terms and applicable authoritative guidance in ASC 480 and ASC 815 “Derivatives and Hedging” (“ASC 815”). The assessment considers whether the rights are freestanding financial instruments pursuant to ASC 480, meet the definition of a liability pursuant to ASC 480, and whether the rights meet all of the requirements for equity classification under ASC 815, including whether the rights are indexed to the Company’s own ordinary shares and whether the right holders could potentially require “net cash settlement” in a circumstance outside of the Company’s control, among other conditions for equity classification. This assessment, which requires the use of professional judgment, is conducted at the time of right issuance and as of each subsequent quarterly period end date while the rights are outstanding.
For issued or modified rights that meet all of the criteria for equity classification, the rights are required to be recorded as a component of equity at the time of issuance. For issued or modified rights that do not meet all the criteria for equity classification, the rights are required to be recorded as liabilities at their initial fair value on the date of issuance, and each balance sheet date thereafter. Changes in the estimated fair value of the rights are recognized as a non-cash gain or loss on the audited statement of operations.
As the rights issued upon the IPO and private placements meet the criteria for equity classification under ASC 815, therefore, the rights are classified as equity.
| F-26 |
| ● | Net loss per share |
The Company calculates net income (loss) per share in accordance with ASC Topic 260, “Earnings per Share.” In order to determine the net income (loss) attributable to both the redeemable shares and non-redeemable shares, the Company first considered the undistributed income (loss) allocable to both the redeemable ordinary shares and non-redeemable ordinary shares and the undistributed income (loss) is calculated using the total net income (loss) less any dividends paid. The Company then allocated the undistributed income (loss) ratably based on the weighted average number of shares outstanding between the redeemable and non-redeemable ordinary shares. Any remeasurement of the accretion to the redemption value of the ordinary shares subject to possible redemption was considered to be dividends paid to the public stockholders. Accretion associated with the redeemable shares of ordinary share is excluded from earnings per share as the redemption value approximates fair value.
The net income (loss) per share presented in the statement of operations is based on the following:
| FOR THE PERIOD FROM MARCH 8, 2024 (INCEPTION) TO DECEMBER 31, 2024 | ||||||||
| Redeemable Ordinary Shares | Non-Redeemable Ordinary Shares | |||||||
| Basic and diluted net income (loss) per share: | ||||||||
| Numerators: | ||||||||
| Interest income earned in investments held in Trust Account | $ | 543,046 | $ | - | ||||
| Total expenses | (146,158 | ) | (139,375 | ) | ||||
| Total allocation to redeemable and non-redeemable ordinary shares | $ | 396,888 | $ | (139,375 | ) | |||
| Denominators: | ||||||||
| Weighted-average shares outstanding | 1,485,738 | 1,416,785 | ||||||
| Basic and diluted net income (loss) per share | $ | 0.27 | $ | (0.10 | ) | |||
| ● | Related parties |
Parties, which can be a corporation or individual, are considered to be related if the Company has the ability, directly or indirectly, to control the other party or exercise significant influence over the other party in making financial and operational decisions. Companies are also considered to be related if they are subject to common control or common significant influence.
| ● | Fair value of financial instruments |
The fair value of the Company’s assets and liabilities, which qualify as financial instruments under ASC Topic 820, “Fair Value Measurement,” approximates the carrying amounts represented in the accompanying audited balance sheets, primarily due to their short-term nature.
The Company applies ASC 820, which establishes a framework for measuring fair value and clarifies the definition of fair value within that framework. ASC 820 defines fair value as an exit price, which is the price that would be received for an asset or paid to transfer a liability in the Company’s principal or most advantageous market in an orderly transaction between market participants on the measurement date. The fair value hierarchy established in ASC 820 generally requires an entity to maximize the use of observable inputs and minimize the use of unobservable inputs when measuring fair value. Observable inputs reflect the assumptions that market participants would use in pricing the asset or liability and are developed based on market data obtained from sources independent of the reporting entity. Unobservable inputs reflect the entity’s own assumptions based on market data and the entity’s judgments about the assumptions that market participants would use in pricing the asset or liability and are to be developed based on the best information available in the circumstances.
| Level 1: | Assets and liabilities with unadjusted, quoted prices listed on active market exchanges. Inputs to the fair value measurement are observable inputs, such as quoted prices in active markets for identical assets or liabilities. | |
| Level 2: | Inputs to the fair value measurement are determined using prices for recently traded assets and liabilities with similar underlying terms, as well as direct or indirect observable inputs, such as interest rates and yield curves that are observable at commonly quoted intervals. | |
| Level 3: | Inputs to the fair value measurement are unobservable inputs, such as estimates, assumptions, and valuation techniques when little or no market data exists for the assets or liabilities. |
The following table presents information about the Company’s assets and liabilities that were measured at fair value on a recurring basis as of December 31, 2024, and indicates the fair value hierarchy of the valuation techniques the Company utilized to determine such fair value.
| December 31, | Quoted Prices In Active Markets | Significant Other Observable Inputs | Significant Other Unobservable Inputs | |||||||||||||
| Description | 2024 | (Level 1) | (Level 2) | (Level 3) | ||||||||||||
| Assets: | ||||||||||||||||
| Cash held in Trust Account | $ | 58,330,546 | $ | 58,330,546 | $ | - | $ | - | ||||||||
| F-27 |
| ● | Recent accounting pronouncements |
In August 2020, the Financial Accounting Standards Board (“FASB”) issued ASU 2020-06, Debt-Debt with Conversion and Other Options (Subtopic 470-20) and Derivatives and Hedging-Contracts in Entity’s Own Equity (Subtopic 815-40): Accounting for Convertible Instruments and Contracts in an Entity’s Own Equity (“ASU 2020-06”), which simplifies accounting for convertible instruments by removing major separation models required under current GAAP. The ASU also removes certain settlement conditions that are required for equity-linked contracts to qualify for scope exception, and it simplifies the diluted earnings per share calculation in certain areas. ASU 2020-06 is effective January 1, 2024 and should be applied on a full or modified retrospective basis, with early adoption permitted beginning on January 1, 2021. The Company’s management does not believe the adoption of ASU 2020-06 will have a material impact on its financial statements and disclosures.
In December 2023, the FASB issued ASU 2023-09, Income Taxes (Topic 740): Improvements to Income Tax Disclosures (ASU 2023-09), which requires disclosure of incremental income tax information within the rate reconciliation and expanded disclosures of income taxes paid, among other disclosure requirements. ASU 2023-09 is effective for fiscal years beginning after December 15, 2024. Early adoption is permitted. The Company’s management does not believe the adoption of ASU 2023-09 will have a material impact on its financial statements and disclosures.
Management does not believe that any other recently issued, but not yet effective, accounting pronouncements, if currently adopted, would have a material effect on the Company’s financial statements.
NOTE 3 – INITIAL PUBLIC OFFERING
On October 15, 2024, the Company sold 5,750,000 Public Units, which includes 750,000 Public Units upon the full exercise by the underwriter of its over-allotment option, at a purchase price of $10.00 per Public Unit.
Each Unit consists of one ordinary share and one Public Right. Each whole Public Right entitles the holder to receive one-tenth (1/10) ordinary share upon consummation of initial business combination.
All of the 5,750,000 public shares sold as part of the Public Units in the Initial Public Offering contain a redemption feature which allows for the redemption of such public shares if there is a shareholder vote or tender offer in connection with the Business Combination and in connection with certain amendments to the Company’s Amended and Restated Memorandum and Articles of Association, or in connection with the Company’s liquidation.
In accordance with the SEC and its staff’s guidance on redeemable equity instruments, which has been codified in ASC 480-10-S99, redemption provisions not solely within the control of the Company require ordinary shares subject to redemption to be classified outside of permanent equity. If it is probable that the equity instrument will become redeemable, the Company has the option to either accrete changes in the redemption value over the period from the date of issuance (or from the date that it becomes probable that the instrument will become redeemable, if later) to the earliest redemption date of the instrument or to recognize changes in the redemption value immediately as they occur and adjust the carrying amount of the instrument to equal the redemption value at the end of each reporting period. The Company has elected to recognize the changes immediately. The accretion or remeasurement is treated as a deemed dividend (i.e., a reduction to retained earnings, or in absence of retained earnings, additional paid-in capital).
| F-28 |
NOTE 4 – PRIVATE PLACEMENT
Simultaneously with the closing of the Initial Public Offering, the Company consummated a private placement of 254,375 Private Placement Units, at a price of $10.00 per Private Placement Unit. Each Private Placement Unit consists of one Private Placement Share and one Private Placement Right. Each Private Placement Right entitles the holder to receive one-tenth (1/10) of one ordinary share upon consummation of the initial business combination.
The Private Placement Units are identical to the Public Units sold in the Initial Public Offering except for certain registration rights and transfer restrictions.
NOTE 5 – RELATED PARTY TRANSACTIONS
Founder Shares
On March 8, 2024, the Company issued 1 founder share at par value of $0.0001 and surrendered such share on March 29, 2024. On March 29, 2024, the Company authorized to issue an aggregate of 1,437,500 founder shares at par value of $0.0001 to the initial shareholder, including an aggregate of 187,500 ordinary shares subject to forfeiture by the sponsor to the extent that the underwriters’ over-allotment option is not exercised in full or in part, so that the initial shareholder will collectively own 20% of the issued and outstanding shares after the Initial Public Offering (excluding the sale of the Private Units and assuming the initial shareholder does not purchase any Units in the Initial Public Offering) (see Note 6) for an aggregate purchase price of $25,000. On October 10, 2024, the underwriters exercised the over-allotment option in full, so those 187,500 founder shares are no longer subject to forfeiture.
Private Placement
On October 15, 2024, the Company consummated the sale of 254,375 Private Placement Units at a price of $10.00 per Private Placement Unit in a private placement to the Sponsor, generating gross proceeds of $2,543,750 to the Company.
Promissory Note — Related Party
On March 29, 2024, the Company issued an unsecured promissory note to the sponsor, pursuant to which the Company may borrow up to an aggregate principal amount of $300,000 (the “Promissory Note”). The Promissory Note is non-interest bearing and payable on the earlier of (i) December 31, 2024, (ii) the consummation of the Initial Public Offering or (iii) the abandonment of the Initial Public Offering.
As of December 31, 2024, the Company fully repaid $249,831 to the Sponsor which are included in the amounts that will be due under the promissory note in the principal amount of up to $300,000 issued to the Sponsor.
NOTE 6 – SHAREHOLDER’S DEFICIT
Preference Shares
The Company is authorized to issue 500,000 ordinary shares, at par value of $0.0001. As of December 31, 2024, no Preference Shares were issued and outstanding.
| F-29 |
Ordinary shares
The Company is authorized to issue 55,000,000 ordinary shares, at par value of $0.0001. Holders of the Company’s ordinary shares are entitled to one vote for each share.
As of December 31, 2024, there were 1,749,375 ordinary shares issued and outstanding and excluding 5,750,000 ordinary shares subject to possible redemption.
Rights
Each holder of a right will receive one-tenth (1/10) ordinary share upon consummation of a Business Combination, even if the holder of such right redeemed all shares held by it in connection with a Business Combination. No fractional shares will be issued upon exchange of the rights. No additional consideration will be required to be paid by a holder of rights in order to receive its additional shares upon consummation of a Business Combination as the consideration related thereto has been included in the Unit purchase price paid for by investors in the Initial Public Offering. If the Company enters into a definitive agreement for a Business Combination in which the Company will not be the surviving entity, the definitive agreement will provide for the holders of rights to receive the same per share consideration the holders of the ordinary shares will receive in the transaction on an as-converted into ordinary share basis and each holder of a right will be required to affirmatively convert its rights in order to receive 1/10 share underlying each right (without paying additional consideration). The shares issuable upon exchange of the rights will be freely tradable (except to the extent held by affiliates of the Company).
NOTE 7 – COMMITMENTS AND CONTINGENCIES
Registration Rights
The holders of the founder shares, Private Placement Units sold in a private placement (and their underlying securities) and any Units that may be issued upon conversion of the working capital loans (and underlying securities) will be entitled to registration rights pursuant to a registration rights agreement to be signed prior to or on the effective date of the Initial Public Offering requiring the Company to register such securities for resale. The holders of these securities are entitled to make up to three demands, excluding short form demands, that the Company register such securities. In addition, the holders have certain “piggy-back” registration rights with respect to registration statements filed subsequent to the completion of a Business Combination and rights to require the Company to register for resale such securities pursuant to Rule 415 under the Securities Act. The Company will bear the expenses incurred in connection with the filing of any such registration statements.
Underwriting Agreement
The Company granted the underwriters a 45-day option to purchase up to 750,000 Units (over and above 5,000,000 Units referred to above) solely to cover over-allotments at the Initial Public Offering price, less the underwriting discounts and commissions. On October 15, 2024, the underwriters fully exercised the over-allotment option to purchase 750,000 Public Units, generating gross proceeds to the Company of $7,500,000.
The underwriters are entitled to a cash underwriting discount of 1.75% of the gross proceeds of the Initial Public Offering, and the balance of remaining gross proceeds in the Trust Account, $1,868,750 will be paid in cash upon the closing of the Business Combination.
| F-30 |
Representative Shares
The Company issued 57,500 representative shares to the underwriters as part of the underwriting compensation. The representative shares have been deemed compensation by FINRA and are therefore subject to a lock-up for a period of 180 days immediately following the date of the commencement of sales in the IPO pursuant to FINRA Rule 5110(e)(1). Pursuant to FINRA Rule 5110(e)(1), these securities will not be the subject of any hedging, short sale, derivative, put or call transaction that would result in the economic disposition of the securities by any person for a period of 180 days immediately following the date of the commencement of sales in the IPO, nor may they be sold, transferred, assigned, pledged or hypothecated for a period of 180 days immediately following the date of the commencement of sales in the IPO except to any underwriter and selected dealer participating in the offering and their officers, partners, registered persons or affiliates.
NOTE 8 – SUBSEQUENT EVENTS
The Company evaluated subsequent events and transactions that occurred after the balance sheet date up to the date that the audited financial statements were available to be issued. Other than as described in these audited financial statements, the Company did not identify any subsequent events that would have required adjustment or disclosure in the audited financial statements, other that as noted below.
On January 27, 2025, the company, Xpand Boom Technology Inc., a Cayman Islands exempted company and a wholly-owned subsidiary of RDAC (“Purchaser”), Xpand Boom Solutions Inc., a Cayman Islands exempted company and a wholly-owned subsidiary of Purchaser (“Merger Sub,” together with RDAC, Purchaser, the “Purchaser Parties”), HZJL Cayman Limited, a Cayman Islands exempted company (“HZJL”), certain shareholder of HZJL (“Principal Shareholder”), and Mr. Bin Xiong, as representative of the Principal Shareholder of HZJL, entered into a Merger Agreement (the “Agreement”). The aggregate consideration to be paid to HZJL shareholders for the Acquisition Merger is $350 million, payable in newly issued Purchaser Ordinary Shares (the “Closing Payment Shares”), valued at $10.00 per share.
| F-31 |
REPORT OF INDEPENDENT REGISTERED PUBLIC ACCOUNTING FIRM
To
the Board of Directors and Shareholders of
HZJL Cayman Limited
Opinion on the Financial Statements
We have audited the accompanying combined balance sheets of HZJL Cayman Limited and its subsidiaries (the “Company”) as of June 30, 2024 and 2023, and the related combined statements of operations and comprehensive income (loss), changes in shareholders’ equity (deficit), and cash flows for each of the fiscal years ended June 30, 2024 and 2023 and the related notes (collectively referred to as the “Combined financial statements”). In our opinion, the combined financial statements present fairly, in all material respects, the financial position of the Company as of June 30, 2024 and 2023, and the results of its operations and its cash flows for each of the fiscal years ended June 30, 2024 and 2023, in conformity with accounting principles generally accepted in the United States of America (“U.S. GAAP”)
Basis for Opinion
These combined financial statements are the responsibility of the Company’s management. Our responsibility is to express an opinion on the Company’s combined financial statements based on our audits. We are a public accounting firm registered with the Public Company Accounting Oversight Board (United States) (“PCAOB”) and are required to be independent with respect to the Company in accordance with the U.S. federal securities laws and the applicable rules and regulations of the Securities and Exchange Commission and the PCAOB.
We conducted our audits in accordance with the standards of the PCAOB. Those standards require that we plan and perform the audits to obtain reasonable assurance about whether the combined financial statements are free of material misstatement, whether due to error or fraud. The Company is not required to have, nor were we engaged to perform, an audit of its internal control over financial reporting. As part of our audits, we are required to obtain an understanding of internal control over financial reporting, but not for the purpose of expressing an opinion on the effectiveness of the Company’s internal control over financial reporting. Accordingly, we express no such opinion.
Our audits included performing procedures to assess the risks of material misstatement of the combined financial statements, whether due to error or fraud, and performing procedures that respond to those risks. Such procedures included examining, on a test basis, evidence regarding the amounts and disclosures in the combined financial statements. Our audits also included evaluating the accounting principles used and significant estimates made by management, as well as evaluating the overall presentation of the combined financial statements. We believe that our audits provide a reasonable basis for our opinion.
/s/ Enrome LLP
We have served as the Company’s auditor since 2024
Singapore
March 21, 2025
| F-32 |
HZJL
Cayman Limited
Combined Balance Sheets
As of June 30, 2024 and 2023
(Expressed in U.S. dollar)
| June 30, 2024 | June 30, 2023 | |||||||
| ASSETS | ||||||||
| Current Assets: | ||||||||
| Cash and cash equivalents | $ | 116,126 | $ | 25,649 | ||||
| Restricted cash | 8,636 | 23,574 | ||||||
| Accounts receivable | 4,186,563 | 12,860,906 | ||||||
| Prepayments | 2,176,616 | 2,262,229 | ||||||
| Due from related parties | 7,867,116 | 5,832,064 | ||||||
| Loans receivable | 1,121,675 | — | ||||||
| Other current assets | 501,737 | 169,350 | ||||||
| Total current assets | 15,978,469 | 21,173,772 | ||||||
| Non-current assets: | ||||||||
| Long-term investments | 50,981 | 52,565 | ||||||
| Right of use assets | — | 433,747 | ||||||
| Deferred tax assets | 51,724 | 148,259 | ||||||
| Total non-current assets | 102,705 | 634,571 | ||||||
| TOTAL ASSETS | $ | 16,081,174 | $ | 21,808,343 | ||||
| LIABILITIES AND EQUITY (DEFICIT) | ||||||||
| LIABILITIES | ||||||||
| Current liabilities | ||||||||
| Short-term borrowings | $ | 2,999,780 | $ | 1,792,782 | ||||
| Accounts payable | 1,813,921 | 1,659,929 | ||||||
| Contract liabilities | 187,894 | 1,017,427 | ||||||
| Income taxes payable | 482,029 | — | ||||||
| Due to related parties | 2,487,845 | 18,882,668 | ||||||
| Lease liabilities | — | 245,504 | ||||||
| Other current liabilities | 1,044,598 | 1,005,178 | ||||||
| Loans payable | 1,517,186 | 1,609,865 | ||||||
| Total current liability | 10,533,253 | 26,213,353 | ||||||
| TOTAL LIABILITIES | 10,533,253 | 26,213,353 | ||||||
| EQUITY (DEFICIT): | ||||||||
| Ordinary shares (par value $0.0001 per share, 500,000,000 shares authorized, 50,0000,000 and 50,0000,000 shares issued and outstanding as of June 30, 2024 and 2023, respectively)* | 5,000 | 5,000 | ||||||
| Additional paid-in capital | 9,289,334 | 408,529 | ||||||
| Accumulated deficits | (3,830,999 | ) | (5,146,096 | ) | ||||
| Accumulated other comprehensive loss | 310,610 | 360,535 | ||||||
| TOTAL HZJL CAYMAN LIMITED SHAREHOLDERS’ EQUITY (DEFICIT) | 5,773,945 | (4,372,032 | ) | |||||
| Non-controlling interest | (226,024 | ) | (32,978 | ) | ||||
| TOTAL LIABILITIES AND EQUITY (DEFICIT) | $ | 16,081,174 | $ | 21,808,343 | ||||
* The share information is presented on a retroactive basis to reflect the reorganization effected on December 31, 2024 (Note 1).
The accompanying notes are an integral part of these combined financial statements.
| F-33 |
HZJL
Cayman Limited
Combined Statements of Operations and Comprehensive Income (Loss)
For the Fiscal years Ended June 30, 2024 and 2023
(Expressed in U.S. dollar, except for share and per share data, unless otherwise noted)
| For the years ended June 30, | ||||||||
| 2024 | 2023 | |||||||
| Revenues from third parties | $ | 11,463,427 | $ | 21,759,285 | ||||
| Revenues from related parties | 1,153,077 | — | ||||||
| Revenues | 12,616,504 | 21,759,285 | ||||||
| Cost of revenues | (8,771,098 | ) | (20,731,636 | ) | ||||
| Gross profit | 3,845,406 | 1,027,649 | ||||||
| Operating expenses: | ||||||||
| Selling and marketing expenses | (1,761,012 | ) | (1,265,914 | ) | ||||
| General and administrative expenses | (459,137 | ) | (2,714,478 | ) | ||||
| Total operating expenses | (2,220,149 | ) | (3,980,392 | ) | ||||
| Income (loss) from operations | 1,625,257 | (2,952,743 | ) | |||||
| Other income (expenses): | ||||||||
| Interest expenses, net | (107,958 | ) | (34,669 | ) | ||||
| Other income, net | 185,179 | 120,948 | ||||||
| Total other income, net | 77,221 | 86,279 | ||||||
| Income (loss) before income taxes | 1,702,478 | (2,866,464 | ) | |||||
| Income tax (expense) benefits | (581,633 | ) | 128,389 | |||||
| Net income (loss) | 1,120,845 | (2,738,075 | ) | |||||
| Less: Net loss attributable to non-controlling interest | (194,252 | ) | (36,797 | ) | ||||
| Net income (loss) attributable to HZJL Cayman Limited’s shareholders | $ | 1,315,097 | $ | (2,701,278 | ) | |||
| Comprehensive income (loss) | ||||||||
| Net income (loss) | $ | 1,120,845 | (2,738,075 | ) | ||||
| Other comprehensive (loss) income | ||||||||
| Foreign currency translation adjustments | (48,719 | ) | 258,912 | |||||
| Comprehensive income (loss) | 1,072,126 | $ | (2,479,163 | ) | ||||
| Less: Comprehensive loss attributable to non-controlling interest | (193,046 | ) | (35,477 | ) | ||||
| Comprehensive income (loss) attributable to HZJL Cayman Limited’s shareholders | $ | 1,265,172 | $ | (2,443,686 | ) | |||
| Earnings (loss) per share* | ||||||||
| Basic and diluted | $ | 0.03 | $ | (0.05 | ) | |||
| Weighted average ordinary shares outstanding* | ||||||||
| Basic and diluted | 50,000,000 | 50,000,000 | ||||||
* The share information is presented on a retroactive basis to reflect the reorganization effected on December 31, 2024 (Note 1).
The accompanying notes are an integral part of these combined financial statements.
| F-34 |
HZJL
Cayman Limited
Combined Statements of Changes in Shareholders’ Equity (Deficit)
For the Fiscal years Ended June 30, 2024 and 2023
(Expressed in U.S. dollar, except for share and per share data, unless otherwise noted)
Attributable to HZJL Cayman Limited’s Shareholders | ||||||||||||||||||||||||||||
Ordinary Shares* | Additional | Retained Earnings | Accumulated other | Non | ||||||||||||||||||||||||
Number of | Amount | paid-in | (Accumulated | comprehensive | controlling | Total | ||||||||||||||||||||||
| Balance as of June 30, 2022 | 50,000,000 | $ | 5,000 | $ | 408,529 | $ | (2,444,818 | ) | $ | 102,943 | $ | 2,499 | $ | (1,925,847 | ) | |||||||||||||
| Net loss | — | — | — | (2,701,278 | ) | — | (36,797 | ) | (2,738,075 | ) | ||||||||||||||||||
| Foreign currency translation adjustment | — | — | — | — | 257,592 | 1,320 | 258,912 | |||||||||||||||||||||
| Balance as of June 30, 2023 | 50,000,000 | $ | 5,000 | $ | 408,529 | $ | (5,146,096 | ) | $ | 360,535 | $ | (32,978 | ) | $ | (4,405,010 | ) | ||||||||||||
| Deemed capital contribution from a shareholder for waive of other payables | — | — | 8,880,805 | — | — | — | 8,880,805 | |||||||||||||||||||||
| Net income (loss) | — | — | — | 1,315,097 | — | (194,252 | ) | 1,120,845 | ||||||||||||||||||||
| Foreign currency translation adjustment | — | — | — | — | (49,925 | ) | 1,206 | (48,719 | ) | |||||||||||||||||||
| Balance as of June 30, 2024 | 50,000,000 | $ | 5,000 | $ | 9,289,334 | $ | (3,830,999 | ) | $ | 310,610 | $ | (226,024 | ) | $ | 5,547,921 | |||||||||||||
* The share information is presented on a retroactive basis to reflect the reorganization effected on December 31, 2024 (Note 1).
The accompanying notes are an integral part of these combined financial statements.
| F-35 |
HZJL
Cayman Limited
Combined Statements of Cash Flows
For the Fiscal years Ended June 30, 2024 and 2023
(Expressed in U.S. dollar)
| For the Fiscal years Ended June 30, | ||||||||
| 2024 | 2023 | |||||||
| Cash flows from operating activities | ||||||||
| Net income (loss) | $ | 1,120,845 | $ | (2,738,075 | ) | |||
| Adjustments to reconcile net income (loss) to net cash provided by (used in) operating activities | ||||||||
| Amortization of right of use assets | 401,782 | 76,576 | ||||||
| Share of equity loss (income) | 1,477 | (31,263 | ) | |||||
| (Reversal) of provision for credit losses | (514,063 | ) | 94,702 | |||||
| Deferred tax expenses (benefits) | 96,775 | (128,389 | ) | |||||
| Changes in operating assets and liabilities: | ||||||||
| Accounts receivable | 9,211,010 | (7,903,670 | ) | |||||
| Prepayments | 81,137 | (1,728,682 | ) | |||||
| Other current assets | (301,154 | ) | (130,651 | ) | ||||
| Accounts payable | 158,548 | 1,676,775 | ||||||
| Contract liabilities | (832,162 | ) | 725,277 | |||||
| Taxes payable | 484,858 | — | ||||||
| Lease liabilities | (246,404 | ) | (268,336 | ) | ||||
| Other current liabilities | 37,017 | 122,115 | ||||||
| Net cash provided by (used in) operating activities | 9,699,666 | (10,233,621 | ) | |||||
| Cash flows from investing activities | ||||||||
| Advances made to third parties | (1,123,413 | ) | — | |||||
| Advances made to related parties | (2,278,639 | ) | (3,043,494 | ) | ||||
| Repayments from related parties | 218,808 | 1,230,873 | ||||||
| Net cash used in investing activities | (3,183,244 | ) | (1,812,621 | ) | ||||
| Cash flows from financing activities | ||||||||
| Proceeds from short-term borrowings | 3,017,385 | 1,869,535 | ||||||
| Repayment of short-term borrowings | (1,799,358 | ) | — | |||||
| Proceeds from borrowings from third parties | 1,036,690 | 778,878 | ||||||
| Repayment of borrowings to third parties | (1,126,368 | ) | — | |||||
| Proceeds from borrowings from related parties | 4,895,744 | 18,491,944 | ||||||
| Repayment of borrowings to related parties | (12,464,422 | ) | (9,226,105 | ) | ||||
| Net cash (used in) provided by financing activities | (6,440,329 | ) | 11,914,252 | |||||
| Effect of Exchange rate on cash, cash equivalents and restricted cash | (555 | ) | (9,059 | ) | ||||
| Net change in cash, cash equivalents and restricted cash | 75,539 | (141,048 | ) | |||||
| Cash, cash equivalents and restricted cash at beginning of the year | 49,223 | 190,271 | ||||||
| Cash, cash equivalents and restricted cash at end of the year | $ | 124,762 | $ | 49,223 | ||||
| Supplemental disclosure of cash flow information: | ||||||||
| Cash paid for income taxes | $ | — | $ | — | ||||
| Cash paid for interest expenses | $ | 91,569 | $ | 31,626 | ||||
| Supplemental disclosure of non-cash financing activities: | ||||||||
| Deemed capital contribution from a shareholder for waive of other payables | $ | 8,880,805 | $ | — | ||||
Reconciliation of cash, cash equivalents and restricted cash to the consolidated balance sheets
| June 30, 2024 | June 30, 2023 | |||||||
| Cash and cash equivalents | $ | 116,126 | $ | 25,649 | ||||
| Restricted cash | 8,636 | 23,574 | ||||||
| $ | 124,762 | $ | 49,223 | |||||
The accompanying notes are an integral part of these combined financial statements.
| F-36 |
HZJL
Cayman Limited
Notes to the Combined Financial Statements
NOTE 1 — ORGANIZATION AND NATURE OF OPERATIONS
HZJL Cayman Limited (“HZJL”, or the “Company”) is a holding company incorporated on March 28, 2024, under the laws of the Cayman Islands. The Company’s wholly owned subsidiaries in the PRC commenced operations on February 14, 2022, and operate three major businesses including (i) supply of food products, (ii) provision of branding services, and (iii) provision of online software services.
The accompanying combined financial statements reflect the activities of HZJL and each of the following entities as of June 30, 2024:
| Name of Entity | Date of Incorporation | Place of Incorporation | % of Ownership | Principal Activities | ||||||||
| Parent company: | ||||||||||||
| HZJL | March 28, 2024 | Cayman Islands | Parent | Investment holding | ||||||||
| Wholly owned subsidiaries of HZJL | ||||||||||||
| JOY A Limited (“HZJL BVI”) | April 11, 2024 | British Virgin Island | 100 | % | Investment holding | |||||||
| Zhai Dada HK Limited (“HZJL HK”) | April 26, 2024 | Hong Kong | 100 | % | Investment holding | |||||||
| Huzhou Xilin Information Technology Co., Ltd. (“HZJL WFOE I”) | October 25, 2024 | PRC | 100 | % | Investment holding | |||||||
| Yangzhou Xiyue Information Technology Co., Ltd. (“HZJL WFOE II”) | December 4, 2024 | PRC | 100 | % | Investment holding | |||||||
| Hangzhou Wukong Supply Chain Management Co., Ltd. (“Hangzhou Wukong”) | February 14, 2022 | PRC | 99.67 | % | Supply of food products | |||||||
| Hangzhou Yanwei Supply Chain Management Co., Ltd. (“Hangzhou Yanwei”)* | June 4, 2021 | PRC | 100 | % | Supply of food products and provision of branding services | |||||||
| Hangzhou Zhulin Technology Co., Ltd. (“Hangzhou Zhulin”)* | January 19, 2020 | PRC | 98.18 | % | Provision of online software services | |||||||
| Huzhou Jisheng Culture Media Co., Ltd. (“Huzhou Jisheng”)** | November 25, 2021 | PRC | 69.98 | % | Provision of branding services | |||||||
* Hangzhou Yanwei is a wholly owned subsidiary of Hangzhou Wukong; and 98.18% equity interest of Hangzhou Zhulin is owned by Hangzhou Wukong.
** 69.98% equity interest of Huzhou Jisheng is owned by Hangzhou Zhulin
| F-37 |
HZJL
Cayman Limited
Notes to the Combined Financial Statements
NOTE 1 — ORGANIZATION AND NATURE OF OPERATIONS (cont.)
Reorganization
On December 31, 2024, the Company completed the reorganization of entities under common control of its existing shareholders, who collectively owned 99.67% of the equity interests of Hangzhou Wukong and its subsidiaries prior to the reorganization. HZJL BVI, HZJL HK and HZJL WFOE I and HZJL WFOE II were established as holding companies of Hangzhou Wukong and its subsidiaries, and all of these entities are under common control which results in the consolidation of Hangzhou Wukong and its subsidiaries which have been accounted for as a reorganization of entities under common control at carrying value.
The Company recognizes the net assets of Hangzhou Wukong and its subsidiaries at their historical carrying amounts in the consolidated financial statements. No new goodwill is recognized. The carrying values of Hangzhou Wukong and its subsidiaries’ net assets were added to the carrying values of the Company’s net assets.
The consolidation has been treated as a corporate restructuring (“Reorganization”) of entities under common control and thus the current capital structure has been retroactively presented in prior periods as if such structure existed at that time and in accordance with ASC 805-50-45-5, the entities under common control are presented on a combined basis for all periods to which such entities were under common control.
NOTE 2 — SIGNIFICANT ACCOUNTING POLICIES
Basis of Presentation and Principles of Consolidation
The accompanying combined financial statements have been prepared in accordance with accounting principles generally accepted in the United States of America (“U.S. GAAP”) and with the rules and regulations of the U.S. Securities Exchange Commission (“SEC”).
The combined financial statements include the financial statements of the Company and its subsidiaries. All intercompany transactions and balances among the Company and its subsidiaries have been eliminated upon consolidation. A subsidiary is an entity in which (i) the Company directly or indirectly controls more than 50% of the voting power; or (ii) the Company has the power to appoint or remove the majority of the members of the board of directors or to cast a majority of votes at the meetings of the board of directors or to govern the financial and operating activities.
Use of Estimates
The preparation of financial statements in conformity with U.S. GAAP requires management to make estimates and assumptions that affect the reported amounts of assets and liabilities, disclosures of contingent assets and liabilities on the date of the financial statements, and the reported amounts of revenue and expenses during the reporting period. Actual results could differ from those estimates. On an ongoing basis, management reviews these estimates and assumptions using the currently available information. Changes in facts and circumstances may cause the Company to revise its estimates. The Company bases its estimates on past experiences and on various other assumptions that are believed to be reasonable, the results of which form the basis for making judgments about the carrying values of assets and liabilities. Estimates are used when accounting for items and matters including, but not limited to, allowances for expected credit losses, useful lives and impairment of long-lived assets, and valuation allowance for deferred tax assets.
| F-38 |
HZJL
Cayman Limited
Notes to the Combined Financial Statements
NOTE 2 — SIGNIFICANT ACCOUNTING POLICIES (cont.)
Foreign Currency Translation
The reporting currency of the Company is U.S. dollars (“US$” or “$”) and the accompanying combined financial statements have been expressed in US$. Since the Company operates primarily in the PRC, the operating subsidiaries’ functional currency is the Chinese Yuan (“RMB”). The Company’s combined financial statements have been translated into the reporting currency US$”. Assets and liabilities of the Company are translated at the exchange rate at each reporting period end date. Equity is translated at historical rates. Income and expense accounts are translated at the average rate of exchange during the reporting period. Because cash flows are translated based on the average translation rate, amounts related to assets and liabilities reported on the statement of cash flows will not necessarily agree with changes in the corresponding balances on the balance sheet. The resulting translation adjustments are reported under other comprehensive (loss) income.
The following table outlines the currency exchange rates that were used in creating the combined financial statements in this report:
| June 30, | ||||||||
| 2024 | 2023 | |||||||
| Year-end spot rate | 7.2672 | 7.2513 | ||||||
| For the Years Ended June 30, | ||||||||
| 2024 | 2023 | |||||||
| Average rate | 7.2248 | 6.9536 | ||||||
Cash and Cash Equivalents
Cash and cash equivalents consist of cash on hand, bank deposits, as well as highly liquid investments with original maturities less than three months, which are unrestricted as to withdrawal or use. The Company maintains most of the bank accounts in the PRC. Cash balances in bank accounts in the PRC are not insured by the Federal Deposit Insurance Corporation or other programs.
Restricted cash
The restricted cash represented term deposits in the bank with original maturities more three months.
Accounts Receivable
Accounts receivable are recorded at the gross billing amount less an allowance for any uncollectible accounts due from the customers. Accounts receivable do not bear interest.
Since July 1, 2022, the Company early adopted Accounting Standards Update (“ASU”) No. 2016-13, Financial Instruments-Credit Losses (Topic 326): Measurement of Credit Losses on Financial Instruments (“ASU 2016-13”), using the modified retrospective transition method. ASU 2016-13 replaces the existing incurred loss impairment model with an expected loss methodology, which will result in more timely recognition of credit losses. Upon adoption, the Company changed the impairment model to utilize a forward-looking current expected credit losses (CECL) model in place of the incurred loss methodology for financial instruments measured at amortized cost and receivables resulting from the application of ASC 606, including contract assets. The adoption of the guidance had no impact on the allowance for credit losses for accounts receivable on June 30, 2021.
| F-39 |
HZJL
Cayman Limited
Notes to the Combined Financial Statements
NOTE 2 — SIGNIFICANT ACCOUNTING POLICIES (cont.)
The Company maintains an allowance for credit losses and records the allowance for credit losses as an offset to accounts receivable and the estimated credit losses charged to the allowance is classified as “General and administrative expenses” in the combined statements of operations and comprehensive income (loss). The Company assesses collectability by reviewing accounts receivable on aging schedules. In determining the amount of the allowance for credit losses, the Company considers historical collectability based on past due status, the age of the balances, current economic conditions, reasonable and supportable forecasts of future economic conditions, and other factors that may affect the Company’s ability to collect from customers. Delinquent account balances are written-off against the allowance for expected credit loss after management has determined that the likelihood of collection is not probable.
For the fiscal years ended June 30, 2024 and 2023, the Company reversed allowance for expected credit losses of $514,063 from accounts receivable and provided expected credit losses of $94,702 against accounts receivable, respectively.
Operating Leases as a Lessee
The Company adopted ASC 842, Leases (Topic 842) since October 1, 2023. The Company has applied practical expedients permitted under the transition guidance within ASC Topic 842, which among other things, allows the Company to carry forward certain historical conclusions reached under ASC Topic 840 regarding lease identification, classification, and the accounting treatment of initial direct costs. The Company had elected not to record assets and liabilities on its combined balance sheets for any new or existing lease arrangements with lease terms of twelve months or less. The Company recognizes lease expenses for such leases on a straight-line basis over the lease term. The transition method elected allows entities to initially apply the requirements by recognizing a cumulative-effect adjustment to the opening balance of retained earnings in the period of adoption.
The initial lease liability is equal to the future fixed minimum lease payments discounted using the Company’s incremental borrowing rate, on a secured basis. The lease term includes optional renewal periods and early termination payments when it is reasonably certain that the Company will exercise those rights. The initial measurement of the right-of-use asset is equal to the initial lease liability plus any initial direct costs and prepayments, less any lease incentives.
Long-term investment
As of June 30, 2024, long-term investments represent the Company’s equity investment in a limited liability entity over which the Company has significant influence.
In accordance with ASC 323, Investments - Equity Method and Joint Ventures, the Company accounts for the investment the Equity Investee using equity method, because the Company has significant influence but does not own a majority equity interest or otherwise control over the equity investees.
Under the equity method, the Company initially records its investment at cost and prospectively recognizes its proportionate share of the Equity Investee’s net income or loss into its consolidated statements of operations. When the Company’s share of losses in the Equity Investee equals or exceeds its interest in the Equity Investee, the Company does not recognize further losses, unless the Company has incurred obligations or made payments or guarantees on behalf of the equity investee.
| F-40 |
HZJL
Cayman Limited
Notes to the Combined Financial Statements
NOTE 2 — SIGNIFICANT ACCOUNTING POLICIES (cont.)
The Company continually reviews its investment in the equity investee to determine whether a decline in fair value below the carrying value is other-than-temporary. The primary factors the Company considers in its determination include the financial condition, operating performance and the prospects of the equity investee; other company specific information such as recent financing rounds; the geographic region, market and industry in which the equity investee operates; and the length of time that the fair value of the investment is below its carrying value. If the decline in fair value is deemed to be other-than-temporary, the carrying value of the equity investee is written down to fair value.
Impairment for Long-lived Assets
Long-lived assets, including long-term investment and right of use assets and other non-current assets, are reviewed for impairment whenever events or changes in circumstances (such as a significant adverse change to market conditions that will impact the future use of the assets) indicate that the carrying value of an asset may not be recoverable. The Company assesses the recoverability of the assets based on the undiscounted future cash flows the assets are expected to generate and recognize an impairment loss when estimated undiscounted future cash flows expected to result from the use of the asset plus net proceeds expected from disposition of the asset, if any, are less than the carrying value of the asset. If an impairment is identified, the Company would reduce the carrying amount of the asset to its estimated fair value based on a discounted cash flows approach or, when available and appropriate, to comparable market values. For the years ended June 30, 2024 and 2023, the Company did not recognize impairment losses against long-lived assets.
Revenue Recognition
The Company adopted ASC 606, Revenue from Contracts with Customers (“ASC 606”) on July 1, 2022, using the modified retrospective approach for contracts that were not completed as of June 30, 2021. ASC 606 establishes principles for reporting information about the nature, amount, timing and uncertainty of revenue and cash flows arising from the entity’s contracts to provide goods or services to customers. The core principle requires an entity to recognize revenue to depict the transfer of goods or services to customers in an amount that reflects the consideration that it expects to be entitled to receive in exchange for those goods or services recognized as performance obligations are satisfied. In according with ASC 606, revenues are recognized when control of the promised services is transferred to customers, in an amount that reflects the consideration the Company expects to be entitled to in exchange for those services.
The Company identified each distinct service, or each series of distinct services that are substantially the same and that have the same pattern of transfer to the customer, as one performance obligation.
The Company applied a practical expedient to expense costs as incurred for costs to obtain a contract with a customer when the amortization period would have been one year or less. The Company has no material incremental costs of obtaining contracts with customers that the Company expects the benefit of those costs to be longer than one fiscal year, which need to be recognized as assets.
For the fiscal years ended June 30, 2024 and 2023, the Company primarily generated revenues from the following services:
Supply of food products
The Company generates revenue from supply of food products. The terms of pricing and payment stipulated in the contract are fixed. One performance obligation is identified in the contracts with customers. The Company recognizes the food product revenues on a gross basis as the Company is acting as a principal in these transactions and is responsible for fulfilling the promise to provide the specified goods, subject to inventory risks and has the discretion in establishing prices. Revenue is recognized at the point when the food products are accepted by the customers.
| F-41 |
HZJL
Cayman Limited
Notes to the Combined Financial Statements
NOTE 2 — SIGNIFICANT ACCOUNTING POLICIES (cont.)
Provision of branding services
The Company has branding service revenues from deployment of mobile app ads on social media or television ads on TV shows for the purpose of running advertising campaigns for customers. The Company acts as an agent between customers and medias by helping customers procure advertisements on various medias and facilitate ad deployment on their preferred advertising channels. The Company’s overall promise represents a combined output that is a single performance obligation; there is no multiple performance obligations.
The Company evaluated its branding service contracts and determined that it was not acting as principal in these arrangements with customers since it never takes control of the ad inventories at any time. The Company generates branding service revenues by charging service fees to customers.
The customers do not receive the benefits from the Company’s services until the medias deliver advertising services to the customers. The Company recognizes branding service revenues when it transfers the control of the service commitments. The Company facilitated the advertising services under cost per click (“CPC”) and cost per acquisition (“CPA”) pricing model of media. Under either pricing model of media, the Company recognizes revenues at the point of time as the medias deliver advertising services at the point in time.
Provision of online software services
The Company operates an advanced online application software named “JiManMan”, which offers digital marketing tools that help business partners attract new customers and enhance retention through effective engagement strategies. The Company recognizes revenues ratably over the period during which the online software services are provided.
Contract assets and contract liabilities
The Company classifies its right to consideration in exchange for services transferred to a customer as either a receivable or a contract asset. A receivable is a right to consideration that is unconditional as compared to a contract asset which is a right to consideration that is conditional upon factors other than the passage of time. The Company recognizes accounts receivable in its combined balance sheets when it performs a service in advance of receiving consideration and it has the unconditional right to receive consideration. A contract asset is recorded when the Company has transferred services to the customer before payment is received or is due, and the Company’s right to consideration is conditional on future performance or other factors in the contract. As of June 30, 2024 and 2023, the Company had no contract assets.
The Company capitalizes incremental costs incurred to fulfill contracts that (i) relate directly to the contract, (ii) are expected to generate resources that will be used to satisfy the performance obligation under the contract, and (iii) are expected to be recovered through revenue generated under the contract. These contract costs are recorded as cost of revenue upon the recognition of the related revenue. Provisions for estimated losses, if any, on uncompleted contracts are recorded in the financial period in which such losses become probable based on the current contract estimates. As of June 30, 2024 and 2023, the Company had no deferred contract costs.
Contract liabilities are recorded when consideration is received from the consumers prior to the fulfilment of performance obligation. The Company had contract liabilities of $187,894 and $1,017,427 as of June 30, 2024 and 2023, respectively. Contract liabilities of $348,431 as of June 30, 2022 were recognized as revenues for the fiscal year ended June 30, 2023. Contract liabilities of $1,017,427 as of June 30, 2023 were recognized as revenues for the fiscal year ended June 30, 2024. The Company is expected to recognize the contract liabilities of $187,894 as of June 30, 2024 as revenues in the fiscal year ending June 30, 2025.
| F-42 |
HZJL
Cayman Limited
Notes to the Combined Financial Statements
NOTE 2 — SIGNIFICANT ACCOUNTING POLICIES (cont.)
The following table summarizes disaggregated revenue from contracts with customers by service type:
| For the fiscal years ended June 30, | ||||||||
| 2024 | 2023 | |||||||
| Supply of food products | $ | 5,278,820 | $ | 18,378,971 | ||||
| Provision of branding services | 4,812,897 | 1,453,843 | ||||||
| Provision of online software services | 2,524,787 | 1,926,471 | ||||||
| $ | 12,616,504 | $ | 21,759,285 | |||||
The following table summarizes disaggregated revenue from contracts with customers by timing of revenue recognition:
| For the fiscal years ended June 30, | ||||||||
| 2024 | 2023 | |||||||
| Goods transferred at a point in time | $ | 5,278,820 | $ | 18,378,971 | ||||
| Services transferred at a point in time | 4,812,897 | 1,453,843 | ||||||
| Services transferred over time | 2,524,787 | 1,926,471 | ||||||
| $ | 12,616,504 | $ | 21,759,285 | |||||
Value Added Tax
Revenue from the Company’s branding services and online software services is subjected to a Value Added Tax (VAT) of 6%. Revenue from its supply of food products is exempted from VAT. The amount of VAT liability is determined by applying the applicable tax rate to the invoiced amount of the product sold. The Company’s subsidiaries in the PRC reports revenue net of PRC’s VAT for all the years presented on the combined statements of operations and comprehensive income (loss).
Cost of Revenues
Cost of revenues primarily consists of cost of food products, cost incurred for marketing services on the Company’s online application software, staff cost and other related expenses which are directly attributable to branding services and online software services. These costs are charged to the combined statements of operations and comprehensive income (loss) as incurred.
Selling and marketing expenses
Selling and marketing expenses consist primarily of payroll and related expenses for employees involved in selling and marketing activities, promotion and advertising expenses, and other expenses.
Promotion and advertising costs, which consist primarily of online advertising and incentive programs for the Company’s branding to attract or retain consumers, are expensed as incurred, and totaled $1,132,793 and $530,900 for the fiscal years ended June 30, 2024 and 2023, respectively.
| F-43 |
HZJL
Cayman Limited
Notes to the Combined Financial Statements
NOTE 2 — SIGNIFICANT ACCOUNTING POLICIES (cont.)
Income Taxes
The Company accounts for income taxes in accordance with the U.S. GAAP for income taxes. Under the asset and liability method as required by this accounting standard, the recognition of deferred income tax liabilities and assets for the expected future tax consequences of temporary differences between the income tax basis and financial reporting basis of assets and liabilities. Provision for income taxes consists of taxes currently due plus deferred taxes.
The charge for taxation is based on the results for the year as adjusted for items which are non-assessable or disallowed. It is calculated using tax rates that have been enacted or substantively enacted by the balance sheets date.
Deferred tax is accounted for using the balance sheet liability method in respect of temporary differences arising from differences between the carrying amount of assets and liabilities in the combined financial statements and the corresponding tax basis. Deferred tax assets are recognized to the extent that it is probable that taxable income to be utilized with prior net operating loss carried forwards. Deferred tax is calculated using tax rates that are expected to apply to the period when the asset is realized or the liability is settled. Deferred tax is charged or credited in the income statement, except when it is related to items credited or charged directly to equity.
Deferred tax assets are reduced by a valuation allowance when, in the opinion of management, it is more likely than not that some portion or all of the deferred tax assets will not be realized. Current income taxes are provided for in accordance with the laws of the relevant taxing authorities.
An uncertain tax position is recognized as a benefit only if it is “more likely than not” that the tax position would be sustained in a tax examination, with a tax examination being presumed to occur. The amount recognized is the largest amount of tax benefit that is greater than 50% likely of being realized on examination. Penalties and interest incurred related to underpayment of income tax are classified as income tax expense in the period incurred. The Company does not believe that there was any uncertain tax position as of June 30, 2024 and 2023. As of June 30, 2024, income tax returns for the tax years ended June 30, 2018 through June 30, 2023 remain open for statutory examination.
Comprehensive Income (Loss)
Comprehensive income (loss) is comprised of net income (loss) and all changes to the statements of shareholders’ equity (deficit), except those due to investments by shareholders, changes in paid-in capital and distributions to shareholders. For the Company, comprehensive income (loss) for the fiscal years ended June 30, 2024 and 2023 consisted of net income (loss) and unrealized loss from foreign currency translation adjustment.
Earnings (Loss) per Share
Under the provisions of ASC 260, “Earnings Per Share”, basic earnings (loss) per share is computed by dividing net income (loss) attributable to ordinary shareholders by the weighted average number of shares of ordinary shares outstanding for the financial periods presented. Diluted earnings (loss) per share reflects the potential dilution that could occur if securities or other contracts to issue ordinary shares were exercised or converted into ordinary shares or resulted in the issuance of ordinary shares that would then share in the income of the Company, subject to anti-dilution limitations.
| F-44 |
HZJL
Cayman Limited
Notes to the Combined Financial Statements
NOTE 2 — SIGNIFICANT ACCOUNTING POLICIES (cont.)
Fair Value Measurement
The fair value of a financial instrument is defined as the exchange price that would be received from an asset or paid to transfer a liability (as exit price) in the principal or most advantageous market for the asset or liability in an orderly transaction between market participants at the measurement date. The carrying amounts of financial assets and liabilities, such as cash and cash equivalents, time deposits, accounts receivable, and other current assets, accounts payable, short-term bank borrowings and other current liabilities, approximate their fair values because of the short maturity of these instruments and market rates of interest.
ASC 825-10 requires certain disclosures regarding the fair value of financial instruments. Fair value is defined as the price that would be received to sell an asset or paid to transfer a liability in an orderly transaction between market participants at the measurement date. A three-level fair value hierarchy prioritizes the inputs used to measure fair value. The hierarchy requires entities to maximize the use of observable inputs and minimize the use of unobservable inputs. The three levels of inputs used to measure fair value are as follows:
| ● | Level 1 — Quoted prices in active markets for identical assets and liabilities. | |
| ● | Level 2 — Quoted prices in active markets for similar assets and liabilities, or other inputs that are observable for the asset or liability, either directly or indirectly, for substantially the full term of the financial instrument. | |
| ● | Level 3 — Unobservable inputs that are supported by little or no market activity and that are significant to the fair value of the assets and liabilities. This includes certain pricing models, discounted cash flow methodologies and similar techniques that use significant unobservable inputs. |
The Company considers the carrying amount of its financial assets and liabilities, which consist primarily of cash and cash equivalents, restricted cash, accounts receivable, loans receivable/payable, due from/to related parties, other receivables, accounts payables, taxes payable, and other payables, approximate the fair value of the respective assets and liabilities as of June 30, 2024 and 2023 owing to their short-term or present value nature or present value of the assets and liabilities.
Segment Reporting
The Company uses the “management approach” in determining reportable operating segments. The management approach considers the internal organization and reporting used by the Company’s chief operating decision maker for making operating decisions and assessing performance as the source for determining the Company’s reportable segments. The Company’s chief operating decision maker has been identified as the chief executive officer of the Company who reviews financial information of separate operating segments based on U.S. GAAP. The chief operating decision maker now reviews results analyzed by customer. This analysis is only presented at the revenue level with no allocation of direct or indirect costs. The Company has determined that it has three operating segments which were comprised of (i) supply of food products, (ii) provision of branding services, and (iii) provision of online software services.
| F-45 |
HZJL
Cayman Limited
Notes to the Combined Financial Statements
NOTE 2 — SIGNIFICANT ACCOUNTING POLICIES (cont.)
Recently issued accounting pronouncements
In December 2024, the FASB issued ASU 2024-09, which is an update to Topic 740, Income Taxes. The amendments in this update related to the rate reconciliation and income taxes paid disclosures improve the transparency of income tax disclosures by requiring (1) adding disclosures of pretax income (or loss) and income tax expense (or benefit) to be consistent with U.S. Securities and Exchange Commission (SEC) Regulation S-X 210.4-08(h), Rules of General Application — General Notes to Financial Statements: Income Tax Expense, and (2) removing disclosures that no longer are considered cost beneficial or relevant. For public business entities, the amendments in this Update are effective for annual periods beginning after December 15, 2024. For entities other than public business entities, the amendments are effective for annual periods beginning after December 15, 2025. Early adoption is permitted for annual financial statements that have not yet been issued or made available for issuance. The amendments in this update should be applied on a prospective basis. Retrospective application is permitted. The Company is currently evaluating these new disclosure requirements and does not expect the adoption to have a material impact.
In November 2024, the FASB issued ASU 2024-03, “Income Statement—Reporting Comprehensive Income (Subtopic 220-40): Disaggregation of Income Statement Expenses.” This pronouncement introduces new disclosure requirements aimed at enhancing transparency in financial reporting by requiring disaggregation of specific income statement expense captions. Under the new guidance, entities are required to disclose a breakdown of certain expense categories, such as: employee compensation; depreciation; amortization, and other material components. The disaggregated information can be presented either on the face of the income statement or in the notes to the financial statements, often using a tabular format. The ASU is effective for fiscal years beginning after December 15, 2025, and interim periods within those fiscal years. Early adoption is permitted. The Company is currently evaluating these new disclosure requirements and does not expect the adoption to have a material impact.
In October 2024, the FASB issued ASU 2024-06, Disclosure Improvements — codification amendments in response to SEC’s disclosure Update and Simplification initiative which amend the disclosure or presentation requirements of codification subtopic 230-10 Statement of Cash Flows — Overall, 250-10 Accounting Changes and Error Corrections — Overall, 260-10 Earnings Per Share — Overall, 270-10 Interim Reporting — Overall, 440-10 Commitments — Overall, 470-10 Debt — Overall, 505-10 Equity — Overall, 815-10 Derivatives and Hedging — Overall, 860-30 Transfers and Servicing — Secured Borrowing and Collateral, 932-235 Extractive Activities — Oil and Gas — Notes to Financial Statements, 946-20 Financial Services — Investment Companies — Investment Company Activities, and 974-10 Real Estate — Real Estate Investment Trusts — Overall. The amendments represent changes to clarify or improve disclosure and presentation requirements of above subtopics. Many of the amendments allow users to more easily compare entities subject to the SEC’s existing disclosures with those entities that were not previously subject to the SEC’s requirements. Also, the amendments align the requirements in the Codification with the SEC’s regulations. For entities subject to existing SEC disclosure requirements or those that must provide financial statements to the SEC for securities purposes without contractual transfer restrictions, the effective date aligns with the date when the SEC removes the related disclosure from Regulation S-X or Regulation S-K. Early adoption is not allowed. For all other entities, the amendments will be effective two years later from the date of the SEC’s removal. The Company is currently evaluating these new disclosure requirements and does not expect the adoption to have a material impact.
| F-46 |
HZJL
Cayman Limited
Notes to the Combined Financial Statements
NOTE 2 — SIGNIFICANT ACCOUNTING POLICIES (cont.)
Recently issued accounting pronouncements (cont.)
In July 2024, the FASB issued ASU 2024-07, Segment Reporting (Topic 280): Improvements to Reportable Segment Disclosures. The amendments in ASU 2024-07 improve reportable segment disclosure requirements, primarily through enhanced disclosures about significant segment expenses. The amendments in ASU 2024-07 improve financial reporting by requiring disclosure of incremental segment information on an annual and interim basis for all public entities to enable investors to develop more decision-useful financial analyses. The amendments are effective for fiscal years beginning after December 15, 2024, and interim periods within fiscal years beginning after December 15, 2024. Early adoption is permitted. The adoption of this guidance did not have a material impact on its financial position, results of operations and cash flows.
In March 2024, the FASB issued new accounting guidance, ASU 2024-01, for leasehold improvements associated with common control leases, which is effective for fiscal years beginning after December 15, 2024, including interim periods within those fiscal years. Early adoption is permitted for both interim and annual financial statements that have not yet been made available for issuance. The new guidance introduced two issues: terms and conditions to be considered with leases between related parties under common control and accounting for leasehold improvements. The goals for the new issues are to reduce the cost associated with implementing and applying Topic 842 and to promote diversity in practice by entities within the scope when applying lease accounting requirements. The Company is currently evaluating these new disclosure requirements and does not expect the adoption to have a material impact.
In December 2023, the FASB issued ASU 2023-09, which is an update to Topic 740, Income Taxes. The amendments in this update related to the rate reconciliation and income taxes paid disclosures improve the transparency of income tax disclosures by requiring (1) adding disclosures of pretax income (or loss) and income tax expense (or benefit) to be consistent with U.S. Securities and Exchange Commission (the “SEC”) Regulation S-X 210.4-08(h), Rules of General Application — General Notes to Financial Statements: Income Tax Expense, and (2) removing disclosures that no longer are considered cost beneficial or relevant. For public business entities, the amendments in this Update are effective for annual periods beginning after December 15, 2024. For entities other than public business entities, the amendments are effective for annual periods beginning after December 15, 2025. Early adoption is permitted for annual financial statements that have not yet been issued or made available for issuance. The amendments in this update should be applied on a prospective basis. Retrospective application is permitted. The Company does not plan to early adopt ASU 2023-09 and is evaluating the impact of adoption of ASU 2023-09 on the consolidated financial statements.
Other recently issued ASUs by the FASB, except for the ones mentioned above, have no material impact on the Company’s combined results of operations or financial position.
Concentration and Credit Risk
1) Credit risk
Assets that potentially subject the Company to significant concentration of credit risk primarily consist of cash and cash equivalents. The maximum exposure of such assets to credit risk is their carrying amount as at the balance sheet dates. As of June 30, 2024, cash and cash equivalents of $116,126 were deposited in financial institutions in the PRC, and each bank accounts is insured by the government authority with the maximum limit of RMB500,000 (equivalent $68,800). To limit exposure to credit risk relating to deposits, the Company primarily places cash and cash equivalent deposits with large financial institutions in China of high credit quality.
The risk with respect to accounts receivable, loans receivable, other receivable and amounts due from related parties is mitigated by credit evaluations the Company performs on its customers and its ongoing monitoring processes of outstanding balances.
| F-47 |
HZJL
Cayman Limited
Notes to the Combined Financial Statements
NOTE 2 — SIGNIFICANT ACCOUNTING POLICIES (cont.)
The Company’s operations are carried out in China. Accordingly, the Company’s business, financial condition and results of operations may be influenced by the political, economic and legal environments in the PRC as well as by the general state of the PRC’s economy. In addition, the Company’s business may be influenced by changes in governmental policies with respect to laws and regulations, anti-inflationary measures, currency conversion and remittance abroad, rates and methods of taxation among other factors.
2) Foreign currency risk
Substantially all of the Company’s operating activities that were conducted through the Company’s PRC subsidiaries and related assets and liabilities are denominated in RMB, which is not freely convertible into foreign currencies. All foreign exchange transactions take place either through the PBOC or other authorized financial institutions at exchange rates quoted by PBOC. Approval of foreign currency payments by the PBOC or other regulatory institutions requires submitting a payment application form together with suppliers’ invoices and signed contracts. The value of RMB is subject to changes in central government policies and to international economic and political developments affecting supply and demand in the China Foreign Exchange Trading System market.
3) Concentration risks
Accounts receivable are typically unsecured and derived from goods sold and services rendered to customers that are located primarily in China, thereby exposed to credit risk. The risk is mitigated by the Company’s assessment of customers’ creditworthiness and its ongoing monitoring of outstanding balances. The Company has a concentration of its receivables with specific customers.
As of June 30, 2024, one customer accounted for 93.3% of accounts receivable. As of June 30, 2023, one customer accounted for 98.2% of accounts receivable.
For the year ended June 30, 2024, two customers accounted for 21.5% and 14.9% of revenues, respectively. For the year ended June 30, 2023, two customers accounted for 44.5% and 40.0% of revenues, respectively.
As of June 30, 2024, one supplier accounted for 51.3% of accounts payable. As of June 30, 2023, three suppliers accounted for 46.3%, 32.9% and 15.6% of accounts payable, respectively.
For the year ended June 30, 2024, three suppliers accounted for 23.0%, 15.6% and 14.7% of purchases, respectively. For the year ended June 30, 2023, three suppliers accounted for 33.1%, 22.2% and 17.% of revenues, respectively.
Accounts receivable, net consisted of the following:
| As of | ||||||||
| June 30, 2024 | June 30, 2023 | |||||||
| Accounts receivable | $ | 4,965,512 | $ | 14,153,748 | ||||
| Less: allowance for credit losses | (778,949 | ) | (1,292,842 | ) | ||||
| Accounts receivable, net | $ | 4,186,563 | $ | 12,860,906 | ||||
| F-48 |
HZJL
Cayman Limited
Notes to the Combined Financial Statements
NOTE 3 — ACCOUNTS RECEIVABLE
The following is the movement of allowance for credit losses for the years ended June 30, 2024 and 2023:
| As of | ||||||||
| June 30, 2024 | June 30, 2023 | |||||||
| Opening balance | $ | 1,292,842 | $ | 1,300,993 | ||||
| Provision for credit losses | — | 94,702 | ||||||
| Reversal of unutilised amounts | (514,063 | ) | — | |||||
| Foreign exchange adjustments | 170 | (102,853 | ) | |||||
| Ending balance | $ | 778,949 | $ | 1,292,842 | ||||
NOTE 4 — LOANS RECEIVABLE
Other current assets consisted of the following:
| As of | ||||||||
| June 30, 2024 | June 30, 2023 | |||||||
| Loan receivable due from a third party | $ | 1,121,675 | $ | — | ||||
For the year ended June 30, 2024, the Company made loans of $1,123,413 to a third party to support the working capital of the third party. The loan was interest-free and repayable on demand. As of the date of this report, the Company has fully settled the loan with the third party. The Company has no plans to make loans to third parties in the future.
NOTE 5 — LONG-TERM INVESTMENTS
Long term investment consisted of the following:
| As of | ||||||||
| June 30, 2024 | June 30, 2023 | |||||||
| Investment in an equity method investee | $ | 55,042 | $ | 55,163 | ||||
| Less: accumulated share of equity loss | (4,061 | ) | (2,598 | ) | ||||
| $ | 50,981 | $ | 52,565 | |||||
As of June 30, 2024 and 2023, the long-term investment represented an investment of 40% equity interest in an investee. The Company used equity method to measure the investment. For the years ended June 30, 2024 and 2023, the Company recorded a share equity loss of $1,477 and a share of equity income of $31,263 for its share of the results of the investee. As of June 30, 2024 and 2023, the Company did not recognize impairment against the investment in the investment.
| F-49 |
HZJL
Cayman Limited
Notes to the Combined Financial Statements
NOTE 6 — OPERATING LEASE
As of June 30, 2024, the Company had one office space lease arrangement with a third-party lessors under non-cancelable operating leases, with term of 14 months. The Company considers those renewal or termination options that are reasonably certain to be exercised in the determination of the lease term and initial measurement of right of use assets and lease liabilities. Lease expense for lease payment is recognized on a straight-line basis over the lease term.
The Company determines whether a contract is or contains a lease at inception of the contract and whether that lease meets the classification criteria of a finance or operating lease. When available, the Company uses the rate implicit in the lease to discount lease payments to present value; however, the Company’s lease does not provide a readily determinable implicit rate. Therefore, the Company discount lease payments based on an estimate of the incremental borrowing rate.
For operating leases that include rent holidays and rent escalation clauses, the Company recognizes lease expense on a straight-line basis over the lease term from the date it takes possession of the leased property. The Company records the straight-line lease expense and any contingent rent, if applicable, in general and administrative expenses on the combined statements of operations and comprehensive income (loss).
The lease agreement does not contain any material residual value guarantees or material restrictive covenants. For short-term leases, the Company records operating lease expense in its combined statements of operations and comprehensive income (loss) on a straight-line basis over the lease term and record variable lease payments as incurred.
The table below presents the operating lease related assets and liabilities recorded on the combined balance sheets.
| As of | ||||||||
| June 30, 2024 | June 30, 2023 | |||||||
| Right of use assets | $ | — | $ | 433,747 | ||||
| Operating lease liabilities, current | $ | — | $ | 245,504 | ||||
| Operating lease liabilities, noncurrent | — | — | ||||||
| Total operating lease liabilities | $ | — | $ | 245,504 | ||||
Other information about the Company’s leases is as follows:
| As of | ||||||||
| June 30, 2024 | June 30, 2023 | |||||||
| Operating cash flows used in operating leases | $ | 215,721 | $ | 270,577 | ||||
| Amortization of right of use assets | $ | 401,782 | $ | 76,576 | ||||
| Accretion of interest expenses to operating lease liabilities | $ | 6,270 | $ | 2,239 | ||||
| Weighted average remaining lease term (years) | 0.1 | 0.1 | ||||||
| Weighted average discount rate | 4.75 | % | 4.75 | % | ||||
For the fiscal years ended June 30, 2024 and 2023, operating lease expenses were $407,052 and $78,817, respectively.
| F-50 |
HZJL
Cayman Limited
Notes to the Combined Financial Statements
NOTE 7 — SHORT-TERM BORROWINGS
| As of | ||||||||
| June 30, 2024 | June 30, 2023 | |||||||
| Bank borrowings | $ | 2,999,780 | $ | 1,792,782 | ||||
For the fiscal year ended June 30, 2024, the Company entered into three one-year loan agreements with a total amount of $3,017,385 from two banks. The interest rates of the bank borrowings ranged between 3.62% and 3.90%. For the fiscal year ended June 30, 2024, the Company also repaid bank borrowings of $1,799,358 to two banks.
As of June 30, 2024, bank borrowings of $688,023 was guaranteed by a third party guarantor, and bank borrowings of $2,311,757 were collateralized by properties owned by Mr. Xiong Bin, the controlling shareholder of the Company.
For the year ended June 30, 2023, the Company entered into two one-year loan agreements with a total amount of $1,869,535 from two banks. The interest rates of the bank borrowings ranged between 3.70% and 4.05%. Both loans were repaid in the fiscal year ended June 30, 2024. For the fiscal year ended June 30, 2023, the Company did not repay bank borrowings to the banks.
As of June 30, 2023, bank borrowings of $413,719 was guaranteed by a third party guarantor, and bank borrowings of $1,379,063 were collateralized by properties owned by Mr. Xiong Bin, the controlling shareholder of the Company.
For the fiscal years ended June 30, 2024, the Company incurred interest expenses of $108,098 and $35,653, respectively.
NOTE 8 — CONTRACT LIABILITIES
A contract liability is an entity’s obligation to transfer goods or services to a customer for which the entity has received consideration or an amount of consideration is due from the customer. For the fiscal years ended June 30, 2024 and 2023, certain customers made advances to the Company before branding services were provided. The advance payments were transferred into revenues upon revenue recognition.
For the fiscal years ended June 30, 2024 and 2023, the movement of contract liabilities was as follows:
| For the fiscal years ended June 30, | ||||||||
| 2024 | 2023 | |||||||
| Opening balance | $ | 1,017,427 | $ | 348,431 | ||||
| Addition of contract liabilities | 2,712,118 | 1,434,168 | ||||||
| Revenue recognition during the fiscal year | (3,544,280 | ) | (708,891 | ) | ||||
| Foreign exchange adjustment | 2,629 | (56,281 | ) | |||||
| Ending balance | $ | 187,894 | $ | 1,017,427 | ||||
| F-51 |
HZJL
Cayman Limited
Notes to the Combined Financial Statements
NOTE 9 — OTHER CURRENT LIABILITIES
| As of | ||||||||
| June 30, 2024 | June 30, 2023 | |||||||
| Accrued payroll | $ | 84,877 | $ | 15,159 | ||||
| Rental fee payable | 138,282 | 41,480 | ||||||
| Other tax payable | 107,748 | 345,173 | ||||||
| Deposits payable | 442,194 | 443,163 | ||||||
| Others | 271,497 | 160,203 | ||||||
| $ | 1,044,598 | $ | 1,005,178 | |||||
NOTE 10 — LOANS PAYABLE
| As of | ||||||||
| June 30, 2024 | June 30, 2023 | |||||||
| Loans payable | $ | 1,517,186 | $ | 1,609,865 | ||||
As of June 30, 2024 and 2023, the loans payable represented borrowings of $1,517,186 and $1,609,865 due from five and five third-parties, respectively, to support the Company’s operations. The borrowings were interest-free and payable on demand.
For the fiscal years ended June 30, 2024 and 2023, the Company borrowed $1,036,690 and $778,878, respectively, from two and five third parties, respectively.
For the fiscal year ended June 30, 2024, the Company repaid borrowings of $1,126,368 to one third party. For the fiscal year ended June 30, 2023, the Company did not repay borrowings to third parties.
NOTE 11 — INCOME TAXES
Cayman Islands
Under the current laws of the Cayman Islands, the Company is not subject to tax on income or capital gain. Additionally, upon payments of dividends to the shareholders, no Cayman Islands withholding tax will be imposed.
British Virgin Islands
Under the current and applicable laws of BVI, HZJL BVI is not subject to tax on income or capital gains.
Hong Kong
HZJL HK is incorporated in Hong Kong and is subject to Hong Kong Profits Tax on the taxable income as reported in its statutory financial statements adjusted in accordance with relevant Hong Kong tax laws. The applicable tax rate is 16.5% on its taxable income generated from operations in Hong Kong. HZJL HK did not make any provisions for Hong Kong profit tax as there were no assessable profits derived from or earned in Hong Kong since inception. Additionally, payments of dividends by the subsidiary incorporated in Hong Kong to the Company are not subject to any Hong Kong withholding tax.
| F-52 |
HZJL
Cayman Limited
Notes to the Combined Financial Statements
NOTE 11 — INCOME TAXES (cont.)
PRC
On March 16, 2007, the National People’s Congress of the PRC enacted an Enterprise Income Tax Law (“EIT Law”), under which Foreign Investment Enterprises (“FIEs”) and domestic companies would be subject to EIT at a uniform rate of 25%. The EIT law became effective on January 1, 2008. The Company’s subsidiaries in the PRC are subject to PRC income tax, which is computed according to the relevant laws and regulations in the PRC. Under the Corporate Income Tax Law of PRC, current corporate income tax rate of 25% is applicable to all PRC companies, including both domestic and foreign-invested companies.
For the fiscal years ended June 30, 2024 and 2023, the income tax (expenses) benefits were comprised of the following:
| For the fiscal years ended June 30, | ||||||||
| 2024 | 2023 | |||||||
| Current income tax expense | $ | (484,858 | ) | $ | — | |||
| Deferred income tax (expenses) benefits | (96,775 | ) | 128,389 | |||||
| $ | (581,633 | ) | $ | 128,389 | ||||
The following table reconciles the statutory rates to the Company’s effective tax rate:
| For the fiscal years ended June 30, | ||||||||
| 2024 | 2023 | |||||||
| PRC statutory income tax rate | $ | 25.0 | % | $ | 25.0 | % | ||
| Effect of non-deductible expenses | 0.0 | % | 0.0 | % | ||||
| Effect of changes in valuation allowance | 9.1 | % | (20.5 | )% | ||||
| Total | $ | 34.1 | % | $ | 4.5 | % | ||
The table below presents the deferred tax assets and liabilities on the combined balance sheets.
| As of | ||||||||
| June 30, 2024 | June 30, 2023 | |||||||
| Net operating losses | $ | 1,364,268 | $ | 1,308,607 | ||||
| Allowance for credit losses | 778,949 | 195,164 | ||||||
| 2,143,217 | 1,503,771 | |||||||
| Less: valuation allowance | (2,091,493 | ) | (1,355,512 | ) | ||||
| Deferred tax assets, net | $ | 51,724 | $ | 148,259 | ||||
As of June 30, 2024, the Company had net operating loss carryforwards of $9,914,409 from its subsidiaries in the PRC, which expire starting in 2027. The Company evaluates its valuation allowance requirements at the end of each reporting period by reviewing all available evidence, both positive and negative, and considering whether, based on the weight of that evidence, a valuation allowance is needed. When circumstances cause a change in management’s judgement about the realizability of deferred tax assets, the impact of the change on the valuation allowance is generally reflected in income from operations. The future realization of the tax benefit of an existing deductible temporary difference ultimately depends on the existence of sufficient taxable income of the appropriate character within the carryforward period available under applicable tax law. As of June 30, 2024 and 2023, the Company provided valuation allowance of $2,091,493 and $1,355,512, respectively, against the deferred tax assets based upon management’s assessment as to their realization.
| F-53 |
HZJL
Cayman Limited
Notes to the Combined Financial Statements
NOTE 11 — INCOME TAXES (cont.)
Uncertain tax position
As of June 30, 2024 and 2023, the Company had no significant uncertain tax positions that qualify for either recognition or disclosure in the combined financial statements. As of June 30, 2024, income tax returns for the tax years ended June 30, 2018 through 2023 remain open for statutory examination by PRC tax authorities.
The uncertain tax positions are related to tax years that remain subject to examination by the relevant tax authorities. Based on the outcome of any future examinations, or as a result of the expiration of statute of limitations for specific jurisdictions, it is reasonably possible that the related unrecognized tax benefits for tax positions taken regarding previously filed tax returns, might materially change from those recorded as liabilities for uncertain tax positions in the Company’s combined financial statements as of June 30, 2024 and 2023. In addition, the outcome of these examinations may impact the valuation of certain deferred tax assets (such as net operating losses) in future periods. The Company’s policy is to recognize interest and penalties accrued on any unrecognized tax benefits, if any, as a component of income tax expense. The Company does not anticipate any significant increases or decreases to its liability for unrecognized tax benefit within the next twelve months.
According to the PRC Tax Administration and Collection Law, the statute of limitations is three years if the underpayment of income taxes is due to computational errors made by the taxpayer. The statute of limitations will be extended to five years under special circumstances, which are not clearly defined, but an underpayment of income tax liability exceeding RMB100,000 (approximately $13,800) is specifically listed as a special circumstance. In the case of a transfer pricing related adjustment, the statute of limitations is ten years. There is no statute of limitations in the case of tax evasion.
Accounting for Uncertainty in Income Taxes
The tax authority of the PRC Government conducts periodic and ad hoc tax filing reviews on business enterprises operating in the PRC after those enterprises have completed their relevant tax filings. Therefore, the Company’s PRC entities’ tax filings results are subject to change. It is therefore uncertain as to whether the PRC tax authority may take different views about the Company’s PRC entities’ tax filings, which may lead to additional tax liabilities.
ASC 740 requires recognition and measurement of uncertain income tax positions using a “more-likely-than-not” approach. The Company’s management has evaluated the Company’s tax positions and concluded that provision for uncertainty in income taxes was not necessary as of June 30, 2024 and 2023.
| F-54 |
HZJL
Cayman Limited
Notes to the Combined Financial Statements
NOTE 12 — RELATED PARTIES
| 1) | Nature of relationships with related parties |
The table below sets forth the major related parties and their relationships with the Company, with which the Company entered into transactions during the fiscal years ended June 30, 2024 and 2023, or recorded balances as of June 30, 2024 and 2023.
| Name | Relationship with the Company | |
| Mr. Xiong Bin | The controlling shareholder of the Company | |
| Ms. Hu Huijie | Spouse of Mr. Xiong Bin | |
| Mr. Xiong Jie | Immediate family member of Mr. Xiong Bin | |
| Mr. Fan Chunhui | Director of HZJL IT | |
| Hangzhou Jialin Information Technology Co., Ltd. (“HZJL IT”) | An affiliate over which Mr. Xiong Bin owns 36.7% equity interest and exercises significant influence | |
| Shandong Jialin Information Technology Co., Ltd. (“SDJL IT”) | An affiliate controlled by HZJL IT | |
| Hangzhou Linhangyuan Culture Media Co., Ltd. (“Hangzhou LHY”) | An affiliate controlled by Mr. Xiong Bin | |
| Shandong Yuncaiyuan Network Technology Co., Ltd. (“Shandong Yuncaiyuan”) | An affiliate over which an entity controlled by Mr. Xiong Bin owns 30% equity interest and exercises significant influence | |
| Shandong Jiman Supply Chain Management Co., Ltd. (“SDJL SC”) | An affiliate controlled by HZJL IT | |
| Shandong Wukong Enterprise Service and Management Co., Ltd. (“Shandong WK”) | An affiliate controlled by HZJL IT | |
| Guoqu Supply Chain (Hangzhou) Co., Ltd. (“Guoqu”) | An affiliate over which an entity controlled by Ms. Hu Huijia owns 40% equity interest and exercises significant influence | |
| Hangzhou Maokoudai Media Co., Ltd. (“MKD”) | Controlled by Mr. Fan Chunhui | |
| Guangzhou Yuedong Supply Chain Management Co, Ltd. (“Guangzhou YD”) | An affiliate controlled by Mr. Xiong Bin | |
| Shandong Jiman Supply Chain Management Co, Ltd. (“Shandong JM”) | An affiliate controlled by HZJL IT | |
| Zhejiang Jialin Supply Chain Management Co., Ltd. (“ZJJL SC”) | An affiliate controlled by HZJL IT | |
| Hangzhou Lenghe Culture Media Co., Ltd. (“Hangzhou LH”) | An affiliate controlled by HZJL IT | |
| Hangzhou Jialin Group (“HZJL Group”) | An affiliate controlled by HZJL IT | |
| Hangzhou Chuquan Culture Conulting Co., Ltd. (“Hangzhou Chuquan Culture Consulting”) | An affiliate controlled by HZJL IT | |
| Beijing 72 Creative & Interactive Media Culture Co., Ltd. (“Beijing 72”) | An affiliate controlled by HZJL IT | |
| Hangzhou Chugequan Media Co., Ltd. (“Hangzhou Chugequan Media”) | An affiliate controlled by Hangzhou Chuquan Culture Consulting |
| F-55 |
HZJL
Cayman Limited
Notes to the Combined Financial Statements
NOTE 12 — RELATED PARTIES (cont.)
| 2) | Balances with related parties |
| June 30, 2024 | June 30, 2023 | |||||||
| Due from related parties (a): | ||||||||
| Mr. Xiong Bin | $ | 1,819,114 | $ | 933,607 | ||||
| Shandong Yuncaiyuan | 1,233,697 | 1,236,403 | ||||||
| Hangzhou LHY | 991,380 | — | ||||||
| SDJL IT | 981,770 | 889,882 | ||||||
| SDJL SC | 962,986 | — | ||||||
| Shandong WK | 827,017 | 963,427 | ||||||
| Guoqu | 448,987 | 449,971 | ||||||
| MKD | 166,488 | 151,269 | ||||||
| Guangzhou YD | 192,254 | — | ||||||
| Shandong JM | — | 1,043,883 | ||||||
| Others | 243,423 | 163,622 | ||||||
| $ | 7,867,116 | $ | 5,832,064 | |||||
| Due to related parties (b): | ||||||||
| Shandong JM | $ | 807,901 | $ | — | ||||
| ZJJL SC | 356,712 | 470,607 | ||||||
| Hangzhou LH | 302,730 | 303,394 | ||||||
| HZJL Group | 286,862 | 3,784,637 | ||||||
| Hangzhou Chuquan Culture Consultin | 141,723 | — | ||||||
| Beijing 72 | 137,605 | — | ||||||
| Hangzhou Chugequan Media | 124,539 | 131,845 | ||||||
| Hangzhou LHY (c) | — | 1,103,062 | ||||||
| HZJL IT (c) | — | 6,989,748 | ||||||
| Mr. Xiong Bin (c) | — | 5,197,689 | ||||||
| Mr. Xiong Jie (c) | — | 813,747 | ||||||
| Others | 329,773 | 87,939 | ||||||
| $ | 2,487,845 | $ | 18,882,668 | |||||
| (a) | The balances due from related parties represented the loans made to the related parties to support their working capital. The loans were interest free and repayable on demand. As of the date of this report, the Company fully settled outstanding balances with related parties. The Company had no plans to make loans to related parties in the future. |
| (b) | The balance due to related parties represented the borrowings from the related parties to support the Company’s working capital. The loan were interest free and payable on demand. |
| F-56 |
HZJL
Cayman Limited
Notes to the Combined Financial Statements
NOTE 12 — RELATED PARTIES (cont.)
| (c) | On June 30, 2024, Mr. Xiong Bin (Mr. Xiong) and 4 four entities controlled by Mr. Xiong have forgiven the amounts owing from the Company amounting to $8,880,805. The liabilities forgiven were deemed as additional paid-in capital from Mr. Xiong . |
| 3) | Transactions with related parties |
| For the fiscal years ended June 30, | ||||||||
| 2024 | 2023 | |||||||
| Revenues generated from related parties | ||||||||
| Hangzhou Chugequan Media | $ | 883,291 | $ | — | ||||
| Hangzhou Chuquan Culture Consulting | 201,858 | — | ||||||
| SDJL Supply Chain | 67,928 | — | ||||||
| $ | 1,153,077 | $ | — | |||||
For the fiscal years ended June 30, 2024 and 2023, the Company made advances to various related parties to support their working capital. In the same periods, the Company also borrowed loans from various related parties for working capital.
For the fiscal years ended June 30, 2024 and 2023, the Company made interest-free loans to related parties of $2,278,639 and $3,043,494, respectively. For the fiscal years ended June 30, 2024 and 2023, the Company collected loans from related parties of $218,808 and $1,230,873, respectively. As of the date of this report, the Company fully collected outstanding balances due from related parties. The Company had no plans to make loans to related parties in the future.
For the years ended June 30, 2024 and 2023, the Company borrowed from related parties of $4,895,744 and $18,491,944, respectively.
For the years ended June 30, 2024 and 2023, the Company repaid loans to related parties of $12,464,422 and $9,226,105, respectively.
For the year ended June 30, 2024 and 2023, bank borrowings of $2,325,324 and $1,438,104 were collateralized with properties owned by Mr. Xiong Bin.
NOTE 13 — SHAREHOLDERS’ EQUITY
Ordinary shares
The authorized share capital is 500,000,000 ordinary shares of par value of US$0.0001 per share.
On December 31, 2024, the Company issued 50,000,000 shares of ordinary shares, at par value of $0.0001 per share, to all existing shareholders on a pro rata basis. The issuance was considered as being part of the reorganization of the Company and was retroactively applied as if the transaction occurred at the beginning of the period presented. No cash or other consideration was paid for the issuance of 50,000,000 ordinary shares. All the existing shareholders and directors of the Company consider this share issuance was part of the Company’s reorganization to result in 50,000,000 ordinary shares issued and outstanding prior to completion of the IPO.
As of June 30, 2024 and 2023, the Company had 50,000,000 ordinary shares issued and outstanding.
| F-57 |
HZJL
Cayman Limited
Notes to the Combined Financial Statements
NOTE 13 — SHAREHOLDERS’ EQUITY (cont.)
Restricted net assets
The Company’s ability to pay dividends is primarily dependent on the Company receiving distributions of funds from its subsidiaries. Relevant PRC statutory laws and regulations permit payments of dividends by the Company’s subsidiaries in the PRC only out of its retained earnings, if any, as determined in accordance with PRC accounting standards and regulations and after it has met the PRC requirements for appropriation to statutory reserves. Paid in capital of the PRC subsidiaries included in the Company’s combined net assets are also non-distributable for dividend purposes. The results of operations reflected in the accompanying combined financial statements prepared in accordance with U.S. GAAP differ from those reflected in the statutory financial statements of the PRC subsidiaries. The Company’s PRC subsidiaries are required to set aside at least 10% of their after-tax profits each year, if any, to fund certain statutory reserve funds until such reserve funds reach 50% of its registered capital. In addition, the Company’s PRC subsidiary may allocate a portion of its after-tax profits based on PRC accounting standards to enterprise expansion fund and staff bonus and welfare fund at its discretion. The statutory reserve funds and the discretionary funds are not distributable as cash dividends.
As of June 30, 2024 and 2023, the Company’s PRC subsidiaries did not set aside statutory reserves because the Company’s PRC subsidiaries had accumulated deficits as of June 30, 2024 and 2023.
As of June 30, 2024 and 2023, the Company had net assets restricted in the aggregate, which include paid-in capital and statutory reserves of the PRC subsidiaries that are included in the Company’s combined net assets, of $9,430,652 and $549,847, respectively.
NOTE 14 — SEGMENT INFORMATION
Operating segments are defined as components of an enterprise about which separate financial information is available that is evaluated regularly by the chief operating decision maker (“CODM”), or decision making group, in deciding how to allocate resources and in assessing performance.
The Company’s organizational structure is based on a number of factors that the CODM uses to evaluate, view and run its business operations which include, but not limited to, customer base, homogeneity of service and technology. The Company’s operating segments are based on such organizational structure and information reviewed by the CODM to evaluate the operating segment results. Based on management’s assessment, the Company has determined that it has four operating segments: (i) supply of food products, (ii) provision of branding services, and (iii) provision of online software services.
The following table presents revenue by segments for the fiscal years ended June 30, 2024 and 2023, respectively:
| For the Fiscal year Ended June 30, 2024 | ||||||||||||||||
| Supply of Food Products | Provision of Branding Services | Provision of Online Software Services | Total | |||||||||||||
| Revenue | $ | 5,278,820 | $ | 4,812,897 | $ | 2,524,787 | $ | 12,616,504 | ||||||||
| Cost of revenue and related tax | $ | (5,253,139 | ) | $ | (1,143,567 | ) | $ | (2,374,392 | ) | $ | (8,771,098 | ) | ||||
| Gross profit | $ | 25,681 | $ | 3,669,330 | $ | 150,395 | $ | 3,845,406 | ||||||||
| Total operating expenses | $ | (403,259 | ) | $ | (1,174,579 | ) | $ | (642,311 | ) | $ | (2,220,149 | ) | ||||
| Other (expenses) income* | $ | (40,903 | ) | $ | 173,360 | $ | (55,236 | ) | $ | 77,221 | ||||||
| Income tax expenes | $ | (345,442 | ) | $ | (236,191 | ) | $ | - | $ | (581,633 | ) | |||||
| Net income (loss) | $ | (763,923 | ) | $ | 2,431,920 | $ | (547,152 | ) | $ | 1,120,845 | ||||||
* Other (expenses) income consisted of interest expenses, net and other expenses (income).
| F-58 |
HZJL
Cayman Limited
Notes to the Combined Financial Statements
NOTE 14 — SEGMENT INFORMATION (cont.)
| For the Fiscal year Ended June 30, 2023 | ||||||||||||||||
| Supply of Food Products | Provision of Branding Services | Provision of Online Software Services | Total | |||||||||||||
| Revenue | $ | 18,378,971 | $ | 1,453,843 | $ | 1,926,471 | $ | 21,759,285 | ||||||||
| Cost of revenue and related tax | $ | (18,286,547 | ) | $ | (636,526 | ) | $ | (1,808,563 | ) | $ | (20,731,636 | ) | ||||
| Gross profit | $ | 92,424 | $ | 817,317 | $ | 117,908 | $ | 1,027,649 | ||||||||
| Total operating expenses | $ | (759,813 | ) | $ | (830,032 | ) | $ | (2,390,547 | ) | $ | (3,980,392 | ) | ||||
| Other income (expenses)* | $ | 59,680 | $ | 56,909 | $ | (30,310 | ) | $ | 86,279 | |||||||
| Income tax benefits | $ | 128,274 | $ | 115 | $ | - | $ | 128,389 | ||||||||
| Net (loss) income | $ | (479,435 | ) | $ | 44,309 | $ | (2,302,949 | ) | $ | (2,738,075 | ) | |||||
* Other income (expenses) consisted of interest expenses, net and other (income) expenses.
Substantially all of the Company’s revenues are derived from China based on the geographical locations where services are provided to customers. In addition, the Company’s long-lived assets are substantially all located in and derived from China, and the amount of long-lived assets attributable to any individual other country is not material. Therefore, no geographical segments are presented.
NOTE 15 — COMMITMENTS AND CONTINGENCIES
From time to time, the Company and its subsidiaries are parties to various legal actions arising in the ordinary course of business. The Company accrues costs associated with these matters when they become probable and the amount can be reasonably estimated. Legal costs incurred in connection with loss contingencies are expensed as incurred. The Company did not have other significant commitments, long-term obligations, significant contingencies or guarantees as of June 30, 2024 and 2023.
NOTE 16 — SUBSEQUENT EVENTS
On January 27, 2025, the Company has entered into an agreement and plan of merger (the “Merger Agreement”), which provides for a Business Combination between the Company and Rising Dragon Acquisition Corp., a Cayman Islands exempted company (“Rising Dragon”). Pursuant to the Merger Agreement, the Business Combination will be effected in two steps: (i) Rising Dragon will merge with and into Xpand Boom Technology Inc., a Cayman Islands exempted company and wholly owned subsidiary of Rising Dragon (“PubCo”), with PubCo remaining as the surviving publicly traded entity (the “Reincorporation Merger”), and PubCo as the surviving company after the Reincorporation Merger is hereinafter referred to, after the effective time of the Reincorporation Merger, as the “PubCo” or “Reincorporation Surviving Corporation”; (ii) immediately following the Reincorporation Merger, Xpand Boom Solutions Inc. (“Merger Sub”), a Cayman Islands exempted company and wholly owned subsidiary of PubCo, will be merged with and into the Company, resulting in the Company being a wholly owned subsidiary of PubCo (the “Acquisition Merger”). The Merger Agreement is by and among Rising Dragon, PubCo, Merger Sub, the Company, certain shareholder of the Company (“Principal Shareholder”) and Bin Xiong, an individual as the representative of Principal Shareholder of the Company (“Principal Shareholder’ Representative”).
The aggregate consideration for the Acquisition Merger is $350,000,000, payable in the form of 35,000,000 newly issued PubCo Ordinary Shares (the “Closing Payment Shares”) valued at $10.00 per share to the Company and its shareholders. At the closing of the Acquisition Merger, the issued and outstanding shares in the Company held by the former shareholders will be cancelled and cease to exist, in exchange for the issuance of an aggregate of 35,000,000 ordinary shares of a par value of $0.0001 each of PubCo (“PubCo Ordinary Shares”). At the closing of the Acquisition Merger, the one fully paid share in Merger Sub held by PubCo will become one fully paid share in the surviving company, so that the Company will become a wholly-owned subsidiary of PubCo.
In addition to the Closing Payment Shares, Mr. Bin Xiong, the Chief Executive Officer of the Company will be entitled to receive earn-out shares as follows: (i) 10,000,000 PubCo Class A Ordinary Shares if the revenue of the Reincorporation Surviving Corporation and its subsidiaries, as a group, equals or exceeds RMB300,000,000 for the fiscal year containing the Closing Date (the “First Record Year”), as reflected on the audited consolidated financial statements of the Company as of and for the First Record Year filed with the SEC; and (ii) 10,000,000 PubCo Class A Ordinary Shares if the revenue of the Reincorporation Surviving Corporation and its subsidiaries, as a group, equals or exceeds RMB600,000,000 for the fiscal year following the First Record Year (the “Second Record Year”), as reflected on the audited consolidated financial statements of the Company as of and for the Second Record Year filed with the SEC. RMB, also known as Renminbi or Chinese yuan, means the legal currency of the PRC.
Other than the above, the Company has analyzed, in accordance with ASC 855-10, its operations subsequent to June 30, 2024 to the date these combined financial statements were issued, and has determined that, there are no additional material subsequent events to disclose in these combined financial statements other than noted above.
NOTE 17 — CONDENSED FINANCIAL INFORMATION OF THE PARENT COMPANY
As the reorganization were not signed until December 31, 2024, financial statements of the parent company are not required as of June 30, 2024.
| F-59 |
HZJL
Cayman Limited
Unaudited Condensed Consolidated and Combined Balance Sheets
As of December 31, 2024 and June 30, 2024
(Expressed in U.S. dollar)
| December 31, 2024 | June 30, 2024 | |||||||
| (unaudited) | ||||||||
| ASSETS | ||||||||
| Current Assets: | ||||||||
| Cash and cash equivalents | $ | 561,413 | $ | 116,126 | ||||
| Restricted cash | 8,604 | 8,636 | ||||||
| Accounts receivable | 4,420,217 | 4,186,563 | ||||||
| Prepayments | 3,404,285 | 2,176,616 | ||||||
| Due from related parties | 9,932,221 | 7,867,116 | ||||||
| Loans receivable | 1,116,742 | 1,121,675 | ||||||
| Other current assets | 514,401 | 501,737 | ||||||
| Total current assets | 19,957,883 | 15,978,469 | ||||||
| Non-current assets: | ||||||||
| Long-term investments | 41,100 | 50,981 | ||||||
| Deferred tax assets | 249,493 | 51,724 | ||||||
| Total non-current assets | 290,593 | 102,705 | ||||||
| TOTAL ASSETS | $ | 20,248,476 | $ | 16,081,174 | ||||
| LIABILITIES AND EQUITY | ||||||||
| LIABILITIES | ||||||||
| Current liabilities | ||||||||
| Short-term borrowings | $ | 4,014,084 | $ | 2,999,780 | ||||
| Accounts payable | 2,082,055 | 1,813,921 | ||||||
| Contract liabilities | 579,041 | 187,894 | ||||||
| Income taxes payable | 970,166 | 482,029 | ||||||
| Due to related parties | 3,088,352 | 2,487,845 | ||||||
| Other current liabilities | 1,030,143 | 1,044,598 | ||||||
| Loans payable | 1,551,970 | 1,517,186 | ||||||
| Total current liability | 13,315,811 | 10,533,253 | ||||||
| TOTAL LIABILITIES | 13,315,811 | 10,533,253 | ||||||
| EQUITY: | ||||||||
| Ordinary shares (par value $0.0001 per share, 500,000,000 shares authorized, 50,0000,000 and 50,0000,000 shares issued and outstanding as of December 31, 2024 and June 30, 2024, respectively)* | 5,000 | 5,000 | ||||||
| Additional paid-in capital | 9,289,334 | 9,289,334 | ||||||
| Accumulated deficits | (3,153,268 | ) | (3,830,999 | ) | ||||
| Accumulated other comprehensive income | 273,921 | 310,610 | ||||||
| TOTAL HZJL CAYMAN LIMITED SHAREHOLDERS’ EQUITY | 6,414,987 | 5,773,945 | ||||||
| Non-controlling interest | 517,678 | (226,024 | ) | |||||
| TOTAL LIABILITIES AND EQUITY | $ | 20,248,476 | $ | 16,081,174 | ||||
* The share information is presented on a retroactive basis to reflect the reorganization effected on December 31, 2024 (Note 1).
The accompanying notes are an integral part of these unaudited condensed consolidated and combined financial statements.
| F-60 |
HZJL
Cayman Limited
Unaudited Condensed Consolidated and Combined Statements of Operations and Comprehensive (Loss) Income
For the Six Months Ended December 31, 2024 and 2023
(Expressed in U.S. dollar, except for share and per share data, unless otherwise noted)
| For the six months ended December 31, | ||||||||
| 2024 | 2023 | |||||||
| Revenues from third parties | $ | 12,880,776 | $ | 6,651,408 | ||||
| Revenues from related parties | — | 68,384 | ||||||
| Revenues | 12,880,776 | 6,719,792 | ||||||
| Cost of revenues | (8,855,246 | ) | (6,077,958 | ) | ||||
| Gross profit | 4,025,530 | 641,834 | ||||||
| Operating expenses: | ||||||||
| Selling and marketing expenses | (1,559,953 | ) | (200,778 | ) | ||||
| General and administrative expenses | (557,852 | ) | (960,367 | ) | ||||
| Total operating expenses | (2,117,805 | ) | (1,161,145 | ) | ||||
| Income (loss) from operations | 1,907,725 | (519,311 | ) | |||||
| Other income (expenses): | ||||||||
| Interest expenses, net | (149,043 | ) | (50,883 | ) | ||||
| Other (expenses) income, net | (28,214 | ) | 185,534 | |||||
| Total other (expenses) income, net | (177,257 | ) | 134,651 | |||||
| Income (loss) before income taxes | 1,730,468 | (384,660 | ) | |||||
| Income tax expenses | (297,253 | ) | (110,990 | ) | ||||
| Net income (loss) | 1,433,215 | (495,650 | ) | |||||
| Less: Net income (loss) attributable to non-controlling interest | 755,484 | (158,599 | ) | |||||
| Net income (loss) attributable to HZJL Cayman Limited’s shareholders | $ | 677,731 | $ | (337,051 | ) | |||
| Comprehensive (loss) income | ||||||||
| Net income (loss) | $ | 1,433,215 | $ | (495,650 | ) | |||
| Other comprehensive income (loss) | ||||||||
| Foreign currency translation adjustments | (48,471 | ) | (103,344 | ) | ||||
| Comprehensive income (loss) | 1,384,744 | $ | (598,994 | ) | ||||
| Less: Comprehensive income (loss) attributable to non-controlling interest | 743,702 | (162,402 | ) | |||||
| Comprehensive income (loss) attributable to HZJL Cayman Limited’s shareholders | $ | 641,042 | $ | (436,592 | ) | |||
| Earnings (loss) per share* | ||||||||
| Basic and diluted | $ | 0.01 | $ | (0.01 | ) | |||
| Weighted average ordinary shares outstanding* | ||||||||
| Basic and diluted | 50,000,000 | 50,000,000 | ||||||
* The share information is presented on a retroactive basis to reflect the reorganization effected on December 31, 2024 (Note 1).
The accompanying notes are an integral part of these unaudited condensed consolidated and combined financial statements.
| F-61 |
HZJL
Cayman Limited
Unaudited Condensed Consolidated and Combined Statements of Changes in Shareholders’ Equity
For the Six Months Ended December 31, 2024 and 2023
(Expressed in U.S. dollar, except for share and per share data, unless otherwise noted)
| Attributable to HZJL Cayman Limited’s shareholders | ||||||||||||||||||||||||||||
| Ordinary Shares* | Additional | Retained Earnings | Accumulated other | Non | ||||||||||||||||||||||||
| Number of shares* | Amount | paid-in capital | (Accumulated Deficits) | comprehensive income (loss) | controlling interest | Total Equity | ||||||||||||||||||||||
| Balance as of June 30, 2023 | 50,000,000 | $ | 5,000 | $ | 408,529 | $ | (5,146,096 | ) | $ | 360,535 | $ | (32,978 | ) | $ | (4,405,010 | ) | ||||||||||||
| Net loss | — | — | — | (337,051 | ) | — | (158,599 | ) | (495,650 | ) | ||||||||||||||||||
| Foreign currency translation adjustment | — | — | — | — | (99,541 | ) | (3,803 | ) | (103,344 | ) | ||||||||||||||||||
| Balance as of December 31, 2023 | 50,000,000 | $ | 5,000 | $ | 408,529 | $ | (5,483,147 | ) | $ | 260,994 | $ | (195,380 | ) | $ | (5,004,004 | ) | ||||||||||||
| Balance as of June 30, 2024 | 50,000,000 | $ | 5,000 | $ | 9,289,334 | $ | (3,830,999 | ) | $ | 310,610 | $ | (226,024 | ) | $ | 5,547,921 | |||||||||||||
| Net income | — | — | — | 677,731 | — | 755,484 | 1,433,215 | |||||||||||||||||||||
| Foreign currency translation adjustment | — | — | — | — | (36,689 | ) | (11,782 | ) | (48,471 | ) | ||||||||||||||||||
| Balance as of December 31, 2024 | 50,000,000 | $ | 5,000 | $ | 9,289,334 | $ | (3,153,268 | ) | $ | 273,921 | $ | 517,678 | $ | 6,932,665 | ||||||||||||||
* The share information is presented on a retroactive basis to reflect the reorganization effected on December 31, 2024 (Note 1).
The accompanying notes are an integral part of these unaudited condensed consolidated and combined financial statements.
| F-62 |
HZJL
Cayman Limited
Unaudited Condensed Consolidated and Combined Statements of Cash Flows
For the Six Months Ended December 31, 2024 and 2023
(Expressed in U.S. dollar)
| For the six months ended December 31, | ||||||||
| 2024 | 2023 | |||||||
| Net cash provided by operating activities | $ | 921,688 | $ | 13,074,294 | ||||
| Cash flows from investing activities | ||||||||
| Investment in an equity investee | (41,802 | ) | — | |||||
| Advances made to third parties | — | (1,126,714 | ) | |||||
| Advances made to related parties | (2,788,619 | ) | (1,165,459 | ) | ||||
| Repayments from related parties | 653,048 | 15,350 | ||||||
| Net cash used in investing activities | (2,177,373 | ) | (2,276,823 | ) | ||||
| Cash flows from financing activities | ||||||||
| Proceeds from short-term borrowings | 4,403,138 | 1,631,028 | ||||||
| Repayment of short-term borrowings | (3,358,089 | ) | (414,668 | ) | ||||
| Proceeds from third party borrowings | 42,162 | 275,461 | ||||||
| Repayment of third party borrowings | — | (1,124,827 | ) | |||||
| Proceeds from related party borrowings | 3,997,843 | 1,161,968 | ||||||
| Repayment of related party borrowings | (3,375,949 | ) | (12,328,934 | ) | ||||
| Net cash provided by (used in) financing activities | 1,709,105 | (10,799,972 | ) | |||||
| Effect of Exchange rate on cash, cash equivalents and restricted cash | (8,165 | ) | (18,344 | ) | ||||
| Net change in cash, cash equivalents and restricted cash | 445,255 | (20,845 | ) | |||||
| Cash, cash equivalents and restricted cash at beginning of the period | 124,762 | 49,223 | ||||||
| Cash, cash equivalents and restricted cash at end of the period | $ | 570,017 | $ | 28,378 | ||||
| Supplemental disclosure of cash flow information: | ||||||||
| Cash paid for income taxes | $ | — | $ | — | ||||
| Cash paid for interest expenses | $ | 149,097 | $ | 43,260 | ||||
Reconciliation of cash, cash equivalents and restricted cash to the consolidated and combined balance sheets
| December 31, 2024 | June 30, 2024 | |||||||
| Cash and cash equivalents | $ | 561,413 | $ | 116,126 | ||||
| Restricted cash | 8,604 | 8,636 | ||||||
| $ | 570,017 | $ | 124,762 | |||||
The accompanying notes are an integral part of these unaudited condensed consolidated and combined financial statements.
| F-63 |
HZJL
Cayman Limited
Notes to the Unaudited Condensed Consolidated and Combined Financial Statements
NOTE 1 — ORGANIZATION AND NATURE OF OPERATIONS
HZJL Cayman Limited (“HZJL”, or the “Company”) is a holding company incorporated on March 28, 2024, under the laws of the Cayman Islands. The Company’s wholly owned subsidiaries in the PRC commenced operations on February 14, 2022, and operate three major businesses including (i) supply of food products, (ii) provision of branding services, and (iii) provision of online software services.
The accompanying unaudited condensed consolidated and combined financial statements reflect the activities of HZJL and each of the following entities as of December 31, 2024:
| Name of Entity | Date of Incorporation | Place of Incorporation | % of Ownership | Principal Activities | ||||||
| Parent company: | ||||||||||
| HZJL | March 28, 2024 | Cayman Islands | Parent | Investment holding | ||||||
| Wholly owned subsidiaries of HZJL | ||||||||||
| JOY A Limited (“HZJL BVI”) | April 11, 2024 | British Virgin Island | 100 | % | Investment holding | |||||
| Zhai Dada HK Limited (“HZJL HK”) | April 26, 2024 | Hong Kong | 100 | % | Investment holding | |||||
| Huzhou Xilin Information Technology Co., Ltd. (“HZJL WFOE I”) | October 25, 2024 | PRC | 100 | % | Investment holding | |||||
| Yangzhou Xiyue Information Technology Co., Ltd. (“HZJL WFOE II”) | December 4, 2024 | PRC | 100 | % | Investment holding | |||||
| Hangzhou Wukong Supply Chain Management Co., Ltd. (“Hangzhou Wukong”) | February 14, 2022 | PRC | 99.67 | % | Supply of food products | |||||
| Hangzhou Yanwei Supply Chain Management Co., Ltd. (“Hangzhou Yanwei”)* | June 4, 2021 | PRC | 100 | % | Supply of food products and provision of branding services | |||||
| Hangzhou Zhulin Technology Co., Ltd. (“Hangzhou Zhulin”)* | January 19, 2020 | PRC | 98.18 | % | Provision of online software services | |||||
| Huzhou Jisheng Culture Media Co., Ltd. (“Huzhou Jisheng”)** | November 25, 2021 | PRC | 69.98 | % | Provision of branding services | |||||
* Hangzhou Yanwei is a wholly owned subsidiary of Hangzhou Wukong; and 98.18% equity interest of Hangzhou Zhulin is owned by Hangzhou Wukong.
** 69.98% equity interest of Huzhou Jisheng is owned by Hangzhou Zhulin
| F-64 |
HZJL
Cayman Limited
Notes to the Unaudited Condensed Consolidated and Combined Financial Statements
NOTE 1 — ORGANIZATION AND NATURE OF OPERATIONS (cont.)
Reorganization
On December 31, 2024, the Company completed the reorganization of entities under common control of its existing shareholders, who collectively owned 99.67% of the equity interests of Hangzhou Wukong and its subsidiaries prior to the reorganization. HZJL BVI, HZJL HK and HZJL WFOE I and HZJL WFOE II were established as holding companies of Hangzhou Wukong and its subsidiaries, and all of these entities are under common control which results in the consolidation of Hangzhou Wukong and its subsidiaries which have been accounted for as a reorganization of entities under common control at carrying value.
The Company recognizes the net assets of Hangzhou Wukong and its subsidiaries at their historical carrying amounts in the unaudited condensed consolidated financial statements. No new goodwill is recognized. The carrying values of Hangzhou Wukong and its subsidiaries’ net assets were added to the carrying values of the Company’s net assets.
The consolidation has been treated as a corporate restructuring (“Reorganization”) of entities under common control and thus the current capital structure has been retroactively presented in prior periods as if such structure existed at that time and in accordance with ASC 805-50-45-5, the entities under common control are presented on a combined basis for all periods to which such entities were under common control.
NOTE 2 — SIGNIFICANT ACCOUNTING POLICIES
Basis of Presentation and Principles of Consolidation
The interim unaudited condensed consolidated and combined financial statements are prepared and presented in accordance with accounting principles generally accepted in the United States (“US GAAP”).
The unaudited condensed consolidated and combined financial information as of December 31, 2024 and six months ended December 31, 2024 and 2023 has been prepared without audit, pursuant to the rules and regulations of the SEC and pursuant to Regulation S-X. Certain information and footnote disclosures, which are normally included in annual financial statements prepared in accordance with US GAAP, have been omitted pursuant to those rules and regulations. The unaudited interim financial information should be read in conjunction with the audited financial statements and the notes thereto, included in the registration statements for the fiscal years ended June 30, 2024 and 2023.
In the opinion of the management, the accompanying unaudited condensed consolidated and combined financial statements reflect all normal recurring adjustments, which are necessary for a fair presentation of financial results for the interim periods presented. The Company believes that the disclosures are adequate to make the information presented not misleading. The accompanying unaudited condensed consolidated and combined financial statements have been prepared using the same accounting policies as used in the preparation of the Company’s consolidated and combined financial statements for the years ended June 30, 2024 and 2023. The results of income for the six months ended December 31, 2024 are not necessarily indicative of the results for the full years.
The unaudited condensed consolidated and combined financial statements include the financial statements of the Company and its subsidiaries. All intercompany transactions and balances among the Company and its subsidiaries have been eliminated upon consolidation. A subsidiary is an entity in which (i) the Company directly or indirectly controls more than 50% of the voting power; or (ii) the Company has the power to appoint or remove the majority of the members of the board of directors or to cast a majority of votes at the meetings of the board of directors or to govern the financial and operating activities.
| F-65 |
HZJL
Cayman Limited
Notes to the Unaudited Condensed Consolidated and Combined Financial Statements
NOTE 2 — SIGNIFICANT ACCOUNTING POLICIES (cont.)
Foreign Currency Translation
The reporting currency of the Company is U.S. dollars (“US$” or “$”) and the accompanying unaudited condensed consolidated and combined financial statements have been expressed in US$. Since the Company operates primarily in the PRC, the operating subsidiaries’ functional currency is the Chinese Yuan (“RMB”). The Company’s unaudited condensed consolidated and combined financial statements have been translated into the reporting currency US$”. Assets and liabilities of the Company are translated at the exchange rate at each reporting period end date. Equity is translated at historical rates. Income and expense accounts are translated at the average rate of exchange during the reporting period. Because cash flows are translated based on the average translation rate, amounts related to assets and liabilities reported on the statement of cash flows will not necessarily agree with changes in the corresponding balances on the balance sheet. The resulting translation adjustments are reported under other comprehensive (loss) income.
The following table outlines the currency exchange rates that were used in creating the unaudited condensed consolidated and combined financial statements in this report:
| December
31, 2024 | June 30,
2024 | |||||||
| Year-end spot rate | 7.2993 | 7.2672 | ||||||
| For the six months ended December 31, | ||||||||
| 2024 | 2023 | |||||||
| Average rate | 7.1767 | 7.2347 | ||||||
Accounts Receivable
Accounts receivable are recorded at the gross billing amount less an allowance for any uncollectible accounts due from the customers. Accounts receivable do not bear interest.
Since July 1, 2022, the Company early adopted Accounting Standards Update (“ASU”) No. 2016-13, Financial Instruments-Credit Losses (Topic 326): Measurement of Credit Losses on Financial Instruments (“ASU 2016-13”), using the modified retrospective transition method. ASU 2016-13 replaces the existing incurred loss impairment model with an expected loss methodology, which will result in more timely recognition of credit losses. Upon adoption, the Company changed the impairment model to utilize a forward-looking current expected credit losses (CECL) model in place of the incurred loss methodology for financial instruments measured at amortized cost and receivables resulting from the application of ASC 606, including contract assets. The adoption of the guidance had no impact on the allowance for credit losses for accounts receivable on June 30, 2021.
The Company maintains an allowance for credit losses and records the allowance for credit losses as an offset to accounts receivable and the estimated credit losses charged to the allowance is classified as “General and administrative expenses” in the unaudited condensed consolidated and combined statements of operations and comprehensive income (loss). The Company assesses collectability by reviewing accounts receivable on aging schedules. In determining the amount of the allowance for credit losses, the Company considers historical collectability based on past due status, the age of the balances, current economic conditions, reasonable and supportable forecasts of future economic conditions, and other factors that may affect the Company’s ability to collect from customers. Delinquent account balances are written-off against the allowance for expected credit loss after management has determined that the likelihood of collection is not probable.
For the six months ended December 31, 2024 and 2023, the Company did not provide allowance for expected credit losses against accounts receivable.
| F-66 |
HZJL
Cayman Limited
Notes to the Unaudited Condensed Consolidated and Combined Financial Statements
NOTE 2 — SIGNIFICANT ACCOUNTING POLICIES (cont.)
Revenue Recognition
The Company adopted ASC 606, Revenue from Contracts with Customers (“ASC 606”) on July 1, 2022, using the modified retrospective approach for contracts that were not completed as of June 30, 2021. ASC 606 establishes principles for reporting information about the nature, amount, timing and uncertainty of revenue and cash flows arising from the entity’s contracts to provide goods or services to customers. The core principle requires an entity to recognize revenue to depict the transfer of goods or services to customers in an amount that reflects the consideration that it expects to be entitled to receive in exchange for those goods or services recognized as performance obligations are satisfied. In according with ASC 606, revenues are recognized when control of the promised services is transferred to customers, in an amount that reflects the consideration the Company expects to be entitled to in exchange for those services.
The Company identified each distinct service, or each series of distinct services that are substantially the same and that have the same pattern of transfer to the customer, as one performance obligation.
The Company applied a practical expedient to expense costs as incurred for costs to obtain a contract with a customer when the amortization period would have been one year or less. The Company has no material incremental costs of obtaining contracts with customers that the Company expects the benefit of those costs to be longer than one fiscal year, which need to be recognized as assets.
For the six months ended December 31, 2024 and 2023, the Company primarily generated revenues from the following services:
Supply of food products
The Company generates revenue from supply of food products. The terms of pricing and payment stipulated in the contract are fixed. One performance obligation is identified in the contracts with customers. The Company recognizes the food product revenues on a gross basis as the Company is acting as a principal in these transactions and is responsible for fulfilling the promise to provide the specified goods, subject to inventory risks and has the discretion in establishing prices. Revenue is recognized at the point when the food products are accepted by the customers.
Provision of branding services
The Company has branding service revenues from deployment of mobile app ads on social media or television ads on TV shows for the purpose of running advertising campaigns for customers. The Company acts as an agent between customers and medias by helping customers procure advertisements on various medias and facilitate ad deployment on their preferred advertising channels. The Company’s overall promise represents a combined output that is a single performance obligation; there is no multiple performance obligations.
The Company evaluated its branding service contracts and determined that it was not acting as principal in these arrangements with customers since it never takes control of the ad inventories at any time. The Company generates branding service revenues by charging service fees to customers.
| F-67 |
HZJL Cayman Limited
Notes to the Unaudited Condensed Consolidated and Combined Financial Statements
NOTE 2 — SIGNIFICANT ACCOUNTING POLICIES (cont.)
Revenue Recognition (cont.)
Provision of branding services (cont.)
The customers do not receive the benefits from the Company’s services until the medias deliver advertising services to the customers. The Company recognizes branding service revenues when it transfers the control of the service commitments. The Company facilitated the advertising services under cost per click (“CPC”) and cost per acquisition (“CPA”) pricing model of media. Under either pricing model of media, the Company recognizes revenues at the point of time as the medias deliver advertising services at the point in time.
Provision of online software services
The Company operates an advanced online application software named “JiManMan”, which offers digital marketing tools that help business partners attract new customers and enhance retention through effective engagement strategies. The Company recognizes revenues ratably over the period during which the online software services are provided.
Contract assets and contract liabilities
The Company classifies its right to consideration in exchange for services transferred to a customer as either a receivable or a contract asset. A receivable is a right to consideration that is unconditional as compared to a contract asset which is a right to consideration that is conditional upon factors other than the passage of time. The Company recognizes accounts receivable in its unaudited condensed consolidated and combined balance sheets when it performs a service in advance of receiving consideration and it has the unconditional right to receive consideration. A contract asset is recorded when the Company has transferred services to the customer before payment is received or is due, and the Company’s right to consideration is conditional on future performance or other factors in the contract. As of December 31, 2024 and June 30, 2024, the Company had no contract assets.
The Company capitalizes incremental costs incurred to fulfill contracts that (i) relate directly to the contract, (ii) are expected to generate resources that will be used to satisfy the performance obligation under the contract, and (iii) are expected to be recovered through revenue generated under the contract. These contract costs are recorded as cost of revenue upon the recognition of the related revenue. Provisions for estimated losses, if any, on uncompleted contracts are recorded in the financial period in which such losses become probable based on the current contract estimates. As of December 31, 2024 and June 30, 2024, the Company had no deferred contract costs.
Contract liabilities are recorded when consideration is received from the consumers prior to the fulfilment of performance obligation. The Company had contract liabilities of $579,041 and $187,894 as of December 31, 2024 and June 30, 2024, respectively. Contract liabilities of $187,894 as of June 30, 2024 were recognized as revenues for the six months ended December 31, 2024. Contract liabilities of $39,570 as of June 30, 2023 were recognized as revenues for the six months ended December 31, 2023.
| F-68 |
HZJL
Cayman Limited
Notes to the Unaudited Condensed Consolidated and Combined Financial Statements
NOTE 2 — SIGNIFICANT ACCOUNTING POLICIES (cont.)
Revenue Recognition (cont.)
The following table summarizes disaggregated revenue from contracts with customers by service type:
| For the six months ended December 31, | ||||||||
| 2024 | 2023 | |||||||
| Supply of food products | $ | 1,586,587 | $ | 4,136,849 | ||||
| Provision of branding services | 9,930,672 | 1,369,540 | ||||||
| Provision of online software services | 1,363,517 | 1,213,403 | ||||||
| $ | 12,880,776 | $ | 6,719,792 | |||||
The following table summarizes disaggregated revenue from contracts with customers by timing of revenue recognition:
| For the six months ended December 31, | ||||||||
| 2024 | 2023 | |||||||
| Goods transferred at a point in time | $ | 1,586,587 | $ | 4,136,849 | ||||
| Services transferred at a point in time | 9,930,672 | 1,369,540 | ||||||
| Services transferred over time | 1,363,517 | 1,213,403 | ||||||
| $ | 12,880,776 | $ | 6,719,792 | |||||
Segment Reporting
The Company uses the “management approach” in determining reportable operating segments. The management approach considers the internal organization and reporting used by the Company’s chief operating decision maker for making operating decisions and assessing performance as the source for determining the Company’s reportable segments.
The Company’s CODM has been identified as the Chief Executive Officer who reviews the unaudited condensed consolidated and combined net loss when making decisions about allocating resources and assessing performances of the Company. Significant segment expenses are the same as these presented under the operating costs and expenses in the consolidated statements of operations, and the difference between net revenue less the significant segment expenses and consolidated net income are the other segment items. The CODM reviews and utilizes these financial metrics together with non-financial metrics to make operation decisions, such as the determination of the fee rate at which the Company charges for its products and services and the allocation of budget between operating costs and expense.
The Company has determined that it has three operating segments which were comprised of (i) supply of food products, (ii) provision of branding services, and (iii) provision of online software services. (Note 14)
| F-69 |
HZJL
Cayman Limited
Notes to the Unaudited Condensed Consolidated and Combined Financial Statements
NOTE 2 — SIGNIFICANT ACCOUNTING POLICIES (cont.)
Recently adopted accounting standards
In November 2023, the FASB issued ASU 2023-07, Segment Reporting (Topic ASC 280) Improvements to Reportable Segment Disclosures (“ASU 2023-07”). The ASU improves reportable segment disclosure requirements, primarily through enhanced disclosure about significant segment expenses. The enhancements under this update require disclosure of significant segment expenses that are regularly provided to the CODM and included within each reported measure of segment profit or loss, require disclosure of other segment items by reportable segment and a description of the composition of other segment items, require annual disclosures under ASC 280 to be provided in interim periods, clarify use of more than one measure of segment profit or loss by the CODM, require that the title of the CODM be disclosed with an explanation of how the CODM uses the reported measures of segment profit or loss to make decisions, and require that entities with a single reportable segment provide all disclosures required by this update and required under ASC 280. The Company adopted ASU 2023-07 for the six months ended December 31, 2024. The adoption of this standard did not have a material impact to our results of operations, cash flows or financial condition.
Concentration and Credit Risk
1) Credit risk
Assets that potentially subject the Company to significant concentration of credit risk primarily consist of cash and cash equivalents. The maximum exposure of such assets to credit risk is their carrying amount as at the balance sheet dates. As of December 31, 2024, cash and cash equivalents of $561,413 were deposited in financial institutions in the PRC, and each bank accounts is insured by the government authority with the maximum limit of RMB500,000 (equivalent $68,500). To limit exposure to credit risk relating to deposits, the Company primarily places cash and cash equivalent deposits with large financial institutions in China of high credit quality.
The risk with respect to accounts receivable, loans receivable, other receivable and amounts due from related parties is mitigated by credit evaluations the Company performs on its customers and its ongoing monitoring processes of outstanding balances.
The Company’s operations are carried out in China. Accordingly, the Company’s business, financial condition and results of operations may be influenced by the political, economic and legal environments in the PRC as well as by the general state of the PRC’s economy. In addition, the Company’s business may be influenced by changes in governmental policies with respect to laws and regulations, anti-inflationary measures, currency conversion and remittance abroad, rates and methods of taxation among other factors.
2) Foreign currency risk
Substantially all of the Company’s operating activities that were conducted through the Company’s PRC subsidiaries and related assets and liabilities are denominated in RMB, which is not freely convertible into foreign currencies. All foreign exchange transactions take place either through the PBOC or other authorized financial institutions at exchange rates quoted by PBOC. Approval of foreign currency payments by the PBOC or other regulatory institutions requires submitting a payment application form together with suppliers’ invoices and signed contracts. The value of RMB is subject to changes in central government policies and to international economic and political developments affecting supply and demand in the China Foreign Exchange Trading System market.
| F-70 |
HZJL
Cayman Limited
Notes to the Unaudited Condensed Consolidated and Combined Financial Statements
NOTE 2 — SIGNIFICANT ACCOUNTING POLICIES (cont.)
3) Concentration risks
Accounts receivable are typically unsecured and derived from goods sold and services rendered to customers that are located primarily in China, thereby exposed to credit risk. The risk is mitigated by the Company’s assessment of customers’ creditworthiness and its ongoing monitoring of outstanding balances. The Company has a concentration of its receivables with specific customers.
As of December 31, 2024, one customer accounted for 93.6% of accounts receivable. As of June 30, 2024, one customer accounted for 93.3% of accounts receivable.
For the six months ended December 31, 2024, no customers accounted for more than 10% of revenues. For the six months ended December 31, 2023, two customers accounted for 32.3% and 29.1% of revenues, respectively.
As of December 31, 2024, two suppliers accounted for 20.2% and 14.9% of accounts payable, respectively. As of June 30, 2024, one supplier accounted for 51.3% of accounts payable.
For the six months ended December 31, 2024, three suppliers accounted for 23.0%, 15.6% and 14.7% of purchases, respectively. For the six months ended December 31, 2023, three suppliers accounted for 33.1%, 22.2% and 17.% of revenues, respectively.
NOTE 3 — ACCOUNTS RECEIVABLE
Accounts receivable, net consisted of the following:
| As of | ||||||||
| December 31, 2024 | June 30, 2024 | |||||||
| Accounts receivable | $ | 5,195,741 | $ | 4,965,512 | ||||
| Less: allowance for credit losses | (775,524 | ) | (778,949 | ) | ||||
| Accounts receivable, net | $ | 4,420,217 | $ | 4,186,563 | ||||
The following is the movement of allowance for credit losses as of December 31, 2024 and June 30, 2024.
| As of | ||||||||
| December 31, 2024 | June 30, 2024 | |||||||
| Opening balance | $ | 778,949 | $ | 1,292,842 | ||||
| Reversal of unutilized amounts | — | (514,063 | ) | |||||
| Foreign exchange adjustments | (3,425 | ) | 170 | |||||
| Ending balance | $ | 775,524 | $ | 778,949 | ||||
| F-71 |
HZJL Cayman Limited
Notes to the Unaudited Condensed Consolidated and Combined Financial Statements
NOTE 4 — LOANS RECEIVABLE
Loans receivable consisted of the following:
| As of | ||||||||
| December 31, 2024 | June 30, 2024 | |||||||
| Loan receivable due from a third party | $ | 1,116,742 | $ | 1,121,675 | ||||
For the six months ended December 31, 2024 and 2023, the Company made loans of $nil and $1,126,714 to a third party to support the working capital of the third party. The loan was interest-free and repayable on demand. As of the date of this report, the Company has fully settled the loan with the third party. The Company has no plans to make loans to third parties in the future.
NOTE 5 — LONG-TERM INVESTMENTS
Long term investment consisted of the following:
| As of | ||||||||
| December 31, 2024 | June 30, 2024 | |||||||
| Investment in one equity method investee (a) | $ | — | $ | 55,042 | ||||
| Investment in another equity method investee (b) | 41,100 | — | ||||||
| 41,100 | 55,042 | |||||||
| Less: accumulated share of equity loss | — | (4,061 | ) | |||||
| $ | 41,100 | $ | 50,981 | |||||
| (a) | As of June 30, 2024, the long-term investment represented an investment of 40% equity interest in one investee. The Company used equity method to measure the investment. During the six months ended December 31, 2024, the Company disposed of the investment in the investee and recognized investment loss of $51,624. |
| For the six months ended December 31, 2024 and 2023, the Company recorded a share equity loss of $nil and $738 on the investment. | |
| (b) | In December 2024, the Company made an investment of $41,802 to acquire 30% equity interest in another investee. The investee has not commenced operations as of December 31, 2024 and the Company did not record share of equity income or loss for the six months ended December 31, 2024. As of December 31, 2024, the Company did not provide impairment against the investment in the investee. |
| F-72 |
HZJL
Cayman Limited
Notes to the Unaudited Condensed Consolidated and Combined Financial Statements
NOTE 6 — SHORT-TERM BORROWINGS
| As of | ||||||||
| December 31, 2024 | June 30, 2024 | |||||||
| Borrowings from banks | $ | 3,877,085 | $ | 2,999,780 | ||||
| Borrowings from financial institutions | 136,999 | — | ||||||
| $ | 4,014,084 | $ | 2,999,780 | |||||
For the six months ended December 31, 2024, the Company entered into seven one-year loan agreements with a total amount of $4,263,798 from six banks. The interest rates of the bank borrowings ranged between 3.30% and 3.90%. For the six months ended December 31, 2024, the Company also repaid bank borrowings of $3,358,089 to five banks.
For the six months ended December 31, 2024, the Company also entered into a one-year loan agreement in the amount of $139,340 from one financial institution. The interest rates of the bank borrowings ranged between 3.30% and 3.90%. For the six months ended December 31, 2024, the Company also repaid bank borrowings of $3,358,089 to five banks.
For the six months ended December 31, 2023, the Company entered into two one-year loan agreements with a total amount of $1,631,029 from two banks. The interest rates of the bank borrowings ranged between 3.62% and 3.80%. Both loans were repaid on due dates. For the six months ended December 31, 2023, the Company repay bank borrowings of $414,668 to one bank.
As of December 31, 2024, bank borrowings of $684,997 was guaranteed by a third party guarantor, bank borrowings of $630,197 was guaranteed by Mr. Xiong Bin, the controlling shareholder of the Company, and bank borrowings of $2,150,892 were collateralized by properties owned by Mr. Xiong Bin.
As of June 30, 2024, bank borrowings of $688,023 was guaranteed by a third party guarantor, and bank borrowings of $2,311,757 were collateralized by properties owned by Mr. Xiong Bin, the controlling shareholder of the Company.
For the six months ended December 31, 2024 and 2023, the Company incurred interest expenses of $149,097 and $50,953, respectively.
NOTE 7 — CONTRACT LIABILITIES
A contract liability is an entity’s obligation to transfer goods or services to a customer for which the entity has received consideration or an amount of consideration is due from the customer. For the six months ended December 31, 2024 and 2023, certain customers made advances to the Company before branding services were provided. The advance payments were transferred into revenues upon revenue recognition.
As of December 31, 2024 and June 30, 2024, the movement of contract liabilities was as follows:
| As of | ||||||||
| December 31, 2024 | June 30, 2024 | |||||||
| Opening balance | $ | 187,894 | $ | 1,017,427 | ||||
| Addition of contract liabilities | 10,976,300 | 2,712,118 | ||||||
| Revenue recognition during the fiscal year | (10,577,630 | ) | (3,544,280 | ) | ||||
| Foreign exchange adjustment | (7,523 | ) | 2,629 | |||||
| Ending balance | $ | 579,041 | $ | 187,894 | ||||
| F-73 |
HZJL
Cayman Limited
Notes to the Unaudited Condensed Consolidated and Combined Financial Statements
NOTE 8 — OTHER CURRENT LIABILITIES
| As of | ||||||||
| December 31, 2024 | June 30, 2024 | |||||||
| Accrued payroll | $ | 54,227 | $ | 84,877 | ||||
| Rental fee payable | 65,988 | 138,282 | ||||||
| Other tax payable | 226,188 | 107,748 | ||||||
| Deposits payable | 440,249 | 442,194 | ||||||
| Others | 243,491 | 271,497 | ||||||
| $ | 1,030,143 | $ | 1,044,598 | |||||
NOTE 9 — LOANS PAYABLE
| As of | ||||||||
| December 31, 2024 | June 30, 2024 | |||||||
| Loans payable | $ | 1,551,970 | $ | 1,517,186 | ||||
As of December 31, 2024 and June 30, 2024, the loans payable represented borrowings of $1,551,970 and $1,517,186 due from six and five third-parties, respectively, to support the Company’s operations. The borrowings were interest-free and payable on demand.
For the six months ended December 31, 2024 and 2023, the Company borrowed $42,162 and $275,461, respectively, from one and one third party, respectively.
For the six months ended December 31, 2024, the Company did not repay borrowings to third parties. For the six months ended December 31, 2023, the Company repaid borrowings of $1,124,827 to one third party.
NOTE 10 — INCOME TAXES
Cayman Islands
Under the current laws of the Cayman Islands, the Company is not subject to tax on income or capital gain. Additionally, upon payments of dividends to the shareholders, no Cayman Islands withholding tax will be imposed.
British Virgin Islands
Under the current and applicable laws of BVI, HZJL BVI is not subject to tax on income or capital gains.
Hong Kong
HZJL HK is incorporated in Hong Kong and is subject to Hong Kong Profits Tax on the taxable income as reported in its statutory financial statements adjusted in accordance with relevant Hong Kong tax laws. The applicable tax rate is 16.5% on its taxable income generated from operations in Hong Kong. HZJL HK did not make any provisions for Hong Kong profit tax as there were no assessable profits derived from or earned in Hong Kong since inception. Additionally, payments of dividends by the subsidiary incorporated in Hong Kong to the Company are not subject to any Hong Kong withholding tax.
| F-74 |
HZJL
Cayman Limited
Notes to the Unaudited Condensed Consolidated and Combined Financial Statements
NOTE 10 — INCOME TAXES (cont.)
PRC
On March 16, 2007, the National People’s Congress of the PRC enacted an Enterprise Income Tax Law (“EIT Law”), under which Foreign Investment Enterprises (“FIEs”) and domestic companies would be subject to EIT at a uniform rate of 25%. The EIT law became effective on January 1, 2008. The Company’s subsidiaries in the PRC are subject to PRC income tax, which is computed according to the relevant laws and regulations in the PRC. Under the Corporate Income Tax Law of PRC, current corporate income tax rate of 25% is applicable to all PRC companies, including both domestic and foreign-invested companies.
For the six months ended December 31, 2024 and 2023, the income tax benefits (expenses) were comprised of the following:
| For the six months ended December 31, | ||||||||
| 2024 | 2023 | |||||||
| Current income tax expense | $ | (498,632 | ) | $ | (9,521 | ) | ||
| Deferred income tax benefits (expenses) | 201,379 | (101,469 | ) | |||||
| $ | (297,253 | ) | $ | (110,990 | ) | |||
The table below presents the deferred tax assets and liabilities on the unaudited condensed consolidated combined balance sheets.
| As of | ||||||||
| December 31, 2024 | June 30, 2024 | |||||||
| Net operating losses | $ | 931,794 | $ | 1,364,268 | ||||
| Allowance for credit losses | 775,524 | 778,949 | ||||||
| 1,707,318 | 2,143,217 | |||||||
| Less: valuation allowance | (1,457,825 | ) | (2,091,493 | ) | ||||
| Deferred tax assets, net | $ | 249,493 | $ | 51,724 | ||||
As of December 31, 2024, the Company had net operating loss carryforwards of $5,457,072 from its subsidiaries in the PRC, which expire starting in 2027. The Company evaluates its valuation allowance requirements at the end of each reporting period by reviewing all available evidence, both positive and negative, and considering whether, based on the weight of that evidence, a valuation allowance is needed. When circumstances cause a change in management’s judgement about the realizability of deferred tax assets, the impact of the change on the valuation allowance is generally reflected in income from operations. The future realization of the tax benefit of an existing deductible temporary difference ultimately depends on the existence of sufficient taxable income of the appropriate character within the carryforward period available under applicable tax law. As of December 31, 2024 and June 30, 2024, the Company provided valuation allowance of $1,457,825 and $2,091,493, respectively, against the deferred tax assets based upon management’s assessment as to their realization.
| F-75 |
HZJL
Cayman Limited
Notes to the Unaudited Condensed Consolidated and Combined Financial Statements
NOTE 10 — INCOME TAXES (cont.)
Uncertain tax position
As of December 31, 2024 and June 30, 2024, the Company had no significant uncertain tax positions that qualify for either recognition or disclosure in the unaudited condensed consolidated and combined financial statements. As of December 31, 2024, income tax returns for the tax years ended June 30, 2018 through 2023 remain open for statutory examination by PRC tax authorities.
The uncertain tax positions are related to tax years that remain subject to examination by the relevant tax authorities. Based on the outcome of any future examinations, or as a result of the expiration of statute of limitations for specific jurisdictions, it is reasonably possible that the related unrecognized tax benefits for tax positions taken regarding previously filed tax returns, might materially change from those recorded as liabilities for uncertain tax positions in the Company’s unaudited condensed consolidated and combined financial statements as of December 31, 2024 and June 30, 2024. In addition, the outcome of these examinations may impact the valuation of certain deferred tax assets (such as net operating losses) in future periods. The Company’s policy is to recognize interest and penalties accrued on any unrecognized tax benefits, if any, as a component of income tax expense. The Company does not anticipate any significant increases or decreases to its liability for unrecognized tax benefit within the next twelve months.
According to the PRC Tax Administration and Collection Law, the statute of limitations is three years if the underpayment of income taxes is due to computational errors made by the taxpayer. The statute of limitations will be extended to five years under special circumstances, which are not clearly defined, but an underpayment of income tax liability exceeding RMB100,000 (approximately $13,700) is specifically listed as a special circumstance. In the case of a transfer pricing related adjustment, the statute of limitations is ten years. There is no statute of limitations in the case of tax evasion.
Accounting for Uncertainty in Income Taxes
The tax authority of the PRC Government conducts periodic and ad hoc tax filing reviews on business enterprises operating in the PRC after those enterprises have completed their relevant tax filings. Therefore, the Company’s PRC entities’ tax filings results are subject to change. It is therefore uncertain as to whether the PRC tax authority may take different views about the Company’s PRC entities’ tax filings, which may lead to additional tax liabilities.
ASC 740 requires recognition and measurement of uncertain income tax positions using a “more-likely-than-not” approach. The Company’s management has evaluated the Company’s tax positions and concluded that provision for uncertainty in income taxes was not necessary as of December 31, 2024 and June 30, 2024.
| F-76 |
HZJL
Cayman Limited
Notes to the Unaudited Condensed Consolidated and Combined Financial Statements
NOTE 11 — RELATED PARTIES
| 1) | Nature of relationships with related parties |
The table below sets forth the major related parties and their relationships with the Company, with which the Company entered into transactions during the six months ended December 31, 2024 and 2023, or recorded balances as of December 31, 2024 and June 30, 2024.
| Name | Relationship with the Company | |
| Mr. Xiong Bin | The controlling shareholder of the Company | |
| Ms. Hu Huijie | Spouse of Mr. Xiong Bin | |
| Mr. Xiong Jie | Immediate family member of Mr. Xiong Bin | |
| Mr. Fan Chunhui | Director of HZJL IT | |
| Hangzhou Jialin Information Technology Co., Ltd. (“HZJL IT”) | An affiliate over which Mr. Xiong Bin owns 36.7% equity interest and exercises significant influence | |
| Shandong Jialin Information Technology Co., Ltd. (“SDJL IT”) | An affiliate controlled by HZJL IT | |
| Hangzhou Linhangyuan Culture Media Co., Ltd. (“Hangzhou LHY”) | An affiliate controlled by Mr. Xiong Bin | |
| Shandong Yuncaiyuan Network Technology Co., Ltd. (“Shandong Yuncaiyuan”) | An affiliate over which an entity controlled by Mr. Xiong Bin owns 30% equity interest and exercises significant influence | |
| Shandong Jiman Supply Chain Management Co., Ltd. (“SDJL SC”) | An affiliate controlled by HZJL IT | |
| Shandong Wukong Enterprise Service and Management Co., Ltd. (“Shandong WK”) | An affiliate controlled by HZJL IT | |
| Guoqu Supply Chain (Hangzhou) Co., Ltd. (“Guoqu”) | An affiliate over which an entity controlled by Ms. Hu Huijia owns 40% equity interest and exercises significant influence | |
| Hangzhou Maokoudai Media Co., Ltd. (“MKD”) | Controlled by Mr. Fan Chunhui | |
| Guangzhou Yuedong Supply Chain Management Co, Ltd. (“Guangzhou YD”) | An affiliate controlled by Mr. Xiong Bin | |
| Shandong Jiman Supply Chain Management Co, Ltd. (“Shandong JM”) | An affiliate controlled by HZJL IT | |
| Zhejiang Jialin Supply Chain Management Co., Ltd. (“ZJJL SC”) | An affiliate controlled by HZJL IT | |
| Hangzhou Lenghe Culture Media Co., Ltd. (“Hangzhou LH”) | An affiliate controlled by HZJL IT | |
| Hangzhou Jialin Group (“HZJL Group”) | An affiliate controlled by HZJL IT | |
| Hangzhou Chuquan Culture Conulting Co., Ltd. (“Hangzhou Chuquan Culture Consulting”) | An affiliate controlled by HZJL IT | |
| Beijing 72 Creative & Interactive Media Culture Co., Ltd. (“Beijing 72”) | An affiliate controlled by HZJL IT | |
| Hangzhou Chugequan Media Co., Ltd. (“Hangzhou Chugequan Media”) | An affiliate controlled by Hangzhou Chuquan Culture Consulting |
| F-77 |
HZJL
Cayman Limited
Notes to the Unaudited Condensed Consolidated and Combined Financial Statements
NOTE 11 — RELATED PARTIES (cont.)
| 2) | Balances with related parties |
| December 31, 2024 | June 30, 2024 | |||||||
| Due from related parties (a): | ||||||||
| Hangzhou LHY | $ | 2,219,584 | $ | 991,380 | ||||
| Shandong WK | 1,648,915 | 827,017 | ||||||
| Mr. Xiong Bin | 1,544,818 | 1,819,114 | ||||||
| Shandong Yuncaiyuan | 1,228,272 | 1,233,697 | ||||||
| SDJL IT | 977,452 | 981,770 | ||||||
| SDJL SC | 958,752 | 962,986 | ||||||
| Guoqu | 447,012 | 448,987 | ||||||
| Hangzhou Chuquan Culture Consulting | 367,084 | — | ||||||
| Guangzhou YD | 226,125 | 192,254 | ||||||
| MKD | 165,756 | 166,488 | ||||||
| Others | 148,451 | 243,423 | ||||||
| $ | 9,932,221 | $ | 7,867,116 | |||||
| Due to related parties (b): | ||||||||
| Shandong JM | $ | 804,348 | $ | 807,901 | ||||
| HZJL IT (c) | 452,308 | — | ||||||
| HZJL Group | 433,135 | 286,862 | ||||||
| ZJJL SC | 355,144 | 356,712 | ||||||
| Hangzhou LH | 301,399 | 302,730 | ||||||
| Hangzhou Chuquan Culture Consulting | 137,675 | 141,723 | ||||||
| Hangzhou Chugequan Media | 123,991 | 124,539 | ||||||
| Beijing 72 | — | 137,605 | ||||||
| Others | 480,352 | 329,773 | ||||||
| $ | 3,088,352 | $ | 2,487,845 | |||||
| (a) | The balances due from related parties represented the loans made to the related parties to support their working capital. The loans were interest free and repayable on demand. As of the date of this report, the Company fully settled outstanding balances with related parties. The Company had no plans to make loans to related parties in the future. |
| (b) | The balance due to related parties represented the borrowings from the related parties to support the Company’s working capital. The loans were interest free and payable on demand. |
| (c) | On June 30, 2024, Mr. Xiong Bin (Mr. Xiong) and 4 four entities controlled by Mr. Xiong have forgiven the amounts owing from the Company amounting to $8,880,805. The liabilities forgiven were deemed as additional paid-in capital from Mr. Xiong . |
| F-78 |
HZJL
Cayman Limited
Notes to the Unaudited Condensed Consolidated and Combined Financial Statements
NOTE 11 — RELATED PARTIES (cont.)
| 3) | Transactions with related parties |
| For the six months ended December 31, | ||||||||
| 2024 | 2023 | |||||||
| Revenues generated from related parties | ||||||||
| SDJL Supply Chain | $ | — | $ | 68,384 | ||||
| $ | — | $ | 68,384 | |||||
For the six months ended December 31, 2024 and 2023, the Company made advances to various related parties to support their working capital. In the same periods, the Company also borrowed loans from various related parties for working capital.
For the six months ended December 31, 2024 and 2023, the Company made interest-free loans to related parties of $2,788,619 and $1,165,459, respectively. For the six months ended December 31, 2024 and 2023, the Company collected loans from related parties of $653,048 and $15,350, respectively. As of the date of this report, the Company fully collected outstanding balances due from related parties. The Company had no plans to make loans to related parties in the future.
For the six months ended December 31, 2024 and 2023, the Company borrowed from related parties of $3,997,843 and $1,161,968, respectively. For the six months ended December 31, 2024 and 2023, the Company repaid loans to related parties of $3,375,949 and $12,328,934, respectively.
As of December 31, 2024 and June 30, 2024, bank borrowings of $2,150,892 and $2,311,757 were collateralized with properties owned by Mr. Xiong Bin.
NOTE 12 — SHAREHOLDERS’ EQUITY
Ordinary shares
The authorized share capital is 500,000,000 ordinary shares of par value of US$0.0001 per share.
On December 31, 2024, the Company issued 50,000,000 shares of ordinary shares, at par value of $0.0001 per share, to all existing shareholders on a pro rata basis. The issuance was considered as being part of the reorganization of the Company and was retroactively applied as if the transaction occurred at the beginning of the period presented. No cash or other consideration was paid for the issuance of 50,000,000 ordinary shares. All the existing shareholders and directors of the Company consider this share issuance was part of the Company’s reorganization to result in 50,000,000 ordinary shares issued and outstanding prior to completion of the IPO.
As of December 31, 2024 and June 30, 2024, the Company had 50,000,000 ordinary shares issued and outstanding.
| F-79 |
HZJL
Cayman Limited
Notes to the Unaudited Condensed Consolidated and Combined Financial Statements
NOTE 12 — SHAREHOLDERS’ EQUITY (cont.)
Restricted net assets
The Company’s ability to pay dividends is primarily dependent on the Company receiving distributions of funds from its subsidiaries. Relevant PRC statutory laws and regulations permit payments of dividends by the Company’s subsidiaries in the PRC only out of its retained earnings, if any, as determined in accordance with PRC accounting standards and regulations and after it has met the PRC requirements for appropriation to statutory reserves. Paid in capital of the PRC subsidiaries included in the Company’s unaudited condensed consolidated and combined net assets are also non-distributable for dividend purposes. The results of operations reflected in the accompanying unaudited condensed consolidated and combined financial statements prepared in accordance with U.S. GAAP differ from those reflected in the statutory financial statements of the PRC subsidiaries. The Company’s PRC subsidiaries are required to set aside at least 10% of their after-tax profits each year, if any, to fund certain statutory reserve funds until such reserve funds reach 50% of its registered capital. In addition, the Company’s PRC subsidiary may allocate a portion of its after-tax profits based on PRC accounting standards to enterprise expansion fund and staff bonus and welfare fund at its discretion. The statutory reserve funds and the discretionary funds are not distributable as cash dividends.
As of December 31, 2024 and June 30, 2024, the Company’s PRC subsidiaries did not set aside statutory reserves because the Company’s PRC subsidiaries had accumulated deficits as of December 31, 2024 and June 30, 2024.
As of December 31, 2024 and June 30, 2024, the Company had net assets restricted in the aggregate, which include paid-in capital and statutory reserves of the PRC subsidiaries that are included in the Company’s consolidated and combined net assets, of $9,294,334 and $9,294,334, respectively.
NOTE 13 — SEGMENT INFORMATION
Operating segments are defined as components of an enterprise about which separate financial information is available that is evaluated regularly by the chief operating decision maker (“CODM”), or decision making group, in deciding how to allocate resources and in assessing performance.
The Company’s organizational structure is based on a number of factors that the CODM uses to evaluate, view and run its business operations which include, but not limited to, customer base, homogeneity of service and technology. The Company’s operating segments are based on such organizational structure and information reviewed by the CODM to evaluate the operating segment results. Based on management’s assessment, the Company has determined that it has four operating segments: (i) supply of food products, (ii) provision of branding services, and (iii) provision of online software services.
| F-80 |
HZJL
Cayman Limited
Notes to the Unaudited Condensed Consolidated and Combined Financial Statements
NOTE 13 — SEGMENT INFORMATION (cont.)
The following table presents revenue by segments for the six months ended December 31, 2024 and 2023, respectively:
| For the six months ended December 31, 2024 | ||||||||||||||||
| Supply of Food Products | Provision of Branding Services | Provision of Online Software Services | Total | |||||||||||||
| Revenue | $ | 1,586,587 | $ | 9,930,672 | $ | 1,363,517 | $ | 12,880,776 | ||||||||
| Cost of revenue and related tax | $ | (1,578,434 | ) | $ | (5,990,604 | ) | $ | (1,286,208 | ) | $ | (8,855,246 | ) | ||||
| Gross profit | $ | 8,153 | $ | 3,940,068 | $ | 77,309 | $ | 4,025,530 | ||||||||
| Total operating expenses | $ | (642,524 | ) | $ | (1,090,566 | ) | $ | (384,715 | ) | $ | (2,117,805 | ) | ||||
| Other (expenses) income* | $ | (174,102 | ) | $ | 26,028 | $ | (29,183 | ) | $ | (177,257 | ) | |||||
| Income tax benefits (expenses) | $ | 201,379 | $ | (498,632 | ) | $ | - | $ | (297,253 | ) | ||||||
| Net (loss) income | $ | (607,094 | ) | $ | 2,376,898 | $ | (336,589 | ) | $ | 1,433,215 | ||||||
* Other (expenses) income consisted of interest expenses, net and other expenses (income).
| For the six months ended December 31, 2023 | ||||||||||||||||
| Supply of Food Products | Provision of Branding Services | Provision of Online Software Services | Total | |||||||||||||
| Revenue | $ | 4,136,849 | $ | 1,369,540 | $ | 1,213,403 | $ | 6,719,792 | ||||||||
| Cost of revenue and related tax | $ | (4,064,115 | ) | $ | (873,272 | ) | $ | (1,140,571 | ) | $ | (6,077,958 | ) | ||||
| Gross profit | $ | 72,734 | $ | 496,268 | $ | 72,832 | $ | 641,834 | ||||||||
| Total operating expenses | $ | (141,486 | ) | $ | (619,774 | ) | $ | (399,885 | ) | $ | (1,161,145 | ) | ||||
| Other (expenses) income* | $ | (19,055 | ) | $ | 182,722 | $ | (29,016 | ) | $ | 134,651 | ||||||
| Income tax expenses | $ | (81,088 | ) | $ | (29,902 | ) | $ | - | $ | (110,990 | ) | |||||
| Net (loss) income | $ | (168,895 | ) | $ | 29,314 | $ | (356,069 | ) | $ | (495,650 | ) | |||||
* Other income (expenses) consisted of interest expenses, net and other (income) expenses.
Substantially all of the Company’s revenues are derived from China based on the geographical locations where services are provided to customers. In addition, the Company’s long-lived assets are substantially all located in and derived from China, and the amount of long-lived assets attributable to any individual other country is not material. Therefore, no geographical segments are presented.
NOTE 14 — COMMITMENTS AND CONTINGENCIES
From time to time, the Company and its subsidiaries are parties to various legal actions arising in the ordinary course of business. The Company accrues costs associated with these matters when they become probable and the amount can be reasonably estimated. Legal costs incurred in connection with loss contingencies are expensed as incurred. The Company did not have other significant commitments, long-term obligations, significant contingencies or guarantees as of December 31, 2024 and June 30, 2024.
| F-81 |
HZJL
Cayman Limited
Notes to the Unaudited Condensed Consolidated and Combined Financial Statements
NOTE 15 — SUBSEQUENT EVENTS
On January 27, 2025, the Company has entered into an agreement and plan of merger (the “Merger Agreement”), which provides for a Business Combination between the Company and Rising Dragon Acquisition Corp., a Cayman Islands exempted company (“Rising Dragon”). Pursuant to the Merger Agreement, the Business Combination will be effected in two steps: (i) Rising Dragon will merge with and into Xpand Boom Technology Inc., a Cayman Islands exempted company and wholly owned subsidiary of Rising Dragon (“PubCo”), with PubCo remaining as the surviving publicly traded entity (the “Reincorporation Merger”), and PubCo as the surviving company after the Reincorporation Merger is hereinafter referred to, after the effective time of the Reincorporation Merger, as the “PubCo” or “Reincorporation Surviving Corporation”; (ii) immediately following the Reincorporation Merger, Xpand Boom Solutions Inc. (“Merger Sub”), a Cayman Islands exempted company and wholly owned subsidiary of PubCo, will be merged with and into the Company, resulting in the Company being a wholly owned subsidiary of PubCo (the “Acquisition Merger”). The Merger Agreement is by and among Rising Dragon, PubCo, Merger Sub, the Company, certain shareholder of the Company (“Principal Shareholder”) and Bin Xiong, an individual as the representative of Principal Shareholder of the Company (“Principal Shareholder’ Representative”).
The aggregate consideration for the Acquisition Merger is $350,000,000, payable in the form of 35,000,000 newly issued PubCo Ordinary Shares (the “Closing Payment Shares”) valued at $10.00 per share to the Company and its shareholders. At the closing of the Acquisition Merger, the issued and outstanding shares in the Company held by the former shareholders will be cancelled and cease to exist, in exchange for the issuance of an aggregate of 35,000,000 ordinary shares of a par value of $0.0001 each of PubCo (“PubCo Ordinary Shares”). At the closing of the Acquisition Merger, the one fully paid share in Merger Sub held by PubCo will become one fully paid share in the surviving company, so that the Company will become a wholly-owned subsidiary of PubCo.
In addition to the Closing Payment Shares, Mr. Bin Xiong, the Chief Executive Officer of the Company will be entitled to receive earn-out shares as follows: (i) 10,000,000 PubCo Class A Ordinary Shares if the revenue of the Reincorporation Surviving Corporation and its subsidiaries, as a group, equals or exceeds RMB300,000,000 for the fiscal year containing the Closing Date (the “First Record Year”), as reflected on the audited consolidated financial statements of the Company as of and for the First Record Year filed with the SEC; and (ii) 10,000,000 PubCo Class A Ordinary Shares if the revenue of the Reincorporation Surviving Corporation and its subsidiaries, as a group, equals or exceeds RMB600,000,000 for the fiscal year following the First Record Year (the “Second Record Year”), as reflected on the audited consolidated financial statements of the Company as of and for the Second Record Year filed with the SEC. RMB, also known as Renminbi or Chinese yuan, means the legal currency of the PRC.
Other than the above, the Company has analyzed, in accordance with ASC 855-10, its operations subsequent to December 31, 2024 to the date these unaudited condensed consolidated and combined financial statements were issued, and has determined that, there are no additional material subsequent events to disclose in these unaudited condensed consolidated and combined financial statements other than noted above.
| F-82 |
Report of Independent Registered Public Accounting Firm
To
the Board of Directors and Shareholder of
Xpand Boom Technology Inc.
Opinion on the Financial Statements
We have audited the accompanying balance sheets of Xpand Boom Technology Inc. (the “Company”) as of February 28, 2025, and the related statements of income and comprehensive income, changes in shareholder’s equity, and cash flows for the period from January 7, 2025 (inception) through February 28, 2025 and the related notes (collectively referred to as the “financial statements”). In our opinion, the financial statements present fairly, in all material respects, the financial position of the Company as of February 28, 2025, and the results of its operations and its cash flows for the period from January 7, 2025 (inception) through February 28, 2025, in conformity with accounting principles generally accepted in the United States of America (“U.S. GAAP”).
Basis for Opinion
These financial statements are the responsibility of the Company’s management. Our responsibility is to express an opinion on the Company’s financial statements based on our audits. We are a public accounting firm registered with the Public Company Accounting Oversight Board (United States) (“PCAOB”) and are required to be independent with respect to the Company in accordance with the U.S. federal securities laws and the applicable rules and regulations of the Securities and Exchange Commission and the PCAOB.
We conducted our audits in accordance with the standards of the PCAOB. Those standards require that we plan and perform the audits to obtain reasonable assurance about whether the financial statements are free of material misstatement, whether due to error or fraud. The Company is not required to have, nor were we engaged to perform, an audit of its internal control over financial reporting. As part of our audits, we are required to obtain an understanding of internal control over financial reporting, but not for the purpose of expressing an opinion on the effectiveness of the Company’s internal control over financial reporting. Accordingly, we express no such opinion.
Our audits included performing procedures to assess the risks of material misstatement of the financial statements, whether due to error or fraud, and performing procedures that respond to those risks. Such procedures included examining, on a test basis, evidence regarding the amounts and disclosures in the financial statements. Our audits also included evaluating the accounting principles used and significant estimates made by management, as well as evaluating the overall presentation of the financial statements. We believe that our audits provide a reasonable basis for our opinion.
/s/ Enrome LLP
We have served as the Company’s auditor since 2025.
Singapore
March 21, 2025
| F-83 |
Xpand
Boom Technology Inc.
Balance Sheet
(in U.S. dollars unless otherwise stated)
| February 28, 2025 | ||||
| Total Assets | $ | — | ||
| Liabilities and Shareholder’s Equity | ||||
| Total Liabilities | $ | — | ||
| Commitments and Contingencies | - | |||
| Shareholders’ Deficit | ||||
| Common stock ($1 par value, 50,000 shares authorized; 1 shares issued and outstanding at February 28, 2025) | 1 | |||
| Additional paid-in capital | (1 | ) | ||
| Retained earnings | — | |||
| Total Shareholders’ Equity | — | |||
| Total Liabilities and Shareholders’ Equity | $ | — | ||
The accompanying notes are an integral part of these unaudited financial statements.
| F-84 |
Xpand
Boom Technology Inc.
Statement of Income and Comprehensive Income
| For the period from January 7, 2025 (Inception) through February 28, 2025 | ||||
| Formation and operating costs | $ | — | ||
| Operating expenses | — | |||
| Net income and comprehensive income | $ | — |
The accompanying notes are an integral part of these unaudited financial statements.
| F-85 |
Xpand
Boom Technology Inc.
Statement of Changes in Shareholders’ Equity
For the Period from January 7, 2025 (Inception) through February 28, 2025
(Expressed in U.S. dollar)
| Common stock | Additional | Total | ||||||||||||||||||
| Number of stock | Amount | paid-in capital |
earnings | shareholders’ equity | ||||||||||||||||
| Balance as of January 7, 2025 (Inception) | — | $ | — | $ | — | $ | — | $ | — | |||||||||||
| Issuance of common stocks | 1 | 1 | (1 | ) | — | — | ||||||||||||||
| Net loss | — | — | — | — | — | |||||||||||||||
| Balance as of February 28, 2025 | 1 | $ | 1 | $ | (1 | ) | $ | — | $ | — | ||||||||||
The accompanying notes are an integral part of these unaudited financial statements.
| F-86 |
Xpand
Boom Technology Inc.
Unaudited Statement of Cash Flows
| For the period from January 7, 2025 (Inception) through February 28, 2025 | ||||
| Net Cash Used in Operating Activities | — | |||
| Net Change in Cash | — | |||
| Cash, Beginning of the Period | — | |||
| Cash, End of the Period | $ | — |
The accompanying notes are an integral part of these unaudited financial statements.
| F-87 |
Xpand
Boom Technology Inc.
Notes to the Financial Statements
(in U.S. dollars unless otherwise stated)
1. ORGANIZATION AND BUSINESS DESCRIPTION
Xpand Boom Technology Inc. (“Pubco”, or the “Company”) was incorporated as a private company under the laws of Cayman Islan on January 7, 2025.
The Company was formed for the purpose of becoming the ultimate parent company in the HZJL Cayman Limited (“HZJL”) following the transactions contemplated in the business combination agreement, dated January 27, 2025 (the “Business Combination Agreement”) by and among the Company, HZJL, and Rising Dragon Acquisition Corp. (“RDAC”), a special purpose acquisition company. As of December 31, 2023, the Company had no assets, liabilities, or operations.
On January 7, 2025, the Company set up one direct wholly owned subsidiary, Xpand Boom Solutions Inc. (“Merger Sub”), a Cayman Islands exemption company. The Merger Sub was incorporated to facilitate the consummation of the Business Combination Agreement.
Pursuant to the Business Combination Agreement, at the closing of the transactions contemplated by the Business Combination Agreement (the “Closing”), (a) RDAC will merge with and into the Company, with the Company remaining as the surviving publicly traded entity (the “Reincorporation Merger”); and (b) immediately following the Reincorporation Merger, the Merger Sub will will be merged with and into HZJL, resulting in HZJL being a wholly owned subsidiary of PubCo. The Reincorporation Merger and the Acquisition Merger are collectively referred to herein as the “Business Combination.
2. SUMMARY OF SIGNIFICANT ACCOUNTING POLICIES
(a) Basis of Presentation
The financial statements of the Company have been prepared in accordance with the accounting principles generally accepted in the United States of America (“U.S. GAAP”).
(b) Fair value of financial instruments
The Company’s financial instruments are accounted for at fair value on a recurring basis. Fair value is defined as the price that would be received to sell an asset or paid to transfer a liability in an orderly transaction between market participants at the measurement date. The three levels of the fair value hierarchy are described below:
| Level 1 — | inputs to the valuation methodology are quoted prices (unadjusted) for identical assets or liabilities in active markets. | |
| Level 2 — | inputs to the valuation methodology include quoted prices for similar assets and liabilities in active markets, and inputs that are observable for the assets or liability, either directly or indirectly, for substantially the full term of the financial instruments. | |
|
|
Level 3 — | inputs to the valuation methodology are unobservable and significant to the fair value. |
(c) Transaction costs in an offering of equity securities
In the event of offering of equity securities, incremental costs that otherwise would not have been incurred are deferred and capitalized in the balance sheet as deferred offering costs which will be later deducted against additional paid-in capital upon completion of offering of equity securities.
| F-88 |
Xpand
Boom Technology Inc.
Notes to the Financial Statements
(in U.S. dollars unless otherwise stated)
3. EQUITY
The Company’s authorized share capital is 50,000 common stocks, par value $1 per share. On January 7, 2025, the Company issued 1 common stock to its shareholders. As of January 27, 2025, the Company had 1 outstanding common stock.
4. SUBSEQUENT EVENTS
The Company evaluated the subsequent event through the date of this report, and concluded that there are no material reportable subsequent events need to be disclosed.
| F-89 |
ANNEX A
EXECUTION VERSION
AGREEMENT AND PLAN OF MERGER
dated
January 27, 2025
by and among
HZJL Cayman Limited, a Cayman Islands exempted company (the “Company”),
XB B Limited (the “Principal Shareholder”),
Bin Xiong (the “Principal Shareholder Representative”),
Rising Dragon Acquisition Corp., a Cayman Islands exempted company (the “Parent”),
Xpand Boom Technology Inc., a Cayman Islands exempted company (the “Purchaser”), and
Xpand Boom Solutions Inc., a Cayman Islands exempted company (the “Merger Sub”).
| A-1 |
TABLE OF CONTENTS
| Page | ||
| ARTICLE I DEFINITIONS | 2 | |
| ARTICLE II REINCORPORATION MERGER | 6 | |
| 2.1 | Reincorporation Merger | 6 |
| 2.2 | Reincorporation Effective Time | 6 |
| 2.3 | Effect of the Reincorporation Merger | 7 |
| 2.4 | Memorandum and Articles of Association | 7 |
| 2.5 | Directors and Officers of the Reincorporation Surviving Corporation | 7 |
| 2.6 | Effect on Issued Securities of Parent | 7 |
| 2.7 | Surrender of Securities | 8 |
| 2.8 | Lost Stolen or Destroyed Certificates | 8 |
| 2.9 | Section 368 Reorganization | 9 |
| 2.10 | Taking of Necessary Action; Further Action | 9 |
| ARTICLE III ACQUISITION MERGER | 9 | |
| 3.1 | Acquisition Merger | 9 |
| 3.2 | Closing; Effective Time | 9 |
| 3.3 | Board of Directors | 9 |
| 3.4 | Effect of the Merger | 9 |
| 3.5 | Memorandum and Articles of Association of the Acquisition Surviving Corporation | 10 |
| 3.6 | Taking of Necessary Action; Further Action | 10 |
| ARTICLE IV CONSIDERATION | 10 | |
| 4.1 | Cancellation and Conversion of Capital | 10 |
| 4.2 | Payment of Merger Consideration | 11 |
| 4.3 | Earn-Out Payment | 11 |
| ARTICLE V REPRESENTATIONS AND WARRANTIES OF THE COMPANY | 12 | |
| 5.1 | Corporate Existence and Power | 12 |
| 5.2 | Authorization | 12 |
| 5.3 | Governmental Authorization | 12 |
| 5.4 | Non-Contravention | 12 |
| 5.5 | Capital Structure | 13 |
| 5.6 | Charter Documents | 13 |
| 5.7 | Corporate Records | 13 |
| 5.8 | Assumed Names | 13 |
| 5.9 | Subsidiaries | 14 |
| 5.10 | Consents | 14 |
| i |
| 5.11 | Financial Statements | 15 |
| 5.12 | Books and Records | 15 |
| 5.13 | Absence of Certain Changes | 16 |
| 5.14 | Properties; Title to the Company Group’s Assets | 17 |
| 5.15 | Litigation | 18 |
| 5.16 | Contracts | 18 |
| 5.17 | Licenses and Permits | 19 |
| 5.18 | Compliance with Laws | 20 |
| 5.19 | Intellectual Property | 22 |
| 5.20 | Customers and Suppliers | 23 |
| 5.21 | Accounts Receivable and Payable; Loans | 23 |
| 5.22 | Pre-payments | 23 |
| 5.23 | Employees | 23 |
| 5.24 | Employment Matters | 24 |
| 5.25 | Withholding | 24 |
| 5.26 | Real Property | 24 |
| 5.27 | Accounts | 25 |
| 5.28 | Tax Matters | 25 |
| 5.29 | Environmental Laws | 26 |
| 5.30 | Finders’ Fees | 26 |
| 5.31 | Powers of Attorney and Suretyships | 26 |
| 5.32 | Directors and Officers | 26 |
| 5.33 | Other Information | 27 |
| 5.34 | Certain Business Practices | 27 |
| 5.35 | Money Laundering Laws | 27 |
| 5.36 | Not an Investment Company | 27 |
| ARTICLE VI REPRESENTATIONS AND WARRANTIES OF PURCHASER PARTIES | 28 | |
| 6.1 | Corporate Existence and Power | 28 |
| 6.2 | Corporate Authorization | 28 |
| 6.3 | Governmental Authorization | 28 |
| 6.4 | Non-Contravention | 28 |
| 6.5 | Finders’ Fees | 28 |
| 6.6 | Issuance of Shares | 28 |
| 6.7 | Capitalization | 29 |
| 6.8 | Information Supplied | 29 |
| 6.9 | Trust Fund | 29 |
| 6.10 | Listing | 30 |
| 6.11 | Board Approval | 30 |
| 6.12 | Parent SEC Documents and Financial Statements | 30 |
| 6.13 | Litigation | 31 |
| 6.14 | Compliance with Laws | 31 |
| 6.15 | Money Laundering Laws | 31 |
| 6.16 | OFAC | 31 |
| 6.17 | Not an Investment Company | 31 |
| 6.18 | Tax Matters | 31 |
| 6.19 | Contracts | 32 |
| ii |
| ARTICLE VII COVENANTS OF THE COMPANY GROUP AND THE PURCHASER PARTIES PENDING CLOSING | 33 | |
| 7.1 | Conduct of the Business | 33 |
| 7.2 | Access to Information | 35 |
| 7.3 | Notices of Certain Events | 35 |
| 7.4 | SEC Filings | 35 |
| 7.5 | Financial Information | 36 |
| 7.6 | Trust Account | 36 |
| 7.7 | Directors’ and Officers’ Indemnification and Insurance | 37 |
| ARTICLE VIII COVENANTS OF THE COMPANY GROUP | 37 | |
| 8.1 | Reporting and Compliance with Laws | 37 |
| 8.2 | Reasonable Best Efforts to Obtain Consents | 37 |
| 8.3 | Annual and Interim Financial Statements | 37 |
| 8.4 | Key Employees of the Company | 37 |
| 8.5 | Company Shareholders Lock-Up Agreement | 38 |
| 8.6 | ODI Filings | 38 |
| 8.7 | CSRC filings | 38 |
| ARTICLE IX COVENANTS OF ALL PARTIES HERETO | 38 | |
| 9.1 | Reasonable Best Efforts; Further Assurances | 38 |
| 9.2 | Tax Matters | 38 |
| 9.3 | Compliance with SPAC Agreements | 39 |
| 9.4 | Registration Statement | 39 |
| 9.5 | Confidentiality | 40 |
| ARTICLE X CONDITIONS TO CLOSING | 40 | |
| 10.1 | Conditions to the Obligations of Each Party to Effect the Merger | 40 |
| 10.2 | Additional Conditions to Obligations of the Purchaser Parties | 41 |
| 10.3 | Additional Conditions to Obligations of the Company | 42 |
| ARTICLE XI [Reserved] | 43 | |
| ARTICLE XII DISPUTE RESOLUTION | 43 | |
| 12.1 | Arbitration | 43 |
| 12.2 | Waiver of Jury Trial; Exemplary Damages | 44 |
| ARTICLE XIII TERMINATION | 44 | |
| 13.1 | Termination Without Default | 44 |
| 13.2 | Termination Upon Default | 44 |
| 13.3 | Survival | 44 |
| iii |
| ARTICLE XIV MISCELLANEOUS | 45 | |
| 14.1 | Notices | 45 |
| 14.2 | Amendments; No Waivers; Remedies | 46 |
| 14.3 | Arm’s Length Bargaining; No Presumption Against Drafter | 46 |
| 14.4 | Publicity | 46 |
| 14.5 | Transaction Costs | 46 |
| 14.6 | No Assignment or Delegation | 46 |
| 14.7 | Governing Law | 46 |
| 14.8 | Counterparts; Facsimile Signatures | 47 |
| 14.9 | Entire Agreement | 47 |
| 14.10 | Severability | 47 |
| 14.11 | Construction of Certain Terms and References; Captions | 47 |
| 14.12 | Further Assurances | 48 |
| 14.13 | Third Party Beneficiaries | 48 |
| 14.14 | Waiver | 48 |
| EXHIBIT A | Form of Company Shareholders Lock-up Agreement | A-1 |
| EXHIBIT B | Form of Registration Rights Agreement | B-1 |
| EXHIBIT C | Form of Proposed Amended and Restated Memorandum and Articles of Association of Reincorporation Surviving Corporation | C-1 |
| SCHEDULE I | Company Disclosure Letter | S-I |
| SCHEDULE II | Parent Disclosure Letter | S-II |
| SCHEDULE III | List of Company Shareholders to Execute Lock-Up Agreement | S-III |
| iv |
AGREEMENT AND PLAN OF MERGER
This AGREEMENT AND PLAN OF MERGER (the “Agreement”), dated as of January 27, 2025 (the “Signing Date”), by and among HZJL Cayman Limited, a Cayman Islands exempted company (the “Company”), XB B Limited, a British Virgin Islands business company, (the “Principal Shareholder”), Bin Xiong, an individual, solely in his capacity as the shareholder of the Principal Shareholder (the “Principal Shareholder Representative”), Rising Dragon Acquisition Corp., a Cayman Islands exempted company (the “Parent”), Xpand Boom Technology Inc., a Cayman Islands exempted company and wholly-owned subsidiary of the Parent (the “Purchaser”), and Xpand Boom Solutions Inc., a Cayman Islands exempted company and wholly-owned subsidiary of the Purchaser (the “Merger Sub”).
W I T N E S E T H :
A. The Company, through its wholly owned subsidiaries, is in the business of providing online branding services in the People’s Republic of China (the “Business”);
B. The Company is a holding company for Joy A Limited, a private company duly incorporated and validly existing under the Laws of the British Virgin Islands, and it in turn owns 100% of the issued and outstanding equity interest in Zhai Dada HK Limited, which is a private company duly incorporated and validly existing under the Laws of Hong Kong (the “HK Subsidiary”);
C. HK Subsidiary directly owns 100% of the issued and outstanding equity interest in Yangzhou Xiyue Information Technology Co., Ltd. (扬州玺悦信息技术有限公司), a People’s Republic of China company (“Xiyue” or “WFOE”);
D. Xiyue directly owns 100% of the issued and outstanding equity interest in Hangzhou Wukong Preferred Supply Chain Management Co., Ltd. (杭州悟空优选供应链管理有限公司), a People’s Republic of China company (“Wukong”) and directly owns a few other operating companies under the laws of the People’s Republic of China (“PRC”);
E. Parent is a blank check company formed for the sole purpose of entering into a merger, share exchange, asset acquisition, share purchase, recapitalization, reorganization or similar business combination with one or more businesses or entities;
F. The Purchaser is a wholly-owned subsidiary of Parent and was formed for the sole purpose of the merger of Parent with and into Purchaser, in which Purchaser will be the Reincorporation Surviving Corporation (as defined below), upon the terms and subject to the conditions set forth herein and in accordance with the applicable provisions of the Companies Act (As Revised) of the Cayman Islands (the “Cayman Law”) (the “Reincorporation Merger”);
G. The parties hereto desire that the Merger Sub shall merge with and into the Company, in which the Company will be the Acquisition Surviving Corporation (as defined below), upon the terms and subject to the conditions set forth herein and in accordance with the Cayman Law (the “Acquisition Merger,” and together with the Reincorporation Merger, the “Mergers”);
H. For United States federal income tax purposes, the parties intend that the Reincorporation Merger qualify as a “reorganization” within the meaning of Section 368 of the Code, and the Treasury Regulations promulgated thereunder, and that this Agreement be, and hereby is, adopted as a “plan of reorganization” for purposes of Section 368 of the Code and Treasury Regulations Section 1.368-2(g) and 1.368-3(a); and
I. Prior to the execution and delivery of this Agreement by the parties, certain Company Shareholders have entered into and delivered support agreements, pursuant to which each such Company Shareholder has agreed to vote in favor of this Agreement and the Acquisition Merger and the other transactions contemplated hereby.
NOW, THEREFORE, in consideration of the premises set forth above, which are incorporated in this Agreement as if fully set forth below, and the representations, warranties, covenants and agreements contained in this Agreement, and intending to be legally bound hereby, the parties accordingly agree as follows:
ARTICLE I
DEFINITIONS
The following terms, as used herein, have the following meanings:
1.1 “Action” means any legal action, suit, claim, investigation, hearing or proceeding, including any audit, claim or assessment for Taxes or otherwise.
1.2 “Additional Agreements” means the Lock-up Agreements, Registration Rights Agreement and Non-disclosure and Non-solicitation Agreements and Non-Compete Agreements.
1.3 “Affiliate” means, with respect to any Person, any other Person directly or indirectly Controlling, Controlled by, or under common Control with such Person. For avoidance of any doubt, (a) with respect to all periods prior to the Closing and subsequent to the Closing, the Principal Shareholder is an Affiliate of the Company, and (b) with respect to all periods subsequent to the Closing, Purchaser is an Affiliate of the Company.
1.4 “Authority” means any governmental, regulatory or administrative body, agency or authority, any court or judicial authority, any arbitrator, any relevant stock exchange, or any public, private or industry regulatory authority, whether international, national, Federal, state, or local.
1.5 “Books and Records” means all books and records, ledgers, employee records, customer lists, files, correspondence, and other records of every kind (whether written, electronic, or otherwise embodied) owned or used by a Person or in which a Person’s assets, the business or its transactions are otherwise reflected, other than stock books and minute books.
1.6 “Business Day” means any day other than a Saturday, Sunday or a legal holiday on which commercial banking institutions in New York, the Cayman Islands, the British Virgin Islands or PRC are authorized to close for business.
1.7 “Closing Payment Shares” means such number of Purchaser Ordinary Shares equal to the Company Net Value divided by $10.00.
1.8 “Circular 37” means the Notice on Relevant Issues Concerning Foreign Exchange Administration for Domestic Residents to Engage in Overseas Investment Financing and Round Trip Investment via Special Purpose Companies issued by SAFE on July 4, 2014, as may be amended and supplemented from time to time.
1.9 “Code” means the Internal Revenue Code of 1986, as amended.
1.10 “Company Net Value” means an amount equal to $350,000,000.
1.11 “Company Shares” means the ordinary shares, par value of $0.0001 per share, of the Company.
1.12 “Company Share Rights” means all options, warrants, rights, or other securities (including debt instruments) to purchase, convert or exchange into Company Shares.
1.13 “Company Shareholders Lock-up Agreement” means the agreements in the forms attached as Exhibit A or agreement(s) substantially equivalent thereto mutually agreed by the Purchaser Parties and the Company, dated as of the Closing Date hereof entered into by and between the persons listed on Schedule III and the Purchaser.
1.14 “Contracts” means the Leases and all contracts, agreements, leases (including equipment leases, car leases and capital leases), licenses, commitments, client contracts, statements of work (SOWs), sales and purchase orders and similar instruments, oral or written, to which the Company and/or any of its Subsidiary is a party or by which any of its respective assets are bound, including any entered into by the Company and/or any of its Subsidiary in compliance with Section 7.1 after the Signing Date and prior to the Closing.
1.15 “Control” means the possession, directly or indirectly, of the power to direct or cause the direction of the management and policies of a Person, whether through the ownership of voting securities, by Contract or otherwise; and the terms “Controlled” and “Controlling” shall have the meaning correlative to the foregoing.
1.16 “Deferred Underwriting Amount” means the portion of the underwriting discounts and commissions held in the Trust Account, which the underwriters of the IPO are entitled to receive upon the Closing in accordance with the Investment Management Trust Agreement.
1.17 “Environmental Laws” means all applicable Laws that prohibit, regulate or control any Hazardous Material or any Hazardous Material Activity, including, without limitation, the Comprehensive Environmental Response, Compensation, and Liability Act of 1980, the Resource Recovery and Conservation Act of 1976, the Federal Water Pollution Control Act, the Clean Air Act, the Hazardous Materials Transportation Act and the Clean Water Act.
1.18 “Exchange Act” means the Securities Exchange Act of 1934, as amended.
1.19 “Fraud Claim” means any claim based solely upon fraud, willful misconduct or intentional misrepresentation as determined by a final court order or judgment by a court of competent jurisdiction, to which all rights of appeal have either lapsed or been exhausted it being understood that a breach of warranty or a covenant shall not, by itself, be deemed to be fraud.
1.20 “Hazardous Material” means any material, emission, chemical, substance or waste that has been designated by any governmental Authority to be radioactive, toxic, hazardous, a pollutant or a contaminant.
1.21 “Hazardous Material Activity” shall mean the transportation, transfer, recycling, storage, use, treatment, manufacture, removal, remediation, release, exposure of others to, sale, labeling, or distribution of any Hazardous Material or any product or waste containing a Hazardous Material, or product manufactured with ozone depleting substances, including, any required labeling, payment of waste fees or charges (including so-called e-waste fees) and compliance with any recycling, product take-back or product content requirements.
1.22 “IPO” means the initial public offering of Parent pursuant to a prospectus dated October 10, 2024.
1.23 “Indebtedness” means with respect to any Person, (a) all obligations of such Person for borrowed money, or with respect to deposits or advances of any kind (including amounts by reason of overdrafts and amounts owed by reason of letter of credit reimbursement agreements) including with respect thereto, all interests, fees and costs and prepayment and other penalties, (b) all obligations of such Person evidenced by bonds, debentures, notes or similar instruments, (c) all obligations of such Person under conditional sale or other title retention agreements relating to property purchased by such Person, (d) all obligations of such Person issued or assumed as the deferred purchase price of property or services (other than accounts payable to creditors for goods and services incurred in the ordinary course of business), (e) all Indebtedness of others secured by (or for which the holder of such Indebtedness has an existing right, contingent or otherwise, to be secured by) any lien or security interest on property owned or acquired by such Person, whether or not the obligations secured thereby have been assumed, (f) all obligations of such Person under leases required to be accounted for as capital leases under U.S. GAAP (as defined below), (g) all guarantees by such Person and (h) any agreement to incur any of the same.
1.24 “Intellectual Property Right” means any trademark, service mark, registration thereof or application for registration therefor, trade name, license, domain names, invention, patent, patent application, trade secret, trade dress, know-how, copyright, copyrightable materials, copyright registration, application for copyright registration, software programs, data bases, u.r.l.s., and any other type of proprietary intellectual property right, and all embodiments and fixations thereof and related documentation, registrations and franchises and all additions, improvements and accessions thereto, and with respect to each of the forgoing items in this definition, which is owned or licensed or filed by the Company, or used or held for use in the Business, whether registered or unregistered or domestic or foreign.
1.25 “Investment Management Trust Agreement” means the investment management trust agreement made as of October 10, 2024 by and between the Parent and Continental.
1.26 “IT Assets” means computers, software, hardware, servers, workstations, routers, hubs, switches, data communications lines, networks and all other information technology equipment and all associated documentation.
1.27 “Law” means any domestic or foreign, federal, state, municipality or local law, statute, ordinance, code, principle of common law, act, treaty or order of general applicability of any applicable Authority, including rule or regulation promulgated thereunder.
1.28 “Leases” means the leases set forth on Schedule 1.28 attached hereto, together with all fixtures and improvements erected on the premises leased thereby.
1.29 “Liabilities” means any and all liabilities, Indebtedness, claims, or obligations of any nature (whether absolute, accrued, contingent or otherwise, whether known or unknown, whether direct or indirect, whether matured or unmatured and whether due or to become due), including Tax Liabilities due or to become due.
1.30 “Lien” means, with respect to any asset, any mortgage, lien, pledge, charge, security interest or encumbrance of any kind in respect of such asset, and any conditional sale or voting agreement or proxy, including any agreement to give any of the foregoing.
1.31 “Material Adverse Effect” or “Material Adverse Change” means a material adverse change or a material adverse effect upon on the assets, liabilities, condition (financial or otherwise), prospects, net worth, management, earnings, cash flows, business, operations or properties of the Company and the Business, taken as a whole, whether or not arising from transactions in the ordinary course of business, which would prevent the Company from operating its Business in the same manner as on the date of this Agreement and on the Closing Date, provided, however, that “Material Adverse Effect” or “Material Adverse Change” shall not include any event, occurrence, fact, condition or change, directly or indirectly, arising out of or attributable to: (i) general economic or political conditions; (ii) conditions generally affecting the industries in which the Company operates; (iii) any changes in financial, banking or securities markets in general, including any disruption thereof and any decline in the price of any security or any market index or any change in prevailing interest rates; (iv) acts of war (whether or not declared), armed hostilities or terrorism, and any pandemic, epidemics or human health crises, including COVID-19; (v) any action required or permitted by this Agreement or any action taken (or omitted to be taken) with the written consent of or at the written request of the Purchaser Parties; (vi) any matter of which Parent is aware on the date hereof; (vii) any changes in applicable Laws or accounting rules (including U.S. GAAP) or the enforcement, implementation or interpretation thereof; (viii) the announcement, pendency or completion of the transactions contemplated by this Agreement, including losses or threatened losses of employees, customers, suppliers, distributors or others having relationships with the Company; (ix) any natural or man-made disaster or acts of God; or (x) any failure by the Company to meet any internal or published projections, forecasts or revenue or earnings predictions (provided that the underlying causes of such failures (subject to the other provisions of this definition) shall not be excluded).
1.32 “Nasdaq” means The NASDAQ Stock Market LLC.
1.33 “ODI Filings” means the formalities and fillings of overseas direct investment of Chinese enterprises, including but not limited to fulfilling the filing, approval or registration procedures in the development and reform authorities, the competent commercial authorities, and foreign exchange administration authorities and competent banks authorized by such authorities.
1.34 “ODI Shareholders” means (i) Beijing Lide No.1 Technology Center (Limited Partnership)(北京励德一号科技中心(有限合伙)), a limited partnership incorporated in the People’s Republic of China; (ii) Ningbo Meihua Mingshi Investment Partnership (Limited Partnership)(宁波梅花明世投资合伙企业(有限合伙)), a limited partnership incorporated in People’s Republic of China; (iii) Chongqing Xinghan Boyuan Equity Investment Fund Partnership (Limited Partnership)(重庆星瀚博远股权投资基金合伙企业(有限合伙)), a limited partnership incorporated in the People’s Republic of China; (iv) Hangzhou Boson Equity Investment Partnership (Limited Partnership)(杭州玻色子股权投资合伙企业(有限合伙)), a limited partnership incorporated in the People’s Republic of China; (v) Guangzhou Black Hole Investment Co., Ltd.(广州黑洞投资有限公司), a limited company incorporated in the People’s Republic of China; (vi) Ningbo Free Trade Zone Yuke Investment Partnership Enterprise (Limited Partnership)(宁波保税区宇氪投资合伙企业(有限合伙)), a limited partnership incorporated in the People’s Republic of China; (vii) Nantong Maode Equity Investment Center (Limited Partnership)(南通懋德股权投资中心(有限合伙)), a limited partnership incorporated in the People’s Republic of China; (viii) Ningbo Meishan Bonded Port Area Meihua Yang Shi Investment Partnership (Limited Partnership)(宁波梅山保税港区梅花扬世投资合伙企业(有限合伙)), a limited partnership incorporated in the People’s Republic of China; and (ix) Beijing Letong Sihai Management Consulting Center (Limited Partnership) (北京乐通四海管理咨询中心(有限合伙)), a limited partnership incorporated in the People’s Republic of China.
1.35 “Order” means any decree, order, judgment, writ, award, injunction, rule or consent of or by an Authority.
1.36 “Organizational Documents” means, with respect to any Person, its certificate of incorporation and bylaws, memorandum and articles of association or similar organizational documents, in each case, as amended and restated from time to time.
1.37 “Parent Ordinary Shares” means the ordinary shares, par value of $0.0001 per share, of Parent.
1.38 “Parent Right” means the issued and outstanding rights of Parent, each such right convertible into one-tenth (1/10) of one Parent Ordinary Share at the closing of a business combination.
1.39 “Parent Securities” means the Parent Ordinary Shares, Parent Rights, and Parent Units, collectively.
1.40 “Parent Unit” means each outstanding unit consisting of one Parent Ordinary Share and one Parent Right.
1.41 “Permitted Liens” means (i) all defects, exceptions, restrictions, easements, rights of way and encumbrances disclosed in policies of title insurance which have been made available to the Purchaser Parties; (ii) mechanics’, carriers’, workers’, repairers’ and similar statutory Liens arising or incurred in the ordinary course of business for amounts (A) that are not delinquent, (B) that are not material to the business, operations and financial condition of the Company Group so encumbered, either individually or in the aggregate, (C) that not resulting from a breach, default or violation by the Company Group of any Contract or Law, and (D) the Liens set forth on Schedule 1.41; and (iii) liens for Taxes not yet due and payable or which are being contested in good faith by appropriate proceedings (and for which adequate accruals or reserves have been established in accordance to U.S. GAAP).
1.42 “Person” means an individual, corporation, partnership (including a general partnership, limited partnership or limited liability partnership), limited liability company, association, trust or other entity or organization, including a government, domestic or foreign, or political subdivision thereof, or an agency or instrumentality thereof.
1.43 “Pre-Closing Period” means any period that ends on or before the Closing Date or with respect to a period that includes but does not end on the Closing Date, the portion of such period through and including the day of the Closing.
1.44 “Purchaser Class A Ordinary Shares” means the class A ordinary shares, par value of $0.0001 per share, of Purchaser, each being entitled to one (1) vote, along with any equity securities paid as dividends or distributions after the Closing with respect to such shares or into which such shares are exchanged or converted after the Closing.
1.45 “Purchaser Class B Ordinary Shares” means the class B ordinary shares, par value of $0.0001 per share, of Purchaser, each being entitled to ten (10) votes, along with any equity securities paid as dividends or distributions after the Closing with respect to such shares or into which such shares are exchanged or converted after the Closing.
1.46 “Purchaser Ordinary Shares” means the Purchaser Class A Ordinary Shares and the Purchaser Class B Ordinary Shares.
1.47 “Purchaser Parties” means Parent, the Purchaser and the Merger Sub.
1.48 “Purchaser Rights” means the rights of Purchaser, each such right convertible into one-tenth (1/10) of a Purchaser Class A Ordinary Share.
1.49 “Purchaser Securities” means the Purchaser Ordinary Shares and the Purchaser Rights, collectively.
1.50 “Real Property” means, collectively, all real properties and interests therein (including the right to use), together with all buildings, fixtures, trade fixtures, plant and other improvements located thereon or attached thereto; all rights arising out of use thereof (including air, water, oil and mineral rights); and all subleases, franchises, licenses, permits, easements and rights-of-way which are appurtenant thereto.
1.51 “Registration Rights Agreement” means the agreement governing the resale of the Closing Payment Shares, in the form attached as Exhibit B hereto.
1.52 “SAFE” means the State Administration of Foreign Exchange of the PRC.
1.53 “SAFE Rules and Regulations” means, collectively, Circular 37 and any other applicable SAFE rules and regulations, as amended and supplemented from time to time.
1.54 “Sarbanes-Oxley Act” means the Sarbanes-Oxley Act of 2002, as amended.
1.55 “SEC” means the U.S. Securities and Exchange Commission.
1.56 “Securities Act” means the Securities Act of 1933, as amended.
1.57 “Shareholders” or “Company Shareholders” means the shareholders of the Company.
1.58 “Subsidiary” or “Subsidiaries” means one or more entities of which at least fifty percent (50%) of the capital stock or share capital or other equity or voting securities are Controlled or owned, directly or indirectly, by the respective Person.
1.59 “Tangible Personal Property” means all tangible personal property and interests therein, including machinery, computers and accessories, furniture, office equipment, communications equipment, automobiles, trucks, forklifts and other vehicles owned or leased by the Company and other tangible property, including the items listed on Schedule 5.14.
1.60 “Tax(es)” means any federal, state, local or foreign tax, charge, fee, levy, custom, duty, deficiency, or other assessment of any kind or nature imposed by any Taxing Authority (including any income (net or gross), gross receipts, profits, windfall profit, sales, use, goods and services, ad valorem, franchise, license, withholding, employment, social security, workers compensation, unemployment compensation, employment, payroll, transfer, excise, import, real property, personal property, intangible property, occupancy, recording, minimum, alternative minimum, environmental or estimated tax), including any liability therefor as a transferee or successor, as a result of Treasury Regulation Section 1.1502-6 or similar provision of applicable Law or as a result of any Tax sharing, indemnification or similar agreement, together with any interest, penalty, additions to tax or additional amount imposed with respect thereto.
1.61 “Taxing Authority” means the Internal Revenue Service and any other Authority responsible for the collection, assessment or imposition of any Tax or the administration of any Law relating to any Tax.
1.62 “Tax Return” means any return, information return, declaration, claim for refund or credit, report or any similar statement, and any amendment thereto, including any attached schedule and supporting information, whether on a separate, consolidated, combined, unitary or other basis, that is filed or required to be filed with any Taxing Authority in connection with the determination, assessment, collection or payment of a Tax or the administration of any Law relating to any Tax.
1.63 “Transaction Costs” means (i) all the legal and audit fees, costs and expenses incurred in connection with the Reincorporation Merger and the Acquisition Merger prior to and through the Closing by the Purchaser Parties, and (ii) all the fees, costs and expenses relating to the valuation of the Company’s business, financial projection and the purchase price in connection with the Reincorporation Merger and the Acquisition Merger.
1.64 “U.S. GAAP” means U.S. generally accepted accounting principles, consistently applied.
1.65 “$” means U.S. dollars, the legal currency of the United States.
ARTICLE II
REINCORPORATION MERGER
2.1 Reincorporation Merger. At the Reincorporation Effective Time (as defined in Section 2.2), and subject to and upon the terms and conditions of this Agreement, and in accordance with the Cayman Law, the Parent shall be merged with and into Purchaser, the separate corporate existence of Parent shall cease and Purchaser shall continue as the surviving company. Purchaser as the surviving company after the Reincorporation Merger is hereinafter referred to, after the Reincorporation Effective Time, as the “Purchaser” or “Reincorporation Surviving Corporation”.
2.2 Reincorporation Effective Time. Following the satisfaction or waiver (by the applicable party) of the closing conditions set forth in Section 10 (except for Section 10.1(c) and such conditions to be performed at Closing), Parent hereto shall cause the Reincorporation Merger to be consummated by filing the plan of merger (“Plan of Reincorporation Merger”) (and other documents required by the Cayman Law) with the Registrar of Companies in the Cayman Islands, in accordance with the relevant provisions of the Cayman Law (the time of such filings, or such later time as specified in the Plan of Reincorporation Merger, being the “Reincorporation Effective Time”).
2.3 Effect of the Reincorporation Merger. At the Reincorporation Effective Time, the effect of the Reincorporation Merger shall be as provided in this Agreement, the Plan of Reincorporation Merger and the applicable provisions of the Cayman Law. Without limiting the generality of the foregoing, and subject thereto, at the Reincorporation Effective Time, all the property of every description including choses in action, rights, and the business, undertaking, goodwill, benefits, immunities, privileges, powers and franchises of the Parent and the Purchaser shall vest in the Reincorporation Surviving Corporation, and all the agreements, debts, liabilities, duties and obligations of the Parent and the Purchaser shall become the agreements, debts, liabilities, duties and obligations of the Reincorporation Surviving Corporation, which shall include the assumption by the Reincorporation Surviving Corporation of any and all agreements, covenants, duties and obligations of the Parent and the Purchaser set forth in this Agreement to be performed after the Reincorporation Effective Time, and all securities of the Reincorporation Surviving Corporation issued and outstanding as a result of the conversion under Sections 2.6(a) through (c) hereof shall be listed on the public trading market on which the Parent Units may be trading at such time.
2.4 Memorandum and Articles of Association. At the Reincorporation Effective Time, the amended and restated memorandum and articles of association of the Parent, as in effect immediately prior to the Reincorporation Effective Time, shall cease and the memorandum and articles of association as set forth in the form of Exhibit C attached hereto, and as so amended and restated, shall be the memorandum and articles of association of the Reincorporation Surviving Corporation immediately after the Reincorporation Effective Time and thereafter amended or restated in accordance with their terms, the Organizational Documents of the Reincorporation Surviving Corporation and as provided by Law.
2.5 Directors and Officers of the Reincorporation Surviving Corporation. Immediately after the Reincorporation Effective Time, the officers and the board of directors of the Reincorporation Surviving Corporation shall be constituted by the same persons as the officers and board of directors of the Parent immediately prior to the Reincorporation Effective Time.
2.6 Effect on Issued Securities of Parent.
(a) Conversion of Parent Ordinary Shares.
(i) At the Reincorporation Effective Time, every Parent Ordinary Share (other than Parent Excluded Shares (as defined in Section 2.6(d))) issued and outstanding immediately prior to the Reincorporation Effective Time shall be converted automatically into one Purchaser Class A Ordinary Share. At the Reincorporation Effective Time, all Parent Ordinary Shares shall cease to be outstanding and shall automatically be converted or canceled (as the case may be) and shall cease to exist. The holders of issued Parent Ordinary Shares immediately prior to the Reincorporation Effective Time, as evidenced by the register of members of the Parent, shall cease to have any rights with respect to such Parent Ordinary Shares, except as provided herein or by Law. From and after the Reincorporation Effective Time, each certificate or book entry position that evidenced Parent Ordinary Shares immediately prior to the Reincorporation Merger shall entitle the holder only to the applicable number of Purchaser Class A Ordinary Shares into which such certificate or book entry position is convertible according to this Section 2.6(a). Upon surrender of each certificate (if any) previously evidencing Parent Ordinary Shares, such certificate shall be exchanged for a certificate representing the same number of Purchaser Class A Ordinary Shares in accordance with Section 2.7.
(ii) Each certificate (if any) formerly representing Parent Ordinary Shares (other than the Parent Excluded Shares) shall thereafter represent only the right to receive the same number of Purchaser Class A Ordinary Shares.
(b) Parent Units. At the Reincorporation Effective Time, every issued and outstanding Parent Unit shall be separated automatically into each’s individual components of one Parent Ordinary Share and one Parent Right, and all Parent Units shall cease to be outstanding and shall automatically be canceled and retired and shall cease to exist. Each individually separated component shall, at the Reincorporation Effective Time, be converted into one Purchaser Class A Ordinary Share, and/or one Purchaser Right, as the case may be, in accordance with Section 2.6(a) and Section 2.6(c), respectively. The holders of certificates previously evidencing Parent Units outstanding immediately prior to the Reincorporation Effective Time shall cease to have any rights with respect to such Parent Units, except as provided herein or by Law. Upon surrender of each certificate (if any) previously evidencing Parent Units, such certificate shall be exchanged for certificates representing the applicable number of Purchaser Class A Ordinary Shares.
(c) Parent Rights. At the Reincorporation Effective Time, every issued and outstanding Parent Right immediately prior to the Reincorporation Effective Time shall be converted automatically into one Purchaser Right. At the Reincorporation Effective Time, all Parent Rights shall cease to be outstanding and shall automatically be converted and shall cease to exist. The holders of certificates previously evidencing Parent Rights outstanding immediately prior to the Reincorporation Effective Time shall cease to have any rights with respect to such Parent Rights, except as provided herein or by Law. At the Closing, all Purchaser Rights shall cease to be outstanding and shall automatically be canceled and retired and shall cease to exist. The holders of Purchaser Rights instead will receive one-tenth (1/10) of one Purchaser Class A Ordinary Share in exchange for the cancellation of each Purchaser Right; provided that no certificates or scrip representing fractional shares will be issued and all fractional shares will be rounded down to the nearest whole share. Upon surrender of each certificate (if any) previously evidencing Parent Rights, such certificate shall be exchanged for a certificate representing the applicable number of Purchaser Class A Ordinary Shares.
(d) Cancellation of Parent Ordinary Shares Owned by Parent. At the Reincorporation Effective Time, if there are any Parent Ordinary Shares that are owned by the Parent (as treasury shares or otherwise) or any Parent Ordinary Shares owned by any direct or indirect wholly owned subsidiary of the Parent immediately prior to the Reincorporation Effective Time (the “Parent Excluded Shares”), such shares shall be canceled, surrendered (if applicable) and extinguished without any conversion thereof or payment therefor.
(e) Cancellation of Purchaser Ordinary Share Owned by Parent. At the Reincorporation Effective Time, every issued and outstanding share(s) of Purchaser owned by the Parent as set forth in Section 6.7(b), being the only issued and outstanding share(s) in Purchaser immediately prior to the Reincorporation Effective Time, shall be canceled, surrendered (if applicable) and extinguished without any conversion thereof or payment therefor.
(f) Transfers of Ownership. If any securities of Purchaser are to be issued in a name other than that in which the certificate surrendered in exchange therefor is registered, it will be a condition of the issuance thereof that the certificate so surrendered will be properly endorsed (or accompanied by an appropriate instrument of transfer) and otherwise in proper form for transfer and that the person requesting such exchange will have paid to Purchaser or any agent designated by it any transfer or other Taxes required by reason of the issuance of securities of Purchaser in any name other than that of the registered holder of the certificate surrendered, or established to the satisfaction of Purchaser or any agent designated by it that such Tax has been paid or is not payable.
(g) No Liability. Notwithstanding anything to the contrary in this Section 2.6, none of the Reincorporation Surviving Corporation, Parent or any party hereto shall be liable to any person for any amount properly paid to a public official pursuant to any applicable abandoned property, escheat or similar law.
2.7 Surrender of Securities. All Purchaser Securities issued in exchange of Parent Securities in accordance with the terms hereof shall be deemed to have been issued in full satisfaction of all rights pertaining to such Parent Securities, provided that any restrictions on the sale and transfer of Parent Securities shall also apply to the Purchaser Securities so issued in exchange.
2.8 Lost Stolen or Destroyed Certificates. In the event any certificates of Parent Securities shall have been lost, stolen or destroyed, Purchaser shall issue in exchange for such lost, stolen or destroyed certificates, upon the making of an affidavit of that fact by the holder thereof, such securities, as may be required pursuant to Section 2.7; provided, however, that Reincorporation Surviving Corporation may, in its discretion and as a condition precedent to the issuance thereof, require the owner of such lost, stolen or destroyed certificates to deliver a bond in such sum as it may reasonably direct as indemnity against any claim that may be made against the Reincorporation Surviving Corporation with respect to the certificates alleged to have been lost, stolen or destroyed.
2.9 Section 368 Reorganization. For U.S. federal income tax purposes, the Reincorporation Merger is intended to constitute a transaction that qualifies as a “reorganization” within the meaning of Section 368(a) of the Code and the Treasury Regulations promulgated thereunder to which each of Parent and the Purchaser is a party under Section 368(b) of the Code (the “Reincorporation Intended Tax Treatment”). The Parent and the Purchaser hereby (i) adopt, and the Company acknowledges, this Agreement as a “plan of reorganization” with respect to the Reincorporation Merger within the meaning of Section 1.368-2(g) of the United States Treasury Regulations, (ii) agree to file and retain such information as shall be required under Section 1.368-3 of the United States Treasury Regulations, and (iii) agree to file all Tax and other informational returns on a basis consistent with the Reincorporation Intended Tax Treatment, unless otherwise required by a Taxing Authority in connection with an audit. Notwithstanding the foregoing or anything else to the contrary contained in this Agreement, the parties acknowledge and agree that no party is making any representation or warranty as to the qualification of the Reincorporation Merger for the Reincorporation Intended Tax Treatment or as to the effect, if any, that any transaction consummated on, after or prior to the Reincorporation Effective Time has or may have on any such reorganization status. Each of the parties acknowledge and agree that each (i) has had the opportunity to obtain independent legal and tax advice with respect to the transactions contemplated by this Agreement, and (ii) is responsible for paying its own Taxes, including any adverse Tax consequences that may result if the Reincorporation Merger is determined not to qualify for the Reincorporation Intended Tax Treatment.
2.10 Taking of Necessary Action; Further Action. If, at any time after the Reincorporation Effective Time, any further action is necessary or desirable to carry out the purposes of this Agreement and to vest the Reincorporation Surviving Corporation with full right, title and possession to all assets, property, rights, privileges, powers and franchises of the Parent and the Purchaser, the officers and directors of the Parent and the Purchaser are fully authorized in the name of their respective companies or otherwise to take, and will take, all such lawful and necessary action, so long as such action is not inconsistent with this Agreement.
ARTICLE III
ACQUISITION MERGER
3.1 Acquisition Merger. Upon and subject to the terms and conditions set forth in this Agreement, on the Closing Date (as defined in Section 3.2) concurrently with the Reincorporation Merger, and in accordance with the applicable provisions of the Cayman Law, Merger Sub shall be merged with and into the Company. Following the Acquisition Merger, the separate corporate existence of Merger Sub shall cease, and the Company shall continue as the surviving company in the Acquisition Merger (the “Acquisition Surviving Corporation”).
3.2 Closing; Effective Time. Unless this Agreement is earlier terminated in accordance with Article XIII, the closing of the Acquisition Merger (the “Closing”) shall take place concurrently with the Reincorporation Merger at the offices of Loeb & Loeb LLP, 345 Park Avenue, New York, New York, on a date no later than fifteen (15) Business Days after the satisfaction or waiver of all the conditions set forth in this Agreement, or at such other place and time as the Company and the Purchaser Parties may mutually agree upon. The parties may participate in the Closing via electronic means. The date on which the Closing actually occurs is hereinafter referred to as the “Closing Date”. At the Closing, the parties hereto shall execute a plan of merger (the “Plan of Acquisition Merger”) in form and substance acceptable to the Merger Sub and the Company and the parties hereto shall cause the Acquisition Merger to be consummated by filing the Plan of Acquisition Merger (and other documents required by the Cayman Law) with the Registrar of Companies in the Cayman Islands in accordance with the relevant provisions of the Cayman Law. The Acquisition Merger shall become effective on the date as specified in the Plan of Acquisition Merger (the “Effective Time”).
3.3 Board of Directors. Immediately after the Effective Time, the Reincorporation Surviving Corporation’s board of directors shall consist of directors designated by the Company, one (1) of which will be Mr. Bin Xiong. The Reincorporation Surviving Corporation’s board of directors will comply with the requirements of Nasdaq, subject to applicable exemptions.
3.4 Effect of the Merger. At the Effective Time, the effect of the Acquisition Merger shall be as provided in this Agreement, the Plan of Acquisition Merger and the applicable provisions of the Cayman Law. Without limiting the generality of the foregoing, and subject thereto, at the Effective Time, all the property of every description including choses in action, rights, and the business, undertaking, goodwill, benefits, immunities, privileges, powers and franchises of the Company and Merger Sub shall vest in the Acquisition Surviving Corporation, and all the agreements, debts, liabilities, duties and obligations of the Company and the Merger Sub shall become the agreements, debts, liabilities, duties and obligations of the Acquisition Surviving Corporation, which shall include the assumption by the Acquisition Surviving Corporation of any and all agreements, covenants, duties and obligations of the Company and the Merger Sub set forth in this Agreement to be performed after the Effective Time.
3.5 Memorandum and Articles of Association of the Acquisition Surviving Corporation. At and immediately following the Effective Time, the memorandum and articles of association of the Company shall be the memorandum and articles of association of Acquisition Surviving Corporation until thereafter amended or restated in accordance with their terms, the Organizational Documents of the Acquisition Surviving Corporation and as provided by Law.
3.6 Taking of Necessary Action; Further Action. If, at any time after the Effective Time, any further action is necessary or desirable to carry out the purposes of this Agreement and to vest the Acquisition Surviving Corporation with full right, title and interest in, to and under, and/or possession of, all assets, property, rights, privileges, powers and franchises of the Merger Sub and the Company, the officers and directors of the Merger Sub and the Company are fully authorized in the name of their respective companies or otherwise to take, and will take, all such lawful and necessary action, so long as such action is not inconsistent with this Agreement.
ARTICLE IV
CONSIDERATION
4.1 Cancellation and Conversion of Capital.
(a) Cancellation of Ordinary Share. At the Effective Time, by virtue of the Acquisition Merger and this Agreement and without any action on the part of the Purchaser, the Merger Sub, the Company or the Company Shareholders, each Company Share issued and outstanding immediately prior to the Effective Time (other than the Excluded Shares (as defined in Section 4.1(c)) shall be canceled in exchange for the right to receive, without interest, the applicable portion of the Closing Payment Shares for such number of Company Shares as specified on Schedule 4.1 attached hereto (the “Shareholders’ Allocation Schedule”); it being agreed that the Closing Payment Shares shall be allocated among the Shareholders on a pro rata basis based on the number of Company Shares they hold as of immediately prior to the Effective Time. If there is any change to the Shareholders’ Allocation Schedule between the time of such delivery and the Closing solely as a result of the change of ownership in the Company Shares, the Company shall deliver an updated Shareholders’ Allocation Schedule to Parent as soon as practicable. For avoidance of any doubt, at the Effective Time, each Shareholder of the Company will cease to have any rights with respect to the Company Shares, except the right to receive, without interest, the respective percentage of the Closing Payment Shares issuable to the Shareholders in accordance with the Shareholders’ Allocation Schedule.
(b) Share Capital of Merger Sub. Each share of Merger Sub that is issued and outstanding immediately prior to the Effective Time will, by virtue of the Acquisition Merger and without further action on the part of the sole shareholder of Merger Sub, be converted into and become one ordinary share of the Acquisition Surviving Corporation (and such share of the Acquisition Surviving Corporation into which the ordinary share of Merger Sub are so converted shall be the only share of the Acquisition Surviving Corporation that is issued and outstanding immediately after the Effective Time).
(c) Treatment of Excluded Shares. At the Effective Time, all Company Shares that are owned by the Company (as treasury shares or otherwise) or any of its direct or indirect Subsidiaries immediately prior to the Effective Time (the “Excluded Shares”) shall be automatically canceled, surrendered (if applicable) and extinguished without any consideration delivered in exchange thereof.
(d) No Liability. Notwithstanding anything to the contrary in this Section 4.1, none of Acquisition Surviving Corporation or any party hereto shall be liable to any person for any amount properly paid to a public official pursuant to any applicable abandoned property, escheat or similar law.
(e) Surrender of Certificates. All securities issued upon the surrender of the certificates representing the Company Shares in accordance with the terms hereof, shall be deemed to have been issued in full satisfaction of all rights pertaining to such securities, provided that any restrictions on the sale and transfer of such Company Shares shall also apply to the Closing Payment Shares so issued in exchange.
(f) Lost, Stolen or Destroyed Certificates. In the event any certificates for any Company Share shall have been lost, stolen or destroyed, the Purchaser shall cause to be issued the applicable portion of the Closing Payment Shares for such number of Company Shares represented by such lost, stolen or destroyed certificates, upon the making of an affidavit of that fact by the holder thereof; provided, however, that Purchaser may, in its discretion and as a condition precedent to the issuance thereof, require the owner of such lost, stolen or destroyed certificates to deliver a bond in such sum as it may reasonably direct as indemnity against any claim that may be made against Purchaser with respect to the certificates alleged to have been lost, stolen or destroyed.
(g) Adjustments. Without limiting the other provisions of this Agreement, if at any time during the period between the date of this Agreement and the Effective Time, any change in the outstanding securities of the Company, the Parent Ordinary Shares or the Purchaser Ordinary Shares shall occur (other than the issuance of additional shares of capital stock of the Company or Purchaser or Parent as permitted by this Agreement), including by reason of any reclassification, recapitalization, stock split (including a reverse stock split), or combination, exchange, readjustment of shares, or similar transaction, or any stock dividend or distribution paid in stock, the Closing Payment Shares and any other amounts payable pursuant to this Agreement shall be appropriately adjusted to reflect such change; provided, however, that this sentence shall not be construed to permit Purchaser or the Company to take any action with respect to its securities that is prohibited by the terms of this Agreement.
4.2 Payment of Merger Consideration.
(a) Upon and subject to the terms and conditions of this Agreement, on the Closing Date, the Purchaser shall issue to each Shareholder such number of Closing Payment Shares opposite such Shareholder’s name on Schedule 4.2 attached hereto.
(b) No certificates or scrip representing fractional Purchaser Ordinary Shares will be issued pursuant to the Acquisition Merger, and such fractional share interests will not entitle the owner thereof to vote or to any rights of a shareholder of the Purchaser.
(c) Legend. Each certificate issued pursuant to the Acquisition Merger to any holder of Company Shares shall bear the legend set forth below, or legend substantially equivalent thereto, together with any other legends that may be required by any securities laws at the time of the issuance of the Purchaser Ordinary Shares:
THE ORDINARY SHARES REPRESENTED BY THIS CERTIFICATE HAVE NOT BEEN REGISTERED UNDER THE UNITED STATES SECURITIES ACT OF 1933, AS AMENDED (THE “ACT”), AND MAY NOT BE OFFERED, SOLD OR OTHERWISE TRANSFERRED, PLEDGED OR HYPOTHECATED UNLESS AND UNTIL (I) SUCH OFFER, SALE, TRANSFER, PLEDGE OR HYPOTHECATION HAS BEEN REGISTERED UNDER THE ACT OR (II) THE ISSUER OF THE ORDINARY SHARES HAS RECEIVED AN OPINION OF COUNSEL IN FORM AND SUBSTANCE SATISFACTORY TO THE ISSUER THAT SUCH OFFER, SALE OR TRANSFER, PLEDGE OR HYPOTHECATION IS IN COMPLIANCE WITH THE ACT.
4.3 Earn-Out Payment. In addition to the Closing Payment Shares, the Persons as set forth on Schedule 4.3 shall be entitled to receive additional Purchaser Class A Ordinary Shares as follows (the “Earn-out Shares”). The Earn-out Shares shall be issued no later than five (5) Business Days from the date of the release of the financial statements that confirm the satisfaction of the thresholds outlined below:
(a) 10,000,000 Purchaser Class A Ordinary Shares if the revenue of the Reincorporation Surviving Corporation and its Subsidiaries, as a group, equals or exceeds RMB300,000,000 for the fiscal year containing the Closing Date (the “First Record Year”), as reflected on the audited consolidated financial statements of the Company as of and for the First Record Year filed with the SEC;
(b) 10,000,000 Purchaser Class A Ordinary Shares if the revenue of the Reincorporation Surviving Corporation and its Subsidiaries, as a group, equals or exceeds RMB600,000,000 for the fiscal year following the First Record Year (the “Second Record Year”), as reflected on the audited consolidated financial statements of the Company as of and for the Second Record Year filed with the SEC. RMB, also known as Renminbi or Chinese yuan, means the legal currency of the PRC.
4.4 Withholding. Purchaser and any other applicable withholding agent shall be entitled to deduct and withhold from the consideration otherwise payable to the Shareholders pursuant to this Agreement such amounts as are required to be deducted or withheld with respect to the making of such payment under the Code, or under any provision of state, local or non-U.S. Tax Law. To the extent that amounts are so deducted, withheld and timely paid over to the appropriate Taxing Authority in accordance with applicable Law, such amounts shall be treated for all purposes under this Agreement as having been paid to the Person in respect of which such deduction and withholding was made.
ARTICLE V
REPRESENTATIONS AND WARRANTIES OF THE COMPANY
The Company and the Principal Shareholder, jointly and severally, hereby represent and warrant to the Parent, the Purchaser and the Merger Sub (collectively, “Purchaser Parties”) that each of the following representations and warranties is true, correct and complete as of the date of this Agreement and as of the Closing Date (or, if such representations and warranties are made with respect to a certain date, as of such date). The parties hereto agree that any reference in a particular schedule shall be deemed to be an exception to the representations and warranties of the relevant part(ies) that are contained in the corresponding section of this Agreement only; provided that where it is apparent on the face of a disclosure under a particular schedule that such disclosure is, or may be reasonably determined to be, relevant to the matters described under any other sections of this Agreement, such disclosure may also be deemed to be relevant to such other sections. For the avoidance of doubt, unless the context otherwise required, the below representations and warranties relate to the Company on a consolidated basis with its Subsidiaries. It is being acknowledged that the schedules to this Article V shall be collectively attached hereto as Schedule I.
5.1 Corporate Existence and Power. The Company is an exempted company duly incorporated, validly existing and in good standing under the Laws of the Cayman Islands and its Subsidiaries are duly organized, validly existing and in good standing under the laws of the jurisdiction in which they were formed (the Company and its Subsidiaries, collectively, the “Company Group”). Each member of the Company Group has all requisite power and authority, corporate and otherwise, and all governmental licenses, franchises, Permits, authorizations, consents and approvals necessary and required to own and operate its properties and assets and to carry on the Business as presently conducted, other than as would not be reasonably expected to, individually or in the aggregate, have a Material Adverse Effect. Each member of the Company Group is duly licensed or qualified to do business and is in good standing in each jurisdiction in which the properties owned or leased by it or the operation of its Business as currently conducted makes such licensing or qualification necessary, except where the failure to be so licensed, qualified or in good standing would not have a Material Adverse Effect. Schedule 5.1 lists all jurisdiction in which any member of the Company Group is qualified to conduct the business.
5.2 Authorization. The execution, delivery and performance by each Company Group of this Agreement and the Additional Agreements to which it is a party and the consummation by each Company Group of the transactions contemplated hereby and thereby are within the corporate powers of such Company Group and have been duly authorized by all necessary action on the part of such Company Group, subject to the authorization and approval of this Agreement, the Plan of Acquisition Merger and the transactions contemplated hereby by way of a special resolution of the Shareholders passed by the affirmative vote of holders of Company Shares representing at least two-thirds of the votes of the Company Shares present and voting in person or by proxy at a meeting of the Shareholders in accordance with the current memorandum and articles of association of the Company and the Cayman Law, and such other authorization, if any, as specified in the Organizational Documents (“Requisite Company Vote”). This Agreement constitutes, and, upon their execution and delivery, each of the Additional Agreements will constitute, a valid and legally binding agreement of the Company Group enforceable against such Company Group in accordance with their respective terms to which it is a party.
5.3 Governmental Authorization. Neither the execution, delivery nor performance by the Company Group of this Agreement or any Additional Agreements to which it is a party requires any consent, approval, license or other action by or in respect of, or registration, declaration or filing with, any Authority as of the date of this Agreement, except for the approvals listed on Schedule 5.3 (each of the foregoing, a “Governmental Approval”), which includes but not limited to, the ODI Filings referenced in Section 8.6 and the CSRC approvals referenced in Section 10.1(h).
5.4 Non-Contravention. Except as set forth on Schedule 5.4, to the knowledge of the Company Group, none of the execution, delivery or performance by the Company Group of this Agreement or any Additional Agreements to which it is a party does or will (a) contravene or conflict with the organizational or constitutive documents of the Company Group, (b) contravene or conflict with or constitute a violation of any provision of any Law or Order binding upon or applicable to the Company Group, (c) except for the Contracts listed on Schedule 5.10 requiring Company Group Consents (but only as to the need to obtain such Company Group Consents), constitute a default under or breach of (with or without the giving of notice or the passage of time or both) or violate or give rise to any right of termination, cancellation, amendment or acceleration of any right or obligation of the Company Group or require any payment or reimbursement or to a loss of any material benefit relating to the Business to which the Company Group are entitled under any provision of any Permit, Contract or other instrument or obligations binding upon the Company Group or by which any of the Company Share, or any of the Company Group’s assets is or may be bound or any Permit, or (d) result in the creation or imposition of any Lien on any of the Company Shares, (e) cause a loss of any material benefit relating to the Business to which the Company Group are entitled under any provision of any Permit or Contract binding upon the Company Group, or (f) result in the creation or imposition of any Lien (except for Permitted Liens) on any of the Company Group’s material assets, in the cases of (a) to (d), other than as would not be reasonably expected to, individually or in the aggregate, have a Material Adverse Effect.
5.5 Capital Structure.
(a) Share Capital. The authorized share capital of the Company is $50,000 divided into 500,000,000 shares of a par value of $0.0001 each, of which 50,000,000 ordinary shares of a par value of $0.0001 each are issued and outstanding as of the date hereof. As of the date of this Agreement, (i) no Company Shares are held as treasury shares, (ii) all of the issued and outstanding Company Shares have been duly authorized and validly issued, are fully paid and non-assessable, and, except as set forth in the Company’s Organizational Documents, are not subject to any preemptive rights or have been issued in violation of any preemptive or similar rights of any Person, and (iii) all of the issued and outstanding Company Shares are owned legally and of record by the Persons set forth on Schedule 5.5(a). The only Company Shares that will be issued and outstanding immediately after the Closing will be the Company Shares owned by the Purchaser. As of the date of this Agreement, no other class in the share capital of the Company is authorized or issued or outstanding.
(b) Except as set forth on Schedule 5.5(b), there are no: (a) outstanding Company Share Rights; (b) outstanding subscriptions, options, warrants, rights (including phantom stock rights), calls, commitments, understandings, conversion rights, rights of exchange, plans or other agreements of any kind providing for the purchase, issuance or sale of any share of the Company, (c) to the knowledge of the Company, agreements with respect to any of the Company Shares, including any voting trust, other voting agreement or proxy with respect thereto; or (d) disputes, controversies, demands or claims as to any Company Shares.
5.6 Organizational Documents. Copies of Organizational Documents of each member of the Company Group have heretofore been made available to the Purchaser Parties, and such copies are each true and complete copies of such instruments as amended and in effect on the date hereof. Each member of the Company Group has not taken any action in violation or derogation of its Organizational Documents, other than as would not be reasonably expected to, individually or in the aggregate, have a Material Adverse Effect.
5.7 Corporate Records. All proceedings of the board of directors occurring since June 30, 2022, including committees thereof, and all consents to actions taken thereby, are maintained in the ordinary course consistent with past practice. The register of members or the equivalent documents of the Company Group are complete and accurate. The register of members or the equivalent documents and minute book records of the Company Group relating to all issuances and transfers of stock or share by the Company Group, and all proceedings of the board of directors, including committees thereof, and stockholders or shareholders of the Company Group since June 30, 2022, have been made available to the Purchaser Parties, and are true, correct and complete copies of the original register of members or the equivalent documents and minute book records of the Company Group.
5.8 Assumed Names. Schedule 5.8 is a complete and correct list of all assumed or “doing business as” names currently or, within three (3) years prior to the date of this Agreement used by the Company Group, including names on any websites. Since June 30, 2022, none of the Company Group has used any name other than the names listed on Schedule 5.8 to conduct the Business. The Company Group has filed appropriate “doing business as” certificates in all applicable jurisdictions with respect to itself, to the extent as required by applicable laws.
5.9 Subsidiaries.
(a) Schedule 5.9(a) sets forth the name of each Subsidiary of the Company, and with respect to each Subsidiary, its jurisdiction of organization, its authorized shares or other equity interests (if applicable), and the number of issued and outstanding shares or other equity interests and the record holders thereof. Other than as set forth on Schedule 5.9(a), as the case may be, (i) all of the outstanding equity securities of each Subsidiary of the Company are duly authorized and validly issued, duly registered and non-assessable (if applicable), were offered, sold and delivered in material compliance with all applicable securities Laws, and are owned by the Company Group free and clear of all Liens (other than those, if any, imposed by such Organizational Documents of the Subsidiaries); (ii) there are no Contracts to which the Company or any of its Affiliates is a party or bound with respect to the voting (including voting trusts or proxies) of the shares or other equity interests of any Subsidiary of the Company other than the Organizational Documents of any such Subsidiary; (iii) there are no outstanding or authorized options, warrants, rights, agreements, subscriptions, convertible securities or commitments to which any Subsidiary of the Company is a party or which are binding upon any Subsidiary of the Company providing for the issuance or redemption of any shares or other equity interests in or of any Subsidiary of the Company; (iv) there are no outstanding equity appreciation, phantom equity, profit participation or similar rights granted by any Subsidiary of the Company; (v) except as set forth on Schedule 5.9(a), no Subsidiary of the Company has any limitation on its ability to make any distributions or dividends to its equity holders, whether by Contract, Order or applicable Law; (vi) except for the equity interests of the Subsidiary listed on Schedule 5.9(a), the Company does not own or have any rights to acquire, directly or indirectly, any shares or other equity interests of, or otherwise Control, any Person; (vii) except as set forth on Schedule 5.9(a), none of the Company or its Subsidiaries is a participant in any joint venture, partnership or similar arrangement, and (viii) except as set forth on Schedule 5.9(a), there are no outstanding contractual obligations of the Company or its Subsidiaries to provide funds to, or make any investment (in the form of a loan, capital contribution or otherwise) in, any other Person.
(b) There are no outstanding options, warrants, rights (including conversion rights, preemptive rights, rights of first refusal or similar rights) or agreements to purchase or acquire any equity interest, or any securities convertible into or exchangeable for an equity interest, of the WFOE and Wukong and its subsidiaries.
(c) Zhai Dada HK Limited is the legal and beneficial owner of one hundred percent (100%) of the issued and outstanding equity interests of the WFOE. There are no outstanding options, warrants, rights (including conversion rights, preemptive rights, rights of first refusal or similar rights) or agreements to purchase or acquire any equity interest, or any securities convertible into or exchangeable for an equity interest, of the WFOE.
(d) The capital and organizational structure of each WFOE and PRC Subsidiary (each, a “PRC Entity”) are valid and in full compliance with the applicable PRC Laws, other than as would not reasonably be expected to have a Material Adverse Effect. Except as set forth on Schedule 5.9(d), the registered capital of each PRC Entity has been fully paid up in accordance with the schedule of payment stipulated in its Organizational Documents, approval documents, certificates of approval and legal person business license (collectively, the “PRC Establishment Documents”) and in compliance with applicable PRC Laws. The PRC Establishment Documents of each PRC Entity has been duly approved and filed in accordance with the laws of the PRC and are valid and enforceable. The business scope specified in the PRC Establishment Documents complies in all material respects with the requirements of all applicable PRC Laws, and the operation and conduct of business by, and the term of operation of the PRC Entity in accordance with the PRC Establishment Documents is in compliance in all material respects with applicable PRC Laws.
5.10 Consents. The Contracts listed on Schedule 5.10 are the only Contracts binding upon the Company Group or by which any of the Company Shares, or any of the Company Group’s assets are bound, requiring a consent, approval, authorization, order or other action of or filing with any Person as a result of the execution, delivery and performance of this Agreement or any of the Additional Agreements or the consummation of the transactions contemplated hereby or thereby (each of the foregoing, a “Company Group Consent”).
5.11 Financial Statements.
(a) Schedule 5.11 includes the unaudited consolidated financial statements of the Company Group as of and for the fiscal years ended June 30, 2023 and 2024, consisting of the unaudited consolidated balance sheets as of such date, the unaudited consolidated income statements for the twelve (12) month periods ended on such date, and the unaudited consolidated cash flow statements for the twelve (12) month periods ended on such date, audited in accordance with the requirements of the Public Company Accounting Oversight Board, and (ii) unaudited financial statements of the Company as of and for the six (6) month period ended December 31, 2024 (the “Balance Sheet Date”), consisting of the unaudited consolidated balance sheets as of such date (the “Company Balance Sheet”), the unaudited consolidated income statement for the six (6) month periods ended on such date, and the unaudited consolidated cash flow statements for the six (6) month periods ended on such date (the “Unaudited Financial Statements,” and together with the Audited Financial Statements (as defined below) and the Interim U.S. GAAP Financial Statements (as defined below), the “Financial Statements”).
(b) The Unaudited Financial Statements are complete and accurate and fairly present in all material respects, in conformity with its applicable accounting standards applied on a consistent basis in all material respects, the financial position of the Company as of the dates thereof and the results of operations of the Company for the periods reflected therein. The Unaudited Financial Statements (i) were prepared from the Books and Records of the Company; (ii) were prepared on an accrual basis in accordance with its applicable accounting standards consistently applied; (iii) contain and reflect all necessary adjustments and accruals for a fair presentation of the Company’s financial condition as of their dates including for all warranty, maintenance, service and indemnification obligations; and (iv) contain and reflect adequate provisions for all Liabilities for all material Taxes applicable to the Company with respect to the periods then ended.
(c) Except as specifically disclosed in Schedule 5.11(c), reflected or fully reserved against on the Unaudited Financial Statements, and for liabilities and obligations of a similar nature and/or in similar amounts incurred in the ordinary course of business since the Balance Sheet Date, as of the date of this Agreement there are no material liabilities or debts of any nature (whether accrued, fixed or contingent, liquidated or unliquidated, asserted or unassisted or otherwise) relating to the Company. All material debts and liabilities, fixed or contingent, which should be included under U.S. GAAP on the Unaudited Financial Statements, are included therein or in the notes thereof.
(d) The Unaudited Financial Statements accurately reflects in all material respects the outstanding Indebtedness of the Company as of the respective dates thereof. Except as set forth on Schedule 5.11(d), the Company does not have any material Indebtedness.
(e) All financial projections delivered by or on behalf of the Company to Purchaser with respect to the Business were prepared in good faith using assumptions that the Company believes to be reasonable and the Company is not aware of the existence of any fact or occurrence of any circumstances that is reasonably likely to have a Material Adverse Effect.
5.12 Books and Records. All Contracts, documents, and other papers or copies thereof delivered to the Purchaser Parties by or on behalf of the Company Group are accurate, complete, and authentic.
(a) The Books and Records accurately and fairly, in all material respects, reflect the transactions and dispositions of assets of and the providing of services by each member of the Company Group. The Company Group maintains a system of internal accounting controls sufficient to provide reasonable assurance that:
(i) transactions are executed only in accordance with the respective management’s authorization;
(ii) all income and expense items are promptly and properly recorded for the relevant periods in accordance with the revenue recognition and expense policies maintained by the Company Group, as permitted by U.S. GAAP;
(iii) access to assets is permitted only in accordance with the respective management’s authorization; and
(iv) recorded assets are compared with existing assets at reasonable intervals, and appropriate action is taken with respect to any differences.
(b) All accounts, books and ledgers of the Company Group have been properly and accurately kept and completed in all material respects, and there are no material inaccuracies or discrepancies of any kind contained or reflected therein. Except as disclosed on Schedule 5.12(b), the Company Group does not have any records, systems controls, data or information recorded, stored, maintained, operated or otherwise wholly or partly dependent on or held by any means (including any mechanical, electronic or photographic process, whether computerized or not) which (including all means of access thereto and therefrom) are not under the exclusive ownership (excluding licensed software programs) and direct control of the Company Group and which is not located at the relevant office.
(c) Since June 30, 2022, neither the Company nor any Subsidiary of the Company has received any written or, to the actual knowledge of the Company, oral allegation, assertion or claim with respect to accounting, internal accounting controls, auditing practices, procedures, methodologies or methods of the Company or any Subsidiary of the Company, or unlawful accounting or auditing matters with respect to the Company or any Subsidiary of the Company.
(d) Since June 30, 2022, no internal investigations with respect to accounting, auditing or revenue recognition have been conducted by the Company or any Subsidiary of the Company.
5.13 Absence of Certain Changes. Since the Balance Sheet Date, the Company Group has conducted the Business in the ordinary course consistent with past practices. Without limiting the generality of the foregoing, to the knowledge of the Company Group,except as set forth on Schedule 5.13, since the Balance Sheet Date, there has not been:
(a) any Material Adverse Effect;
(b) any transaction, Contract or other instrument entered into, or commitment made, by the Company Group relating to the Business, or any of the Company Group’s assets (including the acquisition or disposition of any assets) or any relinquishment by the Company Group of any Contract or other right, in either case other than transactions and commitments in the ordinary course of business consistent or similar in all material respects, including kind and/or amount, with past practices and those contemplated by this Agreement;
(c) (i) any redemption of, declaration, setting aside or payment of any dividend or other distribution with respect to any capital stock or share capital or other equity interests in the Company Group; (ii) any issuance by the Company Group of shares or of shares of capital stock or other equity interests in the Company Group, or (iii) any repurchase, redemption or other acquisition, or any amendment of any term, by the Company Group of any outstanding shares or shares of capital stock or other equity interests;
(d) (i) any creation or other incurrence of any Lien other than Permitted Liens on the Company Share or any of the Company Group’s assets, and (ii) any making of any loan, advance or capital contributions to or investment in any Person by the Company Group, in each case other than in the ordinary course of business consistent with past practice of the Company Group;
(e) any material personal property damage, destruction or casualty loss or personal injury loss (whether or not covered by insurance) affecting the business or assets of the Company Group which will cause a Material Adverse Effect;
(f) any material labor dispute, other than routine individual grievances, or any material activity or proceeding by a labor union or representative thereof to organize any employees of the Company Group, which employees were not subject to a collective bargaining agreement at the Balance Sheet Date, or any lockouts, strikes, slowdowns, work stoppages or threats thereof by or with respect to any employees of the Company Group;
(g) any sale, transfer, lease to others or otherwise disposition of any of its material assets by the Company Group except for inventory, licenses or services sold in the ordinary course of business consistent with past practices or immaterial amounts of other Tangible Personal Property not required by its business;
(h) (i) any amendment to or termination of any Material Contract, (ii) any amendment to any material license or material permit from any Authority held by the Company Group, (iii) any receipt of any notice of termination of any of the items referenced in (i) and (ii); and (iv) a material default by the Company Group under any Material Contract, or any material license or material permit from any Authority held by the Company Group, other than in the cases of each of clauses (i) through (iv), as provided for in this Agreement or the transactions contemplated hereunder or as would not reasonably be expected to, individually or in the aggregate, have a Material Adverse Effect;
(i) other than in the ordinary course of business, any capital expenditure by the Company Group in excess in any fiscal month of $150,000 per one transaction or entering into any lease of capital equipment or property under which the annual lease charges exceed $150,000 in the aggregate by the Company Group;
(j) any institution of litigation, settlement or agreement to settle any litigation, action, proceeding or investigation before any court or governmental body relating to the Company Group or its property or suffering of any actual litigation, action, proceeding or investigation before any court or governmental body relating to the Company Group or its property, other than as would not be reasonably expected to, individually or in the aggregate, have a Material Adverse Effect;
(k) any loan of any monies to any Person or guarantee of any obligations of any Person by the Company Group, in excess of $150,000, other than accounts payable and accrued liabilities in the ordinary course of business consistent with past business or any loan among Company Group, or any loan approved by the board of directors or shareholders pursuant to its Organizational Documents;
(l) except as required by U.S. GAAP, any change in the accounting methods or practices (including, any change in depreciation or amortization policies or rates) of the Company Group or any revaluation of any of the assets of the Company Group;
(m) any material amendment to the Company Group’s Organizational Documents, or any engagement by the Company Group in any merger, consolidation, reorganization, reclassification, liquidation, dissolution or similar transaction, other than as provided for in this Agreement or the transactions contemplated hereunder;
(n) any acquisition of assets (other than acquisitions of inventory in the ordinary course of business consistent with past practice) or business of any Person, other than as would not be reasonably expected to, individually or in the aggregate, have a Material Adverse Effect;
(o) any material Tax election made by the Company Group outside of the ordinary course of business consistent with past practice, or any material Tax election changed or revoked by the Company Group; any material claim, notice, audit report or assessment in respect of Taxes settled or compromised by the Company Group; any annual Tax accounting period changed by the Company Group; any Tax allocation agreement, Tax sharing agreement, Tax indemnity agreement or closing agreement relating to any Tax (other than an ordinary commercial agreement the principal purpose of which does not relate to Taxes) entered into by the Company Group; or any right to claim a material Tax refund surrendered by the Company Group;
(p) any action taken by the Company Group or any event occurred which would have violated the covenants of the Company Group set forth in Section 7.1 herein if such action had been taken or such event had occurred between the date hereof and the Closing Date, or
(q) any undertaking of any legally binding obligation to do any of the foregoing.
5.14 Properties; Title to the Company Group’s Assets.
(a) Except as set forth on Schedule 5.14(a), the material items of Tangible Personal Property have no defects, are in good operating condition and repair and function in accordance with their intended uses (ordinary wear and tear excepted) and have been properly maintained, and are suitable for their present uses and meet all specifications and warranty requirements with respect thereto. All of the Tangible Personal Property is in the control of the Company or its employees.
(b) The Company Group has good, valid and marketable title in and to, or in the case of the Leases and the assets which are leased or licensed pursuant to Contracts, a valid leasehold interest or license in or a right to use, all of their assets reflected on the Financial Statements or acquired after Balance Sheet Date, other than as would not reasonably be expected to, individually or in the aggregate, have a Material Adverse Effect. Except as set forth on Schedule 5.14(b), no such asset is subject to any Liens other than Permitted Liens. Other than as would not reasonably be expected to, individually or in the aggregate, have a Material Adverse Effect, the Company Group’s assets constitute all of the assets of any kind or description whatsoever, including goodwill, for the Company Group to operate the Business immediately after the Closing in the same manner as the Business is currently being conducted.
5.15 Litigation. Except as set forth on Schedule 5.15, there is no Action (or any reasonable basis therefore) pending against, or to the knowledge of the Company Group threatened in writing against or affecting, the Company Group, any of its officers or directors, the Business, or any Company Shares, or any of the Company Group’s assets or any Contract before any court, Authority or official or which in any manner challenges or seeks to prevent, enjoin, alter or delay the transactions contemplated hereby or by the Additional Agreements, other than as would not reasonably be expected to, individually or in the aggregate, have a Material Adverse Effect. There are no outstanding judgments against the Company Group that would reasonably to be expected to, individually or in the aggregate, have a Material Adverse Effect on the ability of the Company to enter into and perform its obligations under this Agreement. Each member of the Company Group is not, and has not been in the past three (3) years, subject to any proceeding with any Authority, other than as would not reasonably be expected to have, individually or in the aggregate, a Material Adverse Effect.
5.16 Contracts.
(a) Schedule 5.16(a) lists all oral or written material Contracts (collectively, the “Material Contracts”) to which the Company Group is a party and which are currently in effect and constitute the following:
(i) all Contracts that require annual payments or expenses by, or annual payments or income to, the Company Group of $500,000 or more (other than standard purchase and sale orders entered into in the ordinary course of business consistent with past practice);
(ii) all sales, advertising, agency, lobbying, broker, sales promotion, market research, marketing or similar contracts and agreements, in each case requiring the payment of any commissions by the Company Group in excess of $150,000 annually;
(iii) all employment Contracts, employee leasing Contracts, and consultant and sales representatives Contracts with any current or former officer, director, employee or consultant of the Company Group or other Person, under which the Company Group (A) has continuing obligations for payment of annual compensation of at least $100,000 (other than oral arrangements for at-will employment), (B) has material severance or post termination obligations to such Person (other than COBRA obligations in excess of $100,000, or (C) has an obligation to make a payment in excess of $100,000 upon consummation of the transactions contemplated hereby or as a result of a change of control of the Company Group;
(iv) all Contracts creating a material joint venture, material strategic alliance, material limited liability company and partnership agreements to which the Company Group is a party;
(v) all Contracts relating to any material acquisitions or dispositions of assets by the Company Group in excess of $500,000;
(vi) all Contracts for material licensing agreements, including Contracts licensing Intellectual Property Rights, other than non-exclusive licenses granted in the ordinary course of business;
(vii) all Contracts relating to material secrecy, confidentiality and nondisclosure agreements restricting the conduct of the Company Group or substantially limiting the freedom of the Company Group to compete in any line of business or with any Person or in any geographic area;
(viii) all Contracts relating to material patents, trademarks, service marks, trade names, brands, copyrights, trade secrets, license and other material Intellectual Property Rights of the Company Group;
(ix) all Contracts providing for material guarantees, indemnification arrangements and other hold harmless arrangements made or provided by the Company Group, including all ongoing agreements for repair, warranty, maintenance, service, indemnification or similar obligations
(x) all Contracts with or pertaining to the Company Group to which any 10% Shareholder is a party;
(xi) other than the ordinary course of business, all Contracts relating to property or assets (whether real or personal, tangible or intangible) in which the Company Group holds a leasehold interest (including the Leases) and which involve payments to the lessor thereunder in excess of $50,000 per month;
(xii) all Contracts relating to outstanding Indebtedness, including financial instruments of indenture or security instruments (typically interest-bearing) such as notes, mortgages, loans and lines of credit, except any such Contract with an aggregate outstanding principal amount not exceeding $300,000;
(xiii) any Contract relating to the voting or control of the equity interests of the Company Group or the election of directors of the Company (other than the Organizational Documents of the Company Group);
(xiv) any Contract that can be terminated, or the provisions of which are altered so that the purpose of the Contract cannot be achieved, as a result of the consummation of the transactions contemplated by this Agreement or any of the Additional Agreements to which the Company Group is a party; and
(xv) any Contract for which any of the benefits, compensation or payments (or the vesting thereof) with respect to a director, officer, employee or consultant of a member of Company Group will be increased or accelerated by the consummation of the transactions contemplated hereby or the amount or value thereof will be calculated on the basis of any of the transactions contemplated by this Agreement.
(b) Except as would not reasonably be expected to, individually or in the aggregate, have a Material Adverse Effect or set forth on Schedule 5.16(b), (i) each Material Contract is a valid and binding agreement, and is in full force and effect, and neither the Company Group nor, to the Company Group’s knowledge, any other party thereto, is in breach or default (whether with or without the passage of time or the giving of notice or both) under the terms of any such Material Contract, (ii) the Company Group has not assigned, delegated, or otherwise transferred any of its rights or obligations with respect to any Material Contracts, or granted any power of attorney with respect thereto or to any of the Company Group’s assets, (iii) no Contract (A) requires the Company Group to post a bond or deliver any other form of security or payment to secure its obligations thereunder or (B) imposes any non-competition covenants that may be binding on, or restrict the Business or require any payments by or with respect to Purchaser or any of its Affiliates. The Company Group previously provided to the Purchaser Parties true and correct fully executed copies of each written Material Contract.
(c) Except as would not reasonably be expected to, individually or in the aggregate, have a Material Adverse Effect or set forth on Schedule 5.16(c), none of the execution, delivery or performance by the Company Group of this Agreement or Additional Agreements to which the Company Group is a party or the consummation by the Company Group of the transactions contemplated hereby or thereby constitutes a default under or gives rise to any right of termination, cancellation or acceleration of any obligation of the Company or to a loss of any material benefit to which the Company Group is entitled under any provision of any Material Contract.
(d) Except would not reasonably be expected to, individually or in the aggregate, have a Material Adverse Effect or as set forth on Schedule 5.16(d), the Company Group is in compliance with all covenants, including all financial covenants, in all notes, indentures, bonds and other instruments or agreements evidencing any Indebtedness.
5.17 Licenses and Permits. Schedule 5.17 correctly lists each material license, franchise, permit, order or approval or other similar authorization affecting, or relating in any way to, the Business, together with the name of the Authority issuing the same (the “Permits”). Except as would not reasonably be expected to, individually or in the aggregate, have a Material Adverse Effect or set forth on Schedule 5.17, such Permits are valid and in full force and effect, and none of the Permits will, assuming the related third party consent has been obtained or waived prior to the Closing Date, be terminated or impaired or become terminable as a result of the transactions contemplated hereby. Other than as would not reasonably be expected to, individually or in the aggregate, have a Material Adverse Effect, the Company Group has all Permits necessary to operate the Business.
5.18 Cybersecurity; Compliance with Laws; Regulatory Matters.
(a) Except as set forth on Schedule 5.18(a), the Company Group is not in violation of, has not violated, and to the Company Group’s knowledge, is neither under investigation with respect to nor has been threatened to be charged with or given notice of any violation or alleged violation of, any Law, or judgment, order or decree entered by any court, arbitrator or Authority, domestic or foreign, nor is there any basis for any such charge, and since June 30, 2022, the Company Group has not received any subpoenas by any Authority. Except as set forth on Schedule 5.18(a), and to the Company Group’s knowledge, no material permit, license or registration is required by the Company Group in the conduct of the Business under any of the Laws described in this Section 5.18. The WFOE has complied in all material respects with all applicable PRC Laws in connection with foreign exchange. Each holder or beneficial owner of an equity security of a Company Group who is a “Domestic Resident” as defined in Circular 37 and is subject to any of the registration or reporting requirements of Circular 37, has complied with all reporting and/or registration requirements (including filings of amendments to existing registrations) under the SAFE Rules and Regulations, and has made all written filings, registrations, reporting or any other communications required by SAFE or any of its local branches. No Company Group has received any oral or written inquiries, notifications, orders or any other form of official correspondence from SAFE or any of its local branches with respect to any actual or alleged non-compliance with SAFE Rules and Regulations, and each Company Group has obtained all certificates, approvals, permits, licenses, registration receipts and other similar authorizations which are necessary for such Company Group to conduct foreign exchange transactions as now being conducted in compliance with PRC Laws in all material respects. Without limiting the generality of the foregoing, all Approvals of the governmental Authorities of the PRC that are required to be obtained or made in respect of, as applicable, each of the Company Group and the WFOE with respect to its establishment, capital structure, business and operations as it is now being conducted, including the Approvals of the State Administration for Market Regulation of the PRC (formerly the State Administration for Industry and Commerce), the Ministry of Commerce of the PRC, the Nation-al Development and Reform Commission of the PRC, the Ministry of Industry and In-formation Technology of the PRC, SAFE, the Ministry of Human Resources and Social Security of the PRC, and the State Administration of Taxation of the PRC, and their respective local counterparts, if required, have been duly completed in accordance with the applicable Laws of the PRC, except for any such Approvals the absence of which would not, individually or in the aggregate, have a Material Adverse Effect on the Company Group.
(b) Except as set forth on Schedule 5.18(b), to the Company’s actual knowledge, in connection with its collection, storage, use, processing and/or disclosure of any information that constitutes “personal information,” “personal data” or “personally identifiable information” as defined in applicable Laws (collectively “Personal Information”) by or on behalf of any Company Group, the Company Group is and has been in compliance with (i) all applicable Laws (including, without limitation, Laws relating to privacy, personal data protection, use of data, data security, telephone and text message communications, and marketing by email or other channels) in all relevant jurisdictions, (ii) the Company Group’s privacy policies and public written statements regarding the Company Group’s privacy or data security practices, and (iii) the requirements of any contract codes of conduct or industry standards by which any Company Group is bound. The Company Group maintains and has implemented and maintained reasonable physical, technical, organizational and administrative security measures, procedures and policies or otherwise intended or designed to protect all Personal Information and other data owned, stored, used, processed, maintained or controlled by or on behalf of the Company Group from and against unlawful, accidental or unauthorized access, destruction, loss, use, modification and/or disclosure. Each Company Group is and has (i) undertaken and resolved or is in the process of resolving in good faith, any material issues identified by any surveys, audits, or assessments (including any risk assessments and risk analyses) of all areas of its business and operations, in each case, required in accordance with applicable Privacy Laws, (ii) made all material disclosures to, and obtained all appropriate and material consents, approvals or authorizations from customers, employees, directors, officers, consultants, contractors and other applicable Persons as required under applicable Privacy Laws to Process such Personal Information lawfully and in accordance with applicable Privacy Laws, (iii) been in compliance in all material respects with all Laws relating to data loss, theft and breach of security notification obligations and (iv) filed all material registrations required under applicable Privacy Laws with the applicable data protection authority, in each case to the extent required under applicable Privacy Laws. To the actual knowledge of the Company Group, there has been no occurrence of (x) unlawful, accidental or unauthorized destruction, loss, use, processing, modification or disclosure of or access to Personal Information owned, stored, used, processed, maintained or controlled by or on behalf of the Company Group which require or required the Company Group to notify Authorities, affected individuals or other parties of such occurrence (y) unauthorized access to or disclosure of the Company Group’s confidential information or trade secrets or (z) data security incidents, data breaches, ransomware incidents, or other adverse events or incidents related to any IT Assets, Personal Information, or Company data in the custody or control of the Company Group or any Service Provider Processing Personal Information on behalf of the Company or the Company Subsidiaries. No Actions are pending or, to the actual knowledge of the Company, threatened in writing against the Company Group relating to the collection, use, dissemination, storage and protection of Personal Information. No member of the Company Group has (i) been subject to any actual or threatened investigation, notice, or request from any Governmental Authority in relation to its processing of data, data protection, privacy, or cybersecurity activities, (ii) received any actual or threatened claim, written communication, enquiry, notification of, warning or complaint from any individual or governmental Authority (including the Cyberspace Administration of China, or the CAC) alleging any violation or breach of applicable Privacy Laws or Security Requirement (including, without limitation, the CSRC Archive Rules), (iii) been involved in any investigation on cybersecurity review initiated by the CAC, the CSRC or any other Authority or received any written notice from any Authority against any member of the Company Group or their respective directors, officers, and employees or (iv) received any written objection to the transactions contemplated under this Agreement from the CSRC, the CAC or any relevant data protection, privacy or security Authority. The processing of Personal Information by the Company Group is carried out in accordance with applicable Privacy Laws, and where applicable, with appropriate safeguards for any transfer of such Personal Information, in all material respects.
(c) To the Company Group’s best knowledge, and after discussion with applicable regulators, the Company Group is not required to apply for and complete the cybersecurity review filing for overseas listing to the CAC.
(d) To the actual knowledge of the Company, since June 30, 2022, (i) there have been no material breaches of the security of the IT Assets used or held for use by the Company and its Subsidiaries in their businesses, and (ii) there have been no disruptions in any such IT Assets that materially adversely affected the Company’s and its Subsidiaries’ business or operations. The Company and its Subsidiaries take commercially reasonable and legally compliant measures designed to protect confidential or sensitive information and Personal Information in its possession or control against unauthorized access, use, modification, disclosure or other misuse, including through administrative, technical and physical safeguards. Since June 30, 2022, neither the Company nor any Subsidiary of the Company has (A) to the actual knowledge of the Company, experienced any material incident in which such information was stolen, or accessed, used or disclosed without authorization, including in connection with a breach of security, or (B) received any written (or, to the actual knowledge of the Company, any other) notice or complaint from any Person (including an Authority) with respect to any of the foregoing, nor has any such notice or complaint been threatened in writing against the Company or any of the Company’s Subsidiaries.
(e) None of the Company nor any Subsidiary of the Company has (i) made an untrue statement of a material fact or fraudulent statement to any Authority; (ii) failed to disclose a material fact required to be disclosed to any Authority.
5.19 Intellectual Property.
(a) Schedule 5.19 sets forth a true, correct and complete list of all material Intellectual Properties owned by the Company Group, specifying as to each, as applicable: (i) the nature of such Intellectual Property Right; (ii) the owner of such Intellectual Property Right; (iii) the jurisdictions by or in which such Intellectual Property Right has been issued or registered or in which an application for such issuance or registration has been filed; and (iv) licenses, sublicenses and other agreements pursuant to which any Person is authorized to use such Intellectual Properties.
(b) The Company Group owns free and clear of all Liens, or has the valid right or license to use, all products, materials, scripts, pictures, software, tools, computer programs, specifications, source code, object code, improvements, discoveries, user interfaces, Internet domain names, enterprise or business names, logos, data, information and inventions, and all documentation and media constituting, describing or relating to the foregoing that is required or used in its business as currently conducted or as proposed to be conducted together with all Intellectual Property Rights in or to all of the foregoing.
(c) Except as set forth on Schedule 5.19(c), within the past three (3) years the Company Group has not been sued or charged in writing with or been a defendant in any Action that involves a claim of infringement of any Intellectual Property Rights, and the Company Group has no knowledge of any other claim of infringement by the Company Group, and no knowledge of any continuing infringement by any other Person of any Intellectual Property Rights of the Company Group.
(d) To the knowledge of the Company Group, the current use by the Company Group of the Intellectual Property Rights does not infringe, and will not infringe, the rights of any other Person in any material respect.
(e) Except as disclosed on Schedule 5.19(e), all employees, agents, consultants or contractors who have contributed to or participated in the creation or development of any material copyrights, patents or trade secrets on behalf of the Company Group or any predecessor in interest thereto either: (i) is a party to a “work-for-hire” agreement under which the Company Group is deemed to be the original owner/author of all property rights therein; or (ii) has executed an assignment or an agreement to assign in favor of the Company Group (or such predecessor in interest, as applicable) all right, title and interest in such material.
(f) All employees, agents, consultants or contractors who have contributed to or participated in the creation or development of any material copyrights, patents, trade secrets, content and format of content, writings, photographs, drawings, artwork, music (including any musical compositions and master recordings thereof), games, software, audio-visual works, and any underlying materials thereof, and any other literary and artistic works on behalf of the Company Group or any predecessor in interest thereto either: (i) is a party to a “work-for-hire” agreement under which the Company Group is deemed to be the original owner/author of all property rights therein; or (ii) has executed an assignment or an agreement to assign in favor of the Company Group (or such predecessor in interest, as applicable) all right, title and interest in such material.
(g) To the knowledge of the Company Group, no current or former employee, agent, consultant or contractor who have contributed to or participated in the creation or development of any material copyrights, patents, trade secrets, content and format of content, writings, photographs, drawings, artwork, music (including any musical compositions and master recordings thereof), games, software, audio-visual works, and any underlying materials thereof, and any other literary and artistic works on behalf of the Company Group or any predecessor in interest thereto either is subject to any arrangement which may cause any rights in or to such intellectual properties to be retained by such current or former employee, agent, consultant or contractor, or to be assigned, transferred, granted or licensed to, or otherwise vested in any other Person.
(h) None of the execution, delivery or performance by the Company Group of this Agreement or any of the Additional Agreements to which the Company Group is a party or the consummation by the Company Group of the transactions contemplated hereby or thereby will cause any material item of Intellectual Property Rights owned, licensed, used or held for use by the Company Group immediately prior to the Closing to not be owned, licensed or available for use by the Company Group on substantially the same terms and conditions immediately following the Closing in any material respect.
(i) The Company Group has taken reasonable measures to safeguard and maintain the confidentiality and value of all trade secrets and other items of Company Intellectual Property that are confidential and all other confidential information, data and materials licensed by the Company Group or otherwise used in the operation of the Business.
5.20 Customers and Suppliers.
(a) Schedule 5.20(a) sets forth a list of the top ten (10) customers (by the dollar amount of purchases thereby) of the Company Group for the fiscal years ended June 30, 2023 and 2024 and for the six-month period ended December 31, 2024 (collectively, the “Material Customers”), and the aggregate amount of consideration paid to Company Group by each Material Customer during each such period. Except as set forth in Schedule 5.20(a), as of the Signing Date, no such Material Customer has expressed to the Company Group in writing, and the Company Group has no knowledge of, any Material Customer’s intention to cancel or otherwise terminate, or materially reduce or adversely modify, its relationship with Company Group or of a material breach of the terms of any contract with such Material Customer.
(b) Schedule 5.20(b) sets forth a list of the top ten (10) vendors to and/or suppliers of (by the dollar amount of purchases therefrom) the Company Group for the fiscal years ended June 30, 2023 and 2024, and for the six-month period ended December 31, 2024 (collectively, the “Material Suppliers”), and the aggregate amount of consideration paid to each Material Supplier by each Group Party during each such period. Except as set forth in Schedule 5.20(b), no Material Supplier is the sole source of the goods or services supplied by such Material Supplier. Except as set forth on Schedule 5.20(b), to the actual knowledge of the Company Group, no supplier listed on Schedule 5.20(b) has (i) terminated its relationship with the Company Group, (ii) materially reduced its business with the Company Group or materially and adversely modified its relationship with the Company Group, (iii) notified the Company Group in writing of its intention to take any such action, or (iv) to the knowledge of the Company Group, become insolvent or subject to bankruptcy proceedings.
5.21 Accounts Receivable and Payable; Loans.
(a) To the Company Group’s knowledge, all accounts receivables and notes of the Company Group reflected on the Financial Statements, and all accounts receivable and notes arising subsequent to the date thereof, represent valid obligations arising from services actually performed or goods actually sold by the Company Group in the ordinary course of business consistent with past practice. To the Company Group’s knowledge, the accounts payable of the Company Group reflected on the Financial Statements, and all accounts payable arising subsequent to the date thereof, arose from bona fide transactions in the ordinary course consistent with past practice or approved by the board of directors or shareholders pursuant to the Organizational Documents of Company Group.
(b) To the Company Group’s knowledge, there is no contest, claim, or right of setoff in any agreement with any maker of an account receivable or note relating to the amount or validity of such account, receivables or note that could reasonably result in a Material Adverse Effect. To the Company Group’s knowledge, except as set forth on Schedule 5.21(b), all accounts, receivables or notes are good and collectible in the ordinary course of business or approved by the board of directors or shareholders pursuant to the Organizational Documents of Company Group.
(c) The information set forth on Schedule 5.21(c) separately identifies any and all accounts receivables or notes of the Company Group which are owed by any other entities except for Affiliate of the Company Group as of the Balance Sheet Date and which are not reflected on the Financial Statements. Except as set forth on Schedule 5.21(c), the Company Group is not indebted to any other entities except for Affiliate of the Company Group and no entities except for Affiliate of the Company Group are indebted to the Company Group.
5.22 Pre-payments. Except as set forth on Schedule 5.22, the Company Group has not received any payments with respect to any services to be rendered or goods to be provided after the Closing except in the ordinary course of business or those reflected on the Financial Statements.
5.23 Employees.
(a) Schedule 5.23(a) sets forth a true, correct and complete list of each of the Key Personnel of the Company Group, setting forth the name, title for each such person.
(b) Except as set forth on Schedule 5.23(b), the Company Group is not a party to or subject to any employment contract, consulting agreement, collective bargaining agreement, confidentiality agreement restricting the activities of the Company Group, non-competition agreement restricting the activities of the Company Group, or any similar agreement, and there has been no activity or proceeding by a labor union or representative thereof to organize any employees of the Company Group.
(c) There are no pending or, to the knowledge of the Company Group, threatened claims or proceedings against the Company Group under any worker’s compensation policy or long-term disability policy.
5.24 Employment Matters.
(a) Schedule 5.24(a) sets forth a true and complete list of (i) the form of employment agreement and if applicable, commission agreement (the “Labor Agreements”), and (ii) each employee group or executive medical, life, or disability insurance plan, and each incentive, bonus, profit sharing, retirement, deferred compensation, equity, phantom stock, stock option, stock purchase, stock appreciation right or severance plan of the Company Group now in effect or under which the Company Group has any obligation, or any understanding between the Company Group and any employee concerning the terms of such employee’s employment that does not apply to the Company Group’s employees generally. The Company Group has previously delivered to the Purchaser Parties true and complete copies of such forms of the Labor Agreements and each generally applicable employee handbook or policy statement of the Company Group.
(b) Except as disclosed on Schedule 5.24(b) and other than as would not reasonably be expected to, individually or in the aggregate, have a Material Adverse Effect:
(i) to the knowledge of the Company Group, no current employee of the Company Group, in the ordinary course of his or her duties, has breached any obligation to a former employer in respect of any covenant against competition or soliciting clients or employees or servicing clients or confidentiality or any proprietary right of such former employer; and
(ii) the Company Group is not a party to any collective bargaining agreement, does not have any material labor relations disputes, and, to the knowledge of the Company Group, there is no pending representation question or union organizing activity respecting employees of the Company Group.
5.25 Withholding. Except as disclosed on Schedule 5.25, all obligations of the Company Group applicable to its employees, whether arising by operation of Law, by contract, by past custom or otherwise, or attributable to payments by the Company Group to trusts or other funds or to any governmental agency, with respect to unemployment compensation benefits, social security benefits or any other benefits for its employees with respect to the employment of said employees through the date hereof have been paid or adequate accruals therefor have been made on the Financial Statements, other than as would not reasonably be expected to, individually or in the aggregate, have a Material Adverse Effect. Except as disclosed on Schedule 5.25, all reasonably anticipated obligations of the Company Group with respect to such employees (except for those related to wages during the pay period immediately prior to the Closing Date and arising in the ordinary course of business), whether arising by operation of Law, by contract, by past custom, or otherwise, for salaries and holiday pay, bonuses and other forms of compensation payable to such employees in respect of the services rendered by any of them prior to the date hereof have been or will be paid by the Company Group prior to the Closing Date, other than as would not reasonably be expected to, individually or in the aggregate, have a Material Adverse Effect.
5.26 Real Property.
(a) Except as set forth on Schedule 5.26, the Company Group does not own any Real Property. Other than as would not reasonably be expected to, individually or in the aggregate, have a Material Adverse Effect, the Company Group has good, valid and subsisting title to its respective owned Real Property described on Schedule 5.26, free and clear of all Liens (except for the Permitted Liens).
(b) With respect to each Lease and to the Company Group’s knowledge: (i) each Lease is valid, binding and in full force and effect; (ii) all rents and additional rents and other sums, expenses and charges due thereunder have been paid unless the non-payment are due to circumstances beyond the Company Group’s control; (iii) the lessee has been in peaceable possession since the commencement of the original term thereof; (iv) no waiver, indulgence or postponement of the lessee’s obligations thereunder has been granted by the lessor; (v) there exist no default or event of default thereunder by the Company Group; and (vi) there are no outstanding claims of breach or indemnification or notice of default or termination thereunder, in cases of each of clauses (i) through (vi), other than as would not reasonably be expected to, individually or in the aggregate, have a Material Adverse Effect. The Company Group holds the leasehold estate on the Lease free and clear of all Liens, except for the Permitted Liens and the Liens of mortgagees of the Real Property in which such leasehold estate is located. The Real Property leased by the Company Group is in a state of maintenance and repair in all material respects adequate and suitable for the purposes for which it is presently being used in all material respects, and there are no material repair or restoration works likely to be required in connection with any of the leased Real Properties other than as would, individually or in the aggregate, would cost the Company Group less than $50,000 on an annual basis to repair or otherwise remediate for any single Real Property.
5.27 Accounts. Schedule 5.27 sets forth a true, complete and correct list of the checking accounts, deposit accounts, safe deposit boxes, and brokerage, commodity and similar accounts of the Company, including the account number and name, the name of each depositary or financial institution and the address where such account is located and the authorized signatories thereto.
5.28 Tax Matters.
(a) The Company Group has duly and timely filed all Tax Returns required by applicable Law to be filed by the Company Group; all Taxes (whether or not shown on any Tax Returns) due and owing by the Company Group have been paid, other than Taxes being contested in good faith and for which adequate reserves have been established in accordance with IFRS, U.S. GAAP or other acceptable accounting principles; and all such Tax Returns were true, complete and correct in all respects.
(b) There is no Proceeding, audit or claim now in progress against the Company Group in respect of any Tax, nor has any Proceeding for additional Tax been asserted in writing by any Tax authority that has not been resolved or settled in full.
(c) No written claim has been made by any Tax authority in a jurisdiction where the Company Group has not filed a Tax Return that it is or may be subject to Tax by such jurisdiction.
(d) The Company Group is not is a party to any Tax sharing agreement, Tax indemnification agreement, Tax allocation agreement or similar agreement (other than Contracts entered into in the ordinary course and not relating primarily to Taxes).
(e) The Company Group has withheld and paid all Taxes required to be withheld in connection with any amounts paid or owing to any employee, creditor, independent contractor or other third party.
(f) The Company Group does not have an outstanding request for any extension of time within which to pay any Taxes or file any Tax Returns (other than extensions requested in the ordinary course), and there has been no waiver or extension of any applicable statute of limitations for the assessment or collection of any Taxes of the Company Group that will remain outstanding as of the Closing Date.
(g) The Company Group has not distributed the stock of another Person, or had its stock distributed by another Person, in a transaction that was purported or intended to be governed in whole or in part by Section 355 or Section 361 of the Code.
(h) There are no Liens for Taxes upon any assets of the Company Group other than Permitted Liens.
(i) The Company Group has not been a party to or bound by any closing agreement, private letter rulings, technical advice memoranda, offer in compromise or similar agreement with any Tax authority in respect of which the Company Group could have any Tax Liability after the Closing. The Company Group has not any request for a ruling in respect of Taxes pending between the Company Group and any Tax authority.
(j) The Company Group (i) has not been a member of an affiliated group filing a consolidated U.S. federal income Tax Return (other than a group the common parent of which was the Company) or other comparable group for state, local or foreign Tax purposes or (ii) has no Liability for the Taxes of any Person (other than the Company or the Company Subsidiaries) under Treasury Regulations Section 1.1502-6 (or any similar provision of state, local, or foreign Law), as a transferee or successor, by Contract (other than Contracts entered into in the ordinary course and not relating primarily to Taxes), or otherwise by Law.
(k) The Company Group has not participated in a “listed transaction” required to be disclosed pursuant to Treasury Regulations Section 1.6011-4(b).
(l) The Company Group will not be required to include any item of income in, or exclude any item of deduction from, taxable income for any Tax period (or portion thereof) ending after the Closing as a result of (i) any use of an improper or change in method of accounting for any Tax period on or before the Closing, (ii) any “closing agreement” as described in Section 7121 of the Code (or any comparable or similar provisions of applicable Law) executed on or before the Closing, (iii) any installment sale or open transaction disposition made on or before the Closing, (iv) any deferred intercompany gain or any excess loss account described in Treasury Regulations under Section 1502 of the Code (or any predecessor provision or any similar provision of state, local or foreign Law) arising on or before the Closing; (v) prepaid amount received or deferred revenue accrued on or after January 1, 2019 and prior to the Closing outside the ordinary course, (vi) an election under Section 108(i) of the Code made on or before the Closing, (vii) any member of the Company Group that is a “controlled foreign corporation” (within the meaning of Section 957(a) of the Code) having “subpart F income” (within the meaning of Section 952(a) of the Code) accrued on or before the Closing, (viii) “global intangible low-taxed income” of the Company Group within the meaning of Section 951A of the Code (or any similar provision of state, local or non-U.S. Law) attributable to any taxable period (or portion thereof) on or before the Closing or (ix) election made pursuant to Section 965(h) of the Code.
(m) The unpaid Taxes of the Company Group for the current fiscal year (i) did not, as of the most recent fiscal month end, exceed the reserve for Tax liability (other than any reserve for deferred Taxes established to reflect timing differences between book and Tax income) set forth on the financial statements and (ii) will not exceed that reserve as adjusted for the passage of time through the Closing in accordance with the past custom and practice of the Company Group in filing Tax Returns.
5.29 Environmental Laws.
(a) Except as set forth on Schedule 5.29, the Company Group has not (i) received any written notice of any alleged claim, violation of or Liability under any Environmental Law which has not heretofore been cured or for which there is any remaining liability; (ii) disposed of, emitted, discharged, handled, stored, transported, used or released any Hazardous Materials, arranged for the disposal, discharge, storage or release of any Hazardous Materials, or exposed any employee or other individual to any Hazardous Materials so as to give rise to any Liability or corrective or remedial obligation under any Environmental Laws; or (iii) entered into any agreement that may require it to guarantee, reimburse, pledge, defend, hold harmless or indemnify any other Person with respect to liabilities arising out of Environmental Laws or the Hazardous Materials Activities of the Company Group, except in each case as would not, individually or in the aggregate, have a Material Adverse Effect.
(b) The Company Group has delivered to the Purchaser Parties all material records in its possession concerning the Hazardous Materials Activities of the Company Group (if any) and all environmental audits and environmental assessments in the possession or control of the Company Group of any facility currently owned, leased or used by the Company Group which identifies the potential for any violations of Environmental Law or the presence of Hazardous Materials on any property currently owned, leased or used by the Company Group (if any).
(c) Except as set forth on Schedule 5.29(c) and to the knowledge of the Company Group, there are no Hazardous Materials in, on, or under any properties owned, leased or used at any time by the Company Group such as could give rise to any material liability or corrective or remedial obligation of the Company Group under any Environmental Laws.
5.30 Finders’ Fees. Except as set forth on Schedule 5.30, with respect to the transactions contemplated by this Agreement, there is no investment banker, broker, finder or other intermediary which has been retained by or is authorized to act on behalf of the Company Group or any of Affiliates who might be entitled to any fee or commission from the Parent, Purchaser or any of its Affiliates (including the Company Group following the Closing) upon consummation of the transactions contemplated by this Agreement.
5.31 Powers of Attorney and Suretyships. Except as set forth on Schedule 5.31, the Company Group does not have any general or special powers of attorney outstanding (whether as grantor or grantee thereof) outside the Company Group or any obligation or liability (whether actual, accrued, accruing, contingent, or otherwise) as guarantor, surety, co-signer, endorser, co-maker, indemnitor or otherwise in respect of the obligation of any Person outside the Company Group or other than as reflected in the Financial Statements.
5.32 Directors and Officers. Schedule 5.32 sets forth a true, correct and complete list of all directors and officers of the Company.
5.33 Other Information. Neither this Agreement nor any of the documents or other information made available to the Purchaser Parties or their Affiliates, attorneys, accountants, agents or representatives pursuant hereto or in connection with Purchaser’s due diligence review of the Business, the Company share capital, the Company Group’s assets or the transactions contemplated by this Agreement contains or will contain any untrue statement of a material fact or omits or will omit to state a material fact necessary in order to make the statements contained therein not misleading. The Company Group has provided the Purchaser Parties with all material information regarding the Business requested by the Purchaser Parties in writing.
5.34 Certain Business Practices. Except in each case as to matters that would not, individually or in the aggregate, be material to the Company Group, to the knowledge of the Company Group, neither the Company Group, nor any director, officer, agent or employee of the Company Group (in their capacities as such) has (i) used any funds for unlawful contributions, gifts, entertainment or other unlawful expenses relating to political activity, (ii) made any unlawful payment to foreign or domestic government officials or employees, to foreign or domestic political parties or campaigns or violated any provision of the Foreign Corrupt Practices Act of 1977 or (iii) made any other unlawful payment. To the knowledge of the Company Group, neither the Company Group, nor any director, officer, agent or employee of the Company Group (nor any Person acting on behalf of any of the foregoing, but solely in his or her capacity as a director, officer, employee or agent of the Company Group) has, since September 2015, directly or indirectly, given or agreed to give any gift or similar benefit in any material amount to any customer, supplier, governmental employee or other Person who is or may be in a position to help or hinder the Company Group or assist the Company Group in connection with any actual or proposed transaction, in each case, which, if not given could reasonably be expected to have had a Material Adverse Effect on the Company Group, or which, if not continued in the future, could reasonably be expected to adversely affect the business or prospects of the Company Group that could reasonably be expected to subject the Company Group to suit or penalty in any private or governmental litigation or proceeding.
5.35 Money Laundering Laws. The operations of the Company Group are and have been conducted at all times in compliance with applicable laundering statutes in all applicable jurisdictions, the rules and regulations thereunder and any related or similar rules, regulations or guidelines, issued, administered or enforced by any governmental Authority (collectively, the “Money Laundering Laws”), and no Action involving the Company Group with respect to the Money Laundering Laws is pending or, to the knowledge of the Company Group, threatened.
5.36 Not an Investment Company. The Company is not an “investment company” within the meaning of the Investment Company Act of 1940, as amended, and the rules and regulations promulgated thereunder.
5.37 Related Party Transaction. Except for employment relationships, agreements relating to the purchase of the Company’s equity securities and/or the payment of cash or equity compensation, benefits and expense reimbursements and advances in the ordinary course of business, no director or executive officer (or equivalent thereof) of the Company Group has or has had directly or indirectly: (i) an economic interest in any Top Customer or Top Supplier, or (ii) any contractual arrangement with the Company Group, other than indemnity arrangements or directors’ and officers’ liability insurance coverage (each, a “Related Party Transaction”); provided, however, that for clarity, no disclosure shall be required under this Section 5.37 with respect to any matter set forth in the foregoing clauses (i) and (ii) involving any portfolio company of any venture capital, private equity, angel or strategic investor in the Company (except to the extent such disclosure would be required pursuant to Item 404 of Regulation S-K promulgated under the Exchange Act.) The Company Group have not, since June 30, 2022, (x) extended or maintained credit, arranged for the extension of credit or renewed an extension of credit in the form of a personal loan to or for any director or executive officer (or equivalent thereof) of the Company Group, or (y) materially modified any term of any such extension or maintenance of credit. To the actual knowledge of the Company Group, there are no contracts or legally binding arrangements between the Company Group, on the one hand, and any family member of any director or executive officer (or equivalent thereof) of the Company Group, on the other hand.
ARTICLE VI
REPRESENTATIONS AND WARRANTIES OF PURCHASER PARTIES
The Purchaser Parties hereby, jointly and severally, represent and warrant to the Company Group that, except as disclosed in the Parent SEC Documents, each of the following representing representations and warranties is true, correct and complete as of the date of this Agreement and as of the Closing Date (or, if such representations and warranties are made with respect to a certain date, as of such date):
6.1 Corporate Existence and Power. Parent is a company duly incorporated, validly existing and in good standing under the Cayman Law. Each of Purchaser and Merger Sub is an exempted company duly incorporated, validly existing and in good standing under the Laws of the Cayman Islands. Each of the Purchaser Parties has all power and authority, corporate and otherwise, and all governmental licenses, franchises, Permits, authorizations, consents and approvals required to own and operate its properties and assets and to carry on its business as presently conducted and as proposed to be conducted.
6.2 Corporate Authorization. The execution, delivery and performance by the Purchaser Parties of this Agreement and the Additional Agreements (to which it is a party) and the consummation by the Purchaser Parties of the transactions contemplated hereby and thereby are within the corporate powers of the Purchaser Parties and have been duly authorized by all necessary corporate action on the part of Purchaser Parties to the extent required by their respective Organizational Documents, applicable Laws or any Contract to which it is a party or by which its securities are bound other than the Required Parent Stockholder Approval (as defined in Section 10.1(f)). This Agreement has been duly executed and delivered by the Purchaser Parties and it constitutes, and upon their execution and delivery, the Additional Agreements (to which it is a party) will constitute, a valid and legally binding agreement of the Purchaser Parties, enforceable against them in accordance with their representative terms.
6.3 Governmental Authorization. Other than as required under applicable Laws, neither the execution, delivery nor performance by the Purchaser Parties of this Agreement or any Additional Agreements requires any consent, approval, license or other action by or in respect of, or registration, declaration or filing with any Authority.
6.4 Non-Contravention. The execution, delivery and performance by the Purchaser Parties of this Agreement or any Additional Agreements do not and will not (i) provide that holders of fewer than the number of Parent Ordinary Shares specified in the Parent’s Organizational Documents exercise its redemption rights with respect to such transaction, contravene or conflict with the organizational or constitutive documents of Purchaser, or (ii) contravene or conflict with or constitute a violation of any provision of any Law, judgment, injunction, order, writ, or decree binding upon the Purchaser Parties, except, in each case of clauses (i) and (ii), for any contravention or conflicts that would not reasonably be expected to have a Material Adverse Effect on the Purchaser Parties.
6.5 Finders’ Fees. Except for the Deferred Underwriting Amount, there is no investment banker, broker, finder or other intermediary which has been retained by or is authorized to act on behalf of Parent, Purchaser or their Affiliates who might be entitled to any fee or commission from the Company, or any of its Affiliates upon consummation of the transactions contemplated by this Agreement or any of the Additional Agreements.
6.6 Issuance of Shares. The Closing Payment Shares, when issued in accordance with this Agreement, will be duly authorized and validly issued, and will be fully paid and nonassessable, free and clear of any Liens and not subject to or issued in violation of any right of any third party pursuant to any contract to which the Purchaser Parties are bound, applicable Law or the Purchaser Parties’ Organizational Documents.
6.7 Capitalization.
(a) As of the date of this Agreement, the authorized share capital of the Parent is $5,550 divided into 55,000,000 ordinary shares of a par value of $0.0001 each and 500,000 preference shares of a par value of $0.0001 each, of which 7,499,375 Parent Ordinary Shares and zero (0) preference shares are issued and outstanding as of the date hereof. 600,437 Parent Ordinary Shares are reserved for issuance with respect to the Parent Rights. No other shares or other voting securities of Parent are issued, reserved for issuance or outstanding. All issued and outstanding Parent Ordinary Shares are duly authorized, validly issued, fully paid and nonassessable and not subject to or issued in violation of any purchase option, right of first refusal, preemptive right, subscription right or any similar right under any provision of the Cayman Law, the Parent’s Organizational Documents or any contract to which Parent is a party or by which Parent is bound. Except as set forth in the Parent’s Organizational Documents, there are no outstanding contractual obligations of Parent to repurchase, redeem or otherwise acquire any Parent Ordinary Shares or any capital equity of Parent. There are no outstanding contractual obligations of Parent to provide funds to, or make any investment (in the form of a loan, capital contribution or otherwise) in, any other Person.
(b) At the date of this Agreement, the authorized share capital of the Purchaser is $50,000 divided into 50,000 shares of a par value of $1.00 each, of which one (1) share is issued and outstanding as of the date hereof. At the Effective Time, the authorized share capital of the Purchaser will be reclassified into two classes of shares, namely: (i) 400,000,000 Purchaser Class A Ordinary Shares, par value of $0.0001 per share, and (ii) 100,000,000 Purchaser Class B Ordinary Shares, par value of $0.0001 per share. All issued and outstanding shares of the Purchaser are duly authorized, validly issued, fully paid and nonassessable and not subject to or issued in violation of any purchase option, right of first refusal, preemptive right, subscription right or any similar right under any provision of the Cayman Law, the Purchaser’s Organizational Documents or any contract to which Purchaser is a party or by which Purchaser is bound. Except as set forth in the Purchaser’s Organizational Documents, there are no outstanding contractual obligations of Purchaser to repurchase, redeem or otherwise acquire any Purchaser Ordinary Shares or any capital equity of Purchaser. There are no outstanding contractual obligations of Purchaser to provide funds to, or make any investment (in the form of a loan, capital contribution or otherwise) in, any other Person.
(c) As of the date of this Agreement, the authorized share capital of Merger Sub is $50,000 divided into 50,000 shares of a par value of $1.00 each (the “Merger Sub Ordinary Share”) of which one (1) share of Merger Sub Ordinary Share is issued and outstanding. No other shares or other voting securities of Merger Sub are issued, reserved for issuance or outstanding as of the date of this Agreement. All issued and outstanding of Merger Sub Ordinary Share(s) are duly authorized, validly issued, fully paid and nonassessable and not subject to or issued in violation of any purchase option, right of first refusal, preemptive right, subscription right or any similar right under any provision of the Cayman Law, the Merger Sub’s Organizational Documents or any contract to which Merger Sub is a party or by which Merger Sub is bound. Except as set forth in the Merger Sub’s Organizational Documents, there are no outstanding contractual obligations of Merger Sub to repurchase, redeem or otherwise acquire any Merger Sub Ordinary Share(s) or any share capital or equity of Merger Sub. There are no outstanding contractual obligations of Merger Sub to provide funds to, or make any investment (in the form of a loan, capital contribution or otherwise) in, any other Person.
6.8 Information Supplied. None of the information supplied or to be supplied by any Purchaser Party expressly for inclusion or incorporation by reference in the filings with the SEC and mailings to Parent’s stockholders with respect to the solicitation of proxies to approve the transactions contemplated hereby will, at the date of filing and/ or mailing, as the case may be, contain any untrue statement of a material fact or omit to state any material fact required to be stated therein or necessary in order to make the statements therein, in light of the circumstances under which they are made, not misleading (subject to the qualifications and limitations set forth in the materials provided by Parent or that is included in the Parent SEC Documents).
6.9 Trust Fund. As of the date of this Agreement, the Parent has at least $57,787,500 in the trust fund established by the Parent for the benefit of its public stockholders (the “Trust Fund”) in a United States-based account at JP Morgan Chase, N.A., maintained by Continental Stock Transfer & Trust Company, LLC (the “Continental”) acting as trustee (the “Trust Account”), and such monies are invested in “government securities” (as such term is defined in the Investment Company Act of 1940, as amended) and held in trust by Continental pursuant to the Investment Management Trust Agreement.
6.10 Listing. As of the date hereof, the Parent Units, Parent Ordinary Shares, and Parent Rights are listed on the Nasdaq Capital Market, with trading symbols “RDACU,” “RDAC,” and “RDACR.”
6.11 Board Approval. Each of the Parent Board (including any required committee or subgroup of such boards), the sole director of the Purchaser and the sole director of the Merger Sub has, as of the date of this Agreement, (i) declared the advisability of the transactions contemplated by this Agreement, (ii) determined that the transactions contemplated hereby are in the best interests of the stockholders or shareholders of the Purchaser Parties, as applicable, and (iii) solely with respect to the Parent Board, determined that the transactions contemplated hereby constitutes a “Business Combination” as such term is defined in Parent’s Organizational Documents.
6.12 Parent SEC Documents and Financial Statements.
(a) Parent has filed all forms, reports, schedules, statements and other documents, including any exhibits thereto, required to be filed or furnished by Parent with the SEC since Parent’s formation under the Exchange Act or the Securities Act, together with any amendments, restatements or supplements thereto, and will file all such forms, reports, schedules, statements and other documents required to be filed subsequent to the date of this Agreement (the “Additional Parent SEC Documents”). Parent has made available to the Company copies in the form filed with the SEC of all of the following, except to the extent available in full without redaction on the SEC’s website through EDGAR for at least two (2) days prior to the date of this Agreement: (i) Parent’s Annual Reports on Form 10-K for each fiscal year of Parent beginning with the first year Parent was required to file such a form, (ii) Parent’s Quarterly Reports on Form 10-Q for each fiscal quarter of Parent beginning with the first quarter Parent was required to file such a form, (iii) all proxy statements relating to Parent’s meetings of stockholders (whether annual or special) held, and all information statements relating to stockholder consents, since the beginning of the first fiscal year referred to in clause (i) above, (iv) Parent’s Current Reports on Form 8-K filed since the beginning of the first fiscal year referred to in clause (i) above, and (v) all other forms, reports, registration statements and other documents (other than preliminary materials if the corresponding definitive materials have been provided to the Company pursuant to this Section 6.12) filed by Parent with the SEC since Parent’s formation (the forms, reports, registration statements and other documents referred to in clauses (i), (ii), (iii), (iv) and (v) above, whether or not available through EDGAR, are, collectively, the “Parent SEC Documents”). The Parent SEC Documents were, and the Additional Parent SEC Documents will be, prepared in all material respects in accordance with the requirements of the Securities Act, the Exchange Act, and the Sarbanes-Oxley Act, as the case may be, and the rules and regulations thereunder. The Parent SEC Documents did not, and the Additional Parent SEC Documents will not, at the time they were or are filed, as the case may be, with the SEC (except to the extent that information contained in any Parent SEC Document or Additional Parent SEC Document has been or is revised or superseded by a later filed Parent SEC Document or Additional Parent SEC Document, then on the date of such filing) contain any untrue statement of a material fact or omit to state a material fact required to be stated therein or necessary in order to make the statements made therein, in the light of the circumstances under which they were made, not misleading. As used in this Section 6.12, the term “file” shall be broadly construed to include any manner in which a document or information is furnished, supplied or otherwise made available to the SEC.
(b) The financial statements and notes contained or incorporated by reference in the Parent SEC Documents and the Additional Parent SEC Documents (collectively, the “Parent Financial Statements”) are complete and accurate and fairly present in all material respects, in conformity with U.S. GAAP applied on a consistent basis in all material respects and Regulation S-X or Regulation S-K, as applicable, the financial position of Parent as of the dates thereof and the results of operations of Parent for the periods reflected therein. The Parent Financial Statements (i) were prepared from the Books and Records of the Parent; (ii) were prepared on an accrual basis in accordance with U.S. GAAP consistently applied; (iii) contain and reflect all necessary adjustments and accruals for a fair presentation of the Parent’s financial condition as of their dates; and (iv) contain and reflect adequate provisions for all material Liabilities for all material Taxes applicable to the Parent with respect to the periods then ended.
(c) Except as specifically disclosed, reflected or fully reserved against in the Parent Financial Statements, and for liabilities and obligations of a similar nature and in similar amounts incurred in the ordinary course of business since the Parent’s formation, there are no material liabilities, debts or obligations (whether accrued, fixed or contingent, liquidated or unliquidated, asserted or unasserted or otherwise) relating to Parent. All debts and Liabilities, fixed or contingent, which should be included under U.S. GAAP on a balance sheet are included in the Parent Financial Statements.
6.13 Litigation. There is no Action (or any basis therefore) pending against any Purchaser Party, any of its officers or directors or any of its securities or any of its assets or Contracts before any court, Authority or official or which in any manner challenges or seeks to prevent, enjoin, alter or delay the transactions contemplated hereby or by the Additional Agreements. There are no outstanding judgments against the Purchaser Parties. No Purchaser Party is, and has previously been, subject to any legal proceeding with any Authority.
6.14 Compliance with Laws. No Purchaser Party is in violation of, has violated, or is under investigation with respect to any violation or alleged violation of, any Law, or judgment, order or decree entered by any court, arbitrator or Authority, domestic or foreign, nor is there any basis for any such charge and no Purchaser Party has not previously received any subpoenas by any Authority.
6.15 Money Laundering Laws. The operations of the Purchaser Parties are and have been conducted at all times in compliance with the Money Laundering Laws, and no Action involving the Purchaser Parties with respect to the Money Laundering Laws is pending or, to the knowledge of the Purchaser Parties, threatened.
6.16 OFAC. Neither the Purchaser Parties, nor any director or officer of the Purchaser Parties (nor, to the knowledge of the Purchaser Parties, any agent, employee, affiliate or Person acting on behalf of the Purchaser Parties) is currently identified on the specially designated nationals or other blocked person list or otherwise currently subject to any U.S. sanctions administered by the OFAC; and the Purchaser Parties have not, directly or indirectly, used any funds, or loaned, contributed or otherwise made available such funds to any subsidiary, joint venture partner or other Person, in connection with any sales or operations in Balkans, Belarus, Burma, Cote D’Ivoire (Ivory Coast), Cuba, Democratic Republic of Congo, Iran, Iraq, Liberia, North Korea, Sudan, Syria, or Zimbabwe or any other country sanctioned by OFAC or for the purpose of financing the activities of any Person currently subject to, or otherwise in violation of, any U.S. sanctions administered by OFAC in the previous fiscal years.
6.17 Not an Investment Company. The Parent is not an “investment company” within the meaning of the Investment Company Act of 1940, as amended, and the rules and regulations promulgated thereunder.
6.18 Tax Matters. For purposes of this Section 6.18, any reference to “Parent” shall also include Purchaser and Merger Sub.
(a) Parent has duly and timely filed all Tax Returns required by applicable Law to be filed by Parent, all Taxes (whether or not shown on any Tax Returns) due and owing by Parent have been paid other than Taxes being contested in good faith and for which adequate reserves have been established in accordance with U.S. GAAP, and all such Tax Returns were true, complete and correct in all respects.
(b) There is no Proceeding, audit or claim now in progress or, to the Parent’s Knowledge, threatened against Parent in respect of any Tax, nor has any Proceeding for additional Tax been asserted in writing by any Tax authority that has not been resolved or settled in full.
(c) No written claim has been made by any Tax authority in a jurisdiction where Parent has not filed a Tax Return that it is or may be subject to Tax by such jurisdiction.
(d) Parent is not a party to any Tax sharing agreement, Tax indemnification agreement, Tax allocation agreement or similar agreement (other than Contracts entered into in the ordinary course and not relating primarily to Taxes).
(e) Parent has withheld and paid all Taxes required to be withheld in connection with any amounts paid or owing to any employee, creditor, independent contractor or other third party.
(f) There is no outstanding request for any extension of time within which to pay any Taxes or file any Tax Returns (other than extensions requested in the ordinary course), and there has been no waiver or extension of any applicable statute of limitations for the assessment or collection of any Taxes of Parent that will remain outstanding as of the Closing Date.
(g) Parent has not distributed the stock of another Person, or had its stock distributed by another Person, in a transaction that was purported or intended to be governed in whole or in part by Section 355 or Section 361 of the Code.
(h) There are no Liens for Taxes upon any assets of Parent other than Permitted Liens.
(i) Parent has not been a party to or bound by any closing agreement, private letter rulings, technical advice memoranda, offer in compromise, or any similar agreement with any Tax authority in respect of which Parent could have any Tax Liability after the Closing. Parent does not have any request for a ruling in respect of Taxes pending between Parent and any Tax authority.
(j) Parent (i) has not been a member of an affiliated group filing a consolidated U.S. federal income Tax Return or other comparable group for state, local or foreign Tax purposes and (ii) has no Liability for the Taxes of any Person (other than Parent) under Treasury Regulations Section 1.1502-6 (or any similar provision of state, local, or foreign Law), as a transferee or successor, by Contract (other than Contracts entered into in the ordinary course and not relating primarily to Taxes), or otherwise by Law.
(k) Parent has not participated in a “listed transaction” required to be disclosed pursuant to Treasury Regulations Section 1.6011-4(b).
(l) Parent will not be required to include any item of income in, or exclude any item of deduction from, taxable income for any Tax period (or portion thereof) ending after the Closing as a result of (i) any use of an improper or change in method of accounting for any Tax period that occurred on or before Closing, (ii) any “closing agreement” as described in Section 7121 of the Code (or any comparable or similar provisions of applicable Law) executed on or before Closing, (iii) any installment sale or open transaction disposition made on or before the Closing, (iv) any deferred intercompany gain or any excess loss account described in Treasury Regulations under Section 1502 of the Code (or any predecessor provision or any similar provision of state, local or foreign Law), (v) prepaid amount received or deferred revenue accrued on or before the Closing outside the ordinary course, (vi) an election under Section 108(i) of the Code made on or before the Closing, (vii) the Parent being treated as a “controlled foreign corporation” (within the meaning of Section 957(a) of the Code) and having “subpart F income” (within the meaning of Section 952(a) of the Code) accrued on or before the Closing, (viii) “global intangible low-taxed income” of the Parent within the meaning of Section 951A of the Code (or any similar provision of state, local or non-U.S. Law) attributable to any taxable period (or portion thereof) on or before the Closing or (ix) election made pursuant to Section 965(h) of the Code.
(m) The unpaid Taxes of the Parent for the current fiscal year (i) did not, as of the most recent fiscal month end, exceed the reserve for Tax liability (other than any reserve for deferred Taxes established to reflect timing differences between book and Tax income) set forth on the financial statements and (ii) will not exceed that reserve as adjusted for the passage of time through the Closing in accordance with the past custom and practice of the Parent in filing Tax Returns.
(n) Parent is not aware of the existence of any fact, nor has taken or agreed to take any action, that would reasonably be expected to prevent or impede the Reincorporation Merger from qualifying for the Reincorporation Intended Tax Treatment.
6.19 Contracts. Schedule 6.19 lists all material Contracts, oral or written to which any of the Purchaser Parties is a party other than those available in full without redaction on the SEC’s website through EDGAR.
ARTICLE VII
COVENANTS OF THE COMPANY GROUP AND THE PURCHASER PARTIES PENDING CLOSING
Each of the Company Group and the Purchaser Parties covenants and agrees that:
7.1 Conduct of the Business
(a) From the date hereof through the earlier of the Closing Date or the termination of this Agreement in accordance with its terms, the Company shall, and shall cause its Subsidiaries to, conduct their respective business only in the ordinary course (including the payment of accounts payable and the collection of accounts receivable), consistent with past practices, and shall not enter into any material transactions without the prior written consent of the other party, and shall use its best efforts to preserve intact its business relationships with employees, clients, suppliers and other third parties. Without limiting the generality of the foregoing, from the date hereof until and including the Closing Date, without the Parent’s prior written consent (which shall not be unreasonably withheld, conditioned or delayed), the Company Group shall not, other than pursuant to this Agreement:
(i) materially amend, modify or supplement its Organizational Documents other than pursuant to this Agreement;
(ii) amend, waive any provision of, terminate prior to its scheduled expiration date, or otherwise compromise in any way, any Contract or any other right or asset of the Company Group other than in ordinary course of business consistent with past practice (individually or in the aggregate), which involve payments in excess of $150,000;
(iii) modify, amend or enter into any contract, agreement, license or, commitment, which obligates the payment of more than $150,000 out of ordinary course of business consistent with past practice (individually or in the aggregate);
(iv) make any capital expenditures in excess of $150,000 (individually or in the aggregate);
(v) sell, lease, license or otherwise dispose of any of the Company Group’s assets or assets covered by any Contract except (i) pursuant to existing contracts or commitments disclosed herein, (ii) sales of inventory in the ordinary course consistent with past practice, and (iii) not exceeding $150,000 except in the ordinary course of business consistent with past practice;
(vi) accept returns of products sold from inventory, consistent with past practice;
(vii) pay, declare or promise to pay any dividends or other distributions with respect to its capital stock or share capital, or pay, declare or promise to pay any other payments to any stockholder or shareholder (other than, in the case of any stockholder or shareholder that is an employee, payments of salary accrued in said period at the current salary rate);
(viii) suffer or incur any Lien on the Company Group’s assets, except for Permitted Liens or the Liens incurred in the ordinary course of business consistent with past practice;
(ix) suffer any damage, destruction or loss of property related to any of the Company Group’s assets, whether or not covered by insurance, the aggregate value of which, following any available insurance reimbursement, exceed $150,000;
(x) merge or consolidate with or acquire any other Person or be acquired by any other Person other than pursuant to the Reincorporation Merger;
(xi) make any change in its accounting principles other than in accordance with the applicable accounting policies or methods or write down the value of any inventory or assets other than in the ordinary course of business consistent with past practice;
(xii) change the principal place of business or jurisdiction of organization other than pursuant to the Acquisition Merger;
(xiii) extend any loans other than travel or other expense advances to employees in the ordinary course of business or with the principal amount not exceeding $10,000;
(xiv) issue, redeem or repurchase any capital stock or share, membership interests or other securities, or issue any securities exchangeable for or convertible into any share or any shares of its capital stock;
(xv) make or change any material Tax election or change any annual Tax accounting periods; or
(xvi) undertake any legally binding obligation to do any of the foregoing.
(b) From the date hereof through the Closing Date, the Parent and the Purchaser after the Reincorporation Effective Time shall remain a “blank check company” as defined under the Securities Act, shall not conduct any business operations other than in connection with this Agreement and ordinary course operations to maintain its status as a Nasdaq-listed special purpose acquisition company pending the completion of the transactions contemplated hereby. Without limiting the generality of the foregoing, through the Closing Date, other than in connection with the transactions contemplated by this Agreement, without the other party’s prior written consent (which shall not be unreasonably withheld), the Purchaser Parties shall not, and shall not cause its Subsidiaries to amend, waive or otherwise change the Investment Management Trust Agreement in any manner adverse to the Purchaser Parties.
(c) Neither party shall (i) take or agree to take any action that might make any representation or warranty of such party inaccurate or misleading in any material respect at, or as of any time prior to, the Closing Date or (ii) omit to take, or agree to omit to take, any action necessary to prevent any such representation or warranty from being inaccurate or misleading in any material respect at any such time.
(d) From the date hereof through the earlier of (x) termination of this Agreement in accordance with Article XIII and (y) the Closing, other than in connection with the transactions contemplated hereby, neither the Company Group, on the one hand, nor the Purchaser Parties, on the other hand, shall, and such Persons shall cause each of their respective officers, directors, Affiliates, managers, consultants, employees, representatives (including investment bankers, attorneys and accountants) and agents not to, directly or indirectly, (i) encourage, solicit, initiate, engage or participate in negotiations or discussions with any Person concerning, or make any offers or proposals related to, any Alternative Transaction, (ii) take any other action intended or designed to facilitate the efforts of any Person relating to a possible Alternative Transaction, (iii) enter into, engage in or continue any discussions or negotiations with respect to an Alternative Transaction with, or provide any non-public information, data or access to employees to, any Person that has made, or that is considering making, a proposal with respect to an Alternative Transaction or (iv) approve, recommend or enter into any Alternative Transaction or any Contract related to any Alternative Transaction. For purposes of this Agreement, the term “Alternative Transaction” shall mean any of the following transactions involving the Company Group or the Purchaser Parties (other than the transactions contemplated by this Agreement): (1) any merger, consolidation, share exchange, business combination, amalgamation, recapitalization, consolidation, liquidation or dissolution or other similar transaction, or (2) any sale, lease, exchange, transfer or other disposition of a material portion of the assets of such Person (other than the sale, the lease, transfer or other disposition of assets in the ordinary course of business) or any class or series of the share capital or capital stock or other equity interests of the Company Group or the Purchaser Parties in a single transaction or series of transactions. In the event that there is an unsolicited proposal for, or an indication of a serious interest in entering into, an Alternative Transaction, communicated in writing to the Company Group or the Purchaser Parties or any of their respective representatives or agents (each, an “Alternative Proposal”), such party shall as promptly as practicable (and in any event within two (2) Business Days after receipt) advise the other parties to this Agreement in writing of such Alternative Proposal and the material terms and conditions of any such Alternative Proposal (including any changes thereto) and the identity of the person making any such Alternative Proposal. The Company Group and the Purchaser Parties shall keep the other parties informed on a reasonably current basis of material developments with respect to any such Alternative Proposal.
7.2 Access to Information. From the date hereof until and including the Closing Date, the Company Group and the Purchaser Parties shall, to the best of their abilities, (a) continue to give the other party, its legal counsel and other representatives full access to the offices, properties, and Books and Records, (b) furnish to the other party, its legal counsel and other representatives such information relating to the business of the Company Group or the Purchaser Parties as such Persons may request and (c) cause its respective employees, legal counsel, accountants and representatives to cooperate with the other party in such other party’s investigation of its business; provided that no investigation pursuant to this Section (or any investigation prior to the date hereof) shall affect any representation or warranty given by the Company Group or the Purchaser Parties and, provided further, that any investigation pursuant to this Section shall be conducted in such manner as not to interfere unreasonably with the conduct of the business of the Company Group or the Purchaser Parties. Notwithstanding anything to the contrary in this Agreement, neither party shall be required to provide the access described above or disclose any information if doing so is reasonably likely to (i) result in a waiver of attorney client privilege, work product doctrine or similar privilege or (ii) violate any contract to which it is a party or to which it is subject or applicable Law, provided that the non-disclosing party must advise the other party that it is withholding such access and/or information and (to the extent reasonably practicable) and provide a description of the access not granted and/or information not disclosed.
7.3 Notices of Certain Events. Each party shall promptly notify the other party of:
(a) any notice or other communication from any Person alleging that the consent of such Person is or may be required in connection with the transactions contemplated by this Agreement or that the transactions contemplated by this Agreement might give rise to any Action by or on behalf of such Person or result in the creation of any Lien on any Company Share or share capital or capital stock of the Purchaser Parties or any of the Company Group’s or the Purchaser Parties’ assets;
(b) any notice or other communication from any Authority in connection with the transactions contemplated by this Agreement or the Additional Agreements;
(c) any Actions commenced or, to such party’s knowledge, threatened against, relating to or involving or otherwise affecting the consummation of the transactions contemplated by this Agreement or the Additional Agreements;
(d) the occurrence of any fact or circumstance which constitutes or results, or might reasonably be expected to constitute or result, in a Material Adverse Change; and
(e) the occurrence of any fact or circumstance which results, or might reasonably be expected to result, in any representation made hereunder by such party to be false or misleading in any material respect or to omit or fail to state a material fact.
7.4 SEC Filings.
(a) The Company Group acknowledges that:
(i) the Parent’s stockholders must approve the transactions contemplated by this Agreement prior to the Acquisition Merger contemplated hereby being consummated and that, in connection with such approval, the Parent must call a special meeting of its stockholders requiring Parent to prepare and file with the SEC a Proxy Statement and Registration Statement (as defined in Section 9.4);
(ii) the Purchaser Parties will be required to file Quarterly and Annual reports that may be required to contain information about the transactions contemplated by this Agreement; and
(iii) the Parent will be required to file a Form 8-K to announce the transactions contemplated hereby and other significant events that may occur in connection with such transactions.
(b) In connection with any filing the Purchaser Parties make with the SEC that requires information about the transactions contemplated by this Agreement to be included, the Company Group will, and will use its best efforts to cause its Affiliates, in connection with the disclosure included in any such filing or the responses provided to the SEC in connection with the SEC’s comments to a filing, to use their best efforts to (i) cooperate with the Purchaser Parties, (ii) respond to questions about the Company Group required in any filing or requested by the SEC, and (iii) provide any information requested by the Purchaser Parties in connection with any filing with the SEC.
(c) Company Group Cooperation. The Company Group acknowledges that a substantial portion of the filings with the SEC and mailings to each Purchaser Party’s stockholders or shareholders with respect to the Proxy Statement shall include disclosure regarding the Company Group and its management, operations and financial condition. Accordingly, the Company Group agrees to as promptly as reasonably practical provide the Purchaser Parties with such information as shall be reasonably requested by the Purchaser Parties for inclusion in or attachment to the Proxy Statement, that is accurate in all material respects and complies as to form in all material respects with the requirements of the Exchange Act and the rules and regulations promulgated thereunder and in addition shall contain substantially the same financial and other information about the Company Group and its stockholders or shareholders as is required under Regulation 14A of the Exchange Act regulating the solicitation of proxies. The Company Group understands that such information shall be included in the Proxy Statement and/or responses to comments from the SEC or its staff in connection therewith and mailings. The Company Group shall cause their managers, directors, officers and employees to be reasonably available to the Purchaser Parties and their counsel in connection with the drafting of such filings and mailings and responding in a timely manner to comments from the SEC.
7.5 Financial Information. By no later than March 31, 2025, the Company will deliver to the Purchaser Parties audited consolidated financial statements of the Company as of and for the fiscal years ended June 30, 2023 and 2024, consisting of the audited consolidated balance sheets as of such dates, the audited consolidated income statements for the twelve (12) month periods ended on such dates, and the audited consolidated cash flow statements for the twelve (12) month periods ended on such dates, all prepared in conformity with U.S. GAAP under the standards of the Public Company Accounting Oversight Board (the “Audited Financial Statements”). By no later than June 30, 2025, the Company will deliver to the Purchaser Parties reviewed financial statements of the Company for the six (6) month period ended December 31, 2024, all prepared in conformity with U.S. GAAP under the standards of the Public Company Accounting Oversight Board (the “Interim U.S. GAAP Financial Statements”). The Interim U.S. GAAP Financial Statements shall be (i) prepared from the Books and Records of the Company; (ii) prepared on an accrual basis in accordance with U.S. GAAP; (iii) contain and reflect all necessary adjustments and accruals for a fair presentation of the Company’s financial condition as of their dates including for all warranty, maintenance, service and indemnification obligations; and (iv) contain and reflect adequate provisions for all Liabilities for all material Taxes applicable to the Company with respect to the periods then ended. The Interim U.S. GAAP Financial Statements will be complete and accurate and fairly present in all material respects, in conformity with U.S. GAAP applied on a consistent basis in all material respects, the financial position of the Company as of the dates thereof and the results of operations of the Company for the periods reflected therein. The Company Group will provide additional financial information as reasonably requested by the Purchaser Parties for inclusion in any filings to be made by the Purchaser Parties with the SEC. If reasonably requested by the Purchaser Parties, the Company Group shall use their reasonable best efforts to cause such information reviewed or audited by the Company Group’s auditors.
7.6 Trust Account. The Company Group acknowledges that the Purchaser Parties shall make appropriate arrangements to cause the funds in the Trust Account to be disbursed in accordance with the Investment Management Trust Agreement and be paid in sequence of (i) all amounts payable to Parent shareholders holding Parent Ordinary Shares who shall have validly redeemed their Parent Ordinary Shares upon acceptance by the Parent of the Parent Ordinary Shares, (ii) the expenses of the Purchaser Parties to the third parties to which they are owed, (iii) the Deferred Underwriting Amount to the underwriter in the IPO, (iv) any amounts payable in accordance with any promissory notes issued prior to the Closing, and (v) the remaining monies in the Trust Account to the Purchaser. Except as otherwise expressly provided in the Investment Management Trust Agreement, Purchaser Parties shall not agree to, or permit, any amendment or modification of, or waiver under, the Investment Management Trust Agreement without the prior written consent of the Company.
7.7 Directors’ and Officers’ Indemnification and Insurance.
(a) The parties agree that all rights to exculpation, indemnification and advancement of expenses existing in favor of the current or former directors and officers of the Purchaser Parties and the Company Group (the “D&O Indemnified Persons”) as provided in their respective Organizational Documents, in each case as in effect on the date of this Agreement, or under any indemnification, employment or other similar agreements between any D&O Indemnified Person and any of the Purchaser Parties or the Company Group, as the case may be, in effect on the date hereof and disclosed in Schedule 7.7(a), shall survive the Closing and continue in full force and effect in accordance with their respective terms to the extent permitted by applicable Law. For a period of three (3) years after the Reincorporation Effective Time, Purchaser shall cause the Organizational Documents of Purchaser and the Company to contain provisions no less favorable with respect to exculpation and indemnification of and advancement of expenses to D&O Indemnified Persons than are set forth as of the date of this Agreement in the Organizational Documents of the Purchaser Parties to the extent permitted by applicable Law. The provisions of this Section 7.7 shall survive the Closing and are intended to be for the benefit of, and shall be enforceable by, each of the D&O Indemnified Persons and their respective heirs and representatives.
(b) The Company shall, or shall cause its Affiliates to, obtain and fully pay the premium for a “tail” insurance policy that provides coverage for up to a three-year period from the Closing Date, for the benefit of the D&O Indemnified Persons (the “D&O Tail Insurance”). that is substantially equivalent to and in any event not less favorable in the aggregate than Parent’s existing policy or, if substantially equivalent insurance coverage is unavailable, the best available coverage; provided that in no event shall the Company be required to expend for such policies pursuant to this Section 7.7(b) an annual premium amount in excess of 200% of the amount per annum the Parent paid in its last full fiscal year, which amount is set forth in Schedule 7.7(b). Parent shall cause such D&O Tail Insurance to be maintained in full force and effect, for its full term, and cause the other Purchaser Parties to honor all obligations thereunder.
(c) On the Closing Date, the Purchaser shall enter into customary indemnification agreements reasonably satisfactory to all parties with the individuals set forth on Schedule 7.7(c), which indemnification agreements shall continue to be effective following the Closing.
ARTICLE VIII
COVENANTS OF THE COMPANY GROUP
The Company Group agrees that:
8.1 Reporting and Compliance with Laws. From the date hereof through the Closing Date, the Company Group shall duly and timely file all material Tax Returns required to be filed with the applicable Taxing Authorities, pay any and all Taxes required by any Taxing Authority and duly observe and conform in all material respects, to all applicable Laws and Orders.
8.2 Reasonable Best Efforts to Obtain Consents.
(a) The Company Group shall use its reasonable best efforts to obtain each third party consent required by contracts or Law as promptly as practicable hereafter.
(b) The Company Group shall use its reasonable best efforts to obtain or provide, as applicable, at the earliest practicable date, all consents, approvals and notices listed on Schedule 8.2(b). The Company shall keep Purchaser Parties apprised of its efforts undertaken by reason of this Section 8.2(b) and the results of such efforts including by giving Purchaser Parties copies of consents obtained and notices provided.
8.3 Annual and Interim Financial Statements. From the date hereof through the Closing Date, within forty-five (45) calendar days following the end of each three-month period, the Company Group shall deliver to Purchaser Parties, for the first three quarters of the year, unaudited management accounts of the Company. The Company Group shall also promptly deliver to the Purchaser Parties copies of any audited annual consolidated financial statements of the Company that the Company’s auditor may issue.
8.4 Key Employees of the Company. Schedule 8.4 lists those employees designated by the Company Group as key personnel of the Company Group (the “Key Personnel”). The Key Personnel shall, as a condition to their continued employment with the Company Group, execute and deliver to the Company Group non-disclosure, non-solicitation and non-compete agreements (the “Non-disclosure and Non-solicitation Agreements and Non-Compete Agreements”).
8.5 Company Shareholders Lock-Up Agreement. The Company Shareholders Lock-Up Agreement shall include, among other provisions, restrictions on transfer of the shares of Purchaser Ordinary Shares issued in connection with the Acquisition Merger hereunder, pursuant to which the shares of Purchaser Ordinary Shares issued to the Company Shareholders listed on Schedule III of this Agreement will be locked up for six (6) months after the Closing.
8.6 ODI Filings. The Company Group shall use its reasonable best efforts to assist the ODI Shareholders listed on Schedule 8.6 to complete the ODI Filings.
8.7 CSRC filings. The Company Group shall use its reasonable best efforts to complete the CSRC filings referenced in Section 10.1(h).
8.8 SAFE Registration. Each of the Company Group shall use its reasonable best efforts to assist in the preparation of any required applications to SAFE by holders of Parent Securities who are PRC residents for the registration of their respective holdings (whether direct or indirect) of Purchaser Ordinary Shares in accordance with the requirements of applicable SAFE Rules and Regulations and provide such holders of Parent Securities with such information relating to the Company Group as is required for any such applications.
8.9 Company Shareholder Approval. The Company shall take all action necessary to obtain the Requisite Company Vote as promptly as reasonably practicable (but in no event later than five (5) Business Days after the effectiveness of the Registration Statement), including convening an extraordinary general meeting of its shareholders or obtaining written consent from all of its shareholders.
ARTICLE IX
COVENANTS OF ALL PARTIES HERETO
The parties hereto covenant and agree that:
9.1 Reasonable Best Efforts; Further Assurances. Subject to the terms and conditions of this Agreement, each party shall use its reasonable best efforts to take, or cause to be taken, all actions and to do, or cause to be done, all things necessary or desirable under applicable Laws, and cooperate as reasonably requested by the other parties, to consummate and implement expeditiously each of the transactions contemplated by this Agreement. The parties hereto shall execute and deliver such other documents, certificates, agreements and other writings and take such other actions as may be necessary or reasonably desirable in order to consummate or implement expeditiously each of the transactions contemplated by this Agreement.
9.2 Tax Matters.
(a) Parent and Purchaser hereto shall use their reasonable best efforts to cause the Reincorporation Merger to qualify for the Reincorporation Intended Tax Treatment, and none of Parent, Purchaser, and their respective Affiliates has taken or will take any action (or fail to take any action), if such action (or failure to act), whether before or after the Effective Time, would reasonably be expected to prevent or impede the Reincorporation Merger from qualifying for the Reincorporation Intended Tax Treatment.
(b) Each of Parent, Purchaser, the Company, and their respective Affiliates shall file all Tax Returns consistent with the Reincorporation Intended Tax Treatment (including attaching the statement described in Treasury Regulations Section 1.368-(a) on or with the its Tax Return for the taxable year of the Reincorporation Merger), and shall take no position inconsistent with the Reincorporation Intended Tax Treatment (whether in audits, Tax Returns or otherwise), unless otherwise required by a Taxing Authority in connection with an audit.
(c) Notwithstanding anything to the contrary contained herein, all Transfer Taxes shall be paid by Parent. The Party required by Law to do so shall file all necessary Tax Returns and other documentation with respect to all such Transfer Taxes, and if required by applicable Law, the Parties shall, and shall cause their respective Affiliates to, join in the execution of any such Tax Returns and other document. Notwithstanding any other provision of this Agreement, the Parties shall (and shall cause their respective Affiliates to) cooperate in good faith to minimize, to the extent permissible under applicable Law, the amount of any such Transfer Taxes.
(d) Within one hundred twenty (120) days after the end of Purchaser’s current taxable year and each subsequent taxable year of Purchaser for which Purchaser reasonably believes that it may be a “passive foreign investment company” within the meaning of Section 1297 of the Code (“PFIC”), Purchaser shall (1) determine its status as a PFIC, (2) determine the PFIC status of each of its Subsidiaries that at any time during such taxable year was a foreign corporation within the meaning of Section 7701(a) of the Code (the “Non-U.S. Subsidiaries”), and (3) make such PFIC status determinations available to the shareholders of Purchaser as of immediately prior to the Effective Time. If Purchaser determines that it (or any of its Non-U.S. Subsidiaries) was, or could reasonably be deemed to have been, a PFIC in such taxable year, Purchaser shall use commercially reasonable efforts to provide the statements and information (including without limitation, a PFIC Annual Information Statement meeting the requirements of Treasury Regulation Section 1.1295-1(g)) necessary to enable Purchaser shareholders as of immediately prior to the Effective Time and their direct and/or indirect owners that are United States persons (within the meaning of Section 7701(a)(30) of the Code) to comply with all provisions of the Code with respect to PFICs, including but not limited to making and complying with the requirements of a Qualified Electing Fund election pursuant to Section 1295 of the Code or filing a “protective statement” pursuant to Treasury Regulation Section 1.1295-3 with respect to Purchaser or any of the Non-U.S. Subsidiaries, as applicable. The covenants contained in this Section 9.2(d), notwithstanding any provision elsewhere in this Agreement, shall survive in full force and effect until the later of (x) two (2) years after the end of Purchaser’s current taxable year or (y) such time as Purchaser has reasonably determined that it is not a PFIC for three (3) consecutive taxable years.
9.3 Compliance with SPAC Agreements. The Company Group and Purchaser Parties shall comply with each of the applicable agreements entered into in connection with the IPO, including that certain registration rights agreement, dated as of October 10, 2024 by and among Parent and the investors named therein.
9.4 Registration Statement.
(a) As promptly as practicable after the date hereof, Purchaser shall prepare with the assistance, cooperation and commercially reasonable efforts of the Company Group, and file with the SEC a registration statement on Form F-4 (as amended or supplemented from time to time, and including the Proxy Statement contained therein, the “Registration Statement”) in connection with the registration under the Securities Act of Purchaser Ordinary Shares to be issued in the Reincorporation Merger, which Registration Statement will also contain a proxy statement of Parent (as amended, the “Proxy Statement”) for the purpose of soliciting proxies from Parent shareholders for the matters to be acted upon at the Parent Special Meeting and providing the public shareholders of Parent an opportunity in accordance with Parent’s Organizational Documents and the IPO Prospectus to have their Parent Ordinary Shares redeemed in conjunction with the shareholders vote on the Parent Stockholder Approval Matters as defined below. The Proxy Statement shall include proxy materials for the purpose of soliciting proxies from Parent shareholders to vote, at an extraordinary general meeting of Parent’s shareholders to be called and held for such purpose (the “Parent Special Meeting”), in favor of resolutions approving (i) the adoption and approval of this Agreement and the Additional Agreements and the transactions contemplated hereby or thereby, including the Reincorporation Merger and the Acquisition Merger, by the holders of Parent Ordinary Shares in accordance with the Parent’s Organizational Documents, the Cayman Law and the rules and regulations of the SEC and Nasdaq, (ii) such other matters as the Company Group and Parent shall hereafter mutually determine to be necessary or appropriate in order to effect the Reincorporation Merger, the Acquisition Merger and the other transactions contemplated by this Agreement, and (iii) the adoption and approval of a new equity incentive plan (“ESOP”) which will provide for awards for a number of shares of Purchaser Ordinary Share equal to fifteen percent (15%) (on an as-converted and fully diluted basis) of the aggregate number of shares of Purchaser Ordinary Share reserved as of the Closing Date (the approvals described in foregoing clauses (i), (ii) and (iii), collectively, the “Parent Stockholder Approval Matters”), and (iv) the adjournment of the Parent Special Meeting, if necessary or desirable in the reasonable determination of Parent. If on the date for which the Parent Special Meeting is scheduled, Parent has not received proxies representing a sufficient number of shares to obtain the Required Parent Stockholder Approval (as defined in Section 10.1(f)), whether or not a quorum is present, Parent may make one or more successive postponements or adjournments of the Parent Special Meeting. In connection with the Registration Statement, Parent, Purchaser and the Company Group will file with the SEC financial and other information about the transactions contemplated by this Agreement in accordance with applicable Law and applicable proxy solicitation and registration statement rules set forth in Parent’s Organizational Documents, the Cayman Law and the rules and regulations of the SEC and Nasdaq. The Purchaser shall cooperate and provide the Company Group (and its counsel) with a reasonable opportunity to review and comment on the Registration Statement and any amendment or supplement thereto prior to filing the same with the SEC. The Company Group shall provide the Purchaser Parties with such information concerning the Company Group and its equity holders, officers, directors, employees, assets, Liabilities, condition (financial or otherwise), business and operations that may be required or appropriate for inclusion in the Registration Statement, or in any amendments or supplements thereto, which information provided by the Company Group shall be true and correct and not contain any untrue statement of a material fact or omit to state a material fact necessary in order to make the statements made not materially misleading (subject to the qualifications and limitations set forth in the materials provided by the Company Group). If required by applicable SEC rules or regulations, such financial information provided by the Company Group must be reviewed or audited by the Company Group’s auditors. The Parent shall provide such information concerning Parent and its equity holders, officers, directors, employees, assets, Liabilities, condition (financial or otherwise), business and operations that may be required or appropriate for inclusion in the Registration Statement, or in any amendments or supplements thereto, which information provided by the Parent shall be true and correct and not contain any untrue statement of a material fact or omit to state a material fact necessary in order to make the statements made not materially misleading. The Purchaser will use all commercially reasonable efforts to cause the Registration Statement to be declared effective under the Securities Act as promptly as practicable after such filing and to keep the Registration Statement effective as long as is necessary to consummate the Acquisition Merger and the transactions contemplated hereby.
(b) Each party shall, and shall cause each of its Subsidiaries to, make their respective directors, officers and employees, upon reasonable advance notice, available at a reasonable time and location to the Company Group, Parent and their respective representatives in connection with the drafting of the public filings with respect to the transactions contemplated by this Agreement, including the Registration Statement, and responding in a timely manner to comments from the SEC. Each party shall promptly correct any information provided by it for use in the Registration Statement (and other related materials) if and to the extent that such information is determined to have become false or misleading in any material respect or as otherwise required by applicable Laws. Purchaser shall amend or supplement the Registration Statement and cause the Registration Statement, as so amended or supplemented, to be filed with the SEC and the Parent shall cause the Proxy Statement to be disseminated to Parent’s shareholders, in each case as and to the extent required by applicable Laws and subject to the terms and conditions of this Agreement and Parent’s Organizational Documents.
(c) As soon as practicable following the Registration Statement “clearing” comments from the SEC and being declared effective by the SEC, Parent shall distribute the Proxy Statement to Parent’s shareholders, and, pursuant thereto, shall call the Parent Special Meeting in accordance with the Cayman Law for a date no later than forty-five (45) days following the effectiveness of the Registration Statement.
9.5 Confidentiality.
Except as necessary to complete the Proxy Statement and Registration Statement, the Company Group, on the one hand, and the Purchaser Parties, on the other hand, shall hold and shall cause their respective representatives to hold in strict confidence, unless compelled to disclose by judicial or administrative process or by other requirements of Law, all documents and information concerning the other party furnished to it by such other party or its representatives in connection with the transactions contemplated by this Agreement (except to the extent that such information can be shown to have been (a) previously known by the party to which it was furnished, (b) in the public domain through no fault of such party or (c) later lawfully acquired from other sources, which source is not the agent of the other party, by the party to which it was furnished), and each party shall not release or disclose such information to any other person, except its representatives in connection with this Agreement. In the event that any party believes that it is required to disclose any such confidential information pursuant to applicable Laws, such party shall give timely written notice to the other parties so that such parties may have an opportunity to obtain a protective order or other appropriate relief. Each party shall be deemed to have satisfied its obligations to hold confidential information concerning or supplied by the other parties if it exercises the same care as it takes to preserve confidentiality for its own similar information. The parties acknowledge that some previously confidential information will be required to be disclosed in the Proxy Statement.
ARTICLE X
CONDITIONS TO CLOSING
10.1 Conditions to the Obligations of Each Party to Effect the Merger. The obligations of all of the parties hereto to consummate the Closing are subject to the satisfaction of all the following conditions:
(a) No provisions of any applicable Law, and no Order shall prohibit or prevent the consummation of the Closing.
(b) There shall not be any Action brought by a third party that is not an Affiliate of the parties hereto to enjoin or otherwise restrict the consummation of the Closing.
(c) The Reincorporation Merger shall have been consummated and the applicable certificates filed in the appropriate jurisdictions.
(d) The SEC shall have declared the Registration Statement effective. No stop order suspending the effectiveness of the Registration Statement or any part thereof shall have been issued.
(e) Each of the Additional Agreements shall have been entered into and the same shall be in full force and effect.
(f) The Parent Stockholder Approval Matters that are submitted to the vote of the shareholders of Parent at the Parent Special Meeting in accordance with the Proxy Statement and Parent’s Organizational Documents shall have been approved by the requisite vote of the shareholders of Parent at the Parent Special Meeting in accordance with Parent’s Organizational Documents, applicable Law and the Proxy Statement (the “Required Parent Stockholder Approval”).
(g) This Agreement, the Plan of Acquisition Merger and the transactions contemplated hereby and thereby, including the Acquisition Merger, shall have been authorized and approved by the holders of Company Shares constituting the Requisite Company Vote in accordance with the Cayman Law and the Company’s current memorandum and articles of association.
(h) The Company Group shall have obtained all approvals necessary from the China Securities Regulatory Commission (the “CSRC”) in connection with the transactions as contemplated under this Agreement, pursuant to the Trial Administrative Measures of Overseas Securities Offering and Listing by Domestic Companies, as promulgated on February 17, 2023 (the “Measures”), and none of the Company Group has received any notification from any Authorities of the PRC, including the CSRC, that any of the Company Group or other Person are obligated to make any filings or obtain approvals regarding the transactions contemplated under this Agreement pursuant to the Measures and the other PRC Laws, rules and regulations other than the Governmental Approvals that the Company Group have already obtained from the CSRC.
(i) Purchaser shall remain listed on Nasdaq and the additional listing application for the Closing Payment Shares shall have been approved by Nasdaq. As of the Closing Date, Purchaser shall not have received any written notice from Nasdaq that it has failed, or would reasonably be expected to fail to meet the Nasdaq listing requirements as of the Closing Date for any reason, where such notice has not been subsequently withdrawn by Nasdaq or the underlying failure appropriately remedied or satisfied.
10.2 Additional Conditions to Obligations of the Purchaser Parties. The obligation of the Purchaser Parties to consummate the Closing is subject to the satisfaction, or the waiver at the Purchaser Parties’ sole and absolute discretion, of all the following further conditions:
(a) The Company Group shall have duly performed all of its obligations hereunder required to be performed by it at or prior to the Closing Date in all material respects, unless the applicable obligation has a materiality qualifier in which case it shall be duly performed in all respects.
(b) All of the representations and warranties of the Company Group contained in Article V in this Agreement, disregarding all qualifications and exceptions contained herein relating to materiality or Material Adverse Effect, regardless of whether it involved a known risk, shall: (i) be true and correct at and as of the date of this Agreement except as provided in the disclosure schedules pursuant to Article V, and (ii) be true and correct as of the Closing Date except as provided in the disclosure schedules pursuant to Article V (if the representation and warranties that speak as of a specific date prior to the Closing Date, such representations and warranties need only to be true and correct as of such earlier date), in the case of (i) and (ii), other than as would not in the aggregate reasonably be expected to have a Material Adverse Effect.
(c) There shall have been no event, change or occurrence which individually or together with any other event, change or occurrence, could reasonably be expected to have a Material Adverse Effect, regardless of whether it involved a known risk.
(d) All Company Group Consents as set forth on Schedule 5.10 have been obtained, and no such consent shall have been revoked.
(e) The Purchaser Parties shall have received a certificate signed by the Chief Executive Officer and Chief Financial Officer of the Company to the effect set forth in clauses (a) through (d) of this Section 10.2.
(f) The Purchaser Parties shall have received (i) a filed copy of memorandum and articles of association of the Company as in effect as of the Closing Date, (ii) a copy of the certificate of incorporation of the Company, (iii) the copies of resolutions duly adopted by the board of directors of the Company and by the Requisite Company Vote of the Company’s shareholders authorizing this Agreement and the transactions contemplated hereby, (iv) certified register of member as in effect as of the Closing Date, and (v) a recent certificate of good standing as of a date no later than thirty (30) days prior to the Closing Date regarding the Company from the jurisdiction in which the Company is incorporated.
(g) The Purchaser Parties shall have received copies of all Governmental Approvals, in form and substance reasonably satisfactory to the Purchaser Parties, and no such Governmental Approval shall have been revoked.
(h) The Key Personnel shall have executed the Labor Agreements, Non-disclosure and Non-solicitation Agreements and Non-Compete Agreements and the same shall be in full force and effect.
(i) The Purchaser Parties shall have received Schedule I updated as of the Closing Date.
(j) The Purchaser Parties shall have received duly executed opinions from the Company’s PRC counsel and Cayman Islands counsel, in form and substance reasonably satisfactory to the Purchaser Parties, addressed to the Purchaser Parties and dated as of the Closing Date.
(k) The Purchaser Parties shall have received a copy of each of the Additional Agreements to which the Company is a party duly executed by the Company and such Additional Agreement shall be in full force and effect.
(l) The Purchaser Parties shall have received a copy of each of the Additional Agreements duly executed by all parties thereto, other than Parent, Purchaser or the Company, provided that the non-execution of the Lock-up Agreement by Shareholders who are not the Key Personnel nor Controlled by the Key Personnel collectively holding no more than 5% of share capital in the Company (on a fully-diluted basis) immediately prior to the Closing shall not affect the Closing or occurrence of the Closing.
(m) Each ODI Shareholder, or an entity designated by such ODI Shareholder on its behalf, shall have completed its ODI Filing (as evidenced by the receipt of the ODI registration certificates and filing proofs issued by competent authorities).
10.3 Additional Conditions to Obligations of the Company. The obligations of the Company to consummate the Closing is subject to the satisfaction, or the waiver at the Company’s discretion, of all of the following further conditions:
(a) The Purchaser Parties shall have duly performed all of their obligations hereunder required to be performed by them at or prior to the Closing Date in all material respects, unless the applicable obligation has a materiality qualifier in which case it shall be duly performed in all respects.
(b) All of the representations and warranties of the Purchaser Parties contained in Article VI of this Agreement, disregarding all qualifications and exceptions contained herein relating to materiality or Material Adverse Effect, regardless of whether it involved a known risk, shall: (i) be true and correct at and as of the date of this Agreement and (ii) be true and correct as of the Closing Date (except for representation and warranties that speak as of a specific date prior to the Closing Date, in which case such representations and warranties need only to be true and correct as of such earlier date), in the case of (i) and (ii), other than as would not in the aggregate reasonably be expected to have a Material Adverse Effect.
(c) There shall have been no event, change or occurrence which individually or together with any other event, change or occurrence, could reasonably be expected to have a Material Adverse Effect on the Purchaser Parties, regardless of whether it involved a known risk.
(d) The Company shall have received a certificate signed by an authorized officer of Purchaser Parties to the effect set forth in clauses (a) through (c) of this Section 10.3.
(e) From the date hereof until the Closing, the Purchaser Parties shall have been in material compliance with the reporting requirements under the Securities Act and the Exchange Act applicable to the Purchaser Parties.
(f) The directors designated by the Company shall have been appointed to the board of directors of the Parent, effective as of the Closing.
(g) The Purchaser Parties shall have executed and delivered to the Company each Additional Agreement to which it is a party.
ARTICLE XI
[Reserved]
ARTICLE XII
DISPUTE RESOLUTION
12.1 Arbitration.
(a) The parties shall promptly submit any dispute, claim, or controversy arising out of or relating to this Agreement (including with respect to the meaning, effect, validity, termination, interpretation, performance, or enforcement of this Agreement) or any alleged breach thereof (including any action in tort, contract, equity, or otherwise), to binding arbitration before one arbitrator (the “Arbitrator”). Binding arbitration shall be the sole means of resolving any dispute, claim, or controversy arising out of or relating to this Agreement (including with respect to the meaning, effect, validity, termination, interpretation, performance or enforcement of this Agreement) or any alleged breach thereof (including any claim in tort, contract, equity, or otherwise).
(b) If the parties cannot agree upon the Arbitrator, the Arbitrator shall be selected by the New York, New York chapter head of the American Arbitration Association upon the written request of either side. The Arbitrator shall be selected within thirty (30) days of such written request.
(c) The laws of the State of New York shall apply to any arbitration hereunder. In any arbitration hereunder, this Agreement shall be governed by the laws of the State of New York applicable to a contract negotiated, signed, and wholly to be performed in the State of New York, which laws the Arbitrator shall apply in rendering his decision. The Arbitrator shall issue a written decision, setting forth findings of fact and conclusions of law, within sixty (60) days after he shall have been selected. The Arbitrator shall have no authority to award punitive or other exemplary damages.
(d) The arbitration shall be held in New York, New York in accordance with and under the then-current provisions of the Commercial Arbitration Rules of the American Arbitration Association, except as otherwise provided herein.
(e) On application to the Arbitrator, any party shall have rights to discovery to the same extent as would be provided under the Federal Rules of Civil Procedure, and the Federal Rules of Evidence shall apply to any arbitration under this Agreement; provided, however, that the Arbitrator shall limit any discovery or evidence such that his decision shall be rendered within the period referred to in Section 12.1(c).
(f) The Arbitrator may, at his discretion and at the expense of the party who will bear the cost of the arbitration, employ experts to assist him in his determinations.
(g) The costs of the arbitration proceeding and any proceeding in court to confirm any arbitration award (including actual attorneys’ fees and costs), shall be borne by the unsuccessful party and shall be awarded as part of the Arbitrator’s decision, unless the Arbitrator shall otherwise allocate such costs in such decision. The determination of the Arbitrator shall be final and binding upon the parties and not subject to appeal.
(h) Any judgment upon any award rendered by the Arbitrator may be entered in and enforced by any court of competent jurisdiction. The parties expressly consent to the non-exclusive jurisdiction of the courts (Federal and state) in New York, New York to enforce any award of the Arbitrator or to render any provisional, temporary, or injunctive relief in connection with or in aid of the arbitration. The parties expressly consent to the personal and subject matter jurisdiction of the Arbitrator to arbitrate any and all matters to be submitted to arbitration hereunder. None of the parties hereto shall challenge any arbitration hereunder on the grounds that any party necessary to such arbitration (including the parties hereto) shall have been absent from such arbitration for any reason, including that such party shall have been the subject of any bankruptcy, reorganization, or insolvency proceeding.
(i) The parties shall indemnify the Arbitrator and any experts employed by the Arbitrator and hold them harmless from and against any claim or demand arising out of any arbitration under this Agreement, unless resulting from the gross negligence or willful misconduct of the person indemnified.
(j) This arbitration section shall survive the termination of this Agreement.
12.2 Waiver of Jury Trial; Exemplary Damages.
(a) THE PARTIES TO THIS AGREEMENT HEREBY KNOWINGLY, VOLUNTARILY AND IRREVOCABLY WAIVE ANY RIGHT EACH SUCH PARTY MAY HAVE TO TRIAL BY JURY IN ANY ACTION OF ANY KIND OR NATURE, IN ANY COURT IN WHICH AN ACTION MAY BE COMMENCED, ARISING OUT OF OR IN CONNECTION WITH THIS AGREEMENT OR ANY ADDITIONAL AGREEMENT, OR BY REASON OF ANY OTHER CAUSE OR DISPUTE WHATSOEVER BETWEEN OR AMONG ANY OF THE PARTIES TO THIS AGREEMENT OF ANY KIND OR NATURE. NO PARTY SHALL BE AWARDED PUNITIVE OR OTHER EXEMPLARY DAMAGES RESPECTING ANY DISPUTE ARISING UNDER THIS AGREEMENT OR ANY ADDITIONAL AGREEMENT. NO PARTY SHALL BE ENTITLED TO SPECIFIC PERFORMANCE OF ANY PROVISION OR THIS AGREEMENT OR ANY OTHER EQUITABLE OR INJUNCTIVE RELIEF HEREUNDER.
(b) Each of the parties to this Agreement acknowledge that each has been represented in connection with the signing of this waiver by independent legal counsel selected by the respective party and that such party has discussed the legal consequences and import of this waiver with legal counsel. Each of the parties to this Agreement further acknowledge that each has read and understands the meaning of this waiver and grants this waiver knowingly, voluntarily, without duress and only after consideration of the consequences of this waiver with legal counsel.
ARTICLE XIII
TERMINATION
13.1 Termination Without Default .
(a) In the event a governmental Authority shall have issued an Order or enacted a Law having the effect of permanently restraining, enjoining or otherwise prohibiting either the Reincorporation Merger or the Acquisition Merger, which Order or Law is final and non-appealable, a Purchaser Party or the Company shall have the right, at its sole option, to terminate this Agreement without liability to the other party; provided, however, that the right to terminate this Agreement pursuant to this Section 13.1(a) shall not be available to the Company or a Purchaser Party if the failure by such party or its Affiliates to comply with any provision of this Agreement has been a substantial cause of, or substantially resulted in, such action by such governmental Authority.
(b) This Agreement may be terminated at any time by mutual written consent of the Company and Parent duly authorized by each of their respective boards of directors.
13.2 Termination Upon Default.
(a) The Purchaser Parties may terminate this Agreement by giving notice to the Company Group on or prior to the Closing Date, without prejudice to any rights or obligations the Purchaser Parties may have, if the Company Group shall have materially breached any of its representations, warranties, agreements or covenants contained herein or in any Additional Agreement to be performed on or prior to the Closing Date or this Agreement, the Plan of Acquisition Merger or the transactions contemplated hereby fail to be authorized or approved by the Shareholders and such breach shall not be cured within fifteen (15) days following receipt by the Company Group of a notice describing in reasonable detail the nature of such breach. For avoidance of doubt and notwithstanding anything herein to the contrary, the failure to deliver the Audited Financial Statements by March 31, 2025 or the failure to deliver the Interim U.S. GAAP Financial Statements by June 30, 2025, in each case, shall constitute a material breach of this Agreement.
(b) The Company may terminate this Agreement by giving notice to any Purchaser Party, without prejudice to any rights or obligations the Company Group may have, if any Purchaser Party shall have materially breached any of its covenants, agreements, representations, and warranties contained herein or in any Additional Agreement to be performed on or prior to the Closing Date and such breach shall not be cured within fifteen (15) days following receipt by such Purchaser Party(s) of a notice describing in reasonable detail the nature of such breach.
13.3 Survival. The provisions of Article XII through Article XIV shall survive any termination hereof.
ARTICLE XIV
MISCELLANEOUS
14.1 Notices. Any notice hereunder shall be sent in writing, addressed as specified below, and shall be deemed given: (a) if by hand or recognized courier service, by 4:00PM on a business day, addressee’s day and time, on the date of delivery, and otherwise on the first business day after such delivery; (b) if by fax or email, on the date that transmission is confirmed electronically, if by 4:00PM on a business day, addressee’s day and time, and otherwise on the first business day after the date of such confirmation; or (c) five days after mailing by certified or registered mail, return receipt requested. Notices shall be addressed to the respective parties as follows (excluding telephone numbers, which are for convenience only), or to such other address as a party shall specify to the others in accordance with these notice provisions:
if to the Company (following the Closing), to:
HZJL Cayman Limited
18th Floor, Block B, Yuanlun Building, No. 350 Qifei Road, Binjiang
District, Hangzhou City, People’s Republic of China
Attn: Bin Xiong
Email: xiongb@pku.edu.cn
with a copy to (which shall not constitute notice):
Han Kun Law Offices LLP
Rooms 4301-10, 43/F.,
Gloucester Tower, The Landmark,
15 Queen’s Road Central, Hong Kong
Attn: Yu Wang, Esq.
Email: wangyu@hankunlaw.com
if to Bin Xiong as the Principal Shareholder Representative:
18th Floor, Block B, Yuanlun Building, No. 350 Qifei Road,
Binjiang District, Hangzhou City, People’s Republic of China
Attn: Bin Xiong
Email: xiongb@pku.edu.cn
if to any Parent, Purchaser and Merger Sub:
Rising Dragon Acquisition Corp.
No. 604, Yixing Road
Wanbolin District, Taiyuan City
Shanxi Province, People’s Republic of China
Attention: Lulu Xing
Email: 100116156@qq.com
with a copy to (which shall not constitute notice):
Loeb & Loeb LLP
345 Park Avenue
New York, New York 10154
Attention: Vivien Bai, Esq
Email: vbai@loeb.com
14.2 Amendments; No Waivers; Remedies.
(a) This Agreement cannot be amended, except by a writing signed by each of the Purchaser Parties (prior to the Reincorporation Effective Time), the Company, the Principal Shareholder Representative and the Principal Shareholder, and cannot be terminated orally or by course of conduct. No provision hereof can be waived, except by a writing signed by the party against whom such waiver is to be enforced, and any such waiver shall apply only in the particular instance in which such waiver shall have been given.
(b) Neither any failure or delay in exercising any right or remedy hereunder or in requiring satisfaction of any condition herein nor any course of dealing shall constitute a waiver of or prevent any party from enforcing any right or remedy or from requiring satisfaction of any condition. No notice to or demand on a party waives or otherwise affects any obligation of that party or impairs any right of the party giving such notice or making such demand, including any right to take any action without notice or demand not otherwise required by this Agreement. No exercise of any right or remedy with respect to a breach of this Agreement shall preclude exercise of any other right or remedy, as appropriate to make the aggrieved party whole with respect to such breach, or subsequent exercise of any right or remedy with respect to any other breach.
(c) Except as otherwise expressly provided herein, no statement herein of any right or remedy shall impair any other right or remedy stated herein or that otherwise may be available.
(d) Notwithstanding anything else contained herein, neither shall any party seek, nor shall any party be liable for, punitive or exemplary damages, under any tort, contract, equity, or other legal theory, with respect to any breach (or alleged breach) of this Agreement or any provision hereof or any matter otherwise relating hereto or arising in connection herewith.
14.3 Arm’s Length Bargaining; No Presumption Against Drafter. This Agreement has been negotiated at arm’s-length by parties of equal bargaining strength, each represented by counsel or having had but declined the opportunity to be represented by counsel and having participated in the drafting of this Agreement. This Agreement creates no fiduciary or other special relationship between the parties, and no such relationship otherwise exists. No presumption in favor of or against any party in the construction or interpretation of this Agreement or any provision hereof shall be made based upon which Person might have drafted this Agreement or such provision.
14.4 Publicity. Except as required by law and except with respect to the Parent SEC Documents, the parties agree that neither they nor their agents shall issue any press release or make any other public disclosure concerning the transactions contemplated hereunder without the prior approval of the other party hereto. If a party is required to make such a disclosure as required by law, the parties will use their best efforts to cause a mutually agreeable release or public disclosure to be issued.
14.5 Transaction Costs. Each party shall bear its own Transaction Costs and expenses, other than those payable at Closing from the Trust Account, in connection with this Agreement and the transactions contemplated hereby, unless otherwise specified herein.
14.6 No Assignment or Delegation. No party may assign any right or delegate any obligation hereunder, including by merger, consolidation, operation of law, or otherwise, without the written consent of the other party. Any purported assignment or delegation without such consent shall be void, in addition to constituting a material breach of this Agreement.
14.7 Governing Law. This Agreement shall be construed in accordance with and governed by the laws of the State of New York, without giving effect to the conflict of laws principles thereof, except that:
(a) the following matters arising out of or relating to this Agreement shall be governed by and construed in accordance with the Laws of the Cayman Islands, in respect of which the parties hereto hereby irrevocably submit to the non-exclusive jurisdiction of the courts of the Cayman Islands: the Reincorporation Merger, the vesting of the undertaking, property and liabilities of each of Parent and Purchaser in the Reincorporation Surviving Corporation, the cancellation and/or conversion of the Parent Ordinary Shares into shares of the Reincorporation Surviving Corporation, the fiduciary or other duties of the directors of Parent and the directors of Purchaser, the general rights of the respective shareholders of Parent and Purchaser and the internal corporate affairs of the Parent and Purchasers; and
(b) the following matters arising out of or relating to this Agreement shall be governed by and construed in accordance with the Laws of the Cayman Islands in respect of which the parties hereto hereby irrevocably submit to the exclusive jurisdiction of the courts of the Cayman Islands: the Acquisition Merger, the vesting of the undertaking, property and liabilities of each of Merger Sub and the Company in the Acquisition Surviving Corporation, the cancellation of the Company Shares, the fiduciary or other duties of the directors of the Company and the directors of Merger Sub, the general rights of the respective shareholders of the Company and Merger Sub and the internal corporate affairs of the Company and Merger Sub.
14.8 Counterparts; Facsimile Signatures. This Agreement may be executed in counterparts, each of which shall constitute an original, but all of which shall constitute one agreement. This Agreement shall become effective upon delivery to each party of an executed counterpart or the earlier delivery to each party of original, photocopied, or electronically transmitted signature pages that together (but need not individually) bear the signatures of all other parties.
14.9 Entire Agreement. This Agreement together with the Additional Agreements, including any exhibits and schedules attached hereto or thereto, sets forth the entire agreement of the parties with respect to the subject matter hereof and thereof and supersedes all prior and contemporaneous understandings and agreements related thereto (whether written or oral), all of which are merged herein. No provision of this Agreement or any Additional Agreement, including any exhibits and schedules attached hereto or thereto, may be explained or qualified by any agreement, negotiations, understanding, discussion, conduct or course of conduct or by any trade usage. Except as otherwise expressly stated herein or any Additional Agreement, there is no condition precedent to the effectiveness of any provision hereof or thereof. No party has relied on any representation from, or warranty or agreement of, any person in entering into this Agreement, prior hereto or contemporaneous herewith or any Additional Agreement, except those expressly stated herein or therein.
14.10 Severability. A determination by a court or other legal authority that any provision that is not of the essence of this Agreement is legally invalid shall not affect the validity or enforceability of any other provision hereof. The parties shall cooperate in good faith to substitute (or cause such court or other legal authority to substitute) for any provision so held to be invalid a valid provision, as alike in substance to such invalid provision as is lawful.
14.11 Construction of Certain Terms and References; Captions. In this Agreement:
(a) References to particular sections and subsections, schedules, and exhibits not otherwise specified are cross-references to sections and subsections, schedules, and exhibits of this Agreement.
(b) The words “herein,” “hereof,” “hereunder,” and words of similar import refer to this Agreement as a whole and not to any particular provision of this Agreement, and, unless the context requires otherwise, “party” means a party signatory hereto.
(c) Any use of the singular or plural, or the masculine, feminine, or neuter gender, includes the others, unless the context otherwise requires; “including” means “including without limitation;” “or” means “and/or;” “any” means “any one, more than one, or all;” and, unless otherwise specified, any financial or accounting term has the meaning of the term under United States generally accepted accounting principles as consistently applied heretofore by the Company Group.
(d) Unless otherwise specified, any reference to any agreement (including this Agreement), instrument, or other document includes all schedules, exhibits, or other attachments referred to therein, and any reference to a statute or other law includes any rule, regulation, ordinance, or the like promulgated thereunder, in each case, as amended, restated, supplemented, or otherwise modified from time to time. Any reference to a numbered schedule means the same-numbered section of the disclosure schedule.
(e) If any action is required to be taken or notice is required to be given within a specified number of days following a specific date or event, the day of such date or event is not counted in determining the last day for such action or notice. If any action is required to be taken or notice is required to be given on or before a particular day which is not a Business Day, such action or notice shall be considered timely if it is taken or given on or before the next Business Day.
(f) Captions are not a part of this Agreement, but are included for convenience, only.
(g) For the avoidance of any doubt, all references in this Agreement to “the knowledge or best knowledge of the Company” or similar terms shall be deemed to include the actual or constructive (e.g., implied by Law) knowledge of the Key Personnel.
14.12 Further Assurances. Each party shall execute and deliver such documents and take such action, as may reasonably be considered within the scope of such party’s obligations hereunder, necessary to effectuate the transactions contemplated by this Agreement.
14.13 Third Party Beneficiaries. Neither this Agreement nor any provision hereof confers any benefit or right upon or may be enforced by any Person not a signatory hereto; provided, however, that (i) the D&O Indemnified Persons and the past, present and future directors, managers, officers, employees, incorporators, members, partners, stockholders, Affiliates, agents, attorneys, advisors and representatives of the parties, and any Affiliate of any of the foregoing (and their successors, heirs and representatives), are intended third-party beneficiaries of, and may enforce Section 7.7.
14.14 Waiver. Reference is made to the final IPO prospectus of the Parent, dated October 10, 2024 (the “Prospectus”). The Company Group and the Principal Shareholder Representative have read the Prospectus and understand that the Parent has established the Trust Account for the benefit of the public shareholders of the Parent and the underwriters of the IPO pursuant to the Investment Management Trust Agreement and that, except for a portion of the interest earned on the amounts held in the Trust Account, the Parent may disburse monies from the Trust Account only for the purposes set forth in the Investment Management Trust Agreement. For and in consideration of the Parent agreeing to enter into this Agreement, the Company and the Principal Shareholder each hereby agree that he, she or it does not have any right, title, interest or claim of any kind in or to any monies in the Trust Account and hereby agrees that he, she or it will not seek recourse against the Trust Account for any claim it may have in the future as a result of, or arising out of, any negotiations, contracts or agreements with the Purchaser.
[The remainder of this page intentionally left blank; signature pages to follow]
IN WITNESS WHEREOF, the parties hereto have caused this Agreement to be duly executed as of the day and year first above written.
| Parent: | ||
| RISING DRAGON ACQUISITION CORP. | ||
| By: | /s/ Lulu Xing | |
| Name: | Lulu Xing | |
| Title: | Chief Executive Officer | |
| Purchaser: | ||
| Xpand Boom Technology Inc. | ||
| By: | /s/ Lulu Xing | |
| Name: | Lulu Xing | |
| Title: | Director | |
| Merger Sub: | ||
| Xpand Boom Solutions Inc. | ||
| By: | /s/ Lulu Xing | |
| Name: | Lulu Xing | |
| Title: | Director | |
IN WITNESS WHEREOF, the parties hereto have caused this Agreement to be duly executed as of the day and year first above written.
| Company: | ||
| HZJL CAYMAN LIMITED | ||
| By: | /s/ Bin Xiong | |
| Name: | Bin Xiong | |
| Title: | Director | |
IN WITNESS WHEREOF, the parties hereto have caused this Agreement to be duly executed as of the day and year first above written.
| Principal Shareholder Representative: | |
| /s/ Bin Xiong | |
| Bin Xiong |
IN WITNESS WHEREOF, the parties hereto have caused this Agreement to be duly executed as of the day and year first above written.
| Principal Shareholder: | ||
| XB B LIMITED | ||
| By: | /s/ Bin Xiong | |
| Name: | Bin Xiong | |
| Title: | Director | |
ANNEX B
THE COMPANIES ACT (REVISED)
OF THE CAYMAN ISLANDS
COMPANY LIMITED BY SHARES
AMENDED AND RESTATED
MEMORANDUM OF ASSOCIATION
OF
XPAND BOOM TECHNOLOGY INC.
(adopted by a Special Resolution passed on [●] and effective upon the effective date of the merger between the Company and Rising Dragon Acquisition Corp.)
| 1. | The name of the Company is Xpand Boom Technology Inc. |
| 2. | The Registered Office of the Company will be situated at the office of ICS Corporate Services (Cayman) Limited, 3-212 Governors Square, 23 Lime Tree Bay Avenue, P.O. Box 30746, Seven Mile Beach, Grand Cayman, KY1-1203, Cayman Islands, or at such other location within the Cayman Islands as the Directors may from time to time determine. |
| 3. | The objects for which the Company is established are unrestricted and the Company shall have full power and authority to carry out any object not prohibited by the Companies Act or any other law of the Cayman Islands. |
| 4. | The Company shall have and be capable of exercising all the functions of a natural person of full capacity irrespective of any question of corporate benefit as provided by the Companies Act. |
| 5. | The Company will not trade in the Cayman Islands with any person, firm or corporation except in furtherance of the business of the Company carried on outside the Cayman Islands; provided that nothing in this section shall be construed as to prevent the Company effecting and concluding contracts in the Cayman Islands, and exercising in the Cayman Islands all of its powers necessary for the carrying on of its business outside the Cayman Islands. |
| 6. | The liability of each Shareholder is limited to the amount, if any, unpaid on the Shares held by such Shareholder. |
| 7. | The authorised share capital of the Company is US$50,000 divided into 500,000,000 ordinary shares of a par value of US$0.0001 each, comprising (a) 400,000,000 class A ordinary shares of a par value of US$0.0001 each and (b) 100,000,000 class B ordinary shares of a par value of US$0.0001 each. Subject to the Companies Act and the Articles, the Company shall have power to redeem or purchase any of its Shares and to increase or reduce its authorised share capital and to sub-divide or consolidate the said Shares or any of them and to issue all or any part of its capital whether original, redeemed, increased or reduced with or without any preference, priority, special privilege or other rights or subject to any postponement of rights or to any conditions or restrictions whatsoever and so that unless the conditions of issue shall otherwise expressly provide every issue of shares whether stated to be ordinary, preference or otherwise shall be subject to the powers on the part of the Company hereinbefore provided. |
| 8. | The Company has the power contained in the Companies Act to deregister in the Cayman Islands and be registered by way of continuation in some other jurisdiction. |
| 9. | Capitalised terms that are not defined in this Memorandum of Association bear the same meanings as those given in the Articles of Association of the Company. |
| B-1 |
THE COMPANIES ACT (REVISED)
OF THE CAYMAN ISLANDS
COMPANY LIMITED BY SHARES
AMENDED AND RESTATED
ARTICLES OF ASSOCIATION
OF
XPAND BOOM TECHNOLOGY INC.
(adopted by a Special Resolution passed on [●] and effective upon the effective date of the merger between the Company and Rising Dragon Acquisition Corp.)
TABLE A
The regulations contained or incorporated in Table A in the First Schedule of the Companies Act shall not apply to the Company and the following Articles shall comprise the Articles of Association of the Company.
| 1. | In these Articles the following defined terms will have the meanings ascribed to them, if not inconsistent with the subject or context: |
| “Affiliate” | means in respect of a Person, any other Person that, directly or indirectly, through one or more intermediaries, controls, is controlled by, or is under common control with, such Person, and (i) in the case of a natural person, shall include, without limitation, such person’s spouse, parents, children, siblings, mother-in-law, father-in-law, brothers-in-law and sisters-in-law, whether by blood, marriage or adoption, a trust for the benefit of any of the foregoing, and a corporation, partnership or any other entity wholly or jointly owned by any of the foregoing, and (ii) in the case of an entity, shall include a partnership, a corporation or any other entity or any natural person which directly, or indirectly through one or more intermediaries, controls, is controlled by, or is under common control with, such entity. The term “control” shall mean the ownership, directly or indirectly, of shares possessing more than fifty per cent (50%) of the voting power of the corporation, partnership or other entity (other than, in the case of a corporation, securities having such power only by reason of the happening of a contingency), or having the power to control the management or elect a majority of members to the board of directors or equivalent decision-making body of such corporation, partnership or other entity; | |
| “Articles” | means these articles of association of the Company, as amended, restated and/or substituted from time to time; | |
| “Board” and “Board of Directors” and “Directors” | means the directors of the Company for the time being, or as the case may be, the directors assembled as a board or as a committee thereof; | |
| “Chairman” | means the chairman of the Board of Directors; | |
| “Class” or “Classes” | means any class or classes of Shares as may from time to time be issued by the Company; | |
| “Class A Ordinary Share” | means an ordinary share of a par value of US$0.0001 in the capital of the Company, designated as a Class A Ordinary Shares and having the rights provided for in these Articles; |
| B-2 |
| “Class B Ordinary Share” | means an ordinary share of a par value of US$0.0001 in the capital of the Company, designated as a Class B Ordinary Share and having the rights provided for in these Articles; | |
| “Commission” | means the Securities and Exchange Commission of the United States of America or any other federal agency for the time being administering the Securities Act; | |
| “Communication Facilities” | means video, video-conferencing, internet or online conferencing applications, telephone or tele-conferencing and/or any other video-communications, internet or online conferencing application or telecommunications facilities by means of which all Persons participating in a meeting are capable of hearing and being heard by each other; | |
| “Company” | means Xpand Boom Technology Inc., a Cayman Islands exempted company; | |
| “Companies Act” | means the Companies Act (Revised) of the Cayman Islands and any statutory amendment or re-enactment thereof; | |
| “Company’s Website” | means the main corporate/investor relations website of the Company, the address or domain name of which has been disclosed in any registration statement filed by the Company with the Commission in connection with its initial public offering of the Class A Ordinary Shares, or which has otherwise been notified to Shareholders; | |
| “Designated Person” | means Bin Xiong, the founder of the Company; | |
| “Designated Stock Exchange” | means the stock exchange in the United States on which any Shares are listed for trading; | |
| “Designated Stock Exchange Rules” | means the relevant code, rules and regulations, as amended, from time to time, applicable as a result of the original and continued listing of any Shares on the Designated Stock Exchange; | |
| “electronic” | has the meaning given to it in the Electronic Transactions Act and any amendment thereto or re-enactments thereof for the time being in force and includes every other law incorporated therewith or substituted therefor; | |
| “electronic communication” | means a communication sent by electronic means, including electronic posting to the Company’s Website, transmission to any number, address or internet website (including the website of the Commission) or other electronic delivery methods as otherwise decided and approved by not less than a majority of the vote of the Board; |
| “electronic record” | has the meaning given to it in the Electronic Transactions Act and any amendment thereto or re-enactments thereof for the time being in force and includes every other law incorporated therewith or substituted therefor; | |
| “Electronic Transactions Act” | means the Electronic Transactions Act (Revised) of the Cayman Islands and any statutory amendment or re-enactment thereof; | |
| “Memorandum of Association” | means the memorandum of association of the Company, as amended or substituted from time to time; |
| B-3 |
| “Ordinary Resolution” | means a resolution: |
| (a) | passed by a simple majority of the votes cast by such Shareholders as, being entitled to do so, vote in person or, where proxies are allowed, by proxy or, in the case of corporations, by their duly authorised representatives, at a general meeting of the Company held in accordance with these Articles (in computing the majority regard shall be had to the number of votes to which each Member is entitled by these Articles); or | |
| (b) | approved in writing by all of the Shareholders entitled to vote at a general meeting of the Company in one or more instruments each signed by one or more of the Shareholders and the effective date of the resolution so adopted shall be the date on which the instrument, or the last of such instruments, if more than one, is executed; |
| “Ordinary Share” | means a Class A Ordinary Share or a Class B Ordinary Share; | |
| “paid up” | means paid up as to the par value in respect of the issue of any Shares and includes credited as paid up; | |
| “Person” | means any natural person, firm, company, joint venture, partnership, corporation, association or other entity (whether or not having a separate legal personality) or any of them as the context so requires; | |
| “Present” | means, in respect of any Person, such Person’s presence at a general meeting of Shareholders (or any meeting of the holders of any Class of Shares), which may be satisfied by means of such Person or, if a corporation or other non-natural Person, its duly authorised representative (or, in the case of any Shareholder, a proxy which has been validly appointed by such Shareholder in accordance with these Articles), being: (a) physically present at the meeting; or (b) in the case of any meeting at which Communication Facilities are permitted in accordance with these Articles, including any Virtual Meeting, connected by means of the use of such Communication Facilities; | |
| “Register” | means the register of Members of the Company maintained in accordance with the Companies Act; | |
| “Registered Office” | means the registered office of the Company as required by the Companies Act; | |
| “Seal” | means the common seal of the Company (if adopted) including any facsimile thereof; |
| “Secretary” | means any Person appointed by the Directors to perform any of the duties of the secretary of the Company; | |
| “Securities Act” | means the Securities Act of 1933 of the United States of America, as amended, or any similar federal statute and the rules and regulations of the Commission thereunder, all as the same shall be in effect at the time; | |
| “Share” | means a share in the capital of the Company. All references to “Shares” herein shall be deemed to be Shares of any or all Classes as the context may require. For the avoidance of doubt in these Articles the expression “Share” shall include a fraction of a Share; | |
| “Shareholder” or “Member” | means a Person who is registered as the holder of one or more Shares in the Register; | |
| “Share Premium Account” | means the share premium account established in accordance with these Articles and the Companies Act; |
| B-4 |
| “signed” | means bearing a signature or representation of a signature affixed by mechanical means or an electronic symbol or process attached to or logically associated with an electronic communication and executed or adopted by a Person with the intent to sign the electronic communication; | |
| “Special Resolution” | means a special resolution of the Company passed in accordance with the Companies Act, being a resolution: |
| (a) | passed by not less than two-thirds (2/3) of the votes cast by such Shareholders as, being entitled to do so, vote in person or, where proxies are allowed, by proxy or, in the case of corporations, by their duly authorised representatives, at a general meeting of the Company of which notice specifying the intention to propose the resolution as a special resolution has been duly given; or | |
| (b) | approved in writing by all of the Shareholders entitled to vote at a general meeting of the Company in one or more instruments each signed by one or more of the Shareholders and the effective date of the special resolution so adopted shall be the date on which the instrument or the last of such instruments, if more than one, is executed; |
| “Treasury Share” | means a Share held in the name of the Company as a treasury share in accordance with the Companies Act; | |
| “United States” | means the United States of America, its territories, its possessions and all areas subject to its jurisdiction; and | |
| “Virtual Meeting” | means any general meeting of the Shareholders (or any meeting of the holders of any Class of Shares) at which the Shareholders (and any other permitted participants of such meeting, including without limitation the chairman of the meeting and any Directors) are permitted to attend and participate solely by means of Communication Facilities. |
| 2. | In these Articles, save where the context requires otherwise: |
| (a) | words importing the singular number shall include the plural number and vice versa; |
| (b) | words importing the masculine gender only shall include the feminine gender and any Person as the context may require; |
| (c) | the word “may” shall be construed as permissive and the word “shall” shall be construed as imperative; |
| (d) | reference to a dollar or dollars (or US$) and to a cent or cents is reference to dollars and cents of the United States of America; |
| (e) | reference to a statutory enactment shall include reference to any amendment or re-enactment thereof for the time being in force; |
| (f) | reference to any determination by the Directors shall be construed as a determination by the Directors in their sole and absolute discretion and shall be applicable either generally or in any particular case; |
| (g) | any phrase introduced by the terms “including”, “include” or “in particular” or similar expression shall be construed as illustrative and shall not limit the sense of the words preceding those terms; |
| B-5 |
| (h) | reference to “in writing” shall be construed as written or represented by any means reproducible in writing, including any form of print, lithograph, email, facsimile, photograph or telex or represented by any other substitute or format for storage or transmission for writing including in the form of an electronic record or partly one and partly another; |
| (i) | any requirements as to delivery under the Articles include delivery in the form of an electronic record or an electronic communication; |
| (j) | any requirements as to execution or signature under the Articles, including the execution of the Articles themselves, can be satisfied in the form of an electronic signature as defined in the Electronic Transactions Act; and |
| (k) | Sections 8 and 19(3) of the Electronic Transactions Act shall not apply. |
| 3. | Subject to the last two preceding Articles, any words defined in the Companies Act shall, if not inconsistent with the subject or context, bear the same meaning in these Articles. |
PRELIMINARY
| 4. | The business of the Company may be conducted as the Directors see fit. |
| 5. | The Registered Office shall be at such address in the Cayman Islands as the Directors may from time to time determine. The Company may in addition establish and maintain such other offices and places of business and agencies in such places as the Directors may from time to time determine. |
| 6. | The expenses incurred in the formation of the Company and in connection with the offer for subscription and issue of Shares shall be paid by the Company. Such expenses may be amortised over such period as the Directors may determine and the amount so paid shall be charged against income and/or capital in the accounts of the Company as the Directors shall determine. |
| 7. | The Directors shall keep, or cause to be kept, the Register at such place as the Directors may from time to time determine and, in the absence of any such determination, the Register shall be kept at the Registered Office. |
SHARES
| 8. | Subject to these Articles and where applicable the Designated Stock Exchange Rules, all Shares for the time being unissued shall be under the control of the Directors who may, in their absolute discretion and without the approval of the Members, cause the Company to: |
| (a) | issue, allot, or otherwise dispose of Shares (including, without limitation, preferred shares) (whether in certificated form or non-certificated form) to such Persons, in such manner, at such times and on such terms and having such rights and being subject to such restrictions as they may from time to time determine; |
| (b) | grant rights over Shares or other securities to be issued in one or more classes or series as they deem necessary or appropriate and determine the designations, powers, preferences, privileges and other rights attaching to such Shares or securities, including dividend rights, voting rights, conversion rights, terms of redemption and liquidation preferences, any or all of which may be greater than the powers, preferences, privileges and rights associated with the then issued and outstanding Shares, at such times and on such other terms as they think proper; and |
| (c) | grant options with respect to Shares and issue warrants or similar instruments with respect thereto, at such times and on such terms and having such rights and being subject to such restrictions as they may from time to time determine. |
| B-6 |
| 9. | The Directors may authorise the division of Shares into any number of Classes and the different Classes shall be authorised, established and designated (or re-designated as the case may be) and the variations in the relative rights (including, without limitation, voting, dividend and redemption rights), restrictions, preferences, privileges and payment obligations as between the different Classes (if any) may be fixed and determined by the Directors or by an Ordinary Resolution. The Directors may issue Shares with such preferred or other rights, all or any of which may be greater than the rights of Ordinary Shares, at such time and on such terms as they may think appropriate. Notwithstanding Article 17, the Directors may issue from time to time, out of the authorised share capital of the Company (other than the authorised but unissued Ordinary Shares), series of preferred shares in their absolute discretion and without approval of the Members; provided, however, before any preferred shares of any such series are issued, the Directors may by resolution of Directors determine, with respect to any series of preferred shares, the terms and rights of that series, including: |
| (a) | the designation of such series, the number of preferred shares to constitute such series and the subscription price thereof if different from the par value thereof; |
| (b) | whether the preferred shares of such series shall have voting rights, in addition to any voting rights provided by law, and, if so, the terms of such voting rights, which may be general or limited; |
| (c) | the dividends, if any, payable on such series, whether any such dividends shall be cumulative, and, if so, from what dates, the conditions and dates upon which such dividends shall be payable, and the preference or relation which such dividends shall bear to the dividends payable on any shares of any other class or any other series of shares; |
| (d) | whether the preferred shares of such series shall be subject to redemption by the Company, and, if so, the times, prices and other conditions of such redemption; |
| (e) | whether the preferred shares of such series shall have any rights to receive any part of the assets available for distribution amongst the Members upon the liquidation of the Company, and, if so, the terms of such liquidation preference, and the relation which such liquidation preference shall bear to the entitlements of the holders of shares of any other class or any other series of shares; |
| (f) | whether the preferred shares of such series shall be subject to the operation of a retirement or sinking fund and, if so, the extent to and manner in which any such retirement or sinking fund shall be applied to the purchase or redemption of the preferred shares of such series for retirement or other corporate purposes and the terms and provisions relative to the operation thereof; |
| (g) | whether the preferred shares of such series shall be convertible into, or exchangeable for, shares of any other class or any other series of preferred shares or any other securities and, if so, the price or prices or the rate or rates of conversion or exchange and the method, if any, of adjusting the same, and any other terms and conditions of conversion or exchange; |
| (h) | the limitations and restrictions, if any, to be effective while any preferred shares of such series are outstanding upon the payment of dividends or the making of other distributions on, and upon the purchase, redemption or other acquisition by the Company of, the existing shares or shares of any other class of shares or any other series of preferred shares; |
| (i) | the conditions or restrictions, if any, upon the creation of indebtedness of the Company or upon the issue of any additional shares, including additional shares of such series or of any other class of shares or any other series of preferred shares; and |
| (j) | any other powers, preferences and relative, participating, optional and other special rights, and any qualifications, limitations and restrictions thereof; and, for such purposes, the Directors may reserve an appropriate number of Shares for the time being unissued. The Company shall not issue Shares to bearer. |
| B-7 |
| 10. | The Company may insofar as may be permitted by law, pay a commission to any Person in consideration of his subscribing or agreeing to subscribe whether absolutely or conditionally for any Shares. Such commissions may be satisfied by the payment of cash or the lodgment of fully or partly paid-up Shares or partly in one way and partly in the other. The Company may also pay such brokerage as may be lawful on any issue of Shares. |
| 11. | The Directors may refuse to accept any application for Shares, and may accept any application in whole or in part, for any reason or for no reason. |
CLASS A ORDINARY SHARES AND CLASS B ORDINARY SHARES
| 12. | Holders of Class A Ordinary Shares and Class B Ordinary Shares shall at all times vote together as one class on all resolutions submitted to a vote by the Members. Each Class A Ordinary Share shall entitle the holder thereof to one (1) vote on all matters subject to vote at general meetings of the Company, and each Class B Ordinary Share shall entitle the holder thereof to ten (10) votes on all matters subject to vote at general meetings of the Company. |
| 13. | Each Class B Ordinary Share is convertible into one (1) Class A Ordinary Share at any time at the option of the holder thereof. The right to convert shall be exercisable by the holder of the Class B Ordinary Share delivering a written notice to the Company that such holder elects to convert a specified number of Class B Ordinary Shares into Class A Ordinary Shares. In no event shall Class A Ordinary Shares be convertible into Class B Ordinary Shares. |
| 14. | Any conversion of Class B Ordinary Shares into Class A Ordinary Shares pursuant to these Articles shall be effected by means of the re-designation of each relevant Class B Ordinary Share as a Class A Ordinary Share. Such conversion shall become effective (i) in the case of any conversion effected pursuant to Article 13, forthwith upon the receipt by the Company of the written notice delivered to the Company as described in Article 13 (or at such later date as may be specified in such notice), or (ii) in the case of any automatic conversion effected pursuant to Article 15, forthwith upon occurrence of the event specified in Article 15 which triggers such automatic conversion, and the Company shall make entries in the Register to record the re-designation of the relevant Class B Ordinary Shares as Class A Ordinary Shares. |
| 15. | Upon any sale, transfer, assignment or disposition of any Class B Ordinary Share by a Shareholder to any person who is not the Designated Person or an Affiliate of the Designated Person, or upon a change of ultimate beneficial ownership of any Class B Ordinary Share to any Person who is not the Designated Person or an Affiliate of the Designated Person, such Class B Ordinary Share shall be automatically and immediately converted into the same number of Class A Ordinary Share. For the avoidance of doubt, (i) where a sale, transfer, assignment or disposition involves a change to the legal title to Class B Ordinary Shares, it shall be effective upon the Company’s registration of such sale, transfer, assignment or disposition in its Register, and where a sale, transfer, assignment or disposition involves a change to the ultimate beneficial ownership or there is otherwise no change to the legal title to Class B Ordinary Shares, it shall be deemed effective at the time of the change, as determined in good faith by the Directors in their sole discretion; and (ii) the creation of any pledge, charge, encumbrance or other third party right of whatever description on any Class B Ordinary Shares to secure a holder’s contractual or legal obligations shall not be deemed as a sale, transfer, assignment or disposition, or a change of ultimate beneficial ownership, unless and until any such pledge, charge, encumbrance or other third party right is enforced and results in the third party holding legal title to the relevant Class B Ordinary Shares, in which case all the related Class B Ordinary Shares shall be automatically converted into the same number of Class A Ordinary Shares. For the purposes of this Article 15, beneficial ownership shall have the meaning set forth in Rule 13d-3 under the United States Securities Exchange Act of 1934, as amended. |
| 16. | Save and except for voting rights and conversion rights as set out in Articles 12 to 15 (inclusive), the Class A Ordinary Shares and the Class B Ordinary Shares shall rank pari passu with one another and shall have the same rights, preferences, privileges and restrictions. |
| B-8 |
MODIFICATION OF RIGHTS
| 17. | Whenever the capital of the Company is divided into different Classes the rights attached to any such Class may, subject to any rights or restrictions for the time being attached to any Class, only be materially and adversely varied with the consent in writing of the holders of two-thirds (2/3) of the issued Shares of that Class or with the sanction of a Special Resolution passed at a separate meeting of the holders of the Shares of that Class. To every such separate meeting all the provisions of these Articles relating to general meetings of the Company or to the proceedings thereat shall, mutatis mutandis, apply, except that the necessary quorum shall be one or more Persons holding or representing by proxy at least one-third (1/3) in nominal or par value amount of the issued Shares of the relevant Class (but so that if at any adjourned meeting of such holders a quorum as above defined is not Present, those Shareholders who are Present shall form a quorum) and that, subject to any rights or restrictions for the time being attached to the Shares of that Class, every Shareholder of the Class shall on a poll have one vote for each Share of the Class held by him. For the purposes of this Article the Directors may treat all the Classes or any two or more Classes as forming one Class if they consider that all such Classes would be affected in the same way by the proposals under consideration, but in any other case shall treat them as separate Classes. |
| 18. | The rights conferred upon the holders of the Shares of any Class issued with preferred or other rights shall not, subject to any rights or restrictions for the time being attached to the Shares of that Class, be deemed to be materially and adversely varied by, inter alia, the creation, allotment or issue of further Shares ranking pari passu with or subsequent to them or the redemption or purchase of any Shares of any Class by the Company. The rights of the holders of Shares shall not be deemed to be materially and adversely varied by the creation or issue of Shares with preferred or other rights including, without limitation, the creation of Shares with enhanced or weighted voting rights. |
CERTIFICATES
| 19. | A Member may only be entitled to a share certificate if the Directors resolve that share certificates shall be issued. Share certificates representing Shares, if any, shall be in such form as the Directors may determine. Share certificates shall be signed by one or more Directors or other person authorised by the Directors. The Directors may authorise certificates to be issued with the authorised signature(s) affixed by mechanical process. All certificates for Shares shall be numbered or otherwise identified and shall specify the Shares to which they relate. All certificates surrendered to the Company for transfer shall be cancelled and, subject to these Articles, no new certificate shall be issued until the former certificate representing a like number of relevant Shares shall have been surrendered and cancelled. |
| 20. | Every share certificate of the Company shall bear such legends as may be required under applicable laws, including the Securities Act. |
| 21. | No certificate shall be issued representing shares of more than one class. |
| 22. | If a share certificate shall be damaged or defaced or alleged to have been lost, stolen or destroyed, a new certificate representing the same Shares may be issued to the relevant Member upon request, subject to delivery up of the old certificate or (if alleged to have been lost, stolen or destroyed) compliance with such conditions as to evidence and indemnity and the payment of out-of-pocket expenses of the Company in connection with the request as the Directors may think fit. |
| 23. | The Company shall not be bound to issue more than one certificate for Shares held jointly by more than one person. In the event that Shares are held jointly by several Persons, any request may be made by any one of the joint holders and if so made shall be binding on all of the joint holders. |
FRACTIONAL SHARES
| 24. | The Directors may issue fractions of a Share and, if so issued, a fraction of a Share shall be subject to and carry the corresponding fraction of liabilities (whether with respect to nominal or par value, premium, contributions, calls or otherwise), limitations, preferences, privileges, qualifications, restrictions, rights (including, without prejudice to the generality of the foregoing, voting and participation rights) and other attributes of a whole Share. If more than one fraction of a Share of the same Class is issued to or acquired by the same Shareholder such fractions shall be accumulated. |
| B-9 |
LIEN
| 25. | The Company has a first and paramount lien on every Share (whether or not fully paid) for all amounts (whether presently payable or not) payable at a fixed time or called in respect of that Share. The Company also has a first and paramount lien on every Share registered in the name of a Person indebted or under liability to the Company (whether he is the sole registered holder of a Share or one of two or more joint holders) for all amounts owing by him or his estate to the Company (whether or not presently payable). The Directors may at any time declare a Share to be wholly or in part exempt from the provisions of this Article. The Company’s lien on a Share extends to any amount payable in respect of it, including but not limited to dividends. |
| 26. | The Company may sell, in such manner as the Directors in their absolute discretion think fit, any Share on which the Company has a lien, but no sale shall be made unless an amount in respect of which the lien exists is presently payable nor until the expiration of fourteen calendar days after a notice in writing, demanding payment of such part of the amount in respect of which the lien exists as is presently payable, has been given to the registered holder for the time being of the Share, or the Persons entitled thereto by reason of his death or bankruptcy. |
| 27. | For giving effect to any such sale the Directors may authorise a Person to transfer the Shares sold to the purchaser thereof. The purchaser shall be registered as the holder of the Shares comprised in any such transfer and he shall not be bound to see to the application of the purchase money, nor shall his title to the Shares be affected by any irregularity or invalidity in the proceedings in reference to the sale. |
| 28. | The proceeds of the sale after deduction of expenses, fees and commissions incurred by the Company shall be received by the Company and applied in payment of such part of the amount in respect of which the lien exists as is presently payable, and the residue shall (subject to a like lien for sums not presently payable as existed upon the Shares prior to the sale) be paid to the Person entitled to the Shares immediately prior to the sale. |
CALLS ON SHARES
| 29. | Subject to the terms of the allotment, the Directors may from time to time make calls upon the Shareholders in respect of any moneys unpaid on their Shares, and each Shareholder shall (subject to receiving at least fourteen calendar days’ notice specifying the time or times of payment) pay to the Company at the time or times so specified the amount called on such Shares. A call shall be deemed to have been made at the time when the resolution of the Directors authorising such call was passed. |
| 30. | The joint holders of a Share shall be jointly and severally liable to pay calls in respect thereof. |
| 31. | If a sum called in respect of a Share is not paid before or on the day appointed for payment thereof, the Person from whom the sum is due shall pay interest upon the sum at the rate of eight percent per annum from the day appointed for the payment thereof to the time of the actual payment, but the Directors shall be at liberty to waive payment of that interest wholly or in part. |
| 32. | The provisions of these Articles as to the liability of joint holders and as to payment of interest shall apply in the case of non-payment of any sum which, by the terms of issue of a Share, becomes payable at a fixed time, whether on account of the amount of the Share, or by way of premium, as if the same had become payable by virtue of a call duly made and notified. |
| 33. | The Directors may make arrangements with respect to the issue of partly paid Shares for a difference between the Shareholders, or the particular Shares, in the amount of calls to be paid and in the times of payment. |
| 34. | The Directors may, if they think fit, receive from any Shareholder willing to advance the same all or any part of the moneys uncalled and unpaid upon any partly paid Shares held by him, and upon all or any of the moneys so advanced may (until the same would, but for such advance, become presently payable) pay interest at such rate (not exceeding without the sanction of an Ordinary Resolution, eight percent per annum) as may be agreed upon between the Shareholder paying the sum in advance and the Directors. No such sum paid in advance of calls shall entitle the Member paying such sum to any portion of a dividend declared in respect of any period prior to the date upon which such sum would, but for such payment, become presently payable. |
| B-10 |
FORFEITURE OF SHARES
| 35. | If a Shareholder fails to pay any call or instalment of a call in respect of partly paid Shares on the day appointed for payment, the Directors may, at any time thereafter during such time as any part of such call or instalment remains unpaid, serve a notice on him requiring payment of so much of the call or instalment as is unpaid, together with any interest which may have accrued. |
| 36. | The notice shall name a further day (not earlier than the expiration of fourteen calendar days from the date of the notice) on or before which the payment required by the notice is to be made, and shall state that in the event of non-payment at or before the time appointed, the Shares in respect of which the call was made will be liable to be forfeited. |
| 37. | If the requirements of any such notice as aforesaid are not complied with, any Share in respect of which the notice has been given may at any time thereafter, before the payment required by notice has been made, be forfeited by a resolution of the Directors to that effect. |
| 38. | A forfeited Share may be sold or otherwise disposed of on such terms and in such manner as the Directors think fit, and at any time before a sale or disposition the forfeiture may be cancelled on such terms as the Directors think fit. |
| 39. | A Person whose Shares have been forfeited shall cease to be a Shareholder in respect of the forfeited Shares, but shall, notwithstanding, remain liable to pay to the Company all moneys which at the date of forfeiture were payable by him to the Company in respect of the Shares forfeited, but his liability shall cease if and when the Company receives payment in full of the amount unpaid on the Shares forfeited. |
| 40. | A certificate in writing under the hand of a Director that a Share has been duly forfeited on a date stated in the certificate shall be conclusive evidence of the facts in the declaration as against all Persons claiming to be entitled to the Share. |
| 41. | The Company may receive the consideration, if any, given for a Share on any sale or disposition thereof pursuant to the provisions of these Articles as to forfeiture and may execute a transfer of the Share in favour of the Person to whom the Share is sold or disposed of and that Person shall be registered as the holder of the Share and shall not be bound to see to the application of the purchase money, if any, nor shall his title to the Shares be affected by any irregularity or invalidity in the proceedings in reference to the disposition or sale. |
| 42. | The provisions of these Articles as to forfeiture shall apply in the case of non-payment of any sum which by the terms of issue of a Share becomes due and payable, whether on account of the amount of the Share, or by way of premium, as if the same had been payable by virtue of a call duly made and notified. |
TRANSFER OF SHARES
| 43. | The instrument of transfer of any Share shall be in writing and in any usual or common form or such other form as the Directors may, in their absolute discretion, approve and be executed by or on behalf of the transferor and if in respect of a nil or partly paid up Share, or if so required by the Directors, shall also be executed on behalf of the transferee and shall be accompanied by the certificate (if any) of the Shares to which it relates and such other evidence as the Directors may reasonably require to show the right of the transferor to make the transfer. The transferor shall be deemed to remain a Shareholder until the name of the transferee is entered in the Register in respect of the relevant Shares. Subject to these Articles, any Member may transfer all or any of his shares by an instrument of transfer in the usual or common form or in a form prescribed by the Designated Stock Exchange or in any other form approved by the Board and may be under hand or, if the transferor or transferee is a clearing house or a central depository house or its nominee(s), by hand or by machine imprinted signature or by such other manner of execution as the Board may approve from time to time. |
| 44. |
| (a) | The Directors may in their absolute discretion decline to register any transfer of Shares which is not fully paid up or on which the Company has a lien. |
| B-11 |
| (b) | The Directors may also decline to register any transfer of any Share unless: |
| (i) | the instrument of transfer is lodged with the Company, accompanied by the certificate for the Shares to which it relates and such other evidence as the Board may reasonably require to show the right of the transferor to make the transfer; |
| (ii) | the instrument of transfer is in respect of only one Class of Shares; |
| (iii) | the instrument of transfer is properly stamped, if required; |
| (iv) | in the case of a transfer to joint holders, the number of joint holders to whom the Share is to be transferred does not exceed four; and |
| (v) | a fee of such maximum sum as the Designated Stock Exchange may determine to be payable, or such lesser sum as the Board of Directors may from time to time require, is paid to the Company in respect thereof. |
| 45. | The registration of transfers may, after compliance with any notice required by the Designated Stock Exchange Rules, be suspended and the Register closed at such times and for such periods as the Directors may, in their absolute discretion, from time to time determine, provided always that such registration of transfer shall not be suspended nor the Register closed for more than thirty calendar days in any calendar year. |
| 46. | All instruments of transfer that are registered shall be retained by the Company. If the Directors refuse to register a transfer of any Shares, they shall within two calendar months after the date on which the transfer was lodged with the Company send notice of the refusal to each of the transferor and the transferee. |
TRANSMISSION OF SHARES
| 47. | The legal personal representative of a deceased sole holder of a Share shall be the only Person recognised by the Company as having any title to the Share. In the case of a Share registered in the name of two or more holders, the survivors or survivor, or the legal personal representatives of the deceased survivor, shall be the only Person recognised by the Company as having any title to the Share. |
| 48. | Any Person becoming entitled to a Share in consequence of the death or bankruptcy of a Shareholder shall, upon such evidence being produced as may from time to time be required by the Directors, have the right either to be registered as a Shareholder in respect of the Share or, instead of being registered himself, to make such transfer of the Share as the deceased or bankrupt Person could have made; but the Directors shall, in either case, have the same right to decline or suspend registration as they would have had in the case of a transfer of the Share by the deceased or bankrupt Person before the death or bankruptcy. |
| 49. | A Person becoming entitled to a Share by reason of the death or bankruptcy of a Shareholder shall be entitled to the same dividends and other advantages to which he would be entitled if he were the registered Shareholder, except that he shall not, before being registered as a Shareholder in respect of the Share, be entitled in respect of it to exercise any right conferred by membership in relation to meetings of the Company, provided however, that the Directors may at any time give notice requiring any such Person to elect either to be registered himself or to transfer the Share, and if the notice is not complied with within ninety calendar days, the Directors may thereafter withhold payment of all dividends, bonuses or other monies payable in respect of the Share until the requirements of the notice have been complied with. |
REGISTRATION OF EMPOWERING INSTRUMENTS
| 50. | The Company shall be entitled to charge a fee not exceeding one dollar (US$1.00) on the registration of every probate, letters of administration, certificate of death or marriage, power of attorney, notice in lieu of distringas, or other instrument. |
| B-12 |
ALTERATION OF SHARE CAPITAL
| 51. | The Company may from time to time by Ordinary Resolution increase the share capital by such sum, to be divided into Shares of such Classes and amount, as the resolution shall prescribe and with such rights, priorities and privileges annexed thereto, as the Company in general meeting may determine. |
| 52. | The Company may by Ordinary Resolution: |
| (a) | increase its share capital by new Shares of such amount as it thinks appropriate; |
| (b) | consolidate and divide all or any of its share capital into Shares of a larger amount than its existing Shares; |
| (c) | divide its Shares into several classes and without prejudice to any special rights previously conferred on the holders of existing Shares attach thereto respectively any preferential, deferred, qualified or special rights, privileges, conditions or such restrictions which in the absence of any such determination by the Company in general meeting, as the Directors may determine provided always that, for the avoidance of doubt, where a Class of Shares has been authorised by the Company, no resolution of the Company in general meeting is required for the issuance of Shares of that Class and the Directors may issue Shares of that Class and determine such rights, privileges, conditions or restrictions attaching thereto as aforesaid, and further provided that where the Company issues shares which do not carry voting rights, the words “non-voting” shall appear in the designation of such Shares and where the equity capital includes shares with different voting rights, the designation of each Class of Shares, other than those with the most favourable voting rights, must include the words “restricted voting” or “limited voting”; |
| (d) | subdivide its Shares, or any of them, into Shares of an amount smaller than that fixed by the Memorandum, provided that in the subdivision the proportion between the amount paid and the amount, if any, unpaid on each reduced Share shall be the same as it was in case of the Share from which the reduced Share is derived; and |
| (e) | cancel any Shares that, at the date of the passing of the resolution, have not been taken or agreed to be taken by any Person and diminish the amount of its share capital by the amount of the Shares so cancelled. |
| 53. | All new Shares created in accordance with the provisions of the preceding Article shall be subject to the same provisions of the Articles with reference to the payment of calls, Liens, transfer, transmission, forfeiture and otherwise as the Shares in the original share capital. The Board may settle as it considers expedient any difficulty which arises in relation to any consolidation and division under the preceding Article and in particular but without prejudice to the generality of the foregoing may arrange for the sale of the shares representing fractions and the distribution of the net proceeds of sale (after deduction of the expenses of such sale) in due proportion amongst the Members who would have been entitled to the fractions, and for this purpose the Board may authorise some person to transfer the shares representing fractions to their purchaser or resolve that such net proceeds be paid to the Company for the Company’s benefit. Such purchaser will not be bound to see to the application of the purchase money nor will his title to the shares be affected by any irregularity or invalidity in the proceedings relating to the sale. |
| 54. | The Company may by Special Resolution reduce its share capital and any capital redemption reserve in any manner authorised by the Companies Act. |
REDEMPTION, PURCHASE AND SURRENDER OF SHARES
| 55. | Subject to the provisions of the Companies Act and these Articles, the Company may: |
| (a) | issue Shares that are to be redeemed or are liable to be redeemed at the option of the Shareholder or the Company. The redemption of Shares shall be effected in such manner and upon such terms as may be determined, before the issue of such Shares, by the Board; |
| (b) | purchase its own Shares (including any redeemable Shares) on such terms and in such manner and terms as have been approved by the Board, or are otherwise authorised by these Articles; and |
| (c) | make a payment in respect of the redemption or purchase of its own Shares in any manner permitted by the Companies Act, including out of capital. |
| B-13 |
| 56. | The purchase of any Share shall not oblige the Company to purchase any other Share other than as may be required pursuant to applicable law and any other contractual obligations of the Company. |
| 57. | The holder of the Shares being purchased shall be bound to deliver up to the Company the certificate(s) (if any) thereof for cancellation and thereupon the Company shall pay to him the purchase or redemption monies or consideration in respect thereof. |
| 58. | The Directors may accept the surrender for no consideration of any fully paid Share. |
TREASURY SHARES
| 59. | The Directors may, prior to the purchase, redemption or surrender of any Share, determine that such Share shall be held as a Treasury Share. |
| 60. | The Directors may determine to cancel a Treasury Share or transfer a Treasury Share on such terms as they think proper (including, without limitation, for nil consideration). |
GENERAL MEETINGS
| 61. | All general meetings other than annual general meetings shall be called extraordinary general meetings. |
62. |
| (a) | The Company may (but shall not be obliged to) in each calendar year hold a general meeting as its annual general meeting and shall specify the meeting as such in the notices calling it. The annual general meeting shall be held at such time and place as may be determined by the Directors. |
| (b) | At these meetings the report of the Directors (if any) shall be presented. |
| 63. |
| (a) | The Chairman or a majority of the Directors (acting by a resolution of the Board) may call general meetings, and they shall on a Shareholders’ requisition forthwith proceed to convene an extraordinary general meeting of the Company. |
| (b) | A Shareholders’ requisition is a requisition of Members holding at the date of deposit of the requisition Shares which carry in aggregate not less than one-third (1/3) of the total number of votes attaching to all issued and outstanding Shares that as at the date of the deposit carry the right to vote at general meetings of the Company. |
| (c) | The requisition must state the objects of the meeting and must be signed by the requisitionists and deposited at the Registered Office, and may consist of several documents in like form each signed by one or more requisitionists. |
| (d) | If there are no Directors as at the date of the deposit of the Shareholders’ requisition, or if the Directors do not within twenty-one (21) calendar days from the date of the deposit of the requisition duly proceed to convene a general meeting to be held within a further twenty-one (21) calendar days, the requisitionists, or any of them representing more than one-half of the total voting rights of all of them, may themselves convene a general meeting, but any meeting so convened shall not be held after the expiration of three calendar months after the expiration of the said twenty-one (21) calendar days. |
| (e) | A general meeting convened as aforesaid by requisitionists shall be convened in the same manner as nearly as possible as that in which general meetings are to be convened by Directors. |
| B-14 |
NOTICE OF GENERAL MEETINGS
| 64. | At least five (5) calendar days’ notice shall be given for any general meeting. Every notice shall be exclusive of the day on which it is given or deemed to be given and of the day for which it is given and shall specify the place, the day and the hour of the meeting and the general nature of the business and shall be given in the manner hereinafter mentioned or in such other manner if any as may be prescribed by the Company, provided that a general meeting of the Company shall, whether or not the notice specified in this Article has been given and whether or not the provisions of these Articles regarding general meetings have been complied with, be deemed to have been duly convened if it is so agreed: |
| (a) | in the case of an annual general meeting, by all the Shareholders (or their proxies) entitled to attend and vote thereat; and |
| (b) | in the case of an extraordinary general meeting, by the Members holding Shares which carry in aggregate not less than two-thirds (2/3) of the total number of votes all Shares in issue and entitled to vote at such general meeting Present or, in the case of a corporation or other non-natural person, represented by its duly authorised representative or proxy. |
| 65. | The accidental omission to give notice of a meeting to or the non-receipt of a notice of a meeting by any Shareholder shall not invalidate the proceedings at any meeting. |
PROCEEDINGS AT GENERAL MEETINGS
| 66. | No business except for the appointment of a chairman for the meeting shall be transacted at any general meeting unless a quorum of Shareholders is Present at the time when the meeting proceeds to business. One or more Shareholders holding Shares which carry in aggregate (or representing by proxy) not less than one-third (1/3) of all votes attaching to all Shares in issue and entitled to vote at such general meeting Present shall be a quorum for all purposes. |
| 67. | If within half an hour from the time appointed for the meeting a quorum is not Present, the meeting shall be dissolved. |
| 68. | If the Directors wish to make this facility available for a specific general meeting or all general meetings of the Company, attendance and participation in any general meeting of the Company may be by means of Communication Facilities. Without limiting the generality of the foregoing, the Directors may determine that any general meeting may be held as a Virtual Meeting. The notice of any general meeting at which Communication Facilities will be utilised (including any Virtual Meeting) must disclose the Communication Facilities that will be used, including the procedures to be followed by any Shareholder or other participant of the meeting who wishes to utilise such Communication Facilities for the purposes of attending and participating in such meeting, including attending and casting any vote thereat. |
| 69. | The Chairman, if any, shall preside as chairman at every general meeting of the Company. If there is no such Chairman, or if at any general meeting he is not Present within fifteen minutes after the time appointed for holding the meeting or is unwilling to act as chairman of the meeting, any Director or Person nominated by the Directors shall preside as chairman of that meeting, failing which the Shareholders Present shall choose any Person Present to be chairman of that meeting. |
| 70. | The chairman of any general meeting shall be entitled to attend and participate at any such general meeting by means of Communication Facilities, and to act as the chairman of such general meeting, in which event the following provisions shall apply: |
| (a) | The chairman of the meeting shall be deemed to be Present at the meeting; and |
| (b) | If the Communication Facilities are interrupted or fail for any reason to enable the chairman of the meeting to hear and be heard by all other Persons participating in the meeting, then the other Directors Present at the meeting shall choose another Director Present to act as chairman of the meeting for the remainder of the meeting; provided that if no other Director is Present at the meeting, or if all the Directors Present decline to take the chair, then the meeting shall be automatically adjourned to the same day in the next week and at such time and place as shall be decided by the Board of Directors. |
| B-15 |
| 71. | The chairman of any general meeting at which a quorum is Present may with the consent of the meeting (and shall if so directed by the meeting) adjourn the meeting from time to time and from place to place, but no business shall be transacted at any adjourned meeting other than the business left unfinished at the meeting from which the adjournment took place. When a meeting, or adjourned meeting, is adjourned for fourteen calendar days or more, notice of the adjourned meeting shall be given as in the case of an original meeting. Save as aforesaid it shall not be necessary to give any notice of an adjournment or of the business to be transacted at an adjourned meeting. |
| 72. | The Directors may cancel or postpone any duly convened general meeting at any time prior to such meeting, except for general meetings requisitioned by the Shareholders in accordance with these Articles, for any reason or for no reason, upon notice in writing to Shareholders. A postponement may be for a stated period of any length or indefinitely as the Directors may determine. |
| 73. | At any general meeting a resolution put to the vote of the meeting shall be decided by a poll. |
| 74. | A poll shall be taken in such manner as the chairman of the meeting directs, and the result of the poll shall be deemed to be the resolution of the meeting. |
| 75. | All questions submitted to a meeting shall be decided by an Ordinary Resolution except where a greater majority is required by these Articles or by the Companies Act. In the case of an equality of votes, the chairman of the meeting shall be entitled to a second or casting vote. |
| 76. | A poll shall be taken forthwith or at such time as the chairman of the meeting directs. |
VOTES OF SHAREHOLDERS
| 77. | Subject to any rights and restrictions for the time being attached to any Share, on a poll every Shareholder Present shall have one (1) vote for each Class A Ordinary Share and ten (10) votes for each Class B Ordinary Share of which such Shareholder is the holder. |
| 78. | In the case of joint holders the vote of the senior who tenders a vote whether in person or by proxy (or, if a corporation or other non-natural person, by its duly authorised representative or proxy) shall be accepted to the exclusion of the votes of the other joint holders and for this purpose seniority shall be determined by the order in which the names stand in the Register. |
| 79. | Shares carrying the right to vote that are held by a Shareholder of unsound mind, or in respect of whom an order has been made by any court having jurisdiction in lunacy, may be voted, by his committee, or other Person in the nature of a committee appointed by that court, and any such committee or other Person may vote in respect of such Shares by proxy. |
| 80. | No Shareholder shall be entitled to vote at any general meeting of the Company unless all calls, if any, or other sums presently payable by him in respect of Shares carrying the right to vote held by him have been paid. |
| 81. | On a poll votes may be given either personally or by proxy. |
| 82. | Each Shareholder, other than a recognised clearing house (or its nominee(s)) or depositary (or its nominee(s)), may only appoint one proxy on a poll. The instrument appointing a proxy shall be in writing under the hand of the appointor or of his attorney duly authorised in writing or, if the appointor is a corporation, either under Seal or under the hand of an officer or attorney duly authorised. A proxy need not be a Shareholder. |
| 83. | An instrument appointing a proxy may be in any usual or common form or such other form as the Directors may approve. |
| B-16 |
| 84. | The instrument appointing a proxy shall be deposited at the Registered Office or at such other place as is specified for that purpose in the notice convening the meeting, or in any instrument of proxy sent out by the Company not less than 48 hours before the time for holding the meeting or adjourned meeting at which the person named in the instrument proposes to vote; provided that the Directors may in the notice convening the meeting, or in an instrument of proxy sent out by the Company, direct that the instrument appointing a proxy may be deposited at such other time (no later than the time for holding the meeting or adjourned meeting) at the Registered Office or at such other place as is specified for that purpose in the notice convening the meeting, or in any instrument of proxy sent out by the Company. The chairman of the meeting may in any event at his discretion direct that an instrument of proxy shall be deemed to have been duly deposited. An instrument of proxy that is not deposited in the manner permitted shall be invalid. |
| 85. | A resolution in writing signed by all the Shareholders for the time being entitled to receive notice of and to attend and vote at general meetings of the Company (or being corporations by their duly authorised representatives) shall be as valid and effective as if the same had been passed at a general meeting of the Company duly convened and held. |
CORPORATIONS ACTING BY REPRESENTATIVES AT MEETINGS
| 86. | Any corporation which is a Shareholder or a Director may by resolution of its directors or other governing body authorise such Person as it thinks fit to act as its representative at any meeting of the Company or of any meeting of holders of a Class or of the Directors or of a committee of Directors, and the Person so authorised shall be entitled to exercise the same powers on behalf of the corporation which he represents as that corporation could exercise if it were an individual Shareholder or Director. |
DEPOSITARY AND CLEARING HOUSES
| 87. | If a recognised clearing house (or its nominee(s)) or depositary (or its nominee(s)) is a Member of the Company it may, by resolution of its directors or other governing body or by power of attorney, authorise such Person(s) as it thinks fit to act as its representative(s) at any general meeting of the Company or of any Class of Shareholders provided that, if more than one Person is so authorised, the authorisation shall specify the number and Class of Shares in respect of which each such Person is so authorised. A Person so authorised pursuant to this Article shall be entitled to exercise the same powers on behalf of the recognised clearing house (or its nominee(s)) or depositary (or its nominee(s)) which he represents as that recognised clearing house (or its nominee(s)) or depositary (or its nominee(s)) could exercise if it were an individual Member holding the number and Class of Shares specified in such authorisation. |
DIRECTORS
| 88. |
| (a) | Unless otherwise determined by the Company in general meeting, the number of Directors shall not be less than two (2) Directors, the exact number of Directors to be determined from time to time by the Board of Directors. |
| (b) | The Board of Directors shall elect and appoint a Chairman by a majority of the Directors then in office. The period for which the Chairman will hold office will also be determined by a majority of all of the Directors then in office. The Chairman shall preside as chairman at every meeting of the Board of Directors. To the extent the Chairman is not present at a meeting of the Board of Directors within fifteen minutes after the time appointed for holding the same, the attending Directors may choose one of their number to be the chairman of the meeting. |
| (c) | The Company may by Ordinary Resolution appoint any person to be a Director. |
| (d) | The Board may, by the affirmative vote of a simple majority of the remaining Directors present and voting at a Board meeting, appoint any person as a Director, to fill a casual vacancy on the Board or as an addition to the Board. |
| B-17 |
| (e) | An appointment of a Director may be on terms that the Director shall automatically retire from office (unless he has sooner vacated office) at the next or a subsequent annual general meeting or upon any specified event or after any specified period in a written agreement between the Company and the Director, if any; but no such term shall be implied in the absence of express provision. Any Director whose term of office expires shall be eligible for re-election at a meeting of the Shareholders or re-appointment by the Board. |
| 89. | A Director may be removed from office by an Ordinary Resolution, notwithstanding anything in these Articles or in any agreement between the Company and such Director (but without prejudice to any claim for damages under such agreement). A vacancy on the Board created by the removal of a Director under the previous sentence may be filled by an Ordinary Resolution or by the affirmative vote of a simple majority of the remaining Directors present and voting at a Board meeting. The notice of any meeting at which a resolution to remove a Director shall be proposed or voted upon must contain a statement of the intention to remove that Director and such notice must be served on that Director not less than five (5) calendar days before the meeting. Such Director is entitled to attend the meeting and be heard on the motion for his removal. |
| 90. | The Board may, from time to time, and except as required by applicable law or Designated Stock Exchange Rules, adopt, institute, amend, modify or revoke the corporate governance policies or initiatives of the Company and determine on various corporate governance related matters of the Company as the Board shall determine by resolution of Directors from time to time. |
| 91. | A Director shall not be required to hold any Shares in the Company by way of qualification. A Director who is not a Member of the Company shall nevertheless be entitled to attend and speak at general meetings. |
| 92. | The remuneration of the Directors may be determined by the Directors or by Ordinary Resolution. |
| 93. | The Directors shall be entitled to be paid for their travelling, hotel and other expenses properly incurred by them in going to, attending and returning from meetings of the Directors, or any committee of the Directors, or general meetings of the Company, or otherwise in connection with the business of the Company, or to receive such fixed allowance in respect thereof as may be determined by the Directors from time to time, or a combination partly of one such method and partly the other. |
ALTERNATE DIRECTOR OR PROXY
| 94. | Any Director may in writing appoint another Person to be his alternate and, save to the extent provided otherwise in the form of appointment, such alternate shall have authority to sign written resolutions on behalf of the appointing Director, but shall not be required to sign such written resolutions where they have been signed by the appointing director, and to act in such Director’s place at any meeting of the Directors at which the appointing Director is unable to be present. Every such alternate shall be entitled to attend and vote at meetings of the Directors as a Director when the Director appointing him is not personally present and where he is a Director to have a separate vote on behalf of the Director he is representing in addition to his own vote. A Director may at any time in writing revoke the appointment of an alternate appointed by him. Such alternate shall be deemed for all purposes to be a Director and shall not be deemed to be the agent of the Director appointing him. The remuneration of such alternate shall be payable out of the remuneration of the Director appointing him and the proportion thereof shall be agreed between them. |
| 95. | Any Director may appoint any Person, whether or not a Director, to be the proxy of that Director to attend and vote on his behalf, in accordance with instructions given by that Director, or in the absence of such instructions at the discretion of the proxy, at a meeting or meetings of the Directors which that Director is unable to attend personally. The instrument appointing the proxy shall be in writing under the hand of the appointing Director and shall be in any usual or common form or such other form as the Directors may approve, and must be lodged with the chairman of the meeting of the Directors at which such proxy is to be used, or first used, prior to the commencement of the meeting. |
POWERS AND DUTIES OF DIRECTORS
| 96. | Subject to the Companies Act, these Articles and any resolutions passed in a general meeting, the business of the Company shall be managed by the Directors, who may pay all expenses incurred in setting up and registering the Company and may exercise all powers of the Company. No resolution passed by the Company in general meeting shall invalidate any prior act of the Directors that would have been valid if that resolution had not been passed. |
| B-18 |
| 97. | Subject to these Articles, the Directors may from time to time appoint any natural person or corporation, whether or not a Director to hold such office in the Company as the Directors may think necessary for the administration of the Company, including but not limited to, chief executive officer, one or more other executive officers, president, one or more vice presidents, treasurer, assistant treasurer, manager or controller, and for such term and at such remuneration (whether by way of salary or commission or participation in profits or partly in one way and partly in another), and with such powers and duties as the Directors may think fit. Any natural person or corporation so appointed by the Directors may be removed by the Directors. The Directors may also appoint one or more of their number to the office of managing director upon like terms, but any such appointment shall ipso facto terminate if any managing director ceases for any cause to be a Director, or if the Company by Ordinary Resolution resolves that his tenure of office be terminated. |
| 98. | The Directors may appoint any natural person or corporation to be a Secretary (and if need be an assistant Secretary or assistant Secretaries) who shall hold office for such term, at such remuneration and upon such conditions and with such powers as they think fit. Any Secretary or assistant Secretary so appointed by the Directors may be removed by the Directors or by the Company by Ordinary Resolution. |
| 99. | The Directors may delegate any of their powers to committees consisting of such member or members of their body as they think fit; any committee so formed shall in the exercise of the powers so delegated conform to any regulations that may be imposed on it by the Directors. |
| 100. | The Directors may from time to time and at any time by power of attorney (whether under Seal or under hand) or otherwise appoint any company, firm or Person or body of Persons, whether nominated directly or indirectly by the Directors, to be the attorney or attorneys or authorised signatory (any such Person being an “Attorney” or “Authorised Signatory”, respectively) of the Company for such purposes and with such powers, authorities and discretion (not exceeding those vested in or exercisable by the Directors under these Articles) and for such period and subject to such conditions as they may think fit, and any such power of attorney or other appointment may contain such provisions for the protection and convenience of Persons dealing with any such Attorney or Authorised Signatory as the Directors may think fit, and may also authorise any such Attorney or Authorised Signatory to delegate all or any of the powers, authorities and discretion vested in him. |
| 101. | The Directors may from time to time provide for the management of the affairs of the Company in such manner as they shall think fit and the provisions contained in the three next following Articles shall not limit the general powers conferred by this Article. |
| 102. | The Directors from time to time and at any time may establish any committees, local boards or agencies for managing any of the affairs of the Company and may appoint any natural person or corporation to be a member of such committees or local boards and may appoint any managers or agents of the Company and may fix the remuneration of any such natural person or corporation. |
| 103. | The Directors from time to time and at any time may delegate to any such committee, local board, manager or agent any of the powers, authorities and discretions for the time being vested in the Directors and may authorise the members for the time being of any such local board, or any of them to fill any vacancies therein and to act notwithstanding vacancies and any such appointment or delegation may be made on such terms and subject to such conditions as the Directors may think fit and the Directors may at any time remove any natural person or corporation so appointed and may annul or vary any such delegation, but no Person dealing in good faith and without notice of any such annulment or variation shall be affected thereby. |
| 104. | Any such delegates as aforesaid may be authorised by the Directors to sub-delegate all or any of the powers, authorities, and discretion for the time being vested in them. |
BORROWING POWERS OF DIRECTORS
| 105. | The Directors may from time to time at their discretion exercise all the powers of the Company to raise or borrow money and to mortgage or charge its undertaking, property and assets (present and future) and uncalled capital or any part thereof, to issue debentures, debenture stock, bonds and other securities, whether outright or as collateral security for any debt, liability or obligation of the Company or of any third party. |
| B-19 |
THE SEAL
| 106. | The Seal shall not be affixed to any instrument except by the authority of a resolution of the Directors provided always that such authority may be given prior to or after the affixing of the Seal and if given after may be in general form confirming a number of affixing of the Seal. The Seal shall be affixed in the presence of a Director or a Secretary (or an assistant Secretary) or in the presence of any one or more Persons as the Directors may appoint for the purpose and every Person as aforesaid shall sign every instrument to which the Seal is so affixed in their presence. |
| 107. | The Company may maintain a facsimile of the Seal in such countries or places as the Directors may appoint and such facsimile Seal shall not be affixed to any instrument except by the authority of a resolution of the Directors provided always that such authority may be given prior to or after the affixing of such facsimile Seal and if given after may be in general form confirming a number of affixing of such facsimile Seal. The facsimile Seal shall be affixed in the presence of such Person or Persons as the Directors shall for this purpose appoint and such Person or Persons as aforesaid shall sign every instrument to which the facsimile Seal is so affixed in their presence and such affixing of the facsimile Seal and signing as aforesaid shall have the same meaning and effect as if the Seal had been affixed in the presence of and the instrument signed by a Director or a Secretary (or an assistant Secretary) or in the presence of any one or more Persons as the Directors may appoint for the purpose. |
| 108. | Notwithstanding the foregoing, a Secretary or any assistant Secretary shall have the authority to affix the Seal, or the facsimile Seal, to any instrument for the purposes of attesting authenticity of the matter contained therein but which does not create any obligation binding on the Company. |
DISQUALIFICATION OF DIRECTORS
| 109. | The office of Director shall be vacated, if the Director: |
| (a) | becomes bankrupt or makes any arrangement or composition with his creditors; |
| (b) | dies or is found to be or becomes of unsound mind; |
| (c) | resigns his office by notice in writing to the Company; |
| (d) | without special leave of absence from the Board, is absent from meetings of the Board for three consecutive meetings and the Board resolves that his office be vacated; |
| (e) | is prohibited by law from being a director; or |
| (f) | is removed from office pursuant to any other provision of these Articles. |
PROCEEDINGS OF DIRECTORS
| 110. | The Directors may meet together (either within or outside the Cayman Islands) for the despatch of business, adjourn, and otherwise regulate their meetings and proceedings as they think fit. Questions arising at any meeting shall be decided by a majority of votes. At any meeting of the Directors, each Director present in person or represented by his proxy or alternate shall be entitled to one vote. In case of an equality of votes the chairman of the meeting shall have a second or casting vote. A Director may, and a Secretary or assistant Secretary on the requisition of a Director shall, at any time summon a meeting of the Directors. |
| 111. | A Director may participate in any meeting of the Directors, or of any committee appointed by the Directors of which such Director is a member, by means of telephone or similar communication equipment by way of which all Persons participating in such meeting can communicate with each other and such participation shall be deemed to constitute presence in person at the meeting. |
| 112. | The quorum necessary for the transaction of the business of the Board may be fixed by the Directors, and unless so fixed the presence of two (2) Directors then in office shall constitute a quorum. A Director represented by proxy or by an alternate Director at any meeting shall be deemed to be present for the purposes of determining whether or not a quorum is present. |
| B-20 |
| 113. | A Director who is in any way, whether directly or indirectly, interested in a contract or transaction or proposed contract or transaction with the Company shall declare the nature of his interest at a meeting of the Directors. A general notice given to the Directors by any Director to the effect that he is a member of any specified company or firm and is to be regarded as interested in any contract or transaction which may thereafter be made with that company or firm shall be deemed a sufficient declaration of interest in regard to any contract so made or transaction so consummated. Subject to the Designated Stock Exchange Rules and disqualification by the chairman of the relevant Board meeting, a Director may vote in respect of any contract or transaction or proposed contract or transaction notwithstanding that he may be interested therein and if he does so his vote shall be counted and he may be counted in the quorum at any meeting of the Directors at which any such contract or transaction or proposed contract or transaction shall come before the meeting for consideration. |
| 114. | A Director may hold any other office or place of profit under the Company (other than the office of auditor) in conjunction with his office of Director for such period and on such terms (as to remuneration and otherwise) as the Directors may determine and no Director or intending Director shall be disqualified by his office from contracting with the Company either with regard to his tenure of any such other office or place of profit or as vendor, purchaser or otherwise, nor shall any such contract or arrangement entered into by or on behalf of the Company in which any Director is in any way interested be liable to be avoided, nor shall any Director so contracting or being so interested be liable to account to the Company for any profit realised by any such contract or arrangement by reason of such Director holding that office or of the fiduciary relation thereby established. A Director, notwithstanding his interest, may be counted in the quorum present at any meeting of the Directors whereat he or any other Director is appointed to hold any such office or place of profit under the Company or whereat the terms of any such appointment are arranged and he may vote on any such appointment or arrangement. |
| 115. | Any Director may act by himself or through his firm in a professional capacity for the Company, and he or his firm shall be entitled to remuneration for professional services as if he were not a Director; provided that nothing herein contained shall authorise a Director or his firm to act as auditor to the Company. |
| 116. | The Directors shall cause minutes to be made for the purpose of recording: |
| (a) | all appointments of officers made by the Directors; |
| (b) | the names of the Directors present at each meeting of the Directors and of any committee of the Directors; and |
| (c) | all resolutions and proceedings at all meetings of the Company, and of the Directors and of committees of Directors. |
| 117. | When the chairman of a meeting of the Directors signs the minutes of such meeting the same shall be deemed to have been duly held notwithstanding that all the Directors have not actually come together or that there may have been a technical defect in the proceedings. |
| 118. | A resolution in writing signed by all the Directors or all the members of a committee of Directors entitled to receive notice of a meeting of Directors or committee of Directors, as the case may be (an alternate Director, subject as provided otherwise in the terms of appointment of the alternate Director, being entitled to sign such a resolution on behalf of his appointer), shall be as valid and effectual as if it had been passed at a duly called and constituted meeting of Directors or committee of Directors, as the case may be. When signed a resolution may consist of several documents each signed by one or more of the Directors or his duly appointed alternate. |
| 119. | The continuing Directors may act notwithstanding any vacancy in their body but if and for so long as their number is reduced below the number fixed by or pursuant to these Articles as the necessary quorum of Directors, the continuing Directors may act for the purpose of increasing the number, or of summoning a general meeting of the Company, but for no other purpose. |
| 120. | Subject to any regulations imposed on it by the Directors, a committee appointed by the Directors may elect a chairman of its meetings. If no such chairman is elected, or if at any meeting the chairman is not present within fifteen minutes after the time appointed for holding the meeting, the committee members present may choose one of their number to be chairman of the meeting. |
| B-21 |
| 121. | A committee appointed by the Directors may meet and adjourn as it thinks proper. Subject to any regulations imposed on it by the Directors, questions arising at any meeting shall be determined by a majority of votes of the committee members present and in case of an equality of votes the chairman shall have a second or casting vote. |
| 122. | All acts done by any meeting of the Directors or of a committee of Directors, or by any Person acting as a Director, shall notwithstanding that it be afterwards discovered that there was some defect in the appointment of any such Director or Person acting as aforesaid, or that they or any of them were disqualified, be as valid as if every such Person had been duly appointed and was qualified to be a Director. |
PRESUMPTION OF ASSENT
| 123. | A Director who is present at a meeting of the Board of Directors at which an action on any Company matter is taken shall be presumed to have assented to the action taken unless his dissent shall be entered in the minutes of the meeting or unless he shall file his written dissent from such action with the person acting as the chairman or secretary of the meeting before the adjournment thereof or shall forward such dissent by registered post to such person immediately after the adjournment of the meeting. Such right to dissent shall not apply to a Director who voted in favour of such action. |
DIVIDENDS
| 124. | Subject to any rights and restrictions for the time being attached to any Shares, the Directors may from time to time declare dividends (including interim dividends) and other distributions on Shares in issue and authorise payment of the same out of the funds of the Company lawfully available therefor. |
| 125. | Subject to any rights and restrictions for the time being attached to any Shares, the Company by Ordinary Resolution may declare dividends, but no dividend shall exceed the amount recommended by the Directors. |
| 126. | The Directors may, before recommending or declaring any dividend, set aside out of the funds legally available for distribution such sums as they think proper as a reserve or reserves which shall, in the absolute discretion of the Directors, be applicable for meeting contingencies or for equalising dividends or for any other purpose to which those funds may be properly applied, and pending such application may in the absolute discretion of the Directors, either be employed in the business of the Company or be invested in such investments (other than Shares of the Company) as the Directors may from time to time think fit. |
| 127. | Any dividend payable in cash to the holder of Shares may be paid in any manner determined by the Directors. If paid by cheque it will be sent by mail addressed to the holder at his address in the Register, or addressed to such person and at such addresses as the holder may direct. Every such cheque or warrant shall, unless the holder or joint holders otherwise direct, be made payable to the order of the holder or, in the case of joint holders, to the order of the holder whose name stands first on the Register in respect of such Shares, and shall be sent at his or their risk and payment of the cheque or warrant by the bank on which it is drawn shall constitute a good discharge to the Company. |
| 128. | The Directors may determine that a dividend shall be paid wholly or partly by the distribution of specific assets (which may consist of the shares or securities of any other company) and may settle all questions concerning such distribution. Without limiting the generality of the foregoing, the Directors may fix the value of such specific assets, may determine that cash payment shall be made to some Shareholders in lieu of specific assets and may vest any such specific assets in trustees on such terms as the Directors think fit. |
| 129. | Subject to any rights and restrictions for the time being attached to any Shares, all dividends shall be declared and paid according to the amounts paid up on the Shares, but if and for so long as nothing is paid up on any of the Shares dividends may be declared and paid according to the par value of the Shares. No amount paid on a Share in advance of calls shall, while carrying interest, be treated for the purposes of this Article as paid on the Share. |
| 130. | If several Persons are registered as joint holders of any Share, any of them may give effective receipts for any dividend or other moneys payable on or in respect of the Share. |
| B-22 |
| 131. | No dividend shall bear interest against the Company. |
| 132. | Any dividend unclaimed after a period of six calendar years from the date of declaration of such dividend may be forfeited by the Board of Directors and, if so forfeited, shall revert to the Company. |
ACCOUNTS, AUDIT AND ANNUAL RETURN AND DECLARATION
| 133. | The books of account relating to the Company’s affairs shall be kept in such manner as may be determined from time to time by the Directors. |
| 134. | The books of account shall be kept at the Registered Office, or at such other place or places as the Directors think fit, and shall always be open to the inspection of the Directors. |
| 135. | The Directors may from time to time determine whether and to what extent and at what times and places and under what conditions or regulations the accounts and books of the Company or any of them shall be open to the inspection of Shareholders not being Directors, and no Shareholder (not being a Director) shall have any right to inspect any account or book or document of the Company except as conferred by law or authorised by the Directors or by Ordinary Resolution. |
| 136. | The accounts relating to the Company’s affairs shall be audited in such manner and with such financial year end as may be determined from time to time by the Directors or failing any determination as aforesaid shall not be audited. |
| 137. | The Directors may appoint an auditor of the Company who shall hold office until removed from office by a resolution of the Directors and may fix his or their remuneration. |
| 138. | Every auditor of the Company shall have a right of access at all times to the books and accounts and vouchers of the Company and shall be entitled to require from the Directors and officers of the Company such information and explanation as may be necessary for the performance of the duties of the auditors. |
| 139. | The auditors shall, if so required by the Directors, make a report on the accounts of the Company during their tenure of office at the next annual general meeting following their appointment, and at any time during their term of office, upon request of the Directors or any general meeting of the Members. |
| 140. | The Directors in each calendar year shall prepare, or cause to be prepared, an annual return and declaration setting forth the particulars required by the Companies Act and deliver a copy thereof to the Registrar of Companies in the Cayman Islands. |
CAPITALISATION OF RESERVES
| 141. | Subject to the Companies Act, the Directors may: |
| (a) | resolve to capitalise an amount standing to the credit of reserves (including a Share Premium Account, capital redemption reserve and profit and loss account), which is available for distribution; |
| (b) | appropriate the sum resolved to be capitalised to the Shareholders in proportion to the nominal amount of Shares (whether or not fully paid) held by them respectively and apply that sum on their behalf in or towards: |
| (i) | paying up the amounts (if any) for the time being unpaid on Shares held by them respectively, or |
| (ii) | paying up in full unissued Shares or debentures of a nominal amount equal to that sum, |
and allot the Shares or debentures, credited as fully paid, to the Shareholders (or as they may direct) in those proportions, or partly in one way and partly in the other, but the Share Premium Account, the capital redemption reserve and profits which are not available for distribution may, for the purposes of this Article, only be applied in paying up unissued Shares to be allotted to Shareholders credited as fully paid;
| B-23 |
| (c) | make any arrangements they think fit to resolve a difficulty arising in the distribution of a capitalised reserve and in particular, without limitation, where Shares or debentures become distributable in fractions the Directors may deal with the fractions as they think fit; |
| (d) | authorise a Person to enter (on behalf of all the Shareholders concerned) into an agreement with the Company providing for either: |
| (i) | the allotment to the Shareholders respectively, credited as fully paid, of Shares or debentures to which they may be entitled on the capitalisation, or |
| (ii) | the payment by the Company on behalf of the Shareholders (by the application of their respective proportions of the reserves resolved to be capitalised) of the amounts or part of the amounts remaining unpaid on their existing Shares, |
and any such agreement made under this authority being effective and binding on all those Shareholders; and
| (e) | generally do all acts and things required to give effect to the resolution. |
| 142. | Notwithstanding any provisions in these Articles and subject to the Companies Act, the Directors may resolve to capitalise an amount standing to the credit of reserves (including the share premium account, capital redemption reserve and profit and loss account) or otherwise available for distribution by applying such sum in paying up in full unissued Shares to be allotted and issued to: |
| (a) | employees (including Directors) or service providers of the Company or its Affiliates upon exercise or vesting of any options or awards granted under any share incentive scheme or employee benefit scheme or other arrangement which relates to such persons that has been adopted or approved by the Directors or the Members; or |
| (b) | any trustee of any trust or administrator of any share incentive scheme or employee benefit scheme to whom shares are to be allotted and issued by the Company in connection with the operation of any share incentive scheme or employee benefit scheme or other arrangement which relates to such persons that has been adopted or approved by the Directors or Members. |
SHARE PREMIUM ACCOUNT
| 143. | The Directors shall in accordance with the Companies Act establish a Share Premium Account and shall carry to the credit of such account from time to time a sum equal to the amount or value of the premium paid on the issue of any Share. |
| 144. | There shall be debited to any Share Premium Account on the redemption or purchase of a Share the difference between the nominal value of such Share and the redemption or purchase price provided always that at the discretion of the Directors such sum may be paid out of the profits of the Company or, if permitted by the Companies Act, out of capital. |
NOTICES
| 145. | Except as otherwise provided in these Articles, any notice or document may be served by the Company or by the Person entitled to give notice to any Shareholder either personally, or by posting it by airmail or a recognised courier service in a prepaid letter addressed to such Shareholder at his address as appearing in the Register, or by electronic mail to any electronic mail address such Shareholder may have specified in writing for the purpose of such service of notices, or by facsimile to any facsimile number such Shareholder may have specified in writing for the purpose of such service of notices, or by placing it on the Company’s Website should the Directors deem it appropriate. In the case of joint holders of a Share, all notices shall be given to that one of the joint holders whose name stands first in the Register in respect of the joint holding, and notice so given shall be sufficient notice to all the joint holders. |
| 146. | Notices sent from one country to another shall be sent or forwarded by prepaid airmail or a recognised courier service. |
| B-24 |
| 147. | Any Shareholder Present at any meeting of the Company shall for all purposes be deemed to have received due notice of such meeting and, where requisite, of the purposes for which such meeting was convened. |
| 148. | Any notice or other document, if served by: |
| (a) | post, shall be deemed to have been served five calendar days after the time when the letter containing the same is posted; |
| (b) | facsimile, shall be deemed to have been served upon production by the transmitting facsimile machine of a report confirming transmission of the facsimile in full to the facsimile number of the recipient; |
| (c) | recognised courier service, shall be deemed to have been served 48 hours after the time when the letter containing the same is delivered to the courier service; or |
| (d) | electronic means, shall be deemed to have been served immediately (i) upon the time of the transmission to the electronic mail address supplied by the Shareholder to the Company or (ii) upon the time of its placement on the Company’s Website. |
In proving service by post or courier service it shall be sufficient to prove that the letter containing the notice or documents was properly addressed and duly posted or delivered to the courier service.
| 149. | Any notice or document delivered or sent by post to or left at the registered address of any Shareholder in accordance with the terms of these Articles shall notwithstanding that such Shareholder be then dead or bankrupt, and whether or not the Company has notice of his death or bankruptcy, be deemed to have been duly served in respect of any Share registered in the name of such Shareholder as sole or joint holder, unless his name shall at the time of the service of the notice or document have been removed from the Register as the holder of the Share, and such service shall for all purposes be deemed a sufficient service of such notice or document on all Persons interested (whether jointly with or as claiming through or under him) in the Share. |
| 150. | Notice of every general meeting of the Company shall be given to: |
| (a) | all Shareholders holding Shares with the right to receive notice and who have supplied to the Company an address for the giving of notices to them; and |
| (b) | every Person entitled to a Share in consequence of the death or bankruptcy of a Shareholder, who but for his death or bankruptcy would be entitled to receive notice of the meeting. |
No other Person shall be entitled to receive notices of general meetings.
INFORMATION
| 151. | Subject to the relevant laws, rules and regulations applicable to the Company, no Member shall be entitled to require discovery of any information in respect of any detail of the Company’s trading or any information which is or may be in the nature of a trade secret or secret process which may relate to the conduct of the business of the Company and which in the opinion of the Board would not be in the interests of the Members of the Company to communicate to the public. |
| 152. | Subject to due compliance with the relevant laws, rules and regulations applicable to the Company, the Board shall be entitled to release or disclose any information in its possession, custody or control regarding the Company or its affairs to any of its Members including, without limitation, information contained in the Register and transfer books of the Company. |
| B-25 |
INDEMNITY
| 153. | Every Director (including for the purposes of this Article any alternate Director appointed pursuant to the provisions of these Articles), Secretary, assistant Secretary, or other officer for the time being and from time to time of the Company (but not including the Company’s auditors) and the personal representatives of the same (each an “Indemnified Person”) shall be indemnified and secured harmless against all actions, proceedings, costs, charges, expenses, losses, damages or liabilities incurred or sustained by such Indemnified Person, other than by reason of such Indemnified Person’s own dishonesty, willful default or fraud, in or about the conduct of the Company’s business or affairs (including as a result of any mistake of judgment) or in the execution or discharge of his duties, powers, authorities or discretions, including without prejudice to the generality of the foregoing, any costs, expenses, losses or liabilities incurred by such Indemnified Person in defending (whether successfully or otherwise) any civil proceedings concerning the Company or its affairs in any court whether in the Cayman Islands or elsewhere. To the extent permissible under applicable laws, the Members waive any claim or right of action that they may have, both individually and on the Company’s behalf, against any Director in relation to any action or failure to take action by such Director in the performance of his or her duties with or for the Company, except in respect of any dishonesty, willful default or fraud of such Director. |
| 154. | No Indemnified Person shall be liable: |
| (a) | for the acts, receipts, neglects, defaults or omissions of any other Director or officer or agent of the Company; or |
| (b) | for any loss on account of defect of title to any property of the Company; or |
| (c) | on account of the insufficiency of any security in or upon which any money of the Company shall be invested; or |
| (d) | for any loss incurred through any bank, broker or other similar Person; or |
| (e) | for any loss occasioned by any negligence, default, breach of duty, breach of trust, error of judgement or oversight on such Indemnified Person’s part; or |
| (f) | for any loss, damage or misfortune whatsoever which may happen in or arise from the execution or discharge of the duties, powers, authorities, or discretions of such Indemnified Person’s office or in relation thereto; |
unless the same shall happen through such Indemnified Person’s own dishonesty, willful default or fraud.
FINANCIAL YEAR
| 155. | Unless the Directors otherwise prescribe, the financial year of the Company shall end on 31 December in each calendar year and shall begin on 1 January in each calendar year. |
NON-RECOGNITION OF TRUSTS
| 156. | No Person shall be recognised by the Company as holding any Share upon any trust and the Company shall not, unless required by law, be bound by or be compelled in any way to recognise (even when having notice thereof) any equitable, contingent, future or partial interest in any Share or (except only as otherwise provided by these Articles or as the Companies Act requires) any other right in respect of any Share except an absolute right to the entirety thereof in each Shareholder registered in the Register. |
WINDING UP
| 157. | If the Company shall be wound up the liquidator may, with the sanction of a Special Resolution of the Company and any other sanction required by the Companies Act, divide amongst the Members in species or in kind the whole or any part of the assets of the Company (whether they shall consist of property of the same kind or not) and may for that purpose value any assets and determine how the division shall be carried out as between the Members or different classes of Members. The liquidator may, with the like sanction, vest the whole or any part of such assets in trustees upon such trusts for the benefit of the Members as the liquidator, with the like sanction, shall think fit, but so that no Member shall be compelled to accept any asset upon which there is a liability. |
| B-26 |
| 158. | If the Company shall be wound up, and the assets available for distribution amongst the Members shall be insufficient to repay the whole of the share capital, such assets shall be distributed so that, as nearly as may be, the losses shall be borne by the Members in proportion to the par value of the Shares held by them. If in a winding up the assets available for distribution amongst the Members shall be more than sufficient to repay the whole of the share capital at the commencement of the winding up, the surplus shall be distributed amongst the Members in proportion to the par value of the Shares held by them at the commencement of the winding up subject to a deduction from those Shares in respect of which there are monies due, of all monies payable to the Company for unpaid calls or otherwise. This Article is without prejudice to the rights of the holders of Shares issued upon special terms and conditions. |
AMENDMENT OF ARTICLES OF ASSOCIATION
| 159. | Subject to the Companies Act, the Company may at any time and from time to time by Special Resolution alter or amend these Articles in whole or in part. |
CLOSING OF REGISTER OR FIXING RECORD DATE
| 160. | For the purpose of determining those Shareholders that are entitled to receive notice of, attend or vote at any meeting of Shareholders or any adjournment thereof, or those Shareholders that are entitled to receive payment of any dividend, or in order to make a determination as to who is a Shareholder for any other purpose, the Directors may provide that the Register shall be closed for transfers for a stated period which shall not exceed in any case thirty calendar days in any calendar year. |
| 161. | In lieu of or apart from closing the Register, the Directors may fix in advance a date as the record date for any such determination of those Shareholders that are entitled to receive notice of, attend or vote at a meeting of the Shareholders and for the purpose of determining those Shareholders that are entitled to receive payment of any dividend the Directors may, at or within ninety calendar days prior to the date of declaration of such dividend, fix a subsequent date as the record date for such determination. |
| 162. | If the Register is not so closed and no record date is fixed for the determination of those Shareholders entitled to receive notice of, attend or vote at a meeting of Shareholders or those Shareholders that are entitled to receive payment of a dividend, the date on which notice of the meeting is posted or the date on which the resolution of the Directors declaring such dividend is adopted, as the case may be, shall be the record date for such determination of Shareholders. When a determination of those Shareholders that are entitled to receive notice of, attend or vote at a meeting of Shareholders has been made as provided in this Article, such determination shall apply to any adjournment thereof. |
REGISTRATION BY WAY OF CONTINUATION
| 163. | The Company may by Special Resolution resolve to be registered by way of continuation in a jurisdiction outside the Cayman Islands or such other jurisdiction in which it is for the time being incorporated, registered or existing. In furtherance of a resolution adopted pursuant to this Article, the Directors may cause an application to be made to the Registrar of Companies to deregister the Company in the Cayman Islands or such other jurisdiction in which it is for the time being incorporated, registered or existing and may cause all such further steps as they consider appropriate to be taken to effect the transfer by way of continuation of the Company. |
DISCLOSURE
| 164. | The Directors, or any service providers (including the officers, the Secretary and the registered office provider of the Company) specifically authorised by the Directors, shall be entitled to disclose to any regulatory or judicial authority any information regarding the affairs of the Company including without limitation information contained in the Register and books of the Company. |
| B-27 |
LOCK-UP AGREEMENT
This LOCK-UP AGREEMENT (this “Agreement”) is dated as of [●], by and between the shareholder(s) set forth on the signature page to this Agreement (the “Holder”) and Xpand Boom Technology Inc., a Cayman Islands exempted corporation (the “Purchaser”). Capitalized terms used and not otherwise defined herein shall have the meanings given such terms in the Merger Agreement (as defined below).
BACKGROUND
A. The Purchaser has entered into a Merger Agreement, dated as of [●], (the “Merger Agreement”), with Rising Dragon Acquisition Corp., HZJL Cayman Limited, (the “Company”), and certain other persons and entities.
B. The Merger Agreement provides for, among other things, Merger Sub merging with and into the Company; the Purchaser acquiring 100% of the Company Shares and the shareholders of the Company (each a “Shareholder” and collectively the “Shareholders”) in exchange receiving the Closing Payment Shares in accordance with the terms set forth in the Merger Agreement; and.
C. The Holder is the record and/or beneficial owner of the Company Shares and is therefore entitled to receive the corresponding number of Closing Payment Shares pursuant to the Merger Agreement.
D. As a condition of, and as a material inducement for the Purchaser to enter into and consummate the transactions contemplated by the Merger Agreement, the Holder has agreed to execute and deliver this Agreement.
NOW, THEREFORE, for and in consideration of the mutual covenants and agreements set forth herein, and other good and valuable consideration, the receipt and sufficiency of which is hereby acknowledged, the parties, intending to be legally bound, agree as follows:
AGREEMENT
1. Lock-Up.
(a) During the Lock-up Period (as defined below), the Holder irrevocably agrees that it, he or she will not offer, sell, contract to sell, pledge or otherwise dispose of, directly or indirectly, any of the Lock-up Shares (as defined below) (including any securities convertible into, or exchangeable for, or representing the rights to receive, Lock-up Shares), enter into a transaction that would have the same effect, or enter into any swap, hedge or other arrangement that transfers, in whole or in part, any of the economic consequences of ownership of such Lock-up Shares, whether any of these transactions are to be settled by delivery of any such Lock-up Shares, in cash or otherwise, publicly disclose the intention to make any offer, sale, pledge or disposition, or to enter into any transaction, swap, hedge or other arrangement, or engage in any Short Sales (as defined below) with respect to any security of the Purchaser.
| C-1 |
(b) In furtherance of the foregoing, the Purchaser will (i) place an irrevocable stop order on all Purchaser Ordinary Shares which are Lock-up Shares, including those which may be covered by a registration statement, and (ii) notify the Purchaser’s transfer agent in writing of the stop order and the restrictions on such Lock-up Shares under this Agreement and direct the Purchaser’s transfer agent not to process any attempts by the Holder to resell or transfer any Lock-up Shares, except in compliance with this Agreement.
(c) For purposes hereof, “Short Sales” include, without limitation, all “short sales” as defined in Rule 200 promulgated under Regulation SHO under the Securities Exchange Act of 1934, as amended (the “Exchange Act”) and all types of direct and indirect stock pledges, forward sale contracts, options, puts, calls, swaps and similar arrangements (including on a total return basis), and sales and other transactions through non-US broker dealers or foreign regulated brokers.
(d) For purpose of this agreement, “Lock-up Period” means a period of six (6) months from the Closing Date under the Merger Agreement.
(e) The restrictions set forth herein shall not apply to: (1) in the case of a corporation, limited liability company, partnership, trust or other entity, transfers or distributions to the Holder’s current general or limited partners, managers or members, stockholders, beneficiaries, other equityholders or to direct or indirect affiliates (within the meaning of Rule 405 under the Securities Act of 1933, as amended); (2) transfers by bona fide gift to a charity or to member of the Holder’s immediate family (for purposes of this Agreement, “immediate family” shall mean with respect to any natural person, any of the following: such person’s spouse, the siblings of such person and his or her spouse, and the direct descendants and ascendants (including adopted and step children and parents) of such person and his or her spouses and siblings) or to a trust, the beneficiary of which is the Holder or a member of the Holder’s immediate family for estate planning purposes; (3) by virtue of the laws of descent and distribution upon death of the Holder; (4) pursuant to a qualified domestic relations order, provided that in each case (i) such transferee, distributee or devisee shall agree to be bound in writing by the terms of this Agreement prior to such transfer or disposition; (ii) such transfer or disposition shall not involve a disposition for value; (iii) any required public report or filing (including filings under the Exchange Act) shall disclose the nature of such transfer or disposition and that the Lock-Up Shares remain subject to the lock-up restrictions herein; and (iv) there shall be no voluntary public disclosure or other announcement of such transfer or disposition; (5) transactions relating to the Purchaser Ordinary Shares or other securities convertible into or exercisable or exchangeable for Purchaser Ordinary Shares acquired in open market transactions after the Closing; (6) the exercise of any options or warrants to purchase Purchaser Ordinary Shares (which exercises may be effected on a cashless basis to the extent the instruments representing such options or warrants permit exercises on a cashless basis); or (7) Transfers to Purchaser to satisfy tax withholding obligations pursuant to Purchaser’s equity incentive plans or arrangements;
| C-2 |
2. Representations and Warranties. Each of the parties hereto, by their respective execution and delivery of this Agreement, hereby represents and warrants to the others and to all third party beneficiaries of this Agreement that (a) such party has the full right, capacity and authority to enter into, deliver and perform its respective obligations under this Agreement, (b) this Agreement has been duly executed and delivered by such party and is the binding and enforceable obligation of such party, enforceable against such party in accordance with the terms of this Agreement, and (c) the execution, delivery and performance of such party’s obligations under this Agreement will not conflict with or breach the terms of any other agreement, contract, commitment or understanding to which such party is a party or to which the assets or securities of such party are bound. The Holder has independently evaluated the merits of its decision to enter into and deliver this Agreement, and such Holder confirms that it has not relied on the advice of the Purchaser, the Purchaser’s legal counsel, or any other person.
3. Beneficial Ownership. The Holder hereby represents and warrants that it does not beneficially own, directly or through its nominees (as determined in accordance with Section 13(d) of the Exchange Act, and the rules and regulations promulgated thereunder), any shares of capital stock of the Purchaser, or any economic interest in or derivative of such stock, other than those Purchaser Class A Ordinary Shares specified on the signature page hereto. For purposes of this Agreement, the Purchaser Class A Ordinary Shares beneficially owned by the Holder as specified on the signature hereto, together with any Purchaser Ordinary Shares acquired during the Lock-up Period, if any, are collectively referred to as the “Lock-up Shares.”
4. No Additional Fees/Payment. Other than the consideration specifically referenced herein, the parties hereto agree that no fee, payment or additional consideration in any form has been or will be paid to the Holder in connection with this Agreement.
5. Notices. Any notices required or permitted to be sent hereunder shall be delivered personally or by courier service to the following addresses, or such other address as any party hereto designates by written notice to the other party. Provided, however, a transmission per telefax or email shall be sufficient and shall be deemed to be properly served when the telefax or email is received if the signed original notice is received by the recipient within three (3) calendar days thereafter.
| (a) | If to the Purchaser: | |
| Xpand Boom Technology Inc. | ||
| c/o Rising Dragon Acquisition Corp. | ||
No. 604, Yixing Road | ||
| Wanbolin District, Taiyuan City | ||
| Shanxi Province, People’s Republic of China | ||
Attention: Lulu Xing | ||
Email: 100116156@qq.com | ||
| With a copy (which shall not constitute notice) to: | ||
| Loeb & Loeb LLP | ||
| 345 Park Avenue | ||
| New York, NY 10154 | ||
Attention: Vivien Bai, Esq. | ||
Email: vbai@loeb.com |
| C-3 |
(b) If to the Holder, to the address set forth on the Holder’s signature page hereto,
or to such other address as any party may have furnished to the others in writing in accordance herewith.
6. Enumeration and Headings. The enumeration and headings contained in this Agreement are for convenience of reference only and shall not control or affect the meaning or construction of any of the provisions of this Agreement.
7. Counterparts. This Agreement may be executed in facsimile and in any number of counterparts, each of which when so executed and delivered shall be deemed an original, but all of which shall together constitute one and the same agreement.
8. Successors and Assigns. This Agreement and the terms, covenants, provisions and conditions hereof shall be binding upon, and shall inure to the benefit of, the respective heirs, successors and assigns of the parties hereto. The Holder hereby acknowledges and agrees that this Agreement is entered into for the benefit of and is enforceable by the Purchaser and its successors and assigns.
9. Severability. If any provision of this Agreement is held to be invalid or unenforceable for any reason, such provision will be conformed to prevailing law rather than voided, if possible, in order to achieve the intent of the parties and, in any event, the remaining provisions of this Agreement shall remain in full force and effect and shall be binding upon the parties hereto.
10. Amendment. This Agreement may be amended or modified by written agreement executed by each of the parties hereto.
11. Further Assurances. Each party shall do and perform, or cause to be done and performed, all such further acts and things, and shall execute and deliver all such other agreements, certificates, instruments and documents, as any other party may reasonably request in order to carry out the intent and accomplish the purposes of this Agreement and the consummation of the transactions contemplated hereby.
12. No Strict Construction. The language used in this Agreement will be deemed to be the language chosen by the parties to express their mutual intent, and no rules of strict construction will be applied against any party.
13. Dispute Resolution. Article XII of the Merger Agreement regarding arbitration of disputes is incorporated by reference herein to apply with full force to any disputes arising under this Agreement.
14. Governing Law. The terms and provisions of this Agreement shall be construed in accordance with the laws of the State of New York.
15. Controlling Agreement. To the extent the terms of this Agreement (as amended, supplemented, restated or otherwise modified from time to time) directly conflicts with a provision in the Merger Agreement, the terms of this Agreement shall control.
[Remainder of page intentionally left blank; signature page follows]
| C-4 |
IN WITNESS WHEREOF, the parties hereto have caused this Lock-Up Agreement to be duly executed by their respective authorized signatories as of the date first indicated above.
| XPAND BOOM TECHNOLOGY INC. | ||
| By: | ||
| Name: | Lulu Xing | |
| Title: | Director | |
| C-5 |
IN WITNESS WHEREOF, the parties hereto have caused this Lock-Up Agreement to be duly executed by their respective authorized signatories as of the date first indicated above.
| HOLDER | ||
| [HOLDER NAME] | ||
| By: | ||
| Name: | ||
| Title: | ||
| Address: [_____] | ||
| NUMBER OF the initial Lock-up Shares: | ||
| [●] Purchaser Class [A/B] Ordinary Shares | ||
| C-6 |
AMENDED AND RESTATED
REGISTRATION RIGHTS AGREEMENT
THIS AMENDED AND RESTATED REGISTRATION RIGHTS AGREEMENT (this “Agreement”) effective as of the [ ] day of [ ], 2025, is made and entered into by and among Rising Dragon Acquisition Corp., a Cayman Islands exempted company (“Parent”), HZJL Cayman Limited, a Cayman Islands exempted company (“HZJL” or the “Company”), Purchaser (as defined below) and each of the undersigned parties that are Pre-IPO Investors (as defined below), and any person or entity who hereafter becomes a party to this Agreement pursuant to Section 6.2 of this Agreement (together with the Pre-IPO Investors, the “Existing Holders”), and the undersigned parties listed as New Holders on the signature pages hereto (each such party, together with any person or entity deemed a “New Holder” who hereafter becomes a party to this Agreement pursuant to Section 6.2 of this Agreement, a “New Holder” and collectively the “New Holders”). Existing Holders, collectively with New Holders, are referred to herein as “Holders.”
WHEREAS, each of Parent and certain investors (each, a “Pre-IPO Investor”) is a party to, and hereby consents to, this amendment and restatement of that certain Registration Rights Agreement, dated as of October 10, 2024 (the “Original Registration Rights Agreement”), pursuant to which Parent granted the Pre-IPO Investors certain registration rights with respect to certain securities of Parent, as set forth therein;
WHEREAS, Parent, HZJL, Xpand Boom Technology Inc., a Cayman Islands exempted company and wholly owned subsidiary of Parent (the “Purchaser”), and Xpand Boom Solutions Inc., a Cayman Islands exempted company and wholly owned subsidiary of Purchaser (“Merger Sub”), have entered into that certain Agreement and Plan of Merger (as may be amended, supplemented or otherwise modified from time to time, the “Merger Agreement”), pursuant to which (a) Parent will be merged with and into Purchaser (the “Redomestication Merger”), with Purchaser surviving the Redomestication Merger, and (b) Merger Sub will be merged with and into HZJL (the “Acquisition Merger”), with HZJL surviving the Acquisition Merger as a direct wholly owned subsidiary of Purchaser (collectively, the “Business Combination”). Following the Business Combination, Purchaser will be a publicly traded company listed on a stock exchange in the United States.
WHEREAS, the Pre-IPO Investors and Parent desire to enter into this Agreement in connection with the closing of the transactions contemplated by the Merger Agreement (the “Closing”) to amend and restate the Original Registration Rights Agreement to provide the Existing Holders and the New Holders with certain rights relating to the registration of the securities held by them as of the date hereof on the terms and conditions set forth in this Agreement;
| D-1 |
NOW, THEREFORE, in consideration of the mutual covenants and agreements set forth herein, and for other good and valuable consideration, the receipt and sufficiency of which are hereby acknowledged, the parties hereto agree as follows:
1. DEFINITIONS. The following capitalized terms used herein have the following meanings:
“Agreement” means this Agreement, as amended, restated, supplemented, or otherwise modified from time to time.
“Business Combination” is defined in the preamble to this Agreement.
“Business Day” means a day other than Saturday, Sunday or other day on which commercial banks in New York, New York are authorized or required by law to close.
“Class A Ordinary Shares” means the Class A ordinary shares, par value, $0.0001 per share, of the Purchaser.
“Class B Ordinary Shares” means the Class B ordinary shares, par value $0.0001 per share, of the Purchaser.
“Closing” is defined in the preamble to this Agreement.
“Commission” means the Securities and Exchange Commission, or any other Federal agency then administering the Securities Act or the Exchange Act.
“Demand Registration” is defined in Section 2.1.1.
“Demanding Holder” is defined in Section 2.1.1.
“Effective Date” means the date the parties consummate the Business Combination.
“Exchange Act” means the Securities Exchange Act of 1934, as amended, and the rules and regulations of the Commission promulgated thereunder, all as the same shall be in effect at the time.
“Form S-3 or Form F-3” is defined in Section 2.3.
“Founder Shares” means the 1,437,500 Parent Ordinary Shares purchased by Aurora Beacon LLC for an aggregate purchase price of $25,000 prior to Parent’s IPO.
“Holder Indemnified Party” is defined in Section 4.1.
“Indemnified Party” is defined in Section 4.3.
“Indemnifying Party” is defined in Section 4.3.
“Investor” is defined in the preamble to this Agreement.
“IPO” means Parent’s initial public offering.
“Lucid” means Lucid Capital Markets, LLC.
“Maximum Number of Shares” is defined in Section 2.1.4.
“Merger Agreement” is defined in the preamble to this Agreement.
| D-2 |
“Merger Sub” is defined in the preamble to this Agreement.
“Notices” is defined in Section 6.3.
“Ordinary Shares” means Class A Ordinary Shares and Class B Ordinary Shares of Purchaser.
“Original Registration Rights Agreement” is defined in the preamble to this Agreement.
“Parent Ordinary Shares” means the ordinary shares, par value $0.0001 per share, of the Parent.
“Person” means a company, corporation, association, partnership, limited liability company, organization, joint venture, trust or other legal entity, an individual, a government or political subdivision thereof or a governmental agency.
“Piggy-Back Registration” is defined in Section 2.2.1.
“Pre-IPO Investor” is defined in the preamble to this Agreement.
“Private Rights” means 254,375 rights included in the Private Units, with each right entitling the holder thereof to receive one-tenth of one ordinary share upon the consummation of an initial business combination.
“Private Shares” means 254,375 Parent Ordinary Shares included in the Private Units.
“Private Units” means 254,375 units, consisting of the Private Shares and the Private Rights, that the Investors (or their designees or affiliates) privately purchased under an exemption from registration under the Securities Act simultaneously with the consummation of the Parent’s initial public offering.
“Pro Rata” is defined in Section 2.1.4.
“Prospectus” shall mean the prospectus included in any Registration Statement, as supplemented by any and all prospectus supplements and as amended by any and all post-effective amendments and including all material incorporated by reference in such prospectus.
“Register,” “Registered” and “Registration” mean a registration effected by preparing and filing a registration statement or similar document in compliance with the requirements of the Securities Act, and the applicable rules and regulations promulgated thereunder, and such registration statement becoming effective.
| D-3 |
“Registrable Securities” means (i) the Founder Shares, (ii) the Private Shares, (iii) the Private Rights (and underlying securities), (iv) the Representative Shares, (v) any securities issuable upon conversion of loans from the Pre- IPO Investors (or their designees or affiliates) to Parent for either (A) the purpose of extending the duration of Parent in accordance with the terms of the Parent’s Amended and Restated Memorandum and Articles of Association (the “Extension Loan Securities”), if applicable, or (B) Parent’s use as working capital whether made before or subsequent to the date of the Original Registration Rights Agreement, if any (the “Working Capital Loan Securities”), (vi) Parent Ordinary Shares underlying any Extension Loan Securities or Working Capital Loan Securities, and (vii) any outstanding Ordinary Shares or any other equity security (including the Ordinary Shares issued or issuable upon the exercise or conversion of any other equity security) of Purchaser held by a Holder immediately following the Closing (including, for avoidance of doubt, all Ordinary Shares to be issued to the New Holders and the Existing Holders pursuant to the Merger Agreement). Registrable Securities include any warrants, shares of capital stock or other securities of Parent issued as a dividend or other distribution with respect to or in exchange for or in replacement of such Founder Shares, Private Rights, Extension Loan Securities, Working Capital Loan Securities, and underlying securities. As to any particular Registrable Securities, such securities shall cease to be Registrable Securities when: (a) a Registration Statement with respect to the sale of such securities shall have become effective under the Securities Act and such securities shall have been sold, transferred, disposed of or exchanged in accordance with such Registration Statement; (b) such securities shall have been otherwise transferred, new certificates for them not bearing a legend restricting further transfer shall have been delivered by Parent, and subsequent public distribution of them shall not require registration under the Securities Act; (c) such securities shall have ceased to be outstanding, or (d) the Registrable Securities are freely saleable under Rule 144 under the Securities Act without volume limitations.
“Registration Statement” means a registration statement filed by Purchaser with the Commission in compliance with the Securities Act and the rules and regulations promulgated thereunder for a public offering and sale of equity securities, or securities or other obligations exercisable or exchangeable for, or convertible into, equity securities (other than a registration statement on Form S-4, F-4 or Form S-8, or their successors, or any registration statement covering only securities proposed to be issued in exchange for securities or assets of another entity).
“Representative Shares” means an aggregate of 57,500 Parent Ordinary Shares that Lucid Capital Markets, LLC or its designees received in a transaction occurring simultaneously with the closing of Parent’s IPO.
“Securities Act” means the Securities Act of 1933, as amended, and the rules and regulations of the Commission promulgated thereunder, all as the same shall be in effect at the time.
“Underwriter” means, solely for the purposes of this Agreement, a securities dealer who purchases any Registrable Securities as principal in an underwritten offering and not as part of such dealer’s market-making activities.
“Underwritten Offering” means a Registration in which securities of Purchaser are sold to the Underwriter in a firm commitment underwriting for distribution to the public.
| D-4 |
2. REGISTRATION RIGHTS.
2.1 Demand Registration.
2.1.1 Request for Demand Registration. At any time and from time to time on or after (i) the date that Parent consummates a Business Combination with respect to the Registrable Securities, the holders of a majority-in-interest of the Registrable Securities, as the case may be, held by the Holders, officers or directors of Parent or their affiliates, or the transferees of the Holders, may make a written demand, for registration under the Securities Act of all or part of their Registrable Securities, as the case may be (a “Demand Registration”). Any demand for a Demand Registration shall specify the number of Registrable Securities proposed to be sold and the intended method(s) of distribution thereof. Purchaser will notify all holders of Registrable Securities of the demand, and each holder of Registrable Securities who wishes to include all or a portion of such holder’s Registrable Securities in the Demand Registration (each such holder including shares of Registrable Securities in such registration, a “Demanding Holder”) shall so notify the Purchaser within ten (10) days after the receipt by the holder of the notice from the Purchaser. Upon any such request, the Demanding Holders shall be entitled to have their Registrable Securities included in the Demand Registration, subject to Section 2.1.4 and the provisos set forth in Section 3.1.1. The Purchaser shall not be obligated to effect more than an aggregate of three (3) Demand Registrations under this Section 2.1.1 in respect of all Registrable Securities. Notwithstanding anything to the contrary, any holder of Registrable Securities that is affiliated with Lucid may only make a demand on one occasion and only during the five-year period beginning on October 10, 2024. Notwithstanding anything to the contrary, under FINRA Rule 5110(g)(8), Lucid and/or its designees may only make a demand registration on one occasion during the five-year period beginning on October 10, 2024 in accordance with FINRA Rule 5110(g)(8)(B) and (C).
2.1.2 Effective Registration. A registration will not count as a Demand Registration until (i) the Registration Statement filed with the Commission with respect to such Demand Registration has been declared effective, (ii) the Purchaser has complied with all of its obligations under this Agreement with respect thereto; provided, however, that if, after such Registration Statement has been declared effective, the offering of Registrable Securities pursuant to a Demand Registration is interfered with by any stop order or injunction of the Commission or any other governmental agency or court, the Registration Statement with respect to such Demand Registration will be deemed not to have been declared effective, unless and until, (i) such stop order or injunction is removed, rescinded or otherwise terminated, and (ii) a majority-in-interest of the Demanding Holders thereafter elect to continue the offering; provided, further, that the Purchaser shall not be obligated to file a second Registration Statement until a Registration Statement that has been filed is counted as a Demand Registration or is terminated.
2.1.3 Underwritten Offering pursuant to Demand Registration. If a majority-in-interest of the Demanding Holders so elect and such holders so advise the Purchaser as part of their written demand for a Demand Registration, the offering of such Registrable Securities pursuant to such Demand Registration shall be in the form of an underwritten offering. In such event, the right of any holder to include its Registrable Securities in such registration shall be conditioned upon such holder’s participation in such underwritten offering and the inclusion of such holder’s Registrable Securities in the underwriting to the extent provided herein. All Demanding Holders proposing to distribute their Registrable Securities through such underwriting shall enter into an underwriting agreement in customary form with the Underwriter or Underwriters selected for such underwriting by a majority-in-interest of the Demanding Holders.
| D-5 |
2.1.4 Reduction of Offering in Connection with Demand Registration. If the managing Underwriter(s) in an Underwritten Offering effected pursuant to a Demand Registration in good faith advises the Purchaser and the Demanding Holders in writing that the dollar amount or number of shares of Registrable Securities which the Demanding Holders desire to sell, taken together with all other Ordinary Shares or other securities which Purchaser desires to sell and Ordinary Shares, if any, as to which a registration has been requested pursuant to separate written contractual piggy-back registration rights held by other shareholders of the Purchaser who desire to sell, exceeds the maximum dollar amount or maximum number of shares that can be sold in such offering without adversely affecting the proposed offering price, the timing, the distribution method, or the probability of success of such offering (such maximum dollar amount or maximum number of shares, as applicable, the “Maximum Number of Shares”), then the Purchaser shall include in such registration: (i) first, the Registrable Securities as to which Demand Registration has been requested by the Demanding Holders (pro rata in accordance with the number of shares that each such Person has requested be included in such registration, regardless of the number of shares held by each such Person (such proportion is referred to herein as “Pro Rata”)) up to the maximum amount that can be sold without exceeding the Maximum Number of Shares; (ii) second, to the extent that the Maximum Number of Shares has not been reached under the foregoing clause (i), the Ordinary Shares or other securities that the Purchaser desires to sell that can be sold without exceeding the Maximum Number of Shares; (iii) third, to the extent that the Maximum Number of Shares has not been reached under the foregoing clauses (i) and (ii), the Ordinary Shares or other securities for the account of other persons that the Purchaser is obligated to register pursuant to then other written contractual arrangements with such persons and that can be sold without exceeding the Maximum Number of Shares.
2.1.5 Demand Registration Withdrawal.
(a) If a majority-in-interest of the Demanding Holders disapprove of the terms of any underwriting or are not entitled to include all of their Registrable Securities in any offering, such majority-in-interest of the Demanding Holders may elect to withdraw from such offering by giving written notice to the Purchaser and the Underwriter or Underwriters of their request to withdraw prior to the effectiveness of the Registration Statement filed with the Commission with respect to such Demand Registration. If the majority-in-interest of the Demanding Holders withdraws from a proposed offering relating to a Demand Registration, then such registration shall not count as a Demand Registration provided for in this Section 2.1. Notwithstanding the forgoing, a Holder may withdraw all or any portion of its Registrable Securities included in a Demand Registration from such Demand Registration at any time prior to the effectiveness of the applicable Registration Statement.
(b) Notwithstanding anything to the contrary in this Agreement, the Purchaser shall be responsible for the registration expenses described in Section 3.3 incurred in connection with a Registration pursuant to a Demand Registration or an Underwritten Offering prior to its withdrawal under this Section 2.1.5.
| D-6 |
2.2 Piggy-Back Registration.
2.2.1 Piggy-Back Rights. If at any time on or after the date Parent consummates a Business Combination the Purchaser proposes to file a Registration Statement under the Securities Act with respect to an offering of equity securities, or securities or other obligations exercisable or exchangeable for, or convertible into, equity securities, by the Purchaser for its own account or for the account of shareholders of the Purchaser (or by the Purchaser and by shareholders of the Purchaser including, without limitation, pursuant to Section 2.1), other than a Registration Statement (i) filed in connection with any employee stock option or other benefit plan, (ii) for an exchange offer or offering of securities solely to the Purchaser’s existing shareholders, (iii) for an offering of debt that is convertible into equity securities of the Purchaser or (iv) for a dividend reinvestment plan, then the Purchaser shall (x) give written notice of such proposed filing to the holders of Registrable Securities as soon as practicable but in no event less than ten (10) days before the anticipated filing date, which notice shall describe the amount and type of securities to be included in such offering, the intended method(s) of distribution, and the name of the proposed managing Underwriter or Underwriters, if any, of the offering, and (y) offer to the holders of Registrable Securities in such notice the opportunity to register the sale of such number of shares of Registrable Securities as such holders may request in writing within three (3) days following receipt of such notice (a “Piggy-Back Registration”). Subject to Section 2.2.2 hereof, the Purchaser shall cause such Registrable Securities to be included in such registration and shall use its reasonable best efforts to cause the managing Underwriter or Underwriters of a proposed underwritten offering to permit the Registrable Securities requested to be included in a Piggy-Back Registration on the same terms and conditions as any similar securities of the Purchaser and to permit the sale or other disposition of such Registrable Securities in accordance with the intended method(s) of distribution thereof. All holders of Registrable Securities proposing to distribute their Registrable Securities through a Piggy-Back Registration that involves an Underwriter or Underwriters shall enter into an underwriting agreement in customary form with the Underwriter or Underwriters selected for such Piggy-Back Registration. Notwithstanding anything to the contrary, under FINRA Rule 5110(g)(8), Lucid and/or its designees may participate in a “piggy-back” Registration Statement only during the seven-year period beginning on October 10, 2024 in accordance with FINRA Rule 5110(g)(8)(D).
2.2.2 Reduction of Underwritten Offering in Connection with Piggy-Back Registration. If the managing Underwriter or Underwriters for a Piggy-Back Registration that is to be an Underwritten Offering advises the Purchaser and the holders of Registrable Securities participating in the Underwritten Offering in writing that the dollar amount or number of Ordinary Shares which the Purchaser desires to sell in such Underwritten Offering, taken together with the Ordinary Shares, if any, as to which inclusion in such Underwritten Offering has been demanded pursuant to separate written contractual arrangements with persons other than the holders of Registrable Securities hereunder, the Registrable Securities as to which inclusion in such Underwritten Offering has been requested under Section 2.2.1 above, and the Ordinary Shares, if any, as to which inclusion in such Underwritten Offering has been requested pursuant to separate written contractual Piggy-Back Registration rights of other shareholders of the Purchaser, exceeds the Maximum Number of Shares, then the Purchaser shall include in any such registration:
(a) If the Underwritten Offering is undertaken for the Purchaser’s account: (A) first, the Ordinary Shares or other equity securities that the Purchaser desires to sell in such Underwritten Offering that can be sold without exceeding the Maximum Number of Shares; (B) second, to the extent that the Maximum Number of Shares has not been reached under the foregoing clause (A), the Ordinary Shares or other securities, if any, comprised of Registrable Securities, as to which registration has been requested pursuant to the applicable written contractual piggy-back registration rights of such security holders, Pro Rata, that can be sold without exceeding the Maximum Number of Shares; and (C) third, to the extent that the Maximum Number of Shares has not been reached under the foregoing clauses (A) and (B), the Ordinary Shares or other securities for the account of other persons that the Purchaser is obligated to register pursuant to written contractual piggy-back registration rights with such persons and that can be sold without exceeding the Maximum Number of Shares;
| D-7 |
(b) If the registration is a “demand” registration undertaken at the demand of persons other than either the holders of Registrable Securities, (A) first, the Ordinary Shares or other securities for the account of the demanding persons and the Ordinary Shares or other securities comprised of Registrable Securities, Pro Rata, as to which registration has been requested pursuant to the terms hereof, that can be sold without exceeding the Maximum Number of Shares; (B) second, to the extent that the Maximum Number of Shares has not been reached under the foregoing clause (A), the Ordinary Shares or other securities that the Purchaser desires to sell that can be sold without exceeding the Maximum Number of Shares; (C) third, to the extent that the Maximum Number of Shares has not been reached under the foregoing clauses (A) and (B), the Ordinary Shares or other securities for the account of other persons that the Purchaser is obligated to register pursuant to written contractual arrangements with such persons, that can be sold without exceeding the Maximum Number of Shares.
2.2.3 Piggy-Back Registration Withdrawal. Any holder of Registrable Securities may elect to withdraw such holder’s request for inclusion of Registrable Securities in any Piggy-Back Registration by giving written notice to the Purchaser of such request to withdraw prior to the effectiveness of the Registration Statement. The Purchaser (whether on its own determination or as the result of a withdrawal by persons making a demand pursuant to written contractual obligations) may withdraw a Registration Statement at any time prior to the effectiveness of such Registration Statement. Notwithstanding any such withdrawal, the Purchaser shall pay all expenses incurred by the holders of Registrable Securities in connection with such Piggy-Back Registration as provided in Section 3.3.
2.2.4 Unlimited Piggy-Back Registration Rights. For the avoidance of doubt, any registration effected pursuant to Section 2.2 hereof shall not be counted as a registration pursuant to a Demand Registration effected pursuant to Section 2.1 hereof. Notwithstanding anything to the contrary, any holder of Registrable Securities that is affiliated with Lucid may participate in a Piggy-Back Registration only during the seven-year period beginning on October 10, 2024.
2.3 Resale Shelf Registration Rights.
2.3.1 Registration Statement Covering Resale of Registrable Securities. The holders of a majority-in-interest of the Registrable Securities may at any time and from time to time, request in writing that the Purchaser register the resale of any or all of such Registrable Securities on Form S-3, Form F-3 or any similar short-form registration which may be available at such time (“Form S-3/Form F-3” or “Resale Shelf Registration Statement”); provided, however, that (i) the Purchaser shall not be obligated to effect such request through an underwritten offering and (ii) the Purchaser shall not be obligated to effect more than two such requests. Upon receipt of such written request, the Purchaser will promptly give written notice of the proposed registration to all other holders of Registrable Securities, and, as soon as practicable thereafter, effect the registration of all or such portion of such holder’s or holders’ Registrable Securities as are specified in such request, together with all or such portion of the Registrable Securities or other securities of the Purchaser, if any, of any other holder or holders joining in such request as are specified in a written request given within three (3) days after receipt of such written notice from the Purchaser; provided, however, that the Purchaser shall not be obligated to effect any such registration pursuant to this Section 2.3: (i) if Form S-3 or Form F-3 is not available for such offering; or (ii) if the holders of the Registrable Securities, together with the holders of any other securities of the Purchaser entitled to inclusion in such registration, propose to sell Registrable Securities and such other securities (if any) at any aggregate price to the public of less than $5,000,000. Registrations effected pursuant to this Section 2.3 shall not be counted as Demand Registrations effected pursuant to Section 2.1.
| D-8 |
2.3.2 Amendments and Supplements. Subject to the provisions of Section 2.3.1 above, the Purchaser shall promptly prepare and file with the Commission from time to time such amendments and supplements to the Resale Shelf Registration Statement and Prospectus used in connection therewith as may be necessary to keep the Resale Shelf Registration Statement effective and to comply with the provisions of the Securities Act with respect to the disposition of all the Registrable Securities. If any Resale Shelf Registration Statement filed pursuant to Section 2.3.1 is filed on Form S-3 or Form F-3 and thereafter the Purchaser becomes ineligible to use Form S-3 or Form F-3 for secondary sales, the Purchaser shall promptly notify the holders of such ineligibility and use its commercially reasonable efforts to file a shelf registration on an appropriate form as promptly as practicable to replace the shelf registration statement on Form S-3 and have such replacement Resale Shelf Registration Statement declared effective as promptly as practicable and to cause such replacement Resale Shelf Registration Statement to remain effective, and to be supplemented and amended to the extent necessary to ensure that such Resale Shelf Registration Statement is available or, if not available, that another Resale Shelf Registration Statement is available, for the resale of all the Registrable Securities held by the holders until all such Registrable Securities have ceased to be Registrable Securities; provided, however, that at any time the Purchaser once again becomes eligible to use Form S-3 or Form F-3, the Purchaser shall cause such replacement Resale Shelf Registration Statement to be amended, or shall file a new replacement Resale Shelf Registration Statement, such that the Resale Shelf Registration Statement is once again on Form S-3.
2.3.3 SEC Cutback. Notwithstanding the registration obligations set forth in this Section 2.3, in the event the Commission informs the Purchaser that all of the Registrable Securities cannot, as a result of the application of Rule 415, be registered for resale as a secondary offering on a single registration statement, the Purchaser agrees to promptly (i) inform each of the holders thereof and use its commercially reasonable efforts to file amendments to the Resale Shelf Registration Statement as required by the Commission and/or (ii) withdraw the Resale Shelf Registration Statement and file a new registration statement (a “New Registration Statement”) on Form S-3 or Form F-3, or if Form S-3 or Form F-3 is not then available to the Purchaser for such registration statement, on such other form available to register for resale the Registrable Securities as a secondary offering; provided, however, that prior to filing such amendment or New Registration Statement, the Purchaser shall use its commercially reasonable efforts to advocate with the Commission for the registration of all of the Registrable Securities in accordance with any publicly-available written or oral guidance, comments, requirements or requests of the Commission staff (the “SEC Guidance”). Notwithstanding any other provision of this Agreement, if any SEC Guidance sets forth a limitation on the number of Registrable Securities permitted to be registered on a particular Registration Statement as a secondary offering (and notwithstanding that the Purchaser used diligent efforts to advocate with the Commission for the registration of all or a greater number of Registrable Securities), unless otherwise directed in writing by a holder as to further limit its Registrable Securities to be included on the Registration Statement, the number of Registrable Securities to be registered on such Registration Statement will be reduced Pro Rata among all such selling shareholders whose securities are included in such Registration Statement, subject to a determination by the Commission that certain holders must be reduced first based on the number of Registrable Securities held by such holders. In the event the Purchaser amends the Resale Shelf Registration Statement or files a New Registration Statement, as the case may be, under clauses (i) or (ii) above, the Purchaser will use its commercially reasonable efforts to file with the Commission, as promptly as allowed by Commission or SEC Guidance provided to the Purchaser or to registrants of securities in general, one or more registration statements on Form S-3 or Form F-3 or such other form available to register for resale those Registrable Securities that were not registered for resale on the Resale Shelf Registration Statement, as amended, or the New Registration Statement.
| D-9 |
2.3.4 Underwritten Shelf Takedown. At any time and from time to time after a Resale Shelf Registration Statement has been declared effective by the Commission, holders of a majority-in-interest of the Registrable Securities may request to sell all or any portion of the Registrable Securities in an underwritten offering that is registered pursuant to the Resale Shelf Registration Statement (each, an “Underwritten Shelf Takedown”). All requests for Underwritten Shelf Takedowns shall be made by giving written notice to the Purchaser at least ten (10) days prior to the public announcement of such Underwritten Shelf Takedown, which shall specify the approximate number of Registrable Securities proposed to be sold in the Underwritten Shelf Takedown and the expected price range (net of underwriting discounts and commissions) of such Underwritten Shelf Takedown. The Purchaser shall include in any Underwritten Shelf Takedown the securities requested to be included by any holder (each a “Takedown Requesting Holder”) at least 48 hours prior to the public announcement of such Underwritten Shelf Takedown pursuant to written contractual piggyback registration rights of such holder (including those set forth herein). All such holders proposing to distribute their Registrable Securities through an Underwritten Shelf Takedown under this subsection 2.3.4 shall enter into an underwriting agreement in customary form with the Underwriter(s) selected for such Underwritten Offering by the majority-in-interest of the Takedown Requesting Holders initiating the Underwritten Shelf Takedown, provided such Underwriter or Underwriters shall be reasonably acceptable to the Purchaser.
2.3.5 Reduction of Underwritten Shelf Takedown. If the managing Underwriter(s) in an Underwritten Shelf Takedown, in good faith, advise the Purchaser and the Takedown Requesting Holders in writing that the dollar amount or number of Registrable Securities that the Takedown Requesting Holders desire to sell, taken together with all other Ordinary Shares or other equity securities that the Purchaser desires to sell, exceeds the Maximum Number of Shares, then the Purchaser shall include in such Underwritten Shelf Takedown, as follows: (i) first, the Registrable Securities of the Takedown Requesting Holders, on a Pro Rata basis, that can be sold without exceeding the Maximum Number of Shares; and (ii) second, to the extent that the Maximum Number of Shares has not been reached under the foregoing clause (i), the Ordinary Shares or other equity securities that the Purchaser desires to sell, which can be sold without exceeding the Maximum Number of Shares.
2.3.6 Registrations effected pursuant to this Section 2.3 shall not be counted as Demand Registrations effected pursuant to Section 2.1. Under no circumstances shall the Purchaser be obligated to effect more than an aggregate of three (3) Underwritten Shelf Takedowns in any 12-month period.
| D-10 |
3. REGISTRATION PROCEDURES.
3.1 Filings; Information. Whenever the Purchaser is required to effect the registration of any Registrable Securities pursuant to Section 2, the Purchaser shall use its commercially reasonable efforts to effect the registration and sale of such Registrable Securities in accordance with the intended method(s) of distribution thereof as expeditiously as practicable, and in connection with any such request:
3.1.1 Filing Registration Statement; Restriction on Registration Rights. The Purchaser shall use its reasonable best efforts to, as expeditiously as possible after receipt of a request for a Demand Registration pursuant to Section 2.1, prepare and file with the Commission a Registration Statement on any form for which the Purchaser then qualifies or which counsel for the Purchaser shall deem appropriate and which form shall be available for the sale of all Registrable Securities to be registered thereunder in accordance with the intended method(s) of distribution thereof, and shall use its reasonable best efforts to cause such Registration Statement to become effective and use its reasonable best efforts to keep it effective for the period required by Section 3.1.3; provided, however, that the Purchaser shall have the right to defer any Demand Registration for up to thirty (30) days, and any Piggy-Back Registration for such period as may be applicable to deferment of any Demand Registration to which such Piggy-Back Registration relates, in each case if the Purchaser shall furnish to the holders a certificate signed by Chief Executive Officer or Chairman of the Purchaser stating that, in the good faith judgment of the Board of Directors of the Purchaser, it would be materially detrimental to the Purchaser and its shareholders for such Registration Statement to be effected at such time; provided further, however, that the Purchaser shall not have the right to exercise the right set forth in the immediately preceding proviso more than once in any 365-day period in respect of a Demand Registration hereunder.
3.1.2 Copies. The Purchaser shall, prior to filing a Registration Statement or Prospectus, or any amendment or supplement thereto, furnish without charge to the holders of Registrable Securities included in such registration, and such holders’ legal counsel, copies of such Registration Statement as proposed to be filed, each amendment and supplement to such Registration Statement (in each case including all exhibits thereto and documents incorporated by reference therein), the Prospectus included in such Registration Statement, and such other documents as the holders of Registrable Securities included in such registration or legal counsel for any such holders may request in order to facilitate the disposition of the Registrable Securities owned by such holders.
| D-11 |
3.1.3 Amendments and Supplements. The Purchaser shall prepare and file with the Commission such amendments, including post-effective amendments, and supplements to such Registration Statement and the Prospectus used in connection therewith as may be necessary to keep such Registration Statement effective and in compliance with the provisions of the Securities Act until all Registrable Securities and other securities covered by such Registration Statement have been disposed of in accordance with the intended method(s) of distribution set forth in such Registration Statement or such securities have been withdrawn.
3.1.4 Notification. After the filing of a Registration Statement, the Purchaser shall promptly, and in no event more than two (2) Business Days after such filing, notify the holders of Registrable Securities included in such Registration Statement of such filing, and shall further notify such holders promptly and confirm such advice in writing in all events within two (2) Business Days of the occurrence of any of the following: (i) when such Registration Statement becomes effective; (ii) when any post-effective amendment to such Registration Statement becomes effective; (iii) the issuance or threatened issuance by the Commission of any stop order (and the Purchaser shall take all actions required to prevent the entry of such stop order or to remove it if entered); and (iv) any request by the Commission for any amendment or supplement to such Registration Statement or any Prospectus relating thereto or for additional information or of the occurrence of an event requiring the preparation of a supplement or amendment to such Prospectus so that, as thereafter delivered to the purchasers of the securities covered by such Registration Statement, such Prospectus will not contain an untrue statement of a material fact or omit to state any material fact required to be stated therein or necessary to make the statements therein not misleading, and promptly make available to the holders of Registrable Securities included in such Registration Statement any such supplement or amendment; except that before filing with the Commission a Registration Statement or prospectus or any amendment or supplement thereto, including documents incorporated by reference, the Purchaser shall furnish to the holders of Registrable Securities included in such Registration Statement and to the legal counsel for any such holders, copies of all such documents proposed to be filed sufficiently in advance of filing to provide such holders and legal counsel with a reasonable opportunity to review such documents and comment thereon, and the Purchaser shall not file any Registration Statement or prospectus or amendment or supplement thereto, including documents incorporated by reference, to which such holders or their legal counsel shall object.
3.1.5 State Securities Laws Compliance. The Purchaser shall use its reasonable best efforts to (i) register or qualify the Registrable Securities covered by the Registration Statement under such securities or “blue sky” laws of such jurisdictions in the United States as the holders of Registrable Securities included in such Registration Statement (in light of their intended plan of distribution) may request and (ii) take such action necessary to cause such Registrable Securities covered by the Registration Statement to be registered with or approved by such other governmental authorities as may be necessary by virtue of the business and operations of the Purchaser and do any and all other acts and things that may be necessary or advisable to enable the holders of Registrable Securities included in such Registration Statement to consummate the disposition of such Registrable Securities in such jurisdictions; provided, however, that the Purchaser shall not be required to qualify generally to do business in any jurisdiction where it would not otherwise be required to qualify but for this paragraph or subject itself to taxation in any such jurisdiction.
| D-12 |
3.1.6 Agreements for Disposition. The Purchaser shall enter into customary agreements (including, if applicable, an underwriting agreement in customary form) and take such other actions as are reasonably required in order to expedite or facilitate the disposition of such Registrable Securities. The representations, warranties and covenants of the Purchaser in any underwriting agreement which are made to or for the benefit of any Underwriters, to the extent applicable, shall also be made to and for the benefit of the holders of Registrable Securities included in such registration statement. No holder of Registrable Securities included in such registration statement shall be required to make any representations or warranties in the underwriting agreement except, if applicable, with respect to such holder’s organization, good standing, authority, title to Registrable Securities, lack of conflict of such sale with such holder’s material agreements and organizational documents, and with respect to written information relating to such holder that such holder has furnished in writing expressly for inclusion in such Registration Statement.
3.1.7 Cooperation. The principal executive officer of the Purchaser, the principal financial officer of the Purchaser, the principal accounting officer of the Purchaser and all other officers and members of the management of the Purchaser shall cooperate fully in any offering of Registrable Securities hereunder, which cooperation shall include, without limitation, the preparation of the Registration Statement with respect to such offering and all other offering materials and related documents, and participation in meetings with Underwriters, attorneys, accountants and potential investors.
3.1.8 Records. The Purchaser shall make available for inspection by the holders of Registrable Securities included in such Registration Statement, any Underwriter participating in any disposition pursuant to such registration statement and any attorney, accountant or other professional retained by any holder of Registrable Securities included in such Registration Statement or any Underwriter, all financial and other records, pertinent corporate documents and properties of the Purchaser, as shall be necessary to enable them to exercise their due diligence responsibility, and cause the Purchaser’s officers, directors and employees to supply all information requested by any of them in connection with such Registration Statement.
3.1.9 Opinions and Comfort Letters. Upon request, the Purchaser shall furnish to each holder of Registrable Securities included in any Registration Statement a signed counterpart, addressed to such holder, of (i) any opinion of counsel to the Purchaser delivered to any Underwriter and (ii) any comfort letter from the Purchaser’s independent public accountants delivered to any Underwriter. In the event no legal opinion is delivered to any Underwriter, the Purchaser shall furnish to each holder of Registrable Securities included in such Registration Statement, at any time that such holder elects to use a Prospectus, an opinion of counsel to the Purchaser to the effect that the Registration Statement containing such Prospectus has been declared effective and that no stop order is in effect.
3.1.10 Earnings Statement. The Purchaser shall comply with all applicable rules and regulations of the Commission and the Securities Act, and make available to its shareholders, as soon as practicable, an earnings statement covering a period of twelve (12) months, which earnings statement shall satisfy the provisions of Section 11(a) of the Securities Act and Rule 158 thereunder.
| D-13 |
3.1.11 Listing. The Purchaser shall use its reasonable best efforts to cause all Registrable Securities included in any registration to be listed on such exchanges or otherwise designated for trading in the same manner as similar securities issued by the Purchaser are then listed or designated or, if no such similar securities are then listed or designated, in a manner satisfactory to the holders of a majority of the Registrable Securities included in such registration.
3.1.12 Road Show. If the registration involves the registration of Registrable Securities involving gross proceeds in excess of $50,000,000, the Purchaser shall use its reasonable efforts to make available senior executives of the Purchaser to participate in customary “road show” presentations that may be reasonably requested by the Underwriter in any Underwritten Offering.
3.1.13 Regulation M. The Purchaser shall take no direct or indirect action prohibited by Regulation M under the Exchange Act; provided, that, to the extent that any prohibition is applicable to the Purchaser, the Purchaser will take all reasonable action to make any such prohibition inapplicable.
3.2 Obligation to Suspend Distribution. Upon receipt of any notice from the Purchaser of the happening of any event of the kind described in Section 3.1, or, in the case of a resale registration on Form S-3 pursuant to Section 2.3 hereof, upon any suspension by the Purchaser, pursuant to a written insider trading compliance program adopted by the Purchaser’s Board of Directors, of the ability of all “insiders” covered by such program to transact in the Purchaser’s securities because of the existence of material non-public information, each holder of Registrable Securities included in any registration shall immediately discontinue disposition of such Registrable Securities pursuant to the Registration Statement covering such Registrable Securities until such holder receives the supplemented or amended Prospectus contemplated by Section 2.3.2 or the restriction on the ability of “insiders” to transact in the Purchaser’s securities is removed, as applicable, and, if so directed by the Purchaser, each such holder will deliver to the Purchaser all copies, other than permanent file copies then in such holder’s possession, of the most recent Prospectus covering such Registrable Securities at the time of receipt of such notice.
3.3 Registration Expenses. The Purchaser and the Company shall bear all costs and expenses incurred in connection with any Demand Registration pursuant to Section 2.1, any Piggy-Back Registration pursuant to Section 2.2, and any registration on Form S-3 or Form F-3 effected pursuant to Section 2.3, and all expenses incurred in performing or complying with its other obligations under this Agreement, whether or not the Registration Statement becomes effective, including, without limitation: (i) all registration and filing fees and fees of any securities exchange on which the Ordinary Shares are then listed; (ii) fees and expenses of compliance with securities or “blue sky” laws (including fees and disbursements of counsel in connection with blue sky qualifications of the Registrable Securities); (iii) printing expenses; (iv) the Purchaser’s internal expenses (including, without limitation, all salaries and expenses of its officers and employees); (v) the fees and expenses incurred in connection with the listing of the Registrable Securities as required by Section 3.1.10; (vi) Financial Industry Regulatory Authority fees; (vii) fees and disbursements of counsel for the Purchaser and fees and expenses for independent certified public accountants retained by the Purchaser (including the expenses or costs associated with the delivery of any opinions or comfort letters requested pursuant to Section 3.1.9); (viii) the reasonable fees and expenses of any special experts retained by the Purchaser in connection with such registration; and (ix) the reasonable fees and expenses of one legal counsel selected by the holders of a majority-in-interest of the Registrable Securities included in such registration. The Purchaser and the Company shall have no obligation to pay any underwriting discounts or selling commissions attributable to the Registrable Securities being sold by the holders thereof, which underwriting discounts or selling commissions shall be borne by such holders. Additionally, in an underwritten offering, all selling shareholders and the Purchaser shall bear the expenses of the Underwriter pro rata in proportion to the respective amount of shares each is selling in such offering.
| D-14 |
3.4 Holders’ Information. The holders of Registrable Securities shall provide such information as may reasonably be requested by the Purchaser, or the managing Underwriter, if any, in connection with the preparation of any Registration Statement, including amendments and supplements thereto, in order to effect the registration of any Registrable Securities under the Securities Act pursuant to Section 2 and in connection with the Purchaser’s obligation to comply with Federal and applicable state securities laws.
4. INDEMNIFICATION AND CONTRIBUTION.
4.1 Indemnification by the Purchaser and the Company. The Purchaser and the Company agree to indemnify and hold harmless each Holder and each other holder of Registrable Securities, and each of their respective officers, employees, affiliates, directors, partners, members, attorneys and agents, and each person, if any, who controls a Holder and each other holder of Registrable Securities (within the meaning of Section 15 of the Securities Act or Section 20 of the Exchange Act) (each, a “Holder Indemnified Party”), from and against any expenses, losses, judgments, claims, damages or liabilities, whether joint or several, arising out of or based upon any untrue statement (or allegedly untrue statement) of a material fact contained in (or incorporated by reference in) any Registration Statement under which the sale of such Registrable Securities was registered under the Securities Act, any Prospectus contained in the Registration Statement, or free writing prospectus (as defined in Rule 405 under the Securities Act or any successor rule thereto), or any amendment or supplement to such Registration Statement, or any filing under any state securities law required to be filed or furnished, or arising out of or based upon any omission (or alleged omission) to state a material fact required to be stated therein or necessary to make the statements therein not misleading, or any violation by the Purchaser and the Company of the Securities Act or any rule or regulation promulgated thereunder applicable to the Purchaser and the Company and relating to action or inaction required of the Purchaser and the Company in connection with any such registration; and the Purchaser and the Company shall promptly reimburse the Holder Indemnified Party for any legal and any other expenses reasonably incurred by such Holder Indemnified Party in connection with investigating and defending any such expense, loss, judgment, claim, damage, liability or action whether or not any such person is a party to any such claim or action and including any and all legal and other expenses incurred in giving testimony or furnishing documents in response to a subpoena or otherwise; provided, however, that the Purchaser and the Company will not be liable in any such case to the extent that any such expense, loss, claim, damage or liability arises out of or is based upon any untrue statement or allegedly untrue statement or omission or alleged omission made in such Registration Statement, Prospectus, or free writing prospectus, or any such amendment or supplement, in reliance upon and in conformity with information furnished to the Purchaser and the Company, in writing, by such selling holder expressly for use therein, and shall reimburse the Purchaser and the Company, its directors and officers, and each other selling holder or controlling Person for any legal or other expenses reasonably incurred by any of them in connection with investigation or defending any such loss, claim, damage, liability or action. The Purchaser and the Company also shall indemnify any Underwriter of the Registrable Securities, their officers, affiliates, directors, partners, members and agents and each person who controls such Underwriter (within the meaning of the Securities Act or the Exchange Act, as applicable) on substantially the same basis as that of the indemnification provided above in this Section 4.1.
| D-15 |
4.2 Indemnification by Holders of Registrable Securities. Subject to the limitations set forth in Section 4.4.3 hereof, each selling holder of Registrable Securities will, in the event that any registration is being effected under the Securities Act pursuant to this Agreement of any Registrable Securities held by such selling holder, indemnify and hold harmless the Purchaser, each of its directors, officers, agents and employees, each Person, if any, who controls the Purchaser (within the meaning of Section 15 of the Securities Act and Section 20 of the Exchange Act), each Underwriter (if any), and each other selling holder and each other person, if any, who controls another selling holder or such Underwriter within the meaning of the Securities Act, and the directors, officers, agents or employees of such controlling Persons, to the fullest extent permitted by applicable law, against any losses, claims, judgments, damages or liabilities, whether joint or several, insofar as such losses, claims, judgments, damages or liabilities (or actions in respect thereof) (including, without limitation, reasonable attorneys’ fees and other expenses) arise out of or are based upon any untrue statement or allegedly untrue statement of a material fact contained in any Registration Statement under which the sale of such Registrable Securities was registered under the Securities Act, any Prospectus contained in the Registration Statement, or any amendment or supplement to the Registration Statement, or arise out of or are based upon any omission or the alleged omission to state a material fact required to be stated therein or necessary to make the statement therein not misleading, if the statement or omission was made in reliance upon and in conformity with information furnished in writing to the Purchaser by such selling holder expressly for use therein, and shall reimburse the Purchaser, its directors and officers, and each other selling holder or controlling Person for any legal or other expenses reasonably incurred by any of them in connection with investigation or defending any such loss, claim, damage, liability or action. Each selling holder’s indemnification obligations hereunder shall be several and not joint and shall be limited to the amount of any net proceeds actually received by such selling holder.
4.3 Conduct of Indemnification Proceedings. Promptly after receipt by any person of any notice of any loss, claim, damage or liability or any action in respect of which indemnity may be sought pursuant to Section 4.1 or 4.2, such person (the “Indemnified Party”) shall, if a claim in respect thereof is to be made against any other person for indemnification hereunder, notify such other person (the “Indemnifying Party”) in writing of the loss, claim, judgment, damage, liability or action; provided, however, that the failure by the Indemnified Party to notify the Indemnifying Party shall not relieve the Indemnifying Party from any liability which the Indemnifying Party may have to such Indemnified Party hereunder, except and solely to the extent the Indemnifying Party is actually prejudiced by such failure. If the Indemnified Party is seeking indemnification with respect to any claim or action brought against the Indemnified Party, then the Indemnifying Party shall be entitled to participate in such claim or action, and, to the extent that it wishes, jointly with all other Indemnifying Parties, to assume control of the defense thereof with counsel satisfactory to the Indemnified Party. After notice from the Indemnifying Party to the Indemnified Party of its election to assume control of the defense of such claim or action, the Indemnifying Party shall not be liable to the Indemnified Party for any legal or other expenses subsequently incurred by the Indemnified Party in connection with the defense thereof other than reasonable costs of investigation; provided, however, that in any action in which both the Indemnified Party and the Indemnifying Party are named as defendants, the Indemnified Party shall have the right to employ separate counsel (but no more than one such separate counsel) to represent the Indemnified Party and its controlling persons who may be subject to liability arising out of any claim in respect of which indemnity may be sought by the Indemnified Party against the Indemnifying Party, with the fees and expenses of such counsel to be paid by such Indemnifying Party if, based upon the written opinion of counsel of such Indemnified Party, representation of both parties by the same counsel would be inappropriate due to actual or potential differing interests between them. No Indemnifying Party shall, without the prior written consent of the Indemnified Party, consent to entry of judgment or effect any settlement of any claim or pending or threatened proceeding in respect of which the Indemnified Party is or could have been a party and indemnity could have been sought hereunder by such Indemnified Party, unless such judgment or settlement includes an unconditional release of such Indemnified Party from all liability arising out of such claim or proceeding.
| D-16 |
4.4 Contribution.
4.4.1 If the indemnification provided for in the foregoing Sections 4.1, 4.2 and 4.3 is unavailable to any Indemnified Party in respect of any loss, claim, damage, liability or action referred to herein, then each such Indemnifying Party, in lieu of indemnifying such Indemnified Party, shall contribute to the amount paid or payable by such Indemnified Party as a result of such loss, claim, damage, liability or action in such proportion as is appropriate to reflect the relative fault of the Indemnified Parties and the Indemnifying Parties in connection with the actions or omissions which resulted in such loss, claim, damage, liability or action, as well as any other relevant equitable considerations. The relative fault of any Indemnified Party and any Indemnifying Party shall be determined by reference to, among other things, whether the untrue or alleged untrue statement of a material fact or the omission or alleged omission to state a material fact relates to information supplied by such Indemnified Party or such Indemnifying Party and the parties’ relative intent, knowledge, access to information and opportunity to correct or prevent such statement or omission.
4.4.2 The parties hereto agree that it would not be just and equitable if contribution pursuant to this Section 4.4 were determined by pro rata allocation or by any other method of allocation which does not take account of the equitable considerations referred to in the immediately preceding Section 4.4.1.
4.4.3 The amount paid or payable by an Indemnified Party as a result of any loss, claim, damage, liability or action referred to in the immediately preceding paragraph shall be deemed to include, subject to the limitations set forth above, any legal or other expenses incurred by such Indemnified Party in connection with investigating or defending any such action or claim. Notwithstanding the provisions of this Section 4.4, no holder of Registrable Securities shall be required to contribute any amount in excess of the dollar amount of the net proceeds (after payment of any underwriting fees, discounts, commissions or taxes) actually received by such holder from the sale of Registrable Securities which gave rise to such contribution obligation. No person guilty of fraudulent misrepresentation (within the meaning of Section 11(f) of the Securities Act) shall be entitled to contribution from any person who was not guilty of such fraudulent misrepresentation.
| D-17 |
5. RULE 144.
5.1 Rule 144. The Purchaser covenants that it shall file any reports required to be filed by it under the Securities Act and the Exchange Act and shall take such further action as the holders of Registrable Securities may reasonably request, all to the extent required from time to time to enable such holders to sell Registrable Securities without registration under the Securities Act within the limitation of the exemptions provided by Rule 144 under the Securities Act, as such Rules may be amended from time to time, or any similar rule or regulation hereafter adopted by the Commission.
6. MISCELLANEOUS.
6.1 Other Registration Rights. Parent represents and warrants that, except as disclosed in Parent’s registration statement on Form S-1 (File No. 333- 280026), no person, other than the holders of the Registrable Securities, has any right to require Purchaser to register any of the Purchaser’s share capital for sale or to include the Purchaser’s share capital in any registration filed by the Purchaser for the sale of share capital for its own account or for the account of any other person.
6.2 Assignment; No Third Party Beneficiaries. This Agreement and the rights, duties and obligations of the Purchaser hereunder may not be assigned or delegated by the Purchaser in whole or in part. This Agreement and the rights, duties and obligations of the holders of Registrable Securities hereunder may be freely assigned or delegated by such holder of Registrable Securities in conjunction with and to the extent of any transfer of Registrable Securities by any such holder. This Agreement and the provisions hereof shall be binding upon and shall inure to the benefit of each of the parties, to the permitted assigns of the Holders or holder of Registrable Securities or of any assignee of the Holders or holder of Registrable Securities. This Agreement is not intended to confer any rights or benefits on any persons that are not party hereto other than as expressly set forth in Article 4 and this Section 6.2.
6.3 Notices. All notices, demands, requests, consents, approvals or other communications (collectively, “Notices”) required or permitted to be given hereunder or which are given with respect to this Agreement shall be in writing and shall be personally served, delivered by reputable air courier service with charges prepaid, or transmitted by hand delivery, telegram, telex or facsimile, addressed as set forth below, or to such other address as such party shall have specified most recently by written notice. Notice shall be deemed given on the date of service or transmission if personally served or transmitted by telegram, telex or facsimile; provided, that if such service or transmission is not on a Business Day or is after normal business hours, then such notice shall be deemed given on the next Business Day. Notice otherwise sent as provided herein shall be deemed given on the next Business Day following timely delivery of such notice to a reputable air courier service with an order for next-day delivery.
| D-18 |
To the Purchaser:
Xpand
Boom Technology Inc.
[ ]
[ ]
Attention: [ ], Chief Executive Officer
Email: [ ]
with a copy to (which copy shall not constitute notice):
Han
Kun Law Offices LLP
Rooms 4301-10, 43/F.,
Gloucester Tower, The Landmark,
15 Queen’s Road Central, Hong Kong
Attn: Yu Wang, Esq.
Email: wangyu@hankunlaw.com To a Holder, to the address set forth below such Holder’s name on Exhibit A hereto.
6.4 Severability. This Agreement shall be deemed severable, and the invalidity or unenforceability of any term or provision hereof shall not affect the validity or enforceability of this Agreement or of any other term or provision hereof. Furthermore, in lieu of any such invalid or unenforceable term or provision, the parties hereto intend that there shall be added as a part of this Agreement a provision as similar in terms to such invalid or unenforceable provision as may be possible that is valid and enforceable.
6.5 Counterparts. This Agreement may be executed in multiple counterparts, each of which shall be deemed an original, and all of which taken together shall constitute one and the same instrument. Delivery of a signed counterpart of this Agreement by facsimile or email/pdf transmission shall constitute valid and sufficient delivery thereof.
6.6 Entire Agreement. This Agreement (including all agreements entered into pursuant hereto and all certificates and instruments delivered pursuant hereto and thereto) constitute the entire agreement of the parties with respect to the subject matter hereof and supersede all prior and contemporaneous agreements, representations, understandings, negotiations and discussions between the parties, whether oral or written.
6.7 Modifications and Amendments. Any term of this Agreement may be amended, modified or terminated and the observance of any term of this Agreement may be waived (either generally or in a particular instance, and either retroactively or prospectively) with the written consent of the Purchaser and the holders of a majority of the Registrable Securities then outstanding.
6.8 Titles and Headings. Titles and headings of sections of this Agreement are for convenience only and shall not affect the construction of any provision of this Agreement.
| D-19 |
6.9 Waivers and Extensions. Any party to this Agreement may waive any right, breach or default which such party has the right to waive, provided that such waiver will not be effective against the waiving party unless it is in writing, is signed by such party, and specifically refers to this Agreement. Waivers may be made in advance or after the right waived has arisen or the breach or default waived has occurred. Any waiver may be conditional. No waiver of any breach of any agreement or provision herein contained shall be deemed a waiver of any preceding or succeeding breach thereof nor of any other agreement or provision herein contained. No waiver or extension of time for performance of any obligations or acts shall be deemed a waiver or extension of the time for performance of any other obligations or acts.
6.10 Remedies Cumulative. In the event that the Purchaser or the Company fails to observe or perform any covenant or agreement to be observed or performed under this Agreement, the Holder or any other holder of Registrable Securities may proceed to protect and enforce its rights by suit in equity or action at law, whether for specific performance of any term contained in this Agreement or for an injunction against the breach of any such term or in aid of the exercise of any power granted in this Agreement or to enforce any other legal or equitable right, or to take any one or more of such actions, without being required to post a bond. None of the rights, powers or remedies conferred under this Agreement shall be mutually exclusive, and each such right, power or remedy shall be cumulative and in addition to any other right, power or remedy, whether conferred by this Agreement or now or hereafter available at law, in equity, by statute or otherwise.
6.11 Governing Law. This Agreement shall be governed by, interpreted under, and construed in accordance with the internal laws of the State of New York applicable to agreements made and to be performed within the State of New York, without giving effect to any choice-of-law provisions thereof that would compel the application of the substantive laws of any other jurisdiction. The Purchaser irrevocably submits to the nonexclusive jurisdiction of any New York State or United States Federal court sitting in The City of New York, Borough of Manhattan, over any suit, action or proceeding arising out of or relating to this Agreement. The Purchaser irrevocably waives, to the fullest extent permitted by law, any objection that they may now or hereafter have to the laying of venue of any such suit, action or proceeding brought in such a court and any claim that any such suit, action or proceeding brought in such a court has been brought in an inconvenient forum.
6.12 Waiver of Trial by Jury. Each party hereby irrevocably and unconditionally waives the right to a trial by jury in any action, suit, counterclaim or other proceeding (whether based on contract, tort or otherwise) arising out of, connected with or relating to this Agreement, the transactions contemplated hereby, or the actions of the Holder in the negotiation, administration, performance or enforcement hereof.
[REMAINDER OF PAGE INTENTIONALLY LEFT BLANK]
| D-20 |
IN WITNESS WHEREOF, the parties have caused this Amended and Restated Registration Rights Agreement to be executed and delivered by their duly authorized representatives as of the date first written above.
| PURCHASER: | ||
| XPAND BOOM TECHNOLOGY INC. | ||
| By: | ||
| Name: | Lulu Xing | |
| Title: | Director | |
| PARENT: | ||
| RISING DRAGON ACQUISITION CORP. | ||
| By: | ||
| Name: | Lulu Xing | |
| Title: | Chief Executive Officer | |
| HZJL CAYMAN LIMITED | ||
| By: | ||
Name: |
||
Title: |
||
| EXISTING HOLDERS: | ||
| AURORA BEACON LLC | ||
| By: | ||
| Name: | Lulu Xing | |
| Title: | Manager |
|
| LUCID CAPITAL MARKETS, LLC | ||
| By: | ||
| Name: | ||
| Title: | ||
[Signature Page to Amended and Restated Registration Rights Agreement]
| D-21 |
IN WITNESS WHEREOF, the parties have caused this Amended and Restated Registration Rights Agreement to be executed and delivered by their duly authorized representatives as of the date first written above.
| NEW HOLDERS: | ||
| By: | ||
| Name: | ||
| Title: | ||
| By: | ||
| Name: | ||
| Title: |
| By: | ||
| Name: | ||
| Title: |
| By: | ||
| Name: | ||
| Title: |
| By: | ||
| Name: | ||
| Title: |
| By: | ||
| Name: | ||
| Title: |
[Signature Page to Amended and Restated Registration Rights Agreement]
| D-22 |
EXHIBIT A
Name and Address of Holders
PRE-IPO INVESTORS:
| Name of Holders | Address | |
| Aurora Beacon LLC | No. 604, Yixing Road, Wanbolin District, Taiyuan City, Shanxi Province, People’s Republic of China
| |
| Lucid Capital Markets, LLC | 570 Lexington Avenue, 40th Floor
New York, NY 10022 |
| D-23 |
Form of Proxy for Extraordinary General Meeting of
Holders of Rising Dragon Acquisition Corp. Ordinary Share
PROXY CARD
RISING DRAGON ACQUISITION CORP.
No. 64, Wanbolin District, Taiyuan City,
Shanxi Province, People’s Republic of China, 030024
EXTRAORDINARY GENERAL MEETING OF SHAREHOLDERS
THIS
PROXY IS SOLICITED ON BEHALF OF THE BOARD OF DIRECTORS OF
RISING DRAGON ACQUISITION CORP.
| Important Notice Regarding the Availability of Proxy Materials for the Shareholder Meeting to be Held on October 20, 2025: This notice of meeting, the accompany proxy statement, proxy card are available at https://www.cstproxy.com/risingdragonac/2025. For banks and brokers, the notice of meeting and the accompany proxy statement are available at https://www.cstproxy.com/risingdragonac/2025/proxy. |
The undersigned hereby appoints Lulu Xing as proxy (the “Proxy”),with full power to act to appoint a substitute, and hereby authorizes the Proxy to represent and to vote, as designated on the reverse side, all ordinary shares of Rising Dragon Acquisition Corp. (“RDAC”) held of record by the undersigned on September 11, 2025 at the Extraordinary General Meeting of shareholders to be held on October 20, 2025, or any postponement or adjournment thereof (the “Extraordinary General Meeting”). RDAC has determined that the Extraordinary General Meeting will be held at the offices of Loeb & Loeb LLP, 345 Park Avenue, New York, NY 10154, and virtually via teleconference using the following dial-in information:
| Within the U.S. and Canada Toll Free | 1 800-450-7155 (toll-free) | |
| Outside of the U.S. and Canada | +1 857-999-9155 (standard rates apply) | |
| Participant Passcode | 8029046# |
Such shares shall be voted as indicated with respect to the proposals listed on the reverse side hereof and in the Proxy’s discretion on such other matters as may properly come before the Extraordinary General Meeting, or any postponement or adjournment thereof.
The undersigned acknowledges receipt of the accompanying proxy statement and revokes all prior proxies for the Extraordinary General Meeting.
THE SHARES REPRESENTED BY THIS PROXY WHEN PROPERLY EXECUTED WILL BE VOTED IN THE MANNER DIRECTED HEREIN BY THE UNDERSIGNED STOCKHOLDER. IF NO SPECIFIC DIRECTION IS GIVEN AS TO THE PROPOSALS ON THE REVERSE SIDE, THIS PROXY WILL BE VOTED “FOR” EACH OF THE PROPOSALS PRESENTED TO THE SHAREHOLDERS. PLEASE MARK, SIGN, DATE AND RETURN THE PROXY CARD PROMPTLY.
PLEASE DETACH ALONG PERFORATED LINE AND MAIL IN THE ENVELOPE PROVIDED.
THIS PROXY REVOKES ALL PRIOR PROXIES GIVEN BY THE UNDERSIGNED.
(Continued and to be marked, dated and signed on reverse side)
[White Card]
| E-1 |
PROXY
THIS PROXY WILL BE VOTED AS DIRECTED. IF NO DIRECTIONS ARE GIVEN, THIS PROXY WILL BE VOTED “FOR” PROPOSALS 1 THROUGH 6 BELOW. THE RDAC’S BOARD OF DIRECTORS RECOMMENDS A VOTE “FOR” EACH PROPOSAL.
| (1) | Proposal 1. Reincorporation Merger Proposal — to approve the merger of RDAC with and into Xpand Boom Technology Inc. (the “PubCo”), a Cayman Islands exempted company and wholly owned subsidiary of RDAC, with PubCo surviving the merger. RDAC refers to the merger as the Reincorporation Merger; |
| ☐ FOR | ☐ AGAINST | ☐ ABSTAIN |
| (2) | Proposal 2. Acquisition Merger Proposal — to approve the authorization for PubCo’s Board of Directors to complete the merger of Xpand Boom Solutions Inc. (the “Merger Sub”), a Cayman Islands exempted company and wholly owned subsidiary of PubCo, into HZJL Cayman Limited (“HZJL”), a Cayman Islands exempted company, resulting in HZJL becoming a wholly owned subsidiary of PubCo. RDAC refers to the merger as the Acquisition Merger; |
| ☐ FOR | ☐ AGAINST | ☐ ABSTAIN |
| (3) | Proposal 3. Nasdaq Proposal — to approve for purposes of complying with Nasdaq Listing Rule 5635 (a) and (b), the issuance of more than 20% of the issued and outstanding ordinary shares of PubCo pursuant to the terms of the Merger Agreement and the resulting change in control in connection with the Business Combination; |
| ☐ FOR | ☐ AGAINST | ☐ ABSTAIN |
| (4) | Proposal 4. PubCo Charter Proposal — to approve each material difference between the proposed PubCo’s Amended and Restated Memorandum and Articles of Association of PubCo and the amended and restated memorandum and articles of association of RDAC, as amended and restated on October 10, 2024; |
| ☐ FOR | ☐ AGAINST | ☐ ABSTAIN |
| (5 | )Proposal 5. Director Approval Proposal — to approve the following five (5) individuals to serve on the board of director of PubCo, each effective from the consummation of the Business Combination; |
| Bin Xiong | ☐ FOR | ☐ AGAINST | ☐ ABSTAIN |
| Wei Lin Yu | ☐ FOR | ☐ AGAINST | ☐ ABSTAIN |
| Jun Gang Wang | ☐ FOR | ☐ AGAINST | ☐ ABSTAIN |
| Jun Chen Sun | ☐ FOR | ☐ AGAINST | ☐ ABSTAIN |
| Ye Liu | ☐ FOR | ☐ AGAINST | ☐ ABSTAIN |
| (6) | ) Proposal 6. Adjournment Proposal — to approve the adjournment of the Extraordinary General Meeting in the event RDAC does not receive the requisite shareholder vote to approve any of the above Proposals. |
| ☐ FOR | ☐ AGAINST | ☐ ABSTAIN |
| Signature | Signature | Date |
IN THEIR DISCRETION THE PROXY IS AUTHORIZED AND EMPOWERED TO VOTE UPON OTHER MATTERS THAT MAY PROPERLY COME BEFORE THE MEETING OF SHAREHOLDERS AND ALL CONTINUATIONS, ADJOURNMENTS OR POSTPONEMENTS THEREOF.
Sign exactly as name appears on this proxy card. If shares are held jointly, each holder should sign. Executors, administrators, trustees, guardians, attorneys and agents should give their full titles. If shareholder is a corporation, sign in corporate name by an authorized officer, giving full title as such. If shareholder is a partnership, sign in partnership name by an authorized person, giving full title as such.
IMPORTANT: PLEASE MARK, SIGN, DATE AND MAIL THIS PROXY CARD PROMPTLY!
| E-2 |